客户投诉处理程序文件.doc
- 格式:doc
- 大小:318.50 KB
- 文档页数:6
公司客户投诉处理流程范本1. 简介本文档旨在制定针对公司客户投诉的处理流程,以确保高效、公平地解决客户的投诉,并提升客户满意度。
2. 接收投诉2.1 客户投诉渠道客户可以通过以下渠道提出投诉:- 在公司官方网站上提交投诉表单- 拨打客户服务热线- 发送电子邮件至客户服务邮箱2.2 投诉受理- 所有投诉应在24小时内受理,并向客户发送确认收到投诉的通知。
- 投诉应由专门的客户服务团队处理,他们将进行问题的初步调查。
3. 调查和解决投诉3.1 调查投诉- 客户服务团队将与相关部门合作,对投诉进行详尽的调查。
- 调查过程中,客户服务团队可以与客户进行进一步沟通,并收集必要的证据。
3.2 解决投诉- 根据调查结果,客户服务团队将制定解决方案,并与客户进行协商。
- 解决方案可能包括补偿、修复、调整或其他合理的补救措施。
- 客户服务团队应确保解决方案的及时实施,并及时向客户进行回复。
4. 客户投诉记录和反馈4.1 记录投诉- 所有客户投诉的详细信息应该被记录下来,并包括投诉的性质、解决方案和处理人员的名称等。
- 记录应妥善保存,以便未来参考和分析。
4.2 反馈客户- 在解决投诉后,客户服务团队应向客户发送反馈,确认投诉的解决情况,并邀请客户对服务质量进行评价。
5. 审查和改进5.1 审查投诉处理流程- 监督团队应定期审查投诉处理流程的效果,并进行必要的改进。
- 审查中应考虑改善投诉受理速度、解决方案的质量和客户满意度等指标。
5.2 改进实施- 根据审查结果,对投诉处理流程进行改进,以提升效率和客户体验。
- 改进计划应经过评估和测试,并在实施前进行培训和沟通。
以上为公司客户投诉处理流程范本,我们将不断完善和优化流程,以提供更好的客户服务。
客户投诉处理程序文件一、目的为了确保公司能够有效地处理客户投诉,提高客户满意度,维护公司的良好形象和声誉,特制定本客户投诉处理程序文件。
二、适用范围本程序适用于公司所有产品和服务相关的客户投诉处理。
三、职责分工1、客户服务部门负责接收客户投诉,并记录相关信息。
对投诉进行初步分类和评估,确定处理的优先级。
协调相关部门和人员处理投诉。
及时向客户反馈处理进展和结果。
2、相关业务部门负责对涉及本部门的投诉进行调查和分析。
制定并实施解决方案。
配合客户服务部门向客户解释和沟通处理情况。
3、质量管理部门对投诉处理过程进行监督和检查。
对投诉数据进行统计和分析,提出改进建议。
4、高层管理对重大投诉进行决策和协调。
四、投诉接收1、客户可以通过以下渠道进行投诉:客服热线电话。
电子邮件。
在线客服平台。
书面信函。
2、客户服务部门在接到投诉后,应立即记录以下信息:投诉客户的姓名、联系方式、购买的产品或服务信息。
投诉的具体内容和要求。
投诉的时间和渠道。
五、投诉分类1、根据投诉的性质和严重程度,将投诉分为以下几类:轻微投诉:对客户影响较小,如产品外观瑕疵、服务态度稍差等。
一般投诉:对客户造成一定影响,如产品功能部分失效、服务流程不顺畅等。
重大投诉:对客户造成严重影响,如产品质量安全问题、服务重大失误导致客户损失等。
2、根据投诉的内容,将投诉分为以下几类:产品质量投诉。
服务质量投诉。
价格投诉。
交付投诉。
六、投诉处理流程1、初步评估客户服务部门在接到投诉后的 1 个工作日内,对投诉进行初步评估,确定投诉的类别和处理的优先级。
对于紧急投诉,应立即启动处理流程。
2、调查分析相关业务部门在接到投诉处理任务后的 2 个工作日内,对投诉进行深入调查和分析,找出问题的原因。
调查过程中,应收集相关证据和信息,如订单记录、产品检测报告、服务记录等。
3、制定解决方案相关业务部门根据调查分析结果,在 3 个工作日内制定出切实可行的解决方案。
解决方案应包括具体的措施、实施时间和责任人。
公司客户投诉处理流程范本为了更好地解决公司客户的问题和满足客户的需求,我公司特制定了以下客户投诉处理流程范本,以保证客户的权益并提升客户满意度。
一、投诉接收与登记1. 客户可通过以下途径提交投诉:电话、邮件、公司官方网站、社交媒体平台等;2. 客服人员应耐心倾听客户的问题,并详细记录客户的投诉内容、时间、方式以及客户的联系方式;3. 投诉登记表应包括:客户姓名、联系方式、投诉时间、投诉方式、投诉内容、处理责任人等信息。
二、投诉分类与优先级确定1. 投诉应根据内容和紧急程度进行分类;2. 常见的投诉分类包括:产品质量、服务态度、交货延迟等;3. 各分类的投诉可根据紧急程度确定优先级,如高、中、低。
三、投诉调查与分析1. 客服人员应尽快联系相关部门或人员,了解投诉事件的详细情况;2. 涉及人员应提供详尽的情况说明和相关证据资料,以便进行调查分析;3. 相关部门或人员应协助客服人员进行投诉的调查与分析,提供准确的情况说明。
四、解决方案制定与沟通1. 根据投诉的性质和严重程度,相关部门或人员应制定解决方案;2. 解决方案应具体明确,包括解决的步骤、时间、责任人等;3. 客服人员应及时与客户沟通解决方案,并取得客户的认可。
五、问题解决与反馈1. 相关部门或人员应按照解决方案的要求,及时处理客户的投诉;2. 处理完投诉后,客服人员应主动与客户联系,确认问题是否解决;3. 如问题已解决,客服人员可向客户反馈解决结果,并表示感谢和歉意;4. 如问题未能完全解决,相关部门或人员应继续努力并及时与客户沟通。
六、投诉记录与总结1. 客服人员应将每一起投诉的处理情况进行详细记录,包括处理结果、解决方案等;2. 定期汇总投诉记录,并进行统计分析,以发现问题并改进服务质量;3. 相关部门或人员应对投诉情况进行总结和评估,提出改进意见和建议。
以上是我公司的客户投诉处理流程范本,通过良好的流程管理和高效的沟通协调,我们相信能够有效解决客户投诉问题,提供更优质的客户服务。
客户投诉处理和问题解决流程范本我们特制订了客户投诉处理和问题解决流程,以确保您的问题得到及时和满意的解决。
一、接受投诉我们接受客户通过电话、邮件、在线客服等方式提交投诉。
投诉接待人员将记录您的投诉内容,并核对您的个人信息以便日后联系。
二、投诉登记投诉接待人员将详细记录您的投诉内容,包括投诉时间、方式、内容及您提供的任何证据。
所有投诉信息将被妥善保存,并进行机密处理。
三、问题调查投诉调查小组将对您所提供的问题进行全面调查。
我们将与相关部门合作,收集必要的信息,并联系相关的责任人员以了解问题的具体情况。
四、问题解决一旦我们确认了问题的原因和责任方,我们将制定相应的解决方案。
在解决问题的过程中,我们将与您保持密切联系,及时向您汇报处理进展,并给予您合理的解决方案。
五、问题解决确认在问题解决后,我们将向您致以道歉,并请您确认是否满意我们的解决方案。
如果您对问题的解决结果不满意,我们将继续与您沟通,寻求更好的解决方案。
六、处理结果反馈我们将定期收集、分析并统计投诉问题,以了解客户的需求和公司存在的问题。
同时,我们将采取必要的措施,改进公司服务质量和产品的品质,以避免类似问题再次发生。
七、满意度调查为了了解您对我们的服务满意度,我们将随机抽取部分投诉客户进行满意度调查。
您的反馈将成为我们改进的重要依据。
八、持续改进我们会将您的问题和投诉作为改进服务的宝贵经验,并且持续完善我们的客户投诉处理和问题解决流程,确保客户的权益得到充分保障。
在此,再次感谢您对我们公司的支持和信任。
如果您有任何问题或建议,请随时与我们联系。
我们将竭诚为您解决问题,提供优质的服务。
祝您生活愉快!此致敬礼公司名称。
客户投诉处理工作流程
1. 概述
本文档旨在提供公司内部客户投诉处理的工作流程,并确保高效、公正地解决客户投诉,维护良好的客户关系。
2. 投诉接收和登记
- 客户投诉可以通过多种渠道进行,包括电话、电子邮件、在
线表单等。
- 接收投诉的员工应及时记录投诉的详细信息,包括投诉内容、投诉时间、投诉人姓名和联系方式等。
3. 投诉分类和分析
- 投诉应根据投诉的性质和内容进行分类,如产品质量问题、
服务态度等。
- 分析投诉数据,确定常见投诉类型和频率,为业务改进提供
依据。
4. 投诉调查和证据收集
- 针对每个投诉案件,应尽快启动调查程序。
- 调查员应与投诉人进行沟通,并收集相关证据,包括文件、通信记录、服务记录等。
5. 投诉处理和解决
- 根据调查结果,确定合适的解决方案,确保公正、合理地应对投诉。
- 与投诉人进行沟通,解释解决方案,并确保其满意并接受。
6. 投诉跟进和反馈
- 确保解决方案的贯彻执行,监督问题的解决过程,并跟踪投诉反馈。
- 向投诉人提供反馈,确认问题得到解决,并感谢其对公司的支持和建议。
7. 投诉记录和分析
- 详细记录所有投诉案件的处理结果和解决方案。
- 定期分析投诉数据,找出根本原因,进一步改进产品和服务质量。
8. 培训和提升
- 提供相关培训,加强员工处理投诉的技能和知识。
- 定期评估投诉处理流程,确保其有效性,并根据实际情况进行调整和改进。
以上为客户投诉处理工作流程,通过遵循该流程,我们可以更好地处理客户投诉,提升客户满意度和忠诚度。
客户投诉处理程序文件摘要:本文档旨在为公司员工提供一份客户投诉处理程序文件的指南,以帮助他们有效地处理客户投诉。
客户投诉是客户与公司交互过程中不可避免的一部分,正确处理客户投诉对于保持良好的客户关系至关重要。
本文档将详细介绍客户投诉处理的步骤和程序,以及如何与客户进行有效的沟通,解决问题并提供满意的解决方案。
介绍:客户投诉是一种重要的反馈机制,可以帮助公司了解和改进其产品或服务。
有效的客户投诉处理程序不仅有助于解决具体问题,还能够提高客户满意度和忠诚度。
一、接受投诉1.1 确保有清晰的渠道让客户提出投诉,可以是电话、邮件、在线表单等。
1.2 员工应经过相关培训,了解如何接受投诉,并在接受投诉时保持专业和耐心。
1.3 记录客户的投诉细节,包括时间、地点、具体的问题描述等,并为每个投诉案例分配一个唯一的案号,以便跟踪处理进度。
二、调查和分析2.1 对每个投诉案例进行详细调查,包括与相关部门或员工的沟通、核实相关事实等。
2.2 分析投诉的原因和根本问题,并理解客户的需求和期望。
2.3 将投诉案例进行分类和整理,以便更好地了解公司存在的问题和改进的机会。
三、解决问题3.1 根据调查结果,确定解决方案,并与客户进行沟通。
3.2 协调各个相关部门,确保问题能够得到及时的解决。
3.3 跟进解决方案的实施和效果,并确保客户对解决方案的满意度。
四、客户沟通4.1 在处理投诉的过程中,与客户保持积极的沟通,及时更新解决进展。
4.2 回应客户的问题和反馈,提供满意的解释和解决方案。
4.3 如果问题需要更长时间来解决,及时告知客户,并保持与客户的沟通。
五、记录和评估5.1 记录每个投诉案例的处理过程和结果,并建立一个投诉案例数据库。
5.2 对投诉案例进行定期的数据分析,以识别常见问题和改进机会。
5.3 根据投诉案例的分析结果,适时修订和完善客户投诉处理程序文件。
结论:一个高效和有效的客户投诉处理程序对于公司保持良好的客户关系至关重要。
Concurred by:目录1.0目的 (3)2.0适用范围 (3)3.0职责 (3)3.1 质量部 (3)3.2 计划部及时保障客户物料正常生产; (3)3.3 其它部门配合质量部工作。
(3)4.0流程图 (3)5.0操作程序 (3)5.1 判定 (3)5.2 评审 (3)5.3 根据评审通过的纠正预防措施,安排相关部门及时落实措施: (4)5.4 效果验证 (4)5.5 报废,返工返修,运输等费用由质量部统计入帐。
(4)6.0 相关文件 (4)7.0 记录 (4)1.0 目的规范客户投诉处理流程,使客户满意公司反馈速度和效率,纠正和预防类似问题再发2.0 适用范围主要适用于伟泰公司所有客户质量问题的投诉处理3.0 职责3.1 质量部3.1.1负责与客户沟通客诉信息,并对其责任归属进行判定;3.1.2负责召集相关部门对客诉不良进行评审,按时反馈客户处理进程;3.1.3负责形成可追溯性客诉台账;3.2 计划部及时保障客户物料正常生产;3.3 其它部门配合质量部工作。
4.0 流程图5.0 操作程序5.1 判定5.1.1当客户质量问题投诉信息通过项目、计划或质量各种渠道传递到相关负责人,都必须准确无误地通知到对应的CQE;5.1.2 CQE接到各种渠道传递来的客诉信息,汇总整理及时与客户联系,了解具体的投诉信息(包括:投诉人、投诉时间、不良发生区域、不良现象和内容、不良数量和比例、不良现物照片)后,与客户沟通,进行责任归属判定:5.1.3 判定为非伟泰责任的,直接关闭;5.1.4 判定为伟泰责任的,以电子邮件形式通知质量部统计登录“客户投诉台账”,并召集生产、工程、采购、项目、计划等相关人员对客诉不良进行评审。
5.2 评审5.2.1评审小组制定的临时围堵措施5.2.2处理客户已经发出的、库存的、生产现场的不良品(包括成品和半成品),保障客户的正常生产和供货;5.2.3处理伟泰已经发货去客户路上的、库存的、生产过程中的成品、半成品和原材料不良品,以及伟泰供应商的成品、生产过程中的半成品和原材料等不良品的,保障伟泰的后续正常生产和供货;5.2.4CQE以电子邮件形式,将临时措施回复客户,(临时措施的回复时限,原则上是在责任判定后的第一个工作日之内,特殊情况须向客户说明、解释)5.2.5 同时抄送质量部统计,登录客诉台账;5.2.6 评审小组确定责任单位和责任人员, 进行真因分析和验证,并向相关责任单位发CAR:5.2.7 责任单位为内部部门,向其发“不符合预防纠正措施表”;5.2.8 责任单位为供应商,向其发“伟泰不良对策分析报告”。
(完整版)客户投诉处理流程客户投诉处理流程背景客户投诉是企业日常运营过程中难以避免的一部分。
通过建立一套科学、高效的客户投诉处理流程,可以帮助企业更好地解决客户投诉问题,提升客户满意度,保护企业声誉。
本文档旨在介绍完整的客户投诉处理流程,以帮助员工了解和运用该流程。
流程概述1. 客户投诉的接收2. 受理客户投诉3. 调查和分析投诉4. 解决客户投诉5. 反馈和跟进6. 提升客户关系步骤详解1. 客户投诉的接收- 客户投诉可以通过多种渠道接收,如电话、电子邮件、在线聊天等。
无论客户选择哪种方式进行投诉,请确保及时记录投诉的详细信息,包括投诉的时间、地点、内容等。
- 尽可能提供24/7的投诉接收通道,确保客户随时能够提交投诉。
- 对于复杂的投诉,建议使用专门的投诉管理系统,便于对投诉进行跟踪和处理。
2. 受理客户投诉- 客户投诉接收后,应立即发送自动回复邮件或短信等,告知客户投诉已经接收,并提供预计处理时间。
- 分配专门的客户服务人员负责处理投诉,并确保及时与客户取得联系。
- 在受理过程中,要确保客户的投诉信息被准确记录,并进行分类和编号,以便后续处理和跟进。
3. 调查和分析投诉- 对每个投诉进行详细的调查和分析,了解客户的问题和要求。
- 确认与投诉相关的各个环节,并寻找根本原因,以防止类似问题再次发生。
- 针对投诉的性质和复杂程度,可以组织跨部门的小组成员共同参与调查和分析。
4. 解决客户投诉- 基于对投诉的调查和分析结果,制定解决方案。
- 与客户进行有效的沟通,解释方案,并征求客户的同意。
- 高效地执行解决方案,确保问题得到根本解决,并提供满意的解决结果。
5. 反馈和跟进- 在解决投诉后,及时向客户提供反馈,告知问题已解决。
- 定期进行跟进,确保客户对解决结果的满意度,并核实是否还有其他问题需要解决。
- 记录投诉的处理过程和结果,供后续分析和改进参考。
6. 提升客户关系- 将每个投诉看作是提升客户关系的机会。
(详尽版)客户投诉处理流程1. 引言客户投诉是企业日常经营中难免遇到的问题之一。
为了能够高效、公正地处理客户投诉,建立一个明确的投诉处理流程是必要的。
本文档旨在详细描述一个简单且无法律复杂性的客户投诉处理流程。
2. 客户投诉的接收- 当客户有投诉时,企业应设立明确的投诉接收渠道,例如电话热线、电子邮件等。
- 接收投诉的员工应接受专门的培训,了解如何妥善处理客户投诉并保持专业和友好的态度。
3. 投诉登记- 接收投诉的员工应将客户的投诉详细记录下来,包括投诉的内容、时间、地点等重要信息。
- 投诉登记表应具备简洁明了、易于使用的特点。
4. 投诉分类和优先级评估- 投诉应根据内容进行分类,例如产品质量问题、服务态度等。
- 对不同分类的投诉进行优先级评估,以便更好地分配资源和处理投诉。
5. 调查和证据收集- 对于投诉内容需要进一步调查的,应指派专人负责调查并收集相关证据。
- 调查过程中应确保公正、客观,并遵守相关法律法规。
6. 投诉处理与解决- 根据调查结果,制定解决方案并与客户沟通。
- 解决方案应尽可能满足客户的合理需求,并确保公平、公正。
- 处理过程中,应及时向客户反馈进展情况,并保持积极的沟通。
7. 投诉记录和统计分析- 对每一起投诉进行记录,并建立投诉数据库。
- 定期进行统计分析,了解投诉情况的趋势和原因,并提出改进措施。
8. 投诉处理流程的改进- 定期评估投诉处理流程的效果,并根据反馈意见进行改进。
- 不断提升员工的投诉处理能力,以提高客户满意度。
9. 总结建立一个简单且无法律复杂性的客户投诉处理流程对于企业来说至关重要。
通过明确的流程,能够更加高效地处理客户投诉,并提升客户满意度。
同时,企业还应不断完善投诉处理流程,以适应市场变化和客户需求的变化。
客户投诉处理流程和规范方案.WORD.格式.一、目的为了确保通过标准的流程和规范,快速稳妥的解决客户投诉,让客户在接受投诉处理的过程中充分感受能够再次对我们提供的产品和服务建立信心,最终将我们视作终生伙伴;同时,能够通过在处理客户投诉的过程中,发现我们工作中的漏洞和不足,通过对其改正或者弥补,使之能够不断的完善和进步,特制定《客户投诉处理流程及规范》。
二、适用范围如果客户在接受我们的服务或者产品时有任何不满或者抱怨,并且通过各种有效的途径反映到相关部门(包括公司各职能部门和经销商等),则形成客户投诉,此类客户投诉一律可适用于本流程。
三、职责1、客服部负责各种信息的收集、反馈和跟踪,并负责将客户投诉及时反馈到质检科,同时每月根据回访信息制作分析报告。
2、销售经理负责涉及销售部产品销售、服务态度、服务规范等的投诉处理,根据客户部的投诉反馈及时处理顾客投诉。
3、业务经理负责维修服务中一般性投诉的处理。
特别是现场客户对公司维修质量、服务态度、服务规范、价格等方面的一般性投诉。
同时根据客户部的投诉反馈及时处理顾客投诉。
4、服务经理负责维修服务中重大投诉的处理。
特别是涉及到事故性质、需要公司赔偿的重大投诉。
5、综合部经理负责客户部、综合部服务方面投诉的处理。
以及各项投诉结果的考核6、财务经理负责财务部职员服务方面投诉的处置惩罚。
同时根据客户部的投诉反应及时处置惩罚顾客投诉。
7、备品主管负求全品部职员服务方面、备品供给及时性、准确性等方面的投诉处置惩罚。
同时根据客户部的投诉反应及时处置惩罚顾客投诉。
.资料分享..WORD.格式.8、总经理负责对顾客投诉处置惩罚措施的终究确定,处置惩罚方案的决定,以及内部的责任处置惩罚等。
四、规范内容1、客户投诉的受理1.1接到记录转交客户部,由客户部转交各责任部门1.1.1除业务经理对日常维修服务中现场的投诉处理外,各部门或个人接到电话投诉或其他方式的投诉,需将记录客户的信息,并及时交客户部,最迟不可以超过半个小时,由客户部进行详细的投诉内容的登记。
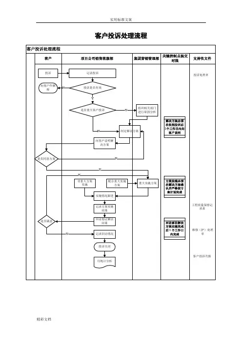
客户投诉处理流程
1.目的
规范客户投诉处理流程,统一客户投诉受理渠道,明确投诉处理责任和原则,使投诉能得到及时有效的处理,提升集团对外形象,提高客户满意度。
2.适用范围
本流程适用于集团开发的房地产项目因员工工作及服务不到位,或者由于房屋工程质量、销售管理、规划设计、物业管理和由于外部环境、非管辖内公共配套设施等方面引发问题而产生的客户投诉的处理。
3.术语和定义
无
4.部门职责和涉及岗位
4.1 流程所有者:项目公司销售客服部。
4.2 涉及部门及岗位:项目公司销售客服部、集团营销管理部及相关责任部门。
4.3 相关部门职责:
4.3.1项目公司销售客服部:记录投诉内容;进行投诉分析;综合各方意见制定解决方案或
与责任部门一起制定解决方案;将解决方案知会客户;组织实施、跟进和监督;确认客户是否满意并记录结果;回访;存档与统计分析;
4.3.2营销管理部:重大客户投诉的处理,组织相关部门提出重大客户投诉的解决方案;4.3.3相关责任部门:就所投诉问题进行专业分析,给出专业意见;对重要解决方案进行审
核;配合销售客服科制定、实施解决方案。
5. 工作程序
6. 关键控制点与主要文档
7. 主要附件
7.1 投诉处理单 7.2 工程质量保修记录表
投诉处理单.docx工程质量保修记录
表.docx
7.3 维修(护)处理单 7.4 客户投诉月报
客户投诉月报.docx
维修(护)处理单.
docx。
客户投诉处理程序文件
1. 引言
在任何业务环境中,客户投诉都是一种常见的情况。
客户投诉
是客户对产品或服务不满意的表达,如果不得到妥善处理,可能会
对企业形象和声誉产生负面影响。
因此,建立一个有效的客户投诉
处理程序对于企业来说非常重要。
2. 目标
客户投诉处理程序的目标是确保客户的投诉能够迅速、公正、
透明地得到处理和解决。
通过合理的程序,可以帮助企业回应客户
的关切,提升客户满意度,并强化客户与企业之间的关系。
3. 客户投诉处理流程
以下是一个常见的客户投诉处理流程的示例:
3.1 收集投诉信息
客户投诉信息可以通过多种渠道收集,如客户服务热线、在线
客户反馈表格或电子邮件。
在收集信息时,应确保获取客户的姓名、
联系方式和详细的投诉描述。
为了保护客户隐私,敏感信息应保密处理。
3.2 记录投诉信息
一旦收到客户投诉,应立即记录下来,包括投诉日期、客户姓名、投诉类型、投诉内容等详细信息。
这些记录将有助于后续的调查和分析。
3.3 分配责任
根据投诉的性质和严重程度,应将责任分配给相应的部门或个人。
如果需要进一步调查,可以组建一个专门的投诉处理团队。
3.4 调查和分析
对于每一项投诉,应进行详细的调查和分析。
这可能包括与客户进行电话或面对面的沟通,了解事情的经过,收集证据,并核实相关信息。
3.5 解决问题并提供补救措施
一旦问题被确认,并确定责任方,应立即采取解决措施。
解决方案可能包括提供赔偿、更换产品/服务、修改流程或进行培训等。
客户投诉处理流程的实用范本尊敬的客户:您好!感谢您对我们公司产品或服务的支持,并向我们提出宝贵的意见和建议。
我们非常重视您的投诉,并将竭诚为您解决问题,确保您的权益得到有效维护。
我们公司一直以来坚持“客户至上”的原则,为了更好地处理投诉,提高服务质量,我们特制定了以下流程,以确保您的投诉能够顺利得到处理。
一、接受投诉1. 我们承诺接受客户的书面和口头投诉。
您可以通过电话、邮件、信函或者亲临公司进行投诉。
2. 为了更好地了解您的问题,我们会向您索取相关信息,包括订单号、产品型号、投诉时间等。
请您提供准确的信息,以便我们更快解决问题。
3. 我们将在接到投诉后的24小时内回复您,告知您的投诉已经收到,并表示诚挚的歉意。
二、调查和解决1. 我们会尽快展开详细的调查,并将于投诉接收后的72小时内向您反馈调查结果。
2. 如果我们需要额外的时间进行调查,我们会事先告知您,并说明延期的原因。
3. 在调查的过程中,如果需要与您取得联系以了解更多细节,我们将及时与您沟通。
三、解决方案1. 在了解并确认问题后,我们将提供合理的解决方案,并与您协商,以确保您的满意度。
2. 如果问题属于我们公司的责任,我们将承担相应的责任和赔偿,并确保类似问题不再发生。
3. 如果问题不属于我们公司的责任,我们将尽力在法律允许的范围内给予您合理的解释和帮助。
四、投诉跟进1. 在问题解决后,我们会跟进确认,以确保您对我们的解决方案满意,并进行记录。
2. 如果您对解决方案有任何疑问或者不满意的地方,我们将继续和您沟通,努力找到更好的解决办法。
五、投诉结果1. 我们承诺在解决问题后的7个工作日内,向您提供详细的解决方案和投诉结果,同时表示衷心的歉意和感谢。
2. 如果问题的解决过程中出现意外情况或延迟,我们将向您提前说明理由,并保持及时的沟通。
感谢您对我们公司的信任和支持!我们将始终致力于提供更好的产品和服务,确保您的权益得到维护和保护。
如果您有任何问题,请随时与我们联系。
客户投诉处理流程1. 引言本文档旨在描述公司的客户投诉处理流程,以确保客户投诉能够及时、有效地得到解决。
该流程旨在简化操作,并避免法律纠纷,保证客户满意度的提升。
2. 投诉接收- 当客户有投诉时,公司应设立专门的投诉接收渠道,例如电话热线、电子邮件或在线表单等。
- 接收投诉的员工应具备良好的沟通技巧和问题解决能力,以便更好地理解客户的问题和需求。
3. 投诉登记- 接收投诉后,员工应立即将投诉内容登记在公司的投诉记录系统中。
- 登记信息应包括投诉人姓名、联系方式、投诉时间、投诉内容、相关证据等。
4. 投诉调查- 在接收投诉后,公司应立即展开调查,以获取更多的信息和了解问题的全貌。
- 调查过程中,员工应与投诉人进行沟通,并尽可能收集相关证据和目击证人的证言。
5. 解决方案提供- 在调查完成后,公司应根据调查结果提供解决方案。
- 解决方案应基于公司的政策和法律法规,并兼顾客户的合理需求。
6. 解决方案协商- 解决方案提供后,公司应与投诉人进行进一步的协商,以确保解决方案的可行性和客户的满意度。
- 在协商过程中,公司应倾听客户的意见和建议,并根据情况进行调整。
7. 解决方案实施- 协商达成一致后,公司应立即开始实施解决方案。
- 实施过程中,公司应确保有效沟通,并及时向投诉人提供进展情况的反馈。
8. 投诉跟踪- 在解决方案实施后,公司应进行投诉的跟踪,并定期与投诉人进行沟通,以确保问题已得到圆满解决。
- 若问题未能圆满解决,公司应继续努力,寻求更合适的解决方案。
9. 投诉总结- 在投诉处理完毕后,公司应对整个投诉过程进行总结,并提取经验教训,以改善客户服务质量。
- 总结报告应包括投诉数量统计、解决方案效果评估和改进建议等。
10. 法律合规- 在整个投诉处理流程中,公司应遵守相关的法律法规,并确保处理过程无涉及法律纠纷的问题。
- 若遇到复杂的法律问题,公司应及时寻求法律顾问的意见和帮助。
以上便是完整的客户投诉处理流程,通过严谨的操作和简单的策略,我们相信可以提高客户满意度,并建立良好的企业形象。
客户投诉处理流程范本一、背景介绍在商业运营中,客户投诉是一种常见的现象。
有效处理客户投诉对于维护企业声誉、提升客户满意度至关重要。
本文将介绍一种客户投诉处理流程范本,以帮助企业建立高效的投诉处理机制。
二、投诉接收1. 客户投诉渠道- 客户服务热线:设立专门的客户服务热线,提供给客户投诉的电话号码,并确保该号码24小时畅通。
- 电子邮件:为客户提供投诉的电子邮件地址,确保能够及时收到客户的投诉信息。
- 在线投诉平台:建立在线投诉平台,方便客户随时提交投诉,并确保能够及时回复客户。
2. 投诉接收流程- 接收投诉:客户服务人员接听电话或查看电子邮件、在线投诉平台,记录客户的投诉内容,并尽快向客户确认接收。
- 核实信息:核实客户的身份和投诉信息,确保投诉的真实性。
- 分类登记:根据投诉的性质和重要程度,将投诉进行分类登记,并分配给相应的处理人员。
三、投诉处理1. 分配处理人员- 根据投诉的性质和处理人员的专业能力,将投诉分配给合适的处理人员。
- 确保处理人员具备良好的沟通技巧和问题解决能力,能够妥善处理客户的投诉。
2. 调查核实- 处理人员与客户进行沟通,了解客户的诉求和问题。
- 调查核实客户的投诉内容,收集相关证据和资料。
- 如果需要,与相关部门合作,对投诉事项进行更深入的调查。
3. 解决问题- 根据调查结果,制定解决方案,并与客户协商达成一致。
- 如果问题无法立即解决,及时向客户说明原因,并告知解决方案的预期时间。
4. 落实措施- 确保解决方案的有效性,落实相关措施。
- 监督相关部门或个人按时完成解决方案中的任务。
四、投诉反馈1. 反馈内容- 向客户提供详细的解决方案和处理结果。
- 如果问题未能完全解决,向客户解释原因,并提供进一步的解决方案。
2. 反馈方式- 书面反馈:通过电子邮件或信函向客户发送投诉处理结果的详细说明。
- 口头反馈:通过电话或面谈向客户解释投诉处理结果。
3. 反馈时效- 在接收投诉后的48小时内,向客户提供初步的反馈。
详尽版:客户投诉解决流程1. 引言本文档旨在详细描述客户投诉解决流程,帮助我们的团队处理来自客户的投诉,并确保问题得到及时解决和客户满意。
2. 客户投诉接收- 当客户提交投诉时,我们的团队将第一时间予以回应。
- 投诉可以通过多种途径进行,包括电话、电子邮件、在线聊天和社交媒体等。
- 所有投诉信息都应该被记录并分类,以便更好地进行跟进和分析。
3. 投诉处理流程以下是客户投诉处理的详细流程:3.1 评估投诉- 首先,我们需要仔细评估投诉的内容和严重程度。
- 确定投诉是否属实,并核实所有相关细节。
- 根据投诉的性质,将其分类为紧急或非紧急。
3.2 分配责任人- 根据投诉的性质和紧急程度,将其分配给适当的责任人。
- 责任人应具备处理相应问题的技能和知识。
3.3 调查和解决- 责任人应尽快展开调查,与涉及的各方进行沟通,并采取适当的解决措施。
- 在解决过程中,应确保与客户保持及时和透明的沟通,解释解决方案并提供必要的支持。
3.4 跟进和反馈- 完成解决方案后,责任人应向客户提供解决结果,并确认客户对解决方案的满意程度。
- 如果客户对解决方案不满意,我们将重新评估问题并采取进一步的行动。
4. 投诉记录和分析- 所有投诉信息应被记录在案,并进行适当的分析。
- 分析投诉可以帮助我们发现潜在问题、改进产品或服务,并预防类似的投诉再次发生。
5. 员工培训和持续改进- 我们应定期组织员工培训,提高他们应对投诉的能力和技巧。
- 定期评估投诉解决流程,并根据反馈和数据进行必要的改进。
6. 结论通过遵循上述客户投诉解决流程,我们将能够高效地处理客户投诉,并提供满意的解决方案。
这有助于维护良好的客户关系,并提升我们的产品和服务质量。
客户投诉处理程序一1.目的1.1耐心承接投诉、确认投诉真正原因、积极跟踪反馈、热情服务客户;1.2明确投诉分类和投诉处理途径,以与各类投诉的处理权责;1.3认真受理客户投诉,收集市场、客户和产品的相关信息、数据,改进客户管理和客户服务,提高产品质量,制定质量改进措施和控制运输损耗。
2.适用围2.1所有涉与本公司的产品、市场、客情维护与客户服务的各类形式的投诉容。
3.定义3.1客户投诉容不仅仅局限在产品质量、产品使用功能缺陷的投诉容,同时包括对企业营销人员、客户服务人员的行为、态度和专业水准的不满的投诉;3.2不同类型的投诉纳入不同的职能部门处理,设置不同的处理权限和申报流程。
4. 职责:4.1销售员负责投诉的承接、传递,以与将按照审批权限获得审批的处理结果向投诉客户回复、解释,包括对客户投诉当时情绪的安抚;4.2销售员负责在2个工作日对投诉客户的现场拜访和咨询,鉴别投诉容和投诉问题的产生原因,包括产品质量问题和使用不当的责任界定;4.3售后服务部负责投诉处理的分类传递和呈报审批;4.4质检部门负责不良品的返修,包括不良品产生原因地追查、不良品改进措施的提议,申请改进报告和负责监督落实;4.5营销副总负责对客户投诉的回复处理决策和意见的审批,被投诉部门负责投诉容的限期改进和责任负责。
4.6所有产质量问题投诉事件以与投诉质量问题的处理意见和改进措施的执行,都必须知会或申报管理者代表和总经理。
5.程序:5.1投诉分类5.1.1客户服务行为的投訴5.1.2营业人员专业工作事务投诉5.1.3产品质量投訴5.2投诉承接5.2.1销售员和公司服务部承接辖区客户的各类投诉事件;5.2.2当接收客户口头、或投诉时,应耐心、细致地听取、了解客户投诉的对象和投诉容,确认客户投诉的真实原因,并安慰投诉客户的情绪,使之情绪稳定后,按照《客户投诉登记反馈表》栏目要求,逐一登记并确认投诉事项;5.2.3将经过客户确认的投诉容,认真记录在《客户投诉登记反馈表》中,且需5.3投诉的传递5.3.1客户对服务容的投诉⑴销售员填写投诉联单,附上《客户投诉登记回馈表》报营销副总审核,区投诉权限由销售员处理,并每月汇总传递给售后服务部;⑵投诉容涉与跨部门或者处理权限超越销售员审批权限,则在一个工作日报请营销副总审核后,在24小时给予回复;⑶联单填写要求:详细描述客户投诉容,注明需要回复时间,若有投诉件或样品应随联单传递;⑷公司售后服务部在接到投诉联单后审核联单填写容的规,根据投诉对象和事情的紧迫度,在2个工作时与时分发传递到被投诉的相关部门,并协同、跟进相关部门给予客户投诉的与时处理或回复;⑸相关责任部门在收到联单投诉后,请与时按照联单要求回复的时间予以解决或给予回复,并由部门负责人签名确认处理意见或回复结果;⑹责任部门将回复的处理意见,经权责主管审批后,以联单的形式回复售后服务部,报请营销副总审批后,将投诉处理意见1个工作时回复投诉客户。
1. 目的: 及时有效的处理客户投诉,确保顾客满意。
2. 范围: 适用于公司管理服务过程中所出现的各种投诉处理工作。
3. 职责
3.1业务支援部:接收客户投诉,并根据处理结果回复客户以及跟踪客户投
诉处理的效果。
3.2 物流部:负责因运输类问题引起客户投诉的分析和处理。
3.3 技术部/上海研发中心:负责日化类产品因配方问题引起客户投诉的分
析和处理。
3.4 研发中心:负责食品类产品因配方和设计问题引起客户投诉的分析和
处理。
3.5品质保证部:负责接收业务支援部所提供的客户投诉,并进行分析、处
理和跟进整改情况。
4. 客户投诉处理流程
4.1 投诉判定:业务支援部产品组负责接收客户投诉,投诉收集渠道包括但
不仅限于:电话投诉、在线咨询、来人、书面信函、电子邮
件、传真等。
同时根据相关规定判定投诉的合理性,根据不
同的判定结果,处理方式如下:
4.1.1 投诉不成立:业务支援部以婉转的方式回复客户,通过沟通消
除误会。
投诉类别包含但不仅限于如下情况:
4.1.1.1 个人保存不当造成的产品质量不良。
如:受潮结块,包
装损坏等。
4.1.1.2 个人体质原因不适合使用公司产品(如过敏等)。
4.1.1.3 产品特性导致浓稀度、颜色、口感有稍微差异等。
4.1.1.4 产品改版导致外观包材的文字、颜色、版式不同等
4.1.1.5 不合乎情理的投诉。
4.1.2 正常投诉:业务支援部将投诉转交至品质保证部质量监控室跟
踪处理。
(注:初步判断原因不明的投诉按此方式处理)
4.1.2.1 产品中有异物、少量。
4.1.2.2 外包装受损、包材不良、产品漏液等问题。
4.1.2.3 非产品特性导致的口感、气味、浓稀度不同等。
4.1.3 非正常投诉:向公司索取超过退换货规定、双方约定和法定标
准的赔偿要求,给公司造成重大损失的行为。
按《产品非正常
投诉处理作业指导书》进行处理。
4.1.4 投诉判定的同时发送《回执》至客户告知投诉已在处理中。
4.2 接收客户投诉:
4.2.1 接受客户投诉时应明确以下内容:
4.2.1.1 投诉信息内容完整,至少包括不良原因描述,生产日
期和批号,投诉人,投诉人联络方式;销售单或加盖
专卖店公章的说明书。
4.2.1.2 获得投诉样品。
4.2.2 汇总以上信息编制《产品咨询/投诉分析表》以及在《客户投诉
登记表》中做好客户投诉登记,以便后续跟踪处理。
4.2.3 初步判断投诉样品,属于4.1.1所包含类型先给予顾客更换产
品,根据4.8、4.9内容进行处理;属于4.1.2所包含类型将投
诉样品转交质量监控室,根据下述流程内容进行处理。
4.3 类型判断:品质保证部质量监控室根据业务支援部提供的《产品咨询/
投诉分析表》判断客户投诉问题的类型,并根据判断结果将
客户投诉转交至相关部门进行分析和处理:
4.3.1 OEM产品质量问题:由品质保证部原辅料监控室进行原因分析和
处理;
4.3.2 配方或设计问题:日化产品配方问题由技术部/上海研发中心进
行原因分析和处理;食品产品由研发中心进
行原因分析和处理。
4.3.3 自产产品质量问题:由品质保证部食品/日化过程监控进行原因
分析和处理。
4.3.4 经判断属于运输过程中造成的货物损坏问题交由物流部进行原
因分析处理。
4.4 分析处理:各部门在接到质量监控室转交的投诉及样品后开展原因分析
及制定整改措施,并在《客户投诉分析处理表》中记录调查
原因和处理结果,作为《产品咨询/投诉分析表》中“涉及部
门情况调查”一栏中的信息输入。
4.5 审批:各部门将客户投诉分析处理的结果经部门主管审批后提供至质量
监控室。
4.6 结果反馈:质量监控室将各部门处理的投诉结果反馈至业务支援部,同
时进行记录。
4.7确认处理方式:业务支援部产品组根据《产品咨询/投诉分析表》中客户
投诉调查分析的结果提出客户投诉的处理方式,处理方
式为退货或者换货,具体条件如下:
4.7.1 退货:保质期内的产品滞销、终止营业或其他合理问题
4.7.2 换货:
4.7.2.1 客户保存不当造成的质量问题;
4.7.2.2 运输途中发生货物损坏;
4.7.2.3 产品外包装损坏;
4.7.2.4 客户使用不满意;
4.7.2.5 经核查属产品质量问题等。
4.8 审批:退货或换货处理方式,根据涉及金额提交至相关人员审批,具体
审批权限如下:
4.8.1 产品金额≤10000元,由直接主管批准;
4.8.2 产品金额>10000元,由部门最管主管批准。
4.9 退/换货:业务支援部产品组根据经过审批的《产品咨询/投诉分析表》
的处理方式进行处理,需要更换产品的在《协同管理系统》中
填写《物品领用单》,经领导审批后流转至销售部零售处领取
产品,领取产品后直接寄予顾客/专卖店。
4.10 回复客户:退换货的同时,业务支援部产品组将处理结果回复至客户。
4.11 收集客户意见:受理客户投诉的职员应尽快收集客户对处理结果的反馈
意见。
4.11.1 投诉处理完毕后发送《产品投诉满意度调查表》至专卖店邮箱,
要求专卖店根据内容进行填写并回复。
4.11.2 专卖店回复满意咨询归档。
4.11.3专卖店回复不满意,向部门主管反映并按主管批示再次与顾客沟
通直到达成一致。
4.12 归档:
4.12.1 客户投诉处理结束后,业务支援部将《产品咨询/投诉分析表》
归档,并每月对客户投诉情况进行整理和汇总,并将结果提供
至相关部门(包括物流部、质保部、技术部、研发中心、体系
运营组),以便对投诉再跟进。
4.12.2 归档时将各部门回答意见之答案进行分类,在重复出现相同
/
同类投诉意见时由业务支援部解答。
4.13 汇总分析:品质保证部质量监控室每半年对成立的客诉进行一次汇总,
并将汇总的结果反馈到投诉分析部门(小组),并由投诉分
析部门(小组)制定改进方案。
4.14 改进:各部门根据改进方案的内容实施改进。
5 相关文件
5.1 《服务提供控制程序》
5.2 《产品非正常投诉处理作业指导书》
5.3 《客户投诉汇总分析作业指导书》
6 相关记录
6.1 《产品咨询/投诉分析表》
6.2 《客户投诉登记表》
6.3 《回执》
6.4 《客户投诉分析处理表》
6.5 《物品领用单》
6.6 《产品投诉满意度调查表》
6.7 客户投诉分析及改进报告。