2013浙江工业大学机械设计习题卡(上)
- 格式:doc
- 大小:494.00 KB
- 文档页数:24
绪论、第二章1. 通用零件 、 专用零件2. 螺钉、链轮、链条 、_龙头、大梁、脚蹬_。
3._原动部分_、_传动部分_、_执行部分_、_控制系统_和_辅助系统_。
4._整体断裂_、_过大的残余变形_、_零件的表面破坏_和 破坏正常工作条件引起的失效 。
5._强度准则_、_刚度准则_、 寿命准则 、 振动稳定性准则 和 可靠性准则 。
第三章1._低周疲劳_、_高周疲劳_、_材料断裂试件_、_发动机曲轴_。
2. 疲劳极限 、 应力循环次数3._零件应力集中状况_、_零件具体尺寸_、_零件表面质量_、_零件的热处理强化 4. c r =、c m =σ和c =m in σ,、_心轴、大多数底座类零件、举重设备中的吊臂_。
5. 疲劳损伤累积 6. m σ 、_工作平均应力_、_a σ__、_工作应力幅_。
二、选择题1、C.2、A. 3. C. 三、计算题 1.700次时: MPa s r 260==σσ 25000次时:MPa r 2067.32425000500000091==-σσ,因不可能超过s σ,故为260MPa6200000次时:MPa r 1801==-σσ 2. 如图所示:对于c r =的情况,应力是沿射线变化的当射线与极限应力线图的上面直线相交时,按照疲劳强度条件计算而射线与极限应力线图的右侧折线相交时,则按照静强度条件计算第五章一、选择与填空题1. 1 _2_ 3__ 2._ 3 _1___ 1 _ 3说明:自锁:ψϕ≤。
两者数值越接近,自锁性能越差;数值相差越大,自锁性能越好。
螺纹传动效率:)(/ϕψψη+=tg tg 。
ψ增大,η增大;ϕ增大,η减小。
牙型角α与当量摩擦系数f ϕ间的关系是:cos(/2)f f ϕα=。
当α增大,f ϕ增大,ϕ增大。
3.__2__。
4._ 90_% _螺纹根部_ 5._3_ 6. 4二、分析与思考题1.[见P60页表5-1。
联接螺纹要求自锁性较好,强度高;传动螺纹要求传动效率高。
第一章绪论、第二章机械设计总论 1 填空题1.机械零件一般可以分为和两大类。
2.观察一辆自行车,等明显属于通用零件,而____________则属于专用零件。
3.机器通常由三个部分和两个系统组成,它们是_______、________、________、________和________。
4.机械零件的主要失效形式包括________、________、________和。
5.根据不同失效形式,机械零件的一般的设计准则包括________、________、和。
一、填空题:1.零件材料的疲劳根据疲劳次数的明显不同可分为__________和________,例如________和________。
2.材料疲劳曲线是表达 与 的相对关系。
3.零件的疲劳强度极限除与材料自身疲劳强度极限有关外,还与________、________、________以及________四个方面有关。
4.对于单向稳定变应力进行分析时,可能发生最常见三种变化规律为________、________和________,例如________________________。
5.对规律性单向不稳定变应力采用 假说进行计算。
6.极限应力线图是以 为横坐标的,其含义是________;以____为纵坐标的,其含义是________。
二、选择题1、零件的截面形状一定,当截面尺寸增大时,其疲劳极限将随之 。
A.增加 B.不变 C.降低2、两零件的材料和几何尺寸都不相同,以曲面接触受载时,两者的接触应力值 。
A.相等 B.不相等 C.是否相等与材料和几何尺寸有关 3. 零件受静载荷作用时, 则在其内部A.只会产生静应力B.只会产生变应力C.可能产生静应力, 也可能产生变应力 三、计算题1.某材料的对称循环弯曲疲劳强度为MPa 1801=-σ,MPa s 260=σ取循环基数为60105⨯=N ,9=m ,试计算循环次数分别为700次,25000次和620000次时的有限寿命弯曲疲劳极限。
浙江工业大学2009 /2010学年学期试卷课程机械原理_______________ 姓名_________________________________ 班级________________________ 学号____________________________________12.龙= l,a=2CP的渐开线标准直齿圆柱齿轮不发生根切的最少齿数为_____________ ,当齿数小于最少齿数吋,可采用____________ 的方法避免根切。
浙江工业大学考试命题纸二、(8分)分析图示机构,(1)指出其中的复合较链、局部自由度及虚约束(2 )计算机构的自由度。
浙江工业大学考试命题纸浙江工业大学考试命题纸四、(15分)设i^一曲柄滑块机构,已知曲柄长度AB=25mm,偏心距e= 1 Omm,其最小传动角丫mi n=60 ° ,试用作图法确定连杆长度BC,滑块最大行程H,并标明极位夹角9 ,求出其行程速比系数Ko浙江工业大学考试命题纸五、(12分)已知凸轮机构如图所示,(1 )试画出图示位置时凸轮机构的压力角;(2)在图中画出凸轮机构的基圆;(3)在图屮画出图示位置时从动件的位移。
(4 )若要减小机构的压力,基圆半径应当减小还是增人?:A、(15分)己矢口一对外啮合标准直齿圆柱齿轮,i 12=2, Z 1=20, m=10(mm), a=20°, h*a=l , C*=0.25 ,试求:(1)齿轮2的齿数Z2,分度圆半径1*2、顶圆半径r a2>根圆半径s、基圆半径Fb2 > 齿距p^分度圆齿厚S;(2)求标准安装时的中心距a、节圆半径“和灯、啮合角川及顶隙c;(3)若中心距增大了,问以上哪些参数发生了变化?请简要说明,无须计算。
七、(10 分)图示轮系中,已知各轮齿数为:Zi=Z2r=20, Z2=Z3 =40, Z4=100, Z5=Z6=Z7=30o 试求传动比ii7。
浙江工业大学2009 /2010学年第一学期试卷课程机械设计姓名___________________________ 班级学号___________________________答案一、1、通用零件 专用零件 2. 疲劳极限 应力循环次数3降低(减小)4. 大径 中径 小径5 沿圆周方向相隔180º的位置 轴的同一条母线上6.打滑和疲劳破坏 在保证带传动不打滑的条件下,具有一定的疲劳强度和寿命 7 高 大 少(小) 8 30~509 右 轴面 端面10. 温升(过热) 接触角 越大 12 P0 压力 13 温度 40二、1答:(1)链传动不应该放在高速级,因为在链传动参数相同的情况下,转速越高,产生的动载荷越大。
(2分)(2)带传动不该放在低速级,因为在传递功率相同的情况下,转速越低,转矩越大,带的工作拉力也越大,所需的预紧力和对轴的压轴力也越大。
(3分) 2. (1)齿轮2、蜗杆5应为右旋;(4分)(2)齿轮1、3及蜗杆5啮合点上的作用力的方向如图所示;(9分) (3)蜗轮的转动方向为顺时针,如图所示。
(2分)3答:①若输出轴功率不变,带传动应按300r/min 设计。
(2分)因为:输出轴功率不变,转速低时,转矩大,带的工作拉力大。
故:应按此设计。
(2分)②由于蜗杆传动的效率较低,工作是会产生大量热量。
对于连续运行的闭式蜗杆传动,大量热量不易及时散逸,故应进行热平衡计算。
(2分)可采取的措施: (2分)1)增大散热面积;2)提高表面传热系数。
三、1、解:(1)按螺钉强度计算所能承受的最大载荷F Q1 (6分)螺栓组不受横向力只受转矩T =Q l ,由回转力矩T 产生之横向力F T rR =4r 为螺钉与回转中心间距离,r =+=5050707122.mm 。
Q1Q1Q1R 7778.071.70422071.704F F l F F =⨯⨯=⨯=螺栓强度[][]13138351001503322..F d ==⨯⨯=ππσN[]R F K F s =μQ17778.025.115.03.115033F ⨯=⨯N 1784Q1=F(2)按凸台抗挤压强度计算所能承受的最大载荷F Q2 (4分)90][8202=≤⨯=P Q Q F dlF σ)(14400820902N F Q =⨯⨯=故:此板能承受的最大载荷F Q 为1784N 。
一、填空题1. 平面运动副的最大约束数为____2_____,最小约束数为_____1_____。
2.平面机构中若引入一个高副将带入_____1____个约束,而引入一个低副将带入_____2____个约束。
平面机构中约束数与自由度数的关系是_约束数+自由度数=3_。
3. 在机器中,零件是最小制造的单元,构件是最小运动的单元。
4. 点或线接触的运动副称为高副,如齿轮副、凸轮副等。
5.机器中的构件可以是单一的零件,也可以是由多个零件装配成的刚性结构。
6.两个构件相互接触形成的具有确定相对运动的一种联接称为运动副。
7.面接触的运动副称为低副,如转动副、移动副等。
8.把两个以上的构件通过运动副的联接而构成的相对可动的系统称为是运动链,若运动链的各构件构成了首末封闭的系统称为闭链,若运动链的构件未构成首末封闭的系统称为开链。
9.平面机构是指组成机构的各个构件均在同一平面内运动。
10.在平面机构中,平面低副提供 2 个约束,平面高副提供 1 个约束。
11.机构具有确定运动时所必须给定的独立运动参数的数目称为机构的自由度。
12.机构具有确定运动的条件是机构的原动件数等于自由度数。
二、简答题1. 机构具有确定运动的条件是什么?答:1.要有原动件;2.自由度大于0;3.原动件个数等于自由度数。
2. 何谓复合铰链、局部自由度和虚约束?在计算机构自由度时应如何处理?答:复合铰链是三个或更多个构件组成两个或更多个共轴线的转动副。
在有些机构中, 其某些构件所能产生的局部运动并不影响其他构件的运动, 我们把这些构件所能产生的这种局部运动的自由度称为局部自由度。
虚约束是在机构中与其他约束重复而不起限制运动作用的约束。
在计算机构自由度时, K个构件汇交而成的复合铰链应具有(K-1)个转动副,同时应将机构中的局部自由度、虚约束除去不计。
三、计算题1. 试计算图1所示凸轮——连杆组合机构的自由度。
解由图1可知,B,E两处的滚子转动为局部自由度,即F’=2;而虚约束p’=0,则n=7,pl =8(C,F处虽各有两处接触,但都各算一个移动副),ph=2,于是由式()得F=3n –(2pl + ph–p’)–F’= 3×7–(2×8+2– 0) –2=1这里应注意:该机构在D处虽存在轨迹重合的问题,但由于D处相铰接的双滑块为一个Ⅱ级杆组,未引入约束,故机构不存在虚约束。
一、选择题:1.一般工况的闭式齿轮传动的主要失效形式是。
A.齿面点蚀B.轮齿折断C.齿面磨损D.齿面胶合2.在闭式齿轮传动中,高速重载齿轮传动的主要失效形式是。
A.轮齿疲劳折断B.齿面疲劳点蚀C.齿面胶合D.齿面磨粒磨损E.齿面塑性变形3.对齿轮轮齿材料性能的基本要求是。
A.齿面要硬,齿心要韧B.齿面要硬,齿心要脆C.齿面要软,齿心要脆D.齿面要软,齿心要韧4.对于一对材料相同的软齿面齿轮传动,常用的热处理方法是。
A.小齿轮淬火,大齿轮调质B.小齿轮淬火,大齿轮正火C.小齿轮正火,大齿轮调质D.小齿轮调质,大齿轮正火5.材料为20Cr的硬齿面齿轮,适宜的热处理方法是。
A.整体淬火B.渗碳淬火C.调质D.表面淬火6.对于齿面硬度大于350HBS的钢制齿轮,其加工的工艺过程一般为。
A.加工齿坯—淬火—切齿—磨齿B.加工齿坯—切齿—磨齿—淬火C.加工齿坯—切齿—淬火—磨齿D.加工齿坯—淬火—磨齿—切齿7.在齿轮传动中,仅将分度圆压力角α增大,则齿面接触应力将。
A.增大B.不变C.减小8.斜齿轮和锥齿轮强度计算中的齿形系数Y Fa和应力校正系数Y Sa应按查图表。
A.实际齿数B.当量齿数C.不发生根切的最少齿数9.一对正确啮合的渐开线标准齿轮作减速传动时,如两轮的材料、热处理及齿面硬度均相同,则它们齿根弯曲应力的关系是。
A.σF1>σF2B.σF1=σF2C.σF1<σF2D.可能相等,也可能不相等10.一减速齿轮传动,主动轮1用45钢调质,从动轮2用45钢正火,则它们齿面接触应力的关系是。
A.σH1<σH2B.σH1=σH2C.σH1>σH2D.可能相等,也可能不相等11.一对标准圆柱齿轮传动,已知z1=20,z2=50,它们的齿形系数是。
A.Y Fa1<Y Fa2B.Y Fa1=Y Fa2C.Y Fa1>Y Fa212.有两个标准直齿圆柱齿轮,齿轮1的模数m1=5mm,齿数z1=30,齿轮2的模数m2=3mm,齿数z2=50,则。
一、填空题1. 平面运动副的最大约束数为____2_____,最小约束数为_____1_____。
2.平面机构中若引入一个高副将带入_____1____个约束,而引入一个低副将带入_____2____个约束。
平面机构中约束数与自由度数的关系是_约束数+自由度数=3_。
3. 在机器中,零件是最小制造的单元,构件是最小运动的单元。
4. 点或线接触的运动副称为高副,如齿轮副、凸轮副等。
5.机器中的构件可以是单一的零件,也可以是由多个零件装配成的刚性结构。
6.两个构件相互接触形成的具有确定相对运动的一种联接称为运动副。
7.面接触的运动副称为低副,如转动副、移动副等。
8.把两个以上的构件通过运动副的联接而构成的相对可动的系统称为是运动链,若运动链的各构件构成了首末封闭的系统称为闭链,若运动链的构件未构成首末封闭的系统称为开链。
9.平面机构是指组成机构的各个构件均在同一平面内运动。
10.在平面机构中,平面低副提供 2 个约束,平面高副提供 1 个约束。
11.机构具有确定运动时所必须给定的独立运动参数的数目称为机构的自由度。
12.机构具有确定运动的条件是机构的原动件数等于自由度数。
二、简答题1. 机构具有确定运动的条件是什么?答:1.要有原动件;2.自由度大于0;3.原动件个数等于自由度数。
2. 何谓复合铰链、局部自由度和虚约束?在计算机构自由度时应如何处理?答:复合铰链是三个或更多个构件组成两个或更多个共轴线的转动副。
在有些机构中, 其某些构件所能产生的局部运动并不影响其他构件的运动, 我们把这些构件所能产生的这种局部运动的自由度称为局部自由度。
虚约束是在机构中与其他约束重复而不起限制运动作用的约束。
在计算机构自由度时, K个构件汇交而成的复合铰链应具有(K-1)个转动副,同时应将机构中的局部自由度、虚约束除去不计。
三、计算题1. 试计算图1所示凸轮——连杆组合机构的自由度。
解由图1a可知,F=3n –(2p l + p h–p’)–F’= 3×5 – (2×7+0 – 0) –0=1由图1b可知,F=3n –(2p l + p h–p’)–F’= 3×4 – (2×6+0 – 0) –0=0由图1c可知,F=3n –(2p l + p h–p’)–F’= 3×3 – (2×4+0 – 0) –0=1a b c图15. 试计算图2所示的压床机构的自由度。
机械设计习题卡第一章绪论(1)组成机械的基本单元是什么?机械零件是组成机械的基本制造单元。
(2)何谓零件?何谓部件?零件是组成机器的不可拆的基本单元,即制造的基本单元。
一组协同工作的零件所组成的独立制造或独立装配的组合体称为“部件”。
(3)机械零件可归纳为哪两种类型?试各举两个典型实例说明,本课程的研究对象是什么?通用零件:各种机械中经常用到的一般参数的零件,如螺钉,齿轮等专用零件:在特定类型的机器中才能用到的零件,如涡轮机的叶片、飞机的螺旋桨等本课程的研究对象:普通条件下工作,且具有一般参数的通用零件(4)什么叫在普通条件下工作,且具有一般参数的通用零件?试从你所学专业的机械设备中,对联接零件,传动零件、轴系零件和其他零件各举两例。
普通工作条件无严格定义,通常指常温、常压、低速等。
一般参数也无严格定义。
国家标准《一般公差未注公差的线性和角度尺寸的公差》(GB/T1804-2000)中基本尺寸定义为0.5-4000mm,可以认为一般参数的零件的尺寸在0.5-4000mm之间。
连接零件:键、螺栓传动零件:带、齿轮轴系零件:滚动轴承、滑动轴承其他零件:弹簧、机座(5)为什么说本课程起着基础课与专业课之间的承前启后的作用?(6)在了解本课程的性质、内容和任务以后,总结本课程的特点和你所采取的学习方法。
第二章机械设计总论(1)对机器提出的主要要求包括什么?使用功能要求;经济性要求;劳动保护和环境保护要求;寿命与可靠性要求;其他专用要求等。
(2)机器设计应满足哪些基本要求?机械零件设汁应满足哪些基本要求?分析下列机械零件应满足的基本要求是什么:电动机轴,普通减速器中的齿轮轴,起重机吊钩,精密机床主轴.汽门弹簧。
农业机械中的拉曳链,联合收割机中的V带。
避免在预定寿命期内失效;结构工艺性要求;经济性要求;质量小要求;可靠性要求。
(3)设计机械的经济性要求包括哪些方面?a.零件本身的生产成本;b.尽可能采用标准化的零、部件以取代特殊加工的零、部件。
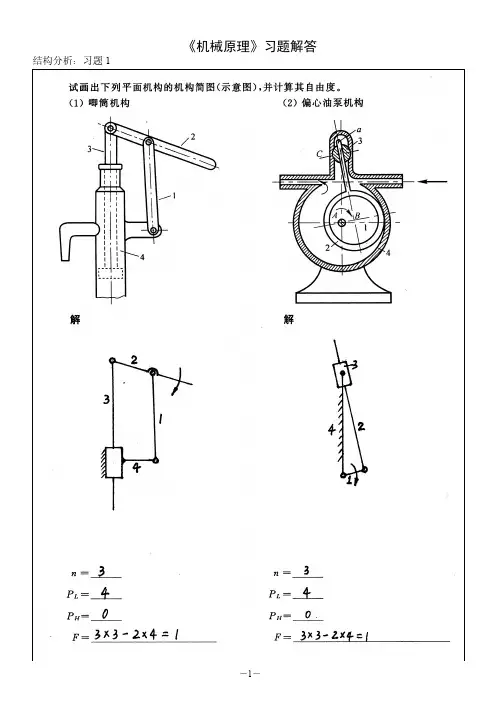
第二章 机构的结构分析一、试画出图示平面机构的机构示意图,并计算自由度(步骤:1)列出完整公式,2)带入数据,3)写出结果)。
图a ) 唧筒机构――用于水井的半自动汲水机构。
图中水管4直通水下,当使用者来回摆动手柄2时,活塞3将上下移动,从而汲出井水。
n= 3 p L = 4 p H = 0p '= 0 F '= 0F=3n -(2p l +p h -p ′)-F ′= 3×3-(2×4+0-0)-0 = 1图b ) 缝纫机针杆机构 原动件1绕铰链A 作整周转动,使得滑块2沿滑槽滑动,同时针杆作上下移动,完成缝线动作。
解: 自由度计算: 画出机构示意图:n= 3 p L = 4 p H = 0p '= 0 F '= 0F=3n -(2p l +p h -p ′)-F ′ = 3×3-(2×4+0-0)-0 = 1图c )所示为一具有急回作用的冲床。
图中绕固定轴心A 转动的菱形盘1为原动件,其与滑块2在B 点铰接,通过滑块2推动拨叉3绕固定轴心C 转动,而拨叉3与圆盘4为同一构件。
当圆盘4转动时,通过连杆5使冲头6实现冲压运动。
试绘制其机构运动简图,并计算自由度。
观察方向3241 432 1解:1) 选取适当比例尺μl ,绘制机构运动简图(见图b)2) 分析机构是否具有确定运动n= 5 p L = 7 p H = 0 p '= 0 F '= 0F =3n -(2p l +p h -p ′)-F ′= 3×5-(2×7+0-0)-0 = 1 机构原动件数目= 1 机构有无确定运动? 有确定运动想一想1.如何判断菱形盘1和滑块是否为同一构件?它们能为同一构件吗?2 为了使冲头6得到上下运动,只要有机构CDE 即可,为什还要引入机构ABC ?(可在学过第三章后再来想想)二、图a)所示为一简易冲床的初拟设计方案。
解:n = 7 (构件号:1,2,3,4,5,6,7 )L P = 10 (字母:A ,B ,C ,D ,E ,F ,G ,H )H P = 0 (字母: )F = 11027323=⨯-⨯=--H L P P n该机构由6-7,3-5,2-4三个Ⅱ 级杆组构成,拆组顺序为 6-7,3-5和2-4,是一个Ⅱ级机构。
若以构件7为原动件,则此机构为Ⅲ机构。
解:n = 3 (构件号:1,2,4) L P = 3 (字母:A ,B ,F )H P = 2 (字母:C ,D )F =121323323=⨯-⨯-⨯=--H L P P n滚子3的转动是局部自由度; 移动副F 、G 之一是虚约束; 没有复合铰链。
解:n = 5 (构件号:1,2,3, 4,5) P = 3 (字母:A ,B ,C ,解:n = 9 (构件号:1,2,3, 4,5,6,8,9) L P = 12 (字母:A ,B ,C ,K ,L ,M ,F ,G ,H ,J ) H P = 2 (字母:E ,D )F =H L P P n --2312112293=⨯-⨯-⨯= 转动副K 是复合铰链;滚子7的转动是局部自由度; 移动副I 或J 为虚约束。
n = 11 (构件号:1,2,3, 4,5,6,7,8,9,10,11) L P = 16 (字母:A ,B ,C ,D , F ,G ,H ,I ,E ,J , K ,L ,M ,N ) P = 0 (字母: )F去掉滑块4,连接AD ,得∆CAD 。
对于CAD ∆来讲,其内角和等于180,即 180=∠+∠+∠+∠BAD CAB ADB ACB因为 已知BC AB =,有ACB BAC ∠=∠;已知BD AB =,有ADB BAD ∠=∠。
则 ()1802=∠+∠BAD CAB ,即90=∠+BAD CAB说明没有滑块4时,D 点仍沿水平轴运动,故滑块4对连杆CD 的约束是虚约束。
1.3413314131P P P P ⋅=⋅ωω()s rad P P P P 67.412056103413141313===ωω ()s m l v CD C 42.009.067.43=⨯=⋅=ω2.24P 为构件2的绝对瞬心,构件2(即BC )上速度最小之点E 必为与24P 之距离最近之点,作BC E P ⊥24,则E 为所求之点。
机械设计---3一、填空题(每空1分共24分)1.螺纹的公称直径是指螺纹的 大 径,螺纹的升角是指螺纹 中 径处的升角。
螺旋的自锁条件为 v γϕ≤ 。
2、三角形螺纹的牙型角α= 60度 ,适用于 联接 ,而梯形螺纹的牙型角α=30度 ,适用于传动 。
3、螺纹联接防松,按其防松原理可分为 摩擦 防松、 机械 防松和 永久 防松。
4、选择普通平键时,键的截面尺寸(b ×h)是根据 轴径d 查标准来确定的,普通平键的工作面是 侧面 。
5、带传动的传动比不宜过大,若传动比过大将使 包角变大 ,从而使带的有效拉力值减小。
6、链传动瞬时传动比是 变量 ,其平均传动比是常数 。
7、在变速齿轮传动中,若大、小齿轮材料相同,但硬度不同,则两齿轮工作中产生的齿面接触应力 相同 ,材料的许用接触应力 不同 ,工作中产生的齿根弯曲应力 不同 ,材料的许用弯曲应力 不同 。
8、直齿圆柱齿轮作接触强度计算时取 节点 处的接触应力为计算依据,其载荷由一对轮齿承担。
9、对非液体摩擦滑动轴承,为防止轴承过度磨损,应校核p ,为防止轴承温升过高产生胶合,应校核 pv 。
10、挠性联抽器按是否具行弹性元件分为无弹性元件挠性联轴器和有弹性元件挠性联轴器两大类。
二、单项选择题(每选项1分,共10分)1.采用螺纹联接时,若被联接件之—厚度较大,且材料较软,强度较低,需要经常装拆,则一般宜采用 B 。
A螺栓联接; B双头螺柱联接; C螺钉联接。
2.螺纹副在摩擦系数一定时,螺纹的牙型角越大,则D 。
A. 当量摩擦系数越小,自锁性能越好;B.当量摩擦系数越小,自锁性能越差;C. 当量摩擦系数越大,自锁性能越差;D.当量摩擦系数越大,自锁性能越好;3、当键联接强度不足时可采用双键。
使用两个平键时要求键 D 布置。
(1分)A 在同—直线上; B相隔900; C.相隔1200; D 相隔18004、普通平键联接强度校核的内容主要是 A 。
§4 机构力分析填空题:1. 作用在机械上的力分为 驱动力 和 阻抗力 两大类。
2.对机构进行力分析的目的是:(1) 确定运动副中的反力 ;(2) 确定机械上的平衡力或平衡力矩 。
3. 质量代换中,动代换是指满足质量不变、质心位置不变以及对质心轴的转动惯量不变;而静代换则是指只满足 构件的质量不变和质心位置不变 。
4. 在滑动摩擦系数相同条件下,槽面摩擦比平面摩擦大,其原因是槽面摩擦的当量摩擦系数为θsin f f =∇,明显大于f ,因此,机械中三角带传动比平型带传动用得更为广泛,而联接用的螺纹更多地采用三角形为螺纹牙型。
5. 虑摩擦的移动副,当发生加速运动时,说明外力的作用线与运动方向法线的夹角 大于摩擦角 ,当发生匀速运动时,说明外力的作用线与运动方向法线的夹角 等于摩擦角 ,当发生减速运动时,说明外力的作用线与运动方向法线的夹角 小于摩擦角6. 考虑摩擦的转动副,当发生加速运动时,说明外力的作用线 在摩擦圆之外 ,当发生匀速运动时,说明外力的作用线 与摩擦圆相切 ,当发生减速运动时,说明外力的作用线 与摩擦圆相割 。
选择题:1. 在车床刀架驱动机构中,丝杠的转动使与刀架固联的螺母作移动,则丝杠与螺母之间的摩擦力矩属于 。
A)驱动力; B)生产阻力; C)有害阻力; D)惯性力。
2. 风力发电机中的叶轮受到流动空气的作用力,此力在机械中属于 。
A)驱动力; B)生产阻力; C)有害阻力; D)惯性力。
3. 在空气压缩机工作过程中,气缸中往复运动的活塞受到压缩空气的压力,此压力属于 。
A)驱动力; B)生产阻力; C)有害阻力; D)惯性力。
4. 在外圆磨床中,砂轮磨削工件时它们之间的磨削力是属于 。
A)驱动力; B)生产阻力; C)有害阻力;D)惯性力。
5. 在带传动中,三角胶带作用于从动带轮上的摩擦力是属于 。
A)驱动力; B)生产阻力; C)有害阻力;D)惯性力。
6. 在机械中,因构件作变速运动而产生的惯性力 。
1. 平面运动副的最大约束数为____2_____,最小约束数为_____1_____。
2.平面机构中若引入一个高副将带入_____1____个约束,而引入一个低副将带入_____2____个约束。
平面机构中约束数与自由度数的关系是_约束数+自由度数=3_。
3. 在机器中,零件是最小制造的单元,构件是最小运动的单元。
4. 点或线接触的运动副称为高副,如齿轮副、凸轮副等。
5.机器中的构件可以是单一的零件,也可以是由多个零件装配成的刚性结构。
6.两个构件相互接触形成的具有确定相对运动的一种联接称为运动副。
7.面接触的运动副称为低副,如转动副、移动副等。
8.把两个以上的构件通过运动副的联接而构成的相对可动的系统称为是运动链,若运动链的各构件构成了首末封闭的系统称为闭链,若运动链的构件未构成首末封闭的系统称为开链。
9.平面机构是指组成机构的各个构件均在同一平面内运动。
10.在平面机构中,平面低副提供 2 个约束,平面高副提供 1 个约束。
11.机构具有确定运动时所必须给定的独立运动参数的数目称为机构的自由度。
12.机构具有确定运动的条件是机构的原动件数等于自由度数。
二、简答题1. 机构具有确定运动的条件是什么?答:1.要有原动件;2.自由度大于0;3.原动件个数等于自由度数。
2. 何谓复合铰链、局部自由度和虚约束?在计算机构自由度时应如何处理?答:复合铰链是三个或更多个构件组成两个或更多个共轴线的转动副。
在有些机构中, 其某些构件所能产生的局部运动并不影响其他构件的运动, 我们把这些构件所能产生的这种局部运动的自由度称为局部自由度。
虚约束是在机构中与其他约束重复而不起限制运动作用的约束。
在计算机构自由度时, K个构件汇交而成的复合铰链应具有(K-1)个转动副,同时应将机构中的局部自由度、虚约束除去不计。
1. 试计算图1所示凸轮——连杆组合机构的自由度。
解由图1可知,B,E两处的滚子转动为局部自由度,即F’=2;而虚约束p’=0,则n=7,p l=8(C,F处虽各有两处接触,但都各算一个移动副),p h=2,于是由式(1.2)得F=3n –(2p l + p h– p’)– F’= 3×7 – (2×8+2 – 0) –2=1 这里应注意:该机构在D处虽存在轨迹重合的问题,但由于D处相铰接的双滑块为一个Ⅱ级杆组,未引入约束,故机构不存在虚约束。
一、选择题:1.一般工况的闭式齿轮传动的主要失效形式是。
A.齿面点蚀B.轮齿折断C.齿面磨损D.齿面胶合2.在闭式齿轮传动中,高速重载齿轮传动的主要失效形式是。
A.轮齿疲劳折断B.齿面疲劳点蚀C.齿面胶合D.齿面磨粒磨损E.齿面塑性变形3.对齿轮轮齿材料性能的基本要求是。
A.齿面要硬,齿心要韧B.齿面要硬,齿心要脆C.齿面要软,齿心要脆D.齿面要软,齿心要韧4.对于一对材料相同的软齿面齿轮传动,常用的热处理方法是。
A.小齿轮淬火,大齿轮调质B.小齿轮淬火,大齿轮正火C.小齿轮正火,大齿轮调质D.小齿轮调质,大齿轮正火5.材料为20Cr的硬齿面齿轮,适宜的热处理方法是。
A.整体淬火B.渗碳淬火C.调质D.表面淬火6.对于齿面硬度大于350HBS的钢制齿轮,其加工的工艺过程一般为。
A.加工齿坯—淬火—切齿—磨齿B.加工齿坯—切齿—磨齿—淬火C.加工齿坯—切齿—淬火—磨齿D.加工齿坯—淬火—磨齿—切齿7.在齿轮传动中,仅将分度圆压力角α增大,则齿面接触应力将。
A.增大B.不变C.减小8.斜齿轮和锥齿轮强度计算中的齿形系数Y Fa和应力校正系数Y Sa应按查图表。
A.实际齿数B.当量齿数C.不发生根切的最少齿数9.一对正确啮合的渐开线标准齿轮作减速传动时,如两轮的材料、热处理及齿面硬度均相同,则它们齿根弯曲应力的关系是。
A.σF1>σF2B.σF1=σF2C.σF1<σF2D.可能相等,也可能不相等10.一减速齿轮传动,主动轮1用45钢调质,从动轮2用45钢正火,则它们齿面接触应力的关系是。
A.σH1<σH2B.σH1=σH2C.σH1>σH2D.可能相等,也可能不相等11.一对标准圆柱齿轮传动,已知z1=20,z2=50,它们的齿形系数是。
A.Y Fa1<Y Fa2B.Y Fa1=Y Fa2C.Y Fa1>Y Fa212.有两个标准直齿圆柱齿轮,齿轮1的模数m1=5mm,齿数z1=30,齿轮2的模数m2=3mm,齿数z2=50,则。
1. 平面运动副的最大约束数为____2_____,最小约束数为_____1_____。
2.平面机构中若引入一个高副将带入_____1____个约束,而引入一个低副将带入_____2____个约束。
平面机构中约束数与自由度数的关系是_约束数+自由度数=3_。
3. 在机器中,零件是最小制造的单元,构件是最小运动的单元。
4. 点或线接触的运动副称为高副,如齿轮副、凸轮副等。
5.机器中的构件可以是单一的零件,也可以是由多个零件装配成的刚性结构。
6.两个构件相互接触形成的具有确定相对运动的一种联接称为运动副。
7.面接触的运动副称为低副,如转动副、移动副等。
8.把两个以上的构件通过运动副的联接而构成的相对可动的系统称为是运动链,若运动链的各构件构成了首末封闭的系统称为闭链,若运动链的构件未构成首末封闭的系统称为开链。
9.平面机构是指组成机构的各个构件均在同一平面内运动。
10.在平面机构中,平面低副提供 2 个约束,平面高副提供 1 个约束。
11.机构具有确定运动时所必须给定的独立运动参数的数目称为机构的自由度。
12.机构具有确定运动的条件是机构的原动件数等于自由度数。
二、简答题1. 机构具有确定运动的条件是什么?答:1.要有原动件;2.自由度大于0;3.原动件个数等于自由度数。
2. 何谓复合铰链、局部自由度和虚约束?在计算机构自由度时应如何处理?答:复合铰链是三个或更多个构件组成两个或更多个共轴线的转动副。
在有些机构中, 其某些构件所能产生的局部运动并不影响其他构件的运动, 我们把这些构件所能产生的这种局部运动的自由度称为局部自由度。
虚约束是在机构中与其他约束重复而不起限制运动作用的约束。
在计算机构自由度时, K个构件汇交而成的复合铰链应具有(K-1)个转动副,同时应将机构中的局部自由度、虚约束除去不计。
1. 试计算图1所示凸轮——连杆组合机构的自由度。
解由图1可知,B,E两处的滚子转动为局部自由度,即F’=2;而虚约束p’=0,则n=7,p l=8(C,F处虽各有两处接触,但都各算一个移动副),p h=2,于是由式(1.2)得F=3n –(2p l + p h– p’)– F’= 3×7 – (2×8+2 – 0) –2=1这里应注意:该机构在D处虽存在轨迹重合的问题,但由于D处相铰接的双滑块为一个Ⅱ级杆组,未引入约束,故机构不存在虚约束。
第一章绪论、第二章机械设计总论 1 填空题1.机械零件一般可以分为和两大类。
2.观察一辆自行车,等明显属于通用零件,而____________则属于专用零件。
3.机器通常由三个部分和两个系统组成,它们是_______、________、________、________和________。
4.机械零件的主要失效形式包括________、________、________和。
5.根据不同失效形式,机械零件的一般的设计准则包括________、________、和。
一、填空题:1.零件材料的疲劳根据疲劳次数的明显不同可分为__________和________,例如________和________。
2.材料疲劳曲线是表达 与 的相对关系。
3.零件的疲劳强度极限除与材料自身疲劳强度极限有关外,还与________、________、________以及________四个方面有关。
4.对于单向稳定变应力进行分析时,可能发生最常见三种变化规律为________、________和________,例如________________________。
5.对规律性单向不稳定变应力采用 假说进行计算。
6.极限应力线图是以 为横坐标的,其含义是________;以____为纵坐标的,其含义是________。
二、选择题1、零件的截面形状一定,当截面尺寸增大时,其疲劳极限将随之 。
A.增加 B.不变 C.降低2、两零件的材料和几何尺寸都不相同,以曲面接触受载时,两者的接触应力值 。
A.相等 B.不相等 C.是否相等与材料和几何尺寸有关 3. 零件受静载荷作用时, 则在其内部A.只会产生静应力B.只会产生变应力C.可能产生静应力, 也可能产生变应力 三、计算题1.某材料的对称循环弯曲疲劳强度为MPa 1801=-σ,MPa s 260=σ取循环基数为60105⨯=N ,9=m ,试计算循环次数分别为700次,25000次和620000次时的有限寿命弯曲疲劳极限。
2.试作图说明承受循环变应力的机械零件,应力变化规律r=c时,在什么情况下可按静强度条件计算?什么情况下需按疲劳强度条件计算?3.一零件由45钢制成, 材料的机械性能为: σs =360MPa, σ-1=250MPa, ψσ=0.2。
已知零件上最大工作应力σmax =200MPa, 最小工作应力σmin=100MPa, 应力变化规律为σm=常数, 弯曲疲劳极限的综合影响系数Kσ=1.5。
试分别用图解法和计算法确定该零件的计算安全系数。
一、选择与填空题1.普通螺纹的公称直径指的是螺纹的_ _,计算螺纹的摩擦力矩时使用的是螺纹的__ __,计算螺纹危险截面时使用的是螺纹的_ ___ 。
A.大径 B.中径 C.小径2.螺纹升角ψ增大,则联接的自锁性______,传动的效率___;牙型角α增大,则联接的自锁性______,传动的效率____。
A.提高B.不变C.降低3.在铰制孔用螺栓联接中,螺栓杆与孔的配合为_______。
A.间隙配合B.过渡配合C.过盈配合4.在螺栓联接的破坏形式中,约有_ _%的螺栓属于疲劳破坏,疲劳断裂常发生在______。
5.在承受横向载荷或旋转力矩的普通紧螺栓组联接中,螺栓杆_____作用。
A.受切应力B.受扭转切应力和拉应力C.受拉应力D.既可能只受切应力又可能只受拉应力6.紧螺栓联接受轴向外载荷作用。
假定螺栓的刚度C b与被联接件的刚度C m相等,联接的预紧力为F0,要求受载后接合面不分离,当外载荷F等于预紧力F0时,则_____。
A.被联接件分离,联接失效B.被联接件即将分离,联接不可靠C.联接可靠,但不能继续再加载D.联接可靠,只要螺栓强度足够,还可以继续加大外载荷F二、分析与思考题1.常用螺纹有哪几种类型?各用于什么场合?对联接螺纹和传动螺纹的要求有何不同?2.联接螺纹都具有良好的自锁性,为什么有时还需要防松装置?试各举出两个机械防松和摩擦防松的例子。
3.普通螺栓联接和铰制孔用螺栓联接的主要失效形式是什么?计算准则是什么?4.普通紧螺栓联接所受到的轴向工作载荷或横向工作载荷为脉动循环时,螺栓上的总载荷是什么类型的循环?5.螺栓的性能等级为8.8级,与它相配的螺母的性能等级应为多少?性能等级数字代号的含义是什么?6.在什么情况下,螺栓联接的安全系数大小与螺栓直径有关?试说明其原因。
7.紧螺栓联接所受轴向变载荷在0~F间变化,当预紧力F0一定时,改变螺栓或被联接件的刚度,对螺栓联接的疲劳强度和联接的紧密性有何影响?8.在保证螺栓联接紧密性要求和静强度要求的前提下,要提高螺栓联接的疲劳强度,应如何改变螺栓和被联接件的刚度及预紧力大小?试通过受力变形线图来说明。
9.为什么螺母的螺纹圈数不宜大于10 ?通常采用哪些结构形式可使各圈螺纹牙的载荷分布趋于均匀?10.如何识别螺纹是左旋还是右旋?砂轮机轴的两端固定砂轮用的螺纹为何种旋向,为什么?11.升角的大小对自锁和效率有何影响?为什么联接螺栓采用三角螺纹,而螺旋传动却采用矩形或梯形螺纹?12.滑动螺旋的主要失效形式是什么?其基本尺寸(即螺杆直径及螺母高度)通常是根据什么条件确定的?13.滚动螺旋传动与滑动螺旋传动相比较,有何优缺点?14.计算普通螺栓联接时,为什么只考虑螺栓危险截面的拉伸强度,而不考虑螺栓头、螺母和螺纹牙的强度?三、计算题:1.图示凸缘联轴器(GB/T5843-1986)的型号为YLDl0,允许传递的最大转矩T= 630N·m,两半联轴器采用4个M12的铰制孔用螺栓联接,螺栓规格为M12~60(GB/T 27-1988),螺栓的性能等级为8.8级,联轴器材料为HT200,试校核其联接强度。
2.铰制孔用螺栓组联接的三种方案如图所示。
已知L=300mm,a=60mm,试求螺栓组联接的三个方案中,受力最大的螺栓所受的力各为多少?哪个方案较好?3.图示一厚度为15mm的钢板,用两个铰制孔用螺栓固定在机架上。
巳知载荷P=4000N,螺栓、板和机架材料许用拉应力[σ]=120MPa,许用剪应力[τ]=95MPa,许用挤压应力[σp]=150MPa,板间摩擦系数f=0.2。
(1)确定合理的螺纹直径。
(2)若改用普通螺栓,螺栓小径应为多大?(防滑系数Ks=1.2)4.在图示螺栓联接中采用两个M20的普通螺栓,其许用拉应力[]160MPaσ=,联接件接合面间摩擦系数0.20f=,防滑系数 1.2sK=。
请计算该联接允许传递的静载荷F。
(M20螺栓的小径117.294d mm =)。
第五章螺纹联接和螺纹传动11四、结构设计与分析题试指出下列图中的错误结构,并画出正确的结构图。
螺钉联接双头螺柱铰制孔用螺栓联接紧定螺钉联接螺钉联接一、填空题1.键联接的主要类型有______、______、______、_____。
2.普通平键按构造分,有头(型)、头(型)及头(型)三种。
3.平键联接的工作面是,依靠来传递转矩;楔键联接的工作面是,依靠来传递转矩。
4.普通平键联接的主要失效形式是,导向平键联接的主要失效形式是。
5.在设计中进行键的选择时,键的截面尺寸根据而定,而键的长度则根据而定。
6.采用双键联接时,两个平键应布置在,两个半圆键应布置在,两个楔键应布置在___________。
(分别是为什么?)7.矩形花键采用方式定心,渐开线花键采用方式定心。
二、单项选择题1.键联接的主要用途是使轴和轮毂之间。
A.沿轴向固定并传递轴向力B.沿轴向可作相对滑动并具有导向作用C.沿周向固定并传递扭矩D.安装与拆卸方便2.设计键联接时键的截面尺寸通常根据按标准选择。
A.所传递转矩的大小B.所传递功率的大小C.轮毂的长度D.轴的直径3.在载荷性质相同时,导向平键联接的许用压力取得比普通平键联接的许用挤压应力小,这是为了。
A.减轻磨损B.减轻轮毂滑移时的阻力C.补偿键磨损后强度的减弱D.增加导向的精度4.设计键联接的几项主要内容是:a、按使用要求选择键的适当类型;b、按轮毂长度选择键的长度;c、按轴的直径选择键的剖面尺寸;d、对联接进行必要的强度校核。
在具体设计时,一般顺序是:。
A.b→a→c→d B.b→c→a→d C.a→c→b→d D.c→d→b→a5.平键联接能传递的最大扭矩为T,现要传递的扭矩为1.5T,则应。
A.把键长L增大到1.5倍B.把键宽b增大到1.5倍C.把键高h增大到1.5倍D.安装一对平键6.普通平键联接的承载能力一般取决于。
A.轮毂的挤压强度B.键工作表面的挤压强度C.轴工作面的挤压强度D.上述三种零件中较弱材料的挤压强度7.C型普通平键与轴联接,键的尺寸为b×h×L=14×9×65,则键的工作长度为。
A.58mm B.61mm C.65mm D.51mm8.下面是几种普通平键联接的剖视面,其中在结构上正确。
A B C9.楔键联接的主要缺点是A.键的斜面加工困难B.键安装时易损坏C.键楔紧后在轮毂中产生初应力D.轴和轴上零件对中性差10.半圆键和切向键的应用场合是。
A.前者多用来传递较大扭矩,后者多用来传递较小扭矩B.前者多用来传递较小扭矩,后者多用来传递较大扭矩C.各种大小扭矩均可传递三、简答题1.根据用途不同,平键分为哪几种类型?指出其中哪些用于静联接,哪些用于动联接。
2.薄型平键联接与普通平键联接相比,在使用场合、结构尺寸和承载能力上有何区别?3.见一、填空题第6小题提问:分别是为什么?同时,在强度计算中,为什么双键只能按1.5个键计算?四、计算分析题1.图示牙嵌离合器的左右两半分别用键与轴1、2相联接,在空载下,通过操纵可使右半离合器沿导向平键在轴1上作轴向移动。
该轴传递的转矩T=1200N∙m,轴径d1=80mm,右半离合器的轮毂长度L1=130mm,行程l1=60mm,工作中有轻微冲击,离合器及轴的材料均为钢材。
试选择右半离合器的导向平键尺寸,并较核其联接强度。
2.图示凸缘联轴器,允许传递的最大转矩T为1500N∙m(静载荷),材料为HT250。
联接处轴及轮毂尺寸如图示(单位:mm)。
试:1)考虑在轴端采用何种类型的平键较为合适,选择键的类型及尺寸,并较核键联接的强度。
2)若键联接强度不够,请列举两种以上解决方案。
一、填空题 1.带传动主要是依靠 来传递运动和动力的。
2.小带轮主动的V 带传动在工作过程中,带内应力有______、_______、______,最大应力=σmax __________,发生在________处。
3.带传动的主要失效形式是 。
设计准则是 。
4.带传动不发生打滑的受力条件是______________________, 为保证带传动具有一定的疲劳寿命,应将最大应力限制为max σ≤ 。