环境监测中心应急监测工作程序
- 格式:doc
- 大小:71.50 KB
- 文档页数:3
附件1:重庆市环境监测中心应急监测室应急监测工作制度一、编制目的为进行突发污染事故应急监测、熟练把握应急监测车及车载仪器的整体利用、完善应急监测车及车载仪器的各项治理制度和应急监测工作程序、锻炼监测人员的应急反映能力、现场分析能力和现场调查能力,特制定本制度。
二、工作程序附件1:重庆市环境监测中心应急监测室应急监测工作制度二、编制目的为进行突发污染事故应急监测、熟练把握应急监测车及车载仪器的整体利用、完善应急监测车及车载仪器的各项治理制度和应急监测工作程序、锻炼监测人员的应急反映能力、现场分析能力和现场调查能力,特制定本制度。
二、工作程序(一)在接到突发污染事故等应急监测任务时,本中心领导当即通知相关的应急监测人员,在通知后30分钟内应急监测人员必需赶到中心集合组成应急监测小组,并尽可能的了解事故情形,初步确信应急监测的项目和可能用到的仪器、试剂。
中心的技术质量负责人、监测人员并以不超过30分钟的时刻,进行平安防护设备、应急监测仪器及相关配件、采样器具、试剂药品、通信设备装车工作,装车完成后当即赶旧事发地。
(二)应急监测小组赶旧事发地途中,有必要与事故现场负责人或当事人员等取得联系,以便初步把握事故发生情形及目前污染状况、并提出应急监测初步方案。
抵达事发地后,在平安防护设备到位、确保人身平安的前提下,应有专人进行事故的现场调查,预测事故进展趋势,制定好监测采样平安规程为监测人员采样提供指导。
(三)应急监测小组抵达事发地后,第一听取当事人员的汇报,并当即进行现场踏勘,布点,完成初步情形调查汇总和事故源监测、周边环境示用意,制定应急监测方案,并按应急监测方案及质量保证体系进行采样、监测、调查,将所搜集的样品尽可能在监测车内实验室内完成份析。
假设需送回中心分析的,要当即保留好样品,在第一时刻送回中心分析。
(四)监测分析数据及监测报告准确、及时地报给中心应急监测领导小组及市环保局有关部门。
(五)整个应急进程中,各人员必需维持通信畅通,以便联系。
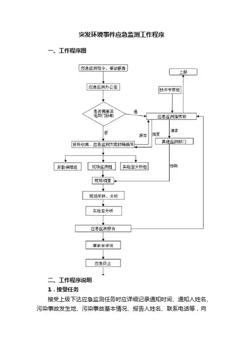
突发环境事件应急监测工作程序一、工作程序图二、工作程序说明1.接受任务接受上级下达应急监测任务时应详细记录通知时间、通知人姓名、污染事故发生地、污染事故基本情况、报告人姓名、联系电话等,向应急监测领导小组报告。
应急监测领导小组向当班应急监测组组长下达任务,后勤保障组作好出发准备。
2.信息来源、分析与上报环境污染事故发生后,要尽快确定应急事故有毒物质的种类和排放量,通过如下两个过程来进行:(1)根据事故发生地收集的各种信息来判断和预测,并通过“南京市应急监测计算机地理信息查询系统”进行查询,以此做好监测的准备工作。
(2)事故现场的实际调查、现场的快速测定和后备实验室的分析。
最重要的是要做好污染事故信息的收集和调研分析工作,包括事故发生地风险源情况,肇事主体单位提供的污染信息及事故报告人对现场污染特征的描述。
并立即报告应急监测领导小组,由应急监测领导小组组长决定启动何种级别的应急监测预案。
四级突发环境事件发生后,启动四级应急监测响应,区、县环境监测站应迅速组织应急监测人员到达现场开展工作并提出应急处置工作建议,及时向市应急监测办公室报告有关情况。
市应急监测办公室及时指导开展应急监测。
三级突发环境事件发生后, 启动三级应急监测响应,市应急监测办公室应迅速组织应急监测人员到达现场开展工作并提出应急处置工作建议,及时向市应急监测指挥部报告有关情况。
市环境监测中心站及时指导应急监测工作,并根据应急监测工作需要调集全市应急监测物资和设备。
二级突发环境事件发生后,启动二级应急监测响应,在省应急监测指挥部的统一部署下开展应急监测工作。
一级突发环境事件发生后,启动一级应急监测响应,市环境监测站在总站、省站应急监测指挥部统一部署下开展应急监测工作。
3.制定监测预案现场调查监测组在接到应急监测指挥部指令后立即与事发地环境监测站电话联系,了解污染事故大致情况,编制初步监测方案。
在最短时间内赶赴现场组织实施现场调查与监测工作。
一、总则1.1 编制目的为提高我国环境监测系统应对突发环境事件的能力,确保人民群众生命财产安全,维护社会稳定,特制定本预案。
1.2 编制依据《中华人民共和国环境保护法》、《中华人民共和国突发事件应对法》、《国家突发环境事件总体应急预案》等法律法规。
1.3 适用范围本预案适用于我国各级环境监测机构在应对各类突发环境事件时的应急监测工作。
二、组织机构及职责2.1 组织机构成立环境监测突发应急预案领导小组,负责组织、协调、指导突发环境事件应急监测工作。
2.2 领导小组职责(1)组织制定和修订环境监测突发应急预案;(2)组织应急监测培训、演练和检查;(3)协调各级环境监测机构开展应急监测工作;(4)负责应急监测信息汇总、分析和上报。
2.3 专项工作组职责(1)应急监测技术组:负责应急监测技术指导、方案制定、现场监测、样品采集、数据分析等工作;(2)应急物资保障组:负责应急监测所需物资的采购、储备和调配;(3)应急通信保障组:负责应急监测通信设备的维护、保障和调度;(4)应急宣传组:负责应急监测信息的发布和宣传。
三、应急监测程序3.1 信息报告(1)接到突发环境事件报告后,立即启动应急监测预案;(2)按照应急预案要求,迅速组织应急监测队伍,进行现场监测;(3)收集、整理监测数据,及时上报领导小组。
3.2 现场监测(1)根据突发环境事件类型,选择合适的监测点位;(2)采用先进的监测技术和设备,对污染源、受污染区域进行监测;(3)对监测数据进行实时分析,评估污染程度和范围。
3.3 样品采集与分析(1)按照国家标准和方法,采集污染样品;(2)对样品进行实验室分析,确定污染物种类、浓度等;(3)将分析结果上报领导小组。
3.4 应急处置(1)根据监测结果,提出应急处置建议;(2)协调相关部门,采取有效措施,控制污染源,减轻污染危害。
四、应急保障4.1 物资保障(1)储备应急监测设备、试剂、防护用品等物资;(2)建立应急物资调配机制,确保应急监测工作顺利开展。
环境监测中心应急监测工作程序环境监测中心应急监测工作程序东莞培训网环境监测中心应急监测工作程序修订日期20xx/03/30修订单号/修订内容摘要系统文件新制定页次版次2A/0修订/审核/批准/批准:好好学习社区更多免费资料下载请进:审核:编制:东莞培训网环境监测中心应急监测工作程序1目的快速、有序地实施突发性环境污染事故的应急监测,为事故处置提供及时、准确和有效的技术支持。
2适用范围来自环保主管部门通知的、社会和群众举报的、除核污染以外由环境监测中心直接实施监测的突发性环境污染事故。
3职责3.1中心主任负责应急监测工作的组织和协调;批准监测报告;3.2总工程师提供污染源和污染物的有关特性、控制标准、监测方法、防护措施、处置技术等信息资料,审核监测报告;3.3相关监测业务科室负责现场调查,制定监测方案,实施现场采样、测试和实验室分析,编制监测报告;3.4行政科负责应急监测的运输、物资供应等后勤保障工作。
4程序4.1接报正常上班期间由总工室负责突发性环境污染事故的接报,节假日和下班期间由值班人员负责接报;接报人员应作好详细记录,并立即报告中心主任。
4.2决策中心主任根据事故情况,决定应对办法和要求,并对应急监测工作进行统一调度。
4.3应急监测的准备总工程师、相关监测业务科室和行政科在接到通知后1~2小时内,保证完成以下工作:4.3.1总工程师将可能出现的污染物的有关特性、控制标准、监测方法、防护措施、处置技术等信息资料提交给中心主任和相关监测业务科室。
4.3.2监测业务科室完成现场采样测试的仪器、试剂、器皿、防护器具和记录等准备工作,现场监测人员整装待发,实验室进入开机待测状态。
东莞培训网4.3.3行政科保证监测车和必要的物资到位。
4.4应急监测的实施4.4.1总工程师和相关监测业务科室有关人员到达现场,立即展开调查踏勘,确定应急监测方案(包括监测对象、布点方法与范围、监测项目、采样方式、采样频次等内容),对事故的严重性进行初步判断,并将现场情况和应急监测方案反馈给中心主任,由中心主任作出决策。
环境监测应急监测预案大纲一、引言1.1 背景随着工业化进程的加速和城市化的快速发展,环境污染问题日益突出,环境监测的重要性不断凸显。
为了及时响应突发环境事件和保障公众的生命安全和健康,制定一套完善的环境监测应急监测预案显得尤为重要。
1.2 目的本文档旨在制定一份针对环境监测应急情况的监测预案大纲,明确应急响应流程、责任分工和应急资源调配,加强环境监测应急能力,提高应急响应效率。
二、应急监测预案流程2.1 应急响应级别划分根据环境监测情况的紧急程度和风险等级,将环境监测应急响应划分为一级、二级和三级。
一级为最高级别,表示极端紧急情况,二级为次高级别,表示紧急情况,三级为较低级别,表示一般情况。
2.2 应急响应流程1.事件发生及初步评估–监测人员接到环境突发事件报警后,迅速前往现场进行初步评估,并反馈给应急指挥中心。
–应急指挥中心根据评估结果判断应急响应级别,并组织相关人员和资源进行调配。
2.应急响应方案制定–应急指挥中心根据监测评估结果制定应急监测方案,明确监测目标、监测方法和监测频次。
–相关人员按照方案要求进行监测任务分工和准备工作。
3.实施监测任务–监测人员按照事先制定的监测方案进行监测任务。
–监测人员定期向应急指挥中心汇报监测结果,并根据需要调整监测计划。
4.结果评估和报告–应急指挥中心根据监测结果进行综合评估,并及时向上级主管部门和公众发布监测结果。
–综合评估结果作为环境应急处理和决策的依据。
5.应急处置和善后工作–应急指挥中心根据监测评估结果组织应急处置工作,采取相应的污染治理措施。
–同时进行善后工作,恢复环境、修复设施和救助受灾人员。
2.3 责任分工•应急指挥中心:负责统一组织、协调和指导应急监测工作,制定应急响应方案和评估监测结果。
•监测人员:负责实施监测任务,准确采集监测数据,并及时向应急指挥中心上报。
•相关部门:根据应急指挥中心指示,配合完成应急监测任务,提供必要的技术支持和资源保障。
一、总则为提高监测中心应对突发事件的应急响应能力,确保监测数据的准确性和及时性,保障监测中心工作人员的生命财产安全,维护社会稳定,特制定本应急预案。
二、适用范围本预案适用于监测中心在发生以下突发事件时的应急响应工作:1. 突发环境污染事件;2. 自然灾害;3. 事故灾难;4. 公共卫生事件;5. 其他可能对监测中心造成严重影响的事件。
三、组织机构及职责1. 应急指挥部成立监测中心应急指挥部,负责应急工作的全面领导和指挥。
应急指挥部下设以下工作组:(1)应急办公室:负责组织协调、信息收集、发布、报送等工作;(2)现场指挥组:负责现场应急处置、物资保障、人员调配等工作;(3)监测技术组:负责现场监测、数据分析、应急报告等工作;(4)后勤保障组:负责应急物资、设备、车辆等后勤保障工作。
2. 应急办公室应急办公室负责组织、协调、监督、检查应急工作的实施,具体职责如下:(1)制定应急预案;(2)组织应急演练;(3)协调各部门、单位开展应急工作;(4)收集、整理、分析应急信息;(5)向应急指挥部报告应急工作情况。
3. 现场指挥组现场指挥组负责现场应急处置、物资保障、人员调配等工作,具体职责如下:(1)现场指挥:负责现场应急处置工作的指挥调度;(2)物资保障:负责应急物资、设备的调配、供应;(3)人员调配:负责现场应急人员的调配、指挥;(4)信息收集:负责现场应急信息的收集、整理、上报。
4. 监测技术组监测技术组负责现场监测、数据分析、应急报告等工作,具体职责如下:(1)现场监测:负责现场污染物的监测、分析;(2)数据分析:负责对监测数据进行分析、评估;(3)应急报告:负责编写、报送应急监测报告;(4)技术支持:负责提供监测技术支持。
5. 后勤保障组后勤保障组负责应急物资、设备、车辆等后勤保障工作,具体职责如下:(1)应急物资保障:负责应急物资的采购、储存、调配;(2)设备保障:负责应急设备的维护、保养、调配;(3)车辆保障:负责应急车辆的调配、维护。
一、目的和依据为保障我国环境监测工作的有效开展,提高应对突发环境事件的能力,最大限度地减轻突发环境事件对人民群众生命财产安全和生态环境的影响,依据《中华人民共和国环境保护法》、《中华人民共和国突发事件应对法》等相关法律法规,结合我国环境监测工作实际,制定本预案。
二、适用范围本预案适用于以下突发环境事件:1. 重大环境污染事故;2. 突发性环境监测任务;3. 突发环境事件应急监测;4. 环境质量异常波动监测。
三、组织体系1. 成立环境监测应急指挥部,负责统一指挥、协调和调度应急监测工作;2. 设立应急监测工作领导小组,负责制定应急监测方案、组织应急监测队伍、协调相关部门工作;3. 建立应急监测专家库,为应急监测工作提供技术支持。
四、应急监测工作程序1. 接到突发环境事件报告后,立即启动应急预案,启动应急监测工作;2. 组织应急监测队伍迅速赶赴现场,对污染源、污染范围、污染程度等进行初步调查;3. 根据调查情况,制定详细的应急监测方案,明确监测指标、监测方法、监测频次等;4. 组织实施应急监测,确保监测数据准确、及时、可靠;5. 对监测数据进行汇总、分析、评估,为应急决策提供依据;6. 完成应急监测任务后,及时向应急指挥部报告,并做好后续工作。
五、应急监测措施1. 加强应急监测队伍建设,提高应急监测能力;2. 完善应急监测设备设施,确保应急监测工作顺利开展;3. 建立应急监测物资储备库,保障应急监测物资供应;4. 加强应急监测培训,提高应急监测人员业务水平;5. 建立应急监测信息共享机制,确保信息畅通。
六、应急监测保障1. 保障应急监测经费,确保应急监测工作顺利开展;2. 保障应急监测人员、设备、物资等资源的调配;3. 加强与相关部门的沟通协调,形成合力,共同应对突发环境事件。
七、应急监测总结与评估1. 应急监测任务完成后,及时总结应急监测工作经验,完善应急预案;2. 对应急监测工作进行评估,找出不足,改进应急监测工作;3. 定期开展应急监测演练,提高应急监测队伍的实战能力。
一、目的为确保环境监测站实验室在突发环境事件中的安全稳定运行,最大限度地减少人员伤亡和财产损失,提高实验室应对突发环境事件的能力,特制定本预案。
二、适用范围本预案适用于环境监测站实验室发生的以下突发环境事件:1. 实验室内化学药品、危险品泄漏;2. 实验室仪器设备故障引发的安全事故;3. 实验室火灾、爆炸等事故;4. 实验室水、电、气等基础设施故障;5. 其他可能对实验室环境造成危害的突发事件。
三、应急组织与职责1. 成立应急指挥部,由实验室主任担任总指挥,负责应急工作的全面协调和指挥。
2. 设立应急小组,包括以下成员:(1)现场救援组:负责现场救援、人员疏散、事故处理等工作。
(2)医疗救护组:负责伤员救治、卫生防疫等工作。
(3)物资保障组:负责应急物资的采购、调配和供应。
(4)信息联络组:负责应急信息的收集、上报和发布。
(5)宣传报道组:负责应急工作的宣传报道和舆论引导。
四、应急响应程序1. 突发事件发生后,现场救援组立即组织人员开展救援工作,确保人员安全。
2. 医疗救护组对伤员进行救治,并做好卫生防疫工作。
3. 物资保障组及时调配应急物资,确保救援工作顺利进行。
4. 信息联络组收集应急信息,及时上报应急指挥部,并对外发布相关信息。
5. 应急指挥部根据事故情况,采取以下措施:(1)启动应急预案,组织开展应急救援工作;(2)根据事故情况,调整应急响应级别;(3)协调相关部门,共同应对突发事件;(4)根据事故发展态势,适时调整应急措施。
五、应急处置措施1. 化学药品、危险品泄漏:(1)立即关闭泄漏源,隔离泄漏区域;(2)穿戴防护用品,进行泄漏物清理;(3)对泄漏区域进行消毒处理;(4)对受污染的物品进行无害化处理。
2. 实验室仪器设备故障:(1)立即切断电源,防止事故扩大;(2)组织专业人员进行抢修;(3)对损坏的设备进行评估,及时更换或维修。
3. 实验室火灾、爆炸等事故:(1)立即组织人员疏散,确保人员安全;(2)启动灭火系统,进行灭火;(3)对火灾现场进行清理,防止复燃;(4)对事故原因进行调查,采取措施防止类似事故再次发生。
环境监测中心应急监测工作程序环境监测中心应急监测工作程序一、概述应急监测是环境监测中心的一项重要职责,旨在及时掌握突发环境事件的发生、扩散和影响范围,为应急决策提供准确可靠的监测数据。
本文将介绍环境监测中心应急监测工作的具体程序。
二、预警与动员1. 预警:环境监测中心接收到相关部门或监测站点的预警信息后,及时组织专家进行研判与评估。
如果确认为突发环境事件,将进入应急监测程序。
2. 动员:环境监测中心将通知相关监测站点启动应急监测,并及时向上级主管部门报告情况,以便协助调动其他资源。
三、应急监测工作流程1. 应急调度:环境监测中心将根据事件的性质、规模和地点,指派专业监测人员进行应急调度。
此外,还需要确定应急监测班组的具体组成,确保人员充足、技术能力强。
2. 现场勘察:监测人员到达现场后,首先进行周边环境勘察,了解周边地理环境和实际情况。
在现场勘察中,要注意安全问题,穿戴好各种防护装备。
3. 监测方案制定:根据事件类型和现场情况,制定监测方案。
主要包括监测点的确定、监测参数的选择、监测仪器的配置和监测频次的确定等。
要确保方案严密科学,并能够在紧急情况下快速实施。
4. 样品采集和分析:根据监测方案,采集监测样品,并送往实验室进行分析。
应急监测中,常采用快速监测方法,以便尽快提供监测结果。
同时,要确保样品的采集方法和保存条件符合标准,以保证数据的可靠性。
5. 数据处理和报告编制:监测数据返回后,进行数据处理和统计,生成监测报告。
报告应包括监测结果、分析与评价、预警建议等内容,并及时向上级主管部门报送。
6. 信息发布与传播:对于突发事件,公众和媒体关注度较高,因此,环境监测中心要及时发布监测信息,向社会公众公开相关数据和结果,保持信息的公开透明。
四、人员培训与演练为保证应急监测工作的有效性与高效性,环境监测中心应定期组织人员进行培训和演练。
培训内容主要包括应急监测的理论知识、常见突发事件的应对措施、现场勘察技巧、快速监测方法等。
一、编制目的为保障环境监测中心工作人员的人身安全和财产安全,防止和减少各类安全事故的发生,确保环境监测工作正常进行,特制定本预案。
二、适用范围本预案适用于环境监测中心所有工作人员、设施设备、环境监测项目等。
三、组织机构及职责1.成立应急指挥部应急指挥部负责组织、指挥、协调应急工作,下设以下小组:(1)应急指挥部办公室:负责应急工作的日常管理和协调。
(2)现场指挥小组:负责现场应急处置工作的指挥、协调。
(3)救援小组:负责现场救援、伤员救治、物资保障等工作。
(4)信息宣传小组:负责应急信息的收集、整理、发布和宣传。
2.各小组职责(1)应急指挥部办公室负责应急工作的日常管理和协调,及时掌握应急情况,组织应急演练,对应急工作进行总结评估。
(2)现场指挥小组负责现场应急处置工作的指挥、协调,确保救援工作有序进行。
(3)救援小组负责现场救援、伤员救治、物资保障等工作,确保人员生命安全。
(4)信息宣传小组负责应急信息的收集、整理、发布和宣传,及时向相关部门和公众通报应急情况。
四、应急处置流程1.发现险情(1)工作人员在监测过程中发现险情,应立即向现场指挥小组报告。
(2)现场指挥小组接到报告后,立即启动应急预案,组织救援小组开展救援工作。
2.现场处置(1)救援小组迅速到达现场,对险情进行评估,制定救援方案。
(2)根据救援方案,开展现场救援、伤员救治、物资保障等工作。
3.信息报告(1)现场指挥小组向应急指挥部办公室报告现场处置情况。
(2)应急指挥部办公室根据现场情况,向相关部门和公众通报应急情况。
4.善后处理(1)现场处置结束后,现场指挥小组组织人员对现场进行清理、消毒。
(2)对事故原因进行调查,分析事故原因,提出改进措施。
五、应急演练1.定期开展应急演练,提高工作人员的应急处置能力。
2.应急演练内容包括:现场救援、伤员救治、物资保障、信息报告等。
3.应急演练结束后,对演练情况进行总结评估,完善应急预案。
六、附则1.本预案自发布之日起实施。
一、编制目的为有效应对突发环境事件,确保人民群众生命财产安全,维护社会稳定,根据《中华人民共和国环境保护法》、《中华人民共和国突发事件应对法》等相关法律法规,结合我国环境监测工作实际,制定本预案。
二、适用范围本预案适用于以下突发环境事件的环境监测应急工作:1. 突发环境污染事件;2. 突发环境灾害事件;3. 突发环境事故;4. 突发环境违法行为;5. 其他需要环境监测应急响应的情况。
三、组织体系1. 领导小组成立环境监测突发应急预案领导小组(以下简称“领导小组”),负责组织、协调、指挥突发环境事件的应急监测工作。
领导小组组成如下:组长:市环境保护局局长副组长:市环境保护局副局长成员:市环境保护局各相关科室负责人、各监测站站长2. 工作小组领导小组下设环境监测应急工作小组(以下简称“工作小组”),负责具体实施应急监测工作。
工作小组组成如下:组长:市环境保护局副局长副组长:市环境保护局监测科科长成员:各监测站站长、相关科室负责人四、应急响应程序1. 信息报告(1)各监测站、监测点应加强环境监测,发现异常情况,立即向工作小组报告。
(2)工作小组接到报告后,立即向领导小组报告。
2. 应急启动(1)领导小组根据事件性质、危害程度和影响范围,决定启动本预案。
(2)工作小组根据领导小组指令,立即组织应急监测工作。
3. 应急响应(1)应急监测1)根据事件性质,确定监测范围、监测点位和监测指标。
2)制定监测方案,组织实施监测工作。
3)对监测数据进行实时分析,为应急处置提供科学依据。
(2)信息发布1)根据事件发展情况和应急处置进展,及时向公众发布相关信息。
2)向政府相关部门、企事业单位和社会公众提供监测数据。
4. 应急结束(1)事件得到有效控制,环境质量恢复到正常水平。
(2)领导小组决定结束应急响应。
五、应急保障措施1. 人员保障(1)各监测站、监测点应配备必要的环境监测设备和技术人员。
(2)加强对监测人员的培训,提高应急处置能力。
一、目的和依据为了加强环境监测站的安全管理,预防和应对突发事件,保障监测站工作人员的生命财产安全,维护环境监测工作的正常进行,依据《中华人民共和国突发事件应对法》、《中华人民共和国环境保护法》等相关法律法规,特制定本预案。
二、适用范围本预案适用于环境监测站发生的各类突发事件,包括但不限于火灾、爆炸、泄漏、中毒、自然灾害等。
三、组织机构及职责1. 环境监测站应急指挥部(1)总指挥:由环境监测站站长担任。
(2)副总指挥:由环境监测站副站长、各部门负责人担任。
(3)指挥部下设以下工作组:- 应急救援组:负责现场救援、伤员救治、物资保障等工作。
- 通信联络组:负责信息收集、传递、上报等工作。
- 现场勘查组:负责现场勘查、事故原因分析、调查取证等工作。
- 后勤保障组:负责应急物资储备、运输、分发等工作。
2. 各部门职责(1)办公室:负责应急指挥部的日常工作和各项应急措施的落实。
(2)监测室:负责监测站内的环境监测工作,确保监测数据的准确性和及时性。
(3)实验室:负责监测站内的实验工作,确保实验数据的准确性和可靠性。
(4)设备室:负责监测站内设备的维护、保养和管理工作。
四、应急响应程序1. 突发事件发生后,各部门应立即启动应急预案,及时上报指挥部。
2. 指挥部接到报告后,立即召开应急会议,分析事故原因,制定应急措施。
3. 应急救援组迅速开展现场救援工作,确保人员生命安全。
4. 通信联络组及时收集、传递、上报相关信息。
5. 现场勘查组对事故现场进行勘查,分析事故原因,调查取证。
6. 后勤保障组负责应急物资的储备、运输和分发。
7. 应急指挥部分析事故原因,制定整改措施,防止类似事故再次发生。
五、应急保障措施1. 建立应急物资储备库,储备必要的应急物资。
2. 定期组织应急演练,提高工作人员的应急处置能力。
3. 加强安全教育培训,提高工作人员的安全意识。
4. 建立安全预警机制,及时掌握各类安全隐患。
六、预案修订本预案由环境监测站应急指挥部负责修订,经站长批准后实施。
一、预案概述为有效应对突发环境事件,保障人民群众生命财产安全,维护生态环境稳定,根据《中华人民共和国环境保护法》、《中华人民共和国突发事件应对法》等相关法律法规,结合本地区实际情况,特制定本环境检测环境应急预案。
二、适用范围本预案适用于本地区各类突发环境事件,包括但不限于以下情况:1. 突发环境污染事件;2. 突发生态破坏事件;3. 突发放射性污染事件;4. 突发环境灾害事件。
三、组织机构及职责1. 成立环境检测环境应急指挥部,负责组织、协调、指挥突发环境事件应急处置工作。
2. 指挥部下设办公室、应急监测组、应急处理组、应急物资保障组、应急宣传组、应急评估组等。
(1)办公室:负责预案的组织实施、监督检查、信息报送等工作。
(2)应急监测组:负责环境监测数据的收集、分析、报告等工作。
(3)应急处理组:负责突发环境事件的应急处置、现场勘查、污染源控制等工作。
(4)应急物资保障组:负责应急物资的储备、调配、供应等工作。
(5)应急宣传组:负责应急信息的发布、宣传、教育等工作。
(6)应急评估组:负责突发环境事件的评估、分析、总结等工作。
四、应急响应程序1. 突发事件发生后,应急监测组立即开展环境监测工作,收集相关数据。
2. 应急处理组根据监测数据,判断事件性质,启动应急预案。
3. 应急指挥部根据事件严重程度,决定启动应急响应级别。
4. 各小组按照职责分工,迅速开展应急处置工作。
5. 应急处理组采取措施控制污染源,减轻环境污染。
6. 应急监测组持续监测环境质量,确保数据准确、及时。
7. 应急宣传组及时发布应急信息,引导公众正确应对。
8. 应急评估组对突发环境事件进行评估,提出整改措施。
五、应急保障措施1. 资金保障:设立专项资金,用于应急物资储备、应急演练、应急培训等。
2. 物资保障:储备应急物资,包括监测设备、防护用品、应急处置设备等。
3. 人员保障:加强应急队伍建设和培训,提高应急处置能力。
4. 技术保障:加强环境监测技术研发,提高监测数据准确性和时效性。
一、总则为保障环境监测中心在正常工作及应急情况下的人员安全、设备安全和环境安全,预防和减少事故发生,提高应对突发环境事件的能力,特制定本预案。
二、适用范围本预案适用于环境监测中心在开展监测活动、实验操作、设备维护、人员培训等日常工作中可能发生的各类安全事故和突发环境事件。
三、组织机构及职责1. 应急指挥部应急指挥部负责组织、指挥、协调中心内部各类安全事故和突发环境事件的应急处置工作。
2. 应急救援小组(1)事故处理组:负责事故现场的调查、分析、报告和后续处理。
(2)医疗救护组:负责事故现场受伤人员的紧急救治和转送医院。
(3)设备保障组:负责事故现场设备的安全控制、维护和修复。
(4)环境监测组:负责事故现场环境监测,评估事故对环境的影响。
(5)通讯联络组:负责事故现场与应急指挥部的通讯联络。
四、应急处置程序1. 紧急报警(1)发现安全事故或突发环境事件,立即向应急指挥部报告。
(2)应急指挥部接到报告后,立即启动应急预案,组织应急救援小组赶赴现场。
2. 事故现场处置(1)事故处理组负责现场调查、分析、报告和后续处理。
(2)医疗救护组负责受伤人员的紧急救治和转送医院。
(3)设备保障组负责事故现场设备的安全控制、维护和修复。
(4)环境监测组负责事故现场环境监测,评估事故对环境的影响。
3. 应急撤离(1)根据事故现场情况,指挥人员有序撤离。
(2)确保撤离过程中人员安全,避免发生踩踏等次生事故。
4. 应急恢复(1)事故现场处置完毕后,应急指挥部组织相关人员开展现场清理和恢复工作。
(2)对事故原因进行调查分析,提出整改措施,防止类似事故再次发生。
五、预防措施1. 加强安全教育培训,提高员工安全意识。
2. 定期检查设备,确保设备安全运行。
3. 严格执行操作规程,杜绝违章操作。
4. 加强环境监测,及时发现并处理环境污染问题。
5. 建立健全应急预案,定期组织应急演练。
六、附则1. 本预案由环境监测中心应急指挥部负责解释。
一、前言为了有效应对突发环境事件,保障人民群众生命财产安全,维护社会稳定,根据《中华人民共和国环境保护法》及相关法律法规,结合我国环境监测工作实际,特制定本预案。
二、适用范围本预案适用于我国各级环境监测机构在应对各类突发环境事件时,组织实施的应急监测工作。
三、应急组织机构及职责1. 应急指挥部应急指挥部是本预案的最高指挥机构,负责组织、协调、指挥突发环境事件的应急监测工作。
应急指挥部下设以下机构:(1)应急办公室:负责应急指挥部日常工作,收集、整理、分析环境监测数据,向应急指挥部提供决策依据。
(2)应急监测组:负责组织、协调、指挥突发环境事件的应急监测工作,确保监测数据的准确性和时效性。
(3)应急保障组:负责应急监测所需的物资、设备、人员等保障工作。
2. 应急办公室职责(1)收集、整理、分析环境监测数据,向应急指挥部提供决策依据;(2)协调应急监测组、应急保障组开展工作;(3)发布应急监测信息,确保信息的准确性和时效性。
3. 应急监测组职责(1)组织、协调、指挥突发环境事件的应急监测工作;(2)制定应急监测方案,确保监测数据的准确性和时效性;(3)组织监测人员开展应急监测工作,确保监测任务顺利完成。
4. 应急保障组职责(1)负责应急监测所需的物资、设备、人员等保障工作;(2)协调各部门、单位,确保应急监测工作的顺利进行。
四、应急监测工作程序1. 接报接到突发环境事件报告后,应急指挥部立即启动应急预案,组织应急监测组开展应急监测工作。
2. 调查评估应急监测组对突发环境事件进行调查评估,确定监测范围、监测指标、监测方法等。
3. 制定应急监测方案根据调查评估结果,应急监测组制定应急监测方案,明确监测任务、时间、人员、设备等。
4. 开展应急监测应急监测组按照应急监测方案,组织监测人员开展应急监测工作,确保监测数据的准确性和时效性。
5. 结果分析与报告应急监测组对监测数据进行整理、分析,形成监测报告,并及时上报应急指挥部。
附件:天津市环境监测中心环境污染事件应急监测工作预案为贯彻实施《天津市环境保护局突发环境事件应急预案》,规范天津市环境监测中心应对突发性环境污染与生态破坏事故的监测管理,提高应急监测快速反应能力,保证事故发生后能够迅速启动应急监测的各项措施,为事故应急管理提供及时、科学、准确的监测结果,特制定本工作预案。
本预案适用于国务院规定的特别重大(Ⅰ级)及重大(Ⅱ级)突发环境事件;区、县环保局无力有效应对、请求监测中心给予援助的较大(Ⅲ级)突发环境事件.具体包括:1、危险化学品及其它有毒有害物质在生产、经营、贮存、运输、使用和处置过程中发生的爆炸、燃烧、大面积泄漏等事件;2、工业企业生产过程中因意外事故造成的突发性环境污染事件;3、影响饮用水源地水质安全的突发性环境污染事件;4、因不可抗力(含自然原因和社会原因)造成危及环境安全及人体健康的环境污染事件;5、其它突发性环境污染事件;一、机构与职责1、中心应急监测队队长:魏恩棋副队长:王志强、王凤炜、蔡海超、陈魁、梅鹏蔚、张赞、王琳中心应急监测队由应急办公室、现场监测组、分析组、后勤保障组及技术专家组构成。
职责:负责组织天津市环境应急中心下达的环境污染与生态破坏事故应急监测工作。
应急监测队长负责组织协调应急监测的全面工作,其外出时应书面委托中心其他领导代理其职责。
2、应急办公室负责人:王志强成员:李巍、许铁磊职责及工作要求:负责应急监测任务的分派及组织协调工作,制订中心应急监测队值班安排(详见附表1),负责应急监测报告的归档等工作。
开展应急监测、应急演练期间,履行中心应急监测指挥中枢职能,负责中心各部门监测工作的分派及组织协调工作,负责中心及系统应急监测资源调拨,负责应急监测指挥管理系统的运行。
应急监测工作结束后3日内,组织完成应急监测工作总结报告的编制。
3、现场监测组现场监测组设立应急监测组、应急监测污染源预备组、应急监测环境预备组、环境空气监测组,应急监测组由现场监测一部组成,现场监测二部、三部作为应急监测污染源预备组,水质监测部、生态监测部作为应急监测环境预备组,环境空气监测组由大气监测部组成。
环境应急监测的任务内容基本工作流程下载温馨提示:该文档是我店铺精心编制而成,希望大家下载以后,能够帮助大家解决实际的问题。
文档下载后可定制随意修改,请根据实际需要进行相应的调整和使用,谢谢!并且,本店铺为大家提供各种各样类型的实用资料,如教育随笔、日记赏析、句子摘抄、古诗大全、经典美文、话题作文、工作总结、词语解析、文案摘录、其他资料等等,如想了解不同资料格式和写法,敬请关注!Download tips: This document is carefully compiled by theeditor.I hope that after you download them,they can help yousolve practical problems. The document can be customized andmodified after downloading,please adjust and use it according toactual needs, thank you!In addition, our shop provides you with various types ofpractical materials,such as educational essays, diaryappreciation,sentence excerpts,ancient poems,classic articles,topic composition,work summary,word parsing,copy excerpts,other materials and so on,want to know different data formats andwriting methods,please pay attention!环境应急监测任务的基本工作流程环境应急监测是环境保护工作的重要组成部分,它主要针对突发性的环境污染事件,如工业事故、自然灾害等,进行快速、准确的监测和评估,以保护公众健康和生态环境。
环境监测中心应急监测工作程序
修订日期修订
单号
修订内容摘要页次版次修订审核批准
2011/03/30/系统文件新制定2A/0///
更多免费资料下载请进:好好学习社区批准:审核:编制:
环境监测中心应急监测工作程序
1 目的
快速、有序地实施突发性环境污染事故的应急监测,为事故处置提供及时、准确和有效的技术支持。
2 适用范围
来自环保主管部门通知的、社会和群众举报的、除核污染以外由环境监测中心直接实施监测的突发性环境污染事故。
3 职责
3.1 中心主任负责应急监测工作的组织和协调;批准监测报告;
3.2 总工程师提供污染源和污染物的有关特性、控制标准、监测方法、防护措施、处置技术等信息资料,审核监测报告;
3.3 相关监测业务科室负责现场调查,制定监测方案,实施现场采样、测试和实验室分析,编制监测报告;
3.4 行政科负责应急监测的运输、物资供应等后勤保障工作。
4 程序
4.1 接报
正常上班期间由总工室负责突发性环境污染事故的接报,节假日和下班期间由值班人员负责接报;接报人员应作好详细记录,并立即报告中心主任。
4.2 决策
中心主任根据事故情况,决定应对办法和要求,并对应急监测工作进行统一调度。
4.3 应急监测的准备
总工程师、相关监测业务科室和行政科在接到通知后1~2小时内,保证完成以下工作:
4.3.1 总工程师将可能出现的污染物的有关特性、控制标准、监测方法、防护措施、处置技术等信息资料提交给中心主任和相关监测业务科室。
4.3.2 监测业务科室完成现场采样测试的仪器、试剂、器皿、防护器具和记录等准备工作,现场监测人员整装待发,实验室进入开机待测状态。
4.3.3 行政科保证监测车和必要的物资到位。
4.4 应急监测的实施
4.4.1 总工程师和相关监测业务科室有关人员到达现场,立即展开调查踏勘,确
定应急监测方案(包括监测对象、布点方法与范围、监测项目、采样方式、采样频次等内容),对事故的严重性进行初步判断,并将现场情况和应急监测方案反馈给中心主任,由中心主任作出决策。
4.4.2 总工程师应及时提供监测业务科室所需的技术支持,对于不具备监测能力的项目,应迅速安排好样品的委托分析事宜。
4.4.3 按照监测方案,相关监测业务科室立即安排现场采样测试工作,监测人员应注意自身的安全防护,做好现场记录,并尽可能地协助环保行政主管部门提出警戒区域范围及应急防范措施。
4.4.4 行政科应及时安排好人员、样品的接送以及物资供应。
4.4.5 实验室应保证样品随到随检,迅速提交数据;剩余样品应按保存条件的要求保留到污染事故处置妥当之时。
4.4.6 监测期间,有关人员间应保持通讯联络和信息传递和畅通。
4.4.7 应急监测过程中的仪器设备的校准、质控要求、样品的标识和管理等可以简化,非标方法的确认和设备使用登记可以事后补遗,但采样测试记录和实验室分析记录仍应按有关程序执行。
4.4.8 应急监测如与其它工作发生冲突,应优先安排进行应急监测。
4.5 应急监测报告
4.5.1 应急监测报告应及时、迅速,可根据环保行政主管部门要求通过电话、传真、局域网报告;向环保行政主管部门报出的书面报告须经总工程师审核、中心主任批准。
4.5.2 对事故发生后可能长期滞留在水体、土壤、作物等环境中的污染物,应定期跟踪监测,并向主管部门报告。
4.5.3 应急监测所形成的各种记录、报告应按《记录控制程序》和《档案管理程序》予以保存。
5 引用文件
《记录控制程序》
《档案管理程序》。