口服药发放流程图新修订.pdf
- 格式:pdf
- 大小:50.42 KB
- 文档页数:1
发口服药的工作流程
1、取药时查对:护士到药房取药时查对发药单与药物
2、给药时查对:护士着装整洁→洗手→推车至床尾→查对床头牌→询问姓名→查对执行单与药物→将药倒入病人小药杯内(自服药应交待服药剂量)→若病人提出疑问,需查问清楚方可发药→给病人倒水,交待服药时间→不能配合的病人应协助其服下方可离开→交待用药后的注意事项→每发一名患者在口服药查对单上签名一次
3、给药后查对:与另一护士一起查对并签名
静脉用药摆放及配置流程
医师开医嘱→主班护士处理医嘱→双人核对→录入医嘱→打印治疗单→传递至相关班次护士→摆药→再次核对→护士进行药物配制→再核对→治疗班护士接收→核对→给药。
口服药发放流程_口服药发放制度口服给药法操作流程七煤医疗中心总医院最新年9月17日制订流程要点说明沟通核对1、老师,您好,我是护士***,您可以叫我**2、请问您叫什么名字?1、医嘱/护嘱、药物2、三查九对1、您现在的情况怎么样?2、哦,您肺部有炎症,今天医生已经开了抗生素、祛痰止咳糖浆剂及帮助消化的药物。
3、请问您有药物过敏吗?4、这几天吃东西会吐吗?5、等一下我来协助您吃饭,请您稍等6、王阿姨您好,张医生今天又给您开了一盒倍他乐克,你还记得这个药吗?我们一起复习一下……1、患者年龄、病情、合作能力2、用药史、家族史、不良反应史3、进食能力、方式和安全性(1)自理服药能力缺陷者应协助服药(2)有吞咽困难如脑血管意外球麻痹患者服药时应防误吸(3)呕吐者应在呕吐间隙期给药,剧烈呕吐者不宜口服给药(4)口服降糖药、降压药前应先评估血糖、血压,必要时通知医生4、药物相关知识的知晓度评估告知1、对象:患者或家属2、内容:药物的作用、副作用、服用方法及注意事项1、用物:口服药卡、药物、口服药执行单2份,签字笔。
2、患者:合适的服药时机及体位(1)婴幼儿、管饲或吞咽困难等患者需将药片研碎(特殊药物除外)(2)避免用茶水或牛奶送服药物(3)健胃药饭前服;助消化及对胃黏膜有刺激的药饭后服;催眠药睡前服;驱虫药空腹或半空腹服(4)婴幼儿抱起取半坐卧位,管饲患者抬高床头准备1、医嘱/护嘱、药物2、患者姓名、床号3、每一患者的所有药物一次取离药车,每次只取一名患者药物,防止错漏老师,您再告诉我一次您的名字核对解释1、对象:患者、家属或陪护人员2、解释服药目的、注意事项及配合技巧1、特殊药物:抗排斥药、抗凝药、精神镇静类等特殊药物,服药时间要精确2、药物分发:(1)向病人讲解药物的作用及副作用,服药的注意事项,详细告知病人服药剂量、时间(2)对同种药物,规格不同时,要向病人加强说明,避免服药剂量错误(3)病人或家属完全掌握后,在一张口服药执行单上签字并收回,另一张交于病人使用3、协助服药:(1)危重病人,吞咽困难,或自理能障碍等病人确保服药到口。
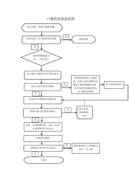
口服药发药流程图责任护士发口服药
核对药袋与口服药单信息
药袋与口服药单信否
退回药房
息是否相符
是
备药盒与口服药单至床边
将药袋放至“病人外出
否未派口服药盒” ;在床
病人是否在病房头柜醒目的位置放置病人返回取药
温馨告示牌,通知病人
是
回护士站取药
参照药袋信息,核对病人身份
否
药袋信息与病人查找原因、更正
身份是否相符
是
发药、划本、签名
解释药物作用、用药注意
事项
协助服药
否
观察不良反应
是否出现药物
结束不良反应
是
通知主管医生,积极配合治
疗,做好药物不良事件上报。
口服药发放流程范本精品文档
口服药发放流程
管床护士与主班双人核对口服药医
嘱,核对床号,姓名,药名,浓度,
剂量,用法及给药时间。
进行摆药。
管床护士携药物到病房,为患者
备温开水。
询问患者姓名,核对床号,姓
名,住院号,手腕带、药物登
记本相关信息。
交待药物的用法及相关注意事项
再次核对床号,姓名,药名,浓度、剂量及用法及给药时间,发放药物,看患者服用到口
确认患者知晓药物相关信息。
在药
物登记本上签名
完成发药
精品文档。
交叉配血采集流程
主班将试管上注明床号,姓名,住院号,科室。
将试管包于输血申请单内交给责任班。
责任班行血型鉴定与输血申请单内容核对,并确认试管上书写信息(科室、床号、姓名、住院号)填写无误。
临嘱口服药发放流程
一、执行临时口服药医嘱流程
接到医嘱指示—查对医嘱—复核确认医嘱—打印医嘱执行单(临时口服药发放单)—责任护士/执行护士进行医嘱双人核对——提交药房。
二、临嘱口服药发放流程
秘书班从药房取药回病房——责任护士/执行护士双人核对药品及相关信息——床旁双人核对患者身份及相关信息后发放给患者,并看服进口(操作前、操作中、操作后进行查对)——观察疗效及不良反应—书写记录。
医嘱处理护士(秘/P/N)接医生下达的医嘱后,认真阅读及查对
查对医嘱无质疑后复核确认医嘱
打印临时口服药发放单,责任护士/执行护士核对
(核对电脑内医嘱及执行单,双人核对)
提交药房
秘书班从药房取药回病房
责任护士/执行护士双人核对药品及相关信息
床旁双人核对患者身份及相关信息后发放给患者,并看服进口(操作前、操作中、操作后进行三查八对)严格按照医嘱的内容、时间等要求准确执行,执行完毕在口服药发放单上签名,并
在电脑上执行签名
医嘱执行后,认真观察疗效与不良反应,必要时与医生进行反馈
书写各项记录、签名。
口服给药的规范及流程
规范:
一、给药原则:
1、根据医嘱准确给药,护士应熟悉常用药物的作用、副作用、用法和毒性反应,对有疑问的医嘱,应及时向医生提出,切不可盲目执行。
2、严格执行查对制度,护士在执行药疗时,应首先认真检查药物的质量,对疑有变质或超过有效期的药物,应立即停止使用,要将准确的药物,按准确的剂量,用准确的途径,在准确的时间内给予准确的患者,即给药的“五个准确”,在执行药疗时,护士应做到三查七对,
三查:操作前、操作中、操作后查查七对的内容
七对:对床号、姓名、药名、浓度、剂量、用法、时间。
3、安全正确用药,准确掌握给药时间、方法;给药前应评估患者的病情、治疗方案、过敏史和所用药物,向患者解释,以取得合作,并给予相应的用药指导提高患者自我合理用药的能力。
4、密切观察用药反应,给药后护士要监测患者病情变化,动态评价药物疗效和不良反应,并做好记录。
二、口服给药的健康教育:
1、对牙齿有腐蚀作用的药物,如酸类和铁剂,应用吸水管吸服后簌口,以保护牙齿。
2、缓释片、肠溶片、胶囊吞服时不可嚼碎;舌下含片应放在舌下或两颊粘膜与牙齿之间待其溶化。
3、健胃药宜在饭前服,助消化药及对胃粘膜有刺激的药物宜在饭后服,催眠药在睡前服。
4、抗生素及磺胺类药物应准时服药,以保证有效的血药浓度。
5、服用对呼吸道粘膜起安抚作用的药物,如止咳糖浆不宜立即饮水。
6、某些磺胺类药物经肾脏排出,尿少时易析出结晶堵塞肾小管,服后要多饮水。
7、服强心苷类药物时需加强对心率及节律的监测,脉率低于每分钟60次或节律不齐时应暂停服用,并告知医生。
口服药发放流程。
发放口服药的流程一、前期准备1.1 确定药品种类及数量首先需要确定要发放的药品种类及数量,这需要根据医生开具的处方或者医疗保健计划来确定。
同时,还需要考虑到药品的保存条件和有效期限。
1.2 准备药品及相关器材根据确定好的药品种类和数量,准备好相应的药品和相关器材,如口服液、胶囊、片剂等药品以及药盒、量杯等器材。
1.3 做好安全防护措施在发放口服药时,需要做好安全防护措施,如佩戴手套、口罩等防护用具,确保不会对患者造成二次感染。
二、发放口服药流程2.1 患者登记在发放口服药之前,需要先进行患者登记。
登记时需核对患者姓名、性别、年龄等基本信息,并确认是否存在过敏史和病史等重要信息。
2.2 药品核对在发放口服药之前,需要进行严格的药品核对。
首先要核对处方或医疗保健计划中所开具的药品种类和数量,然后再核对实际准备的药品种类和数量是否一致。
2.3 药品包装在核对无误后,需要将口服药进行包装。
根据药品种类和患者需求,可以选择将口服液、胶囊、片剂等药品分别装入药盒中,或者直接给予患者整瓶口服液或整盒胶囊、片剂等。
2.4 药品说明在发放口服药之前,需要向患者说明相关的用药细节。
这包括如何正确服用口服液、胶囊、片剂等药品,注意事项及可能出现的不良反应等内容。
2.5 签字确认在发放口服药之后,需要让患者签字确认已经收到了正确的药品和相关说明。
这是为了避免因为误解或其他原因导致用药错误而造成不良影响。
三、发放口服药后处理3.1 记录信息在发放完口服药之后,需要及时记录相关信息。
这包括患者基本信息、所发放的药品种类和数量以及签字确认等内容。
3.2 清理器材在发放完口服药之后,需要对使用过的器材进行清理。
这包括药盒、量杯等器材,需要进行消毒和清洗,以保证下一次使用时的卫生安全。
3.3 药品归库在发放完口服药之后,需要将剩余的药品进行归库。
根据药品种类和保存条件,选择合适的存储方式,并记录好存储位置和数量等信息。
四、注意事项4.1 严格执行规定在发放口服药时,需要严格按照相关规定执行。
一次性发放多次临时口服药物管理规范
1.严格执行各项规章制度及技术操作规程,并遵循发药到口的原则。
2.与医生沟通,尽量少开或不开整盒药品,如特殊情况,不得不开整盒或多盒药品时,护士过医嘱时,查看住院后所开的口服药(如已开有降压药硝苯地平片一瓶,未服完,又重开一瓶),是否有同类药品,以防医生在同一时间段内开同一种药物,如护士不注意查看,又指导患者重复服药造成药物过量等不良后果,从而危及患者生命或引起不必要的纠纷。
3.核对清楚后,校对医嘱,打印治疗卡,标注所服药物的起止时间,将服药卡放到口服药物治疗车上。
发送领药后,由药房工作人员将用法用量标注清楚,一种药物有多盒/瓶药时,每盒/瓶均要标注,并在药盒/瓶外标注序号,以防患者多服药物。
4.药房工作人员将口服药送至护士站,护理人员做好相关查对制度后,将药物发放于患者的抽屉内(降压药,退烧药等特殊药物应放于护士站的口服药车内,做好交接班,按要求发放药物到患者口中),将口服药物温馨提示卡挂于显眼处,并交代患者不能自行服药,到服药时间点,如护士在忙时未能及时到床边,请按呼叫器呼叫护士到床边指导服药,如为老年人、小儿、神志模糊、意识不清等特殊患者,护理人员必须协助患者服药到口后,方可离开。
5.科室责任护士注意查看所分管患者的治疗情况,有临时口服药时,要及时亲自指导督促患者按时服药。
护理部
2014年3月27日制定。