口服药发放核对环节流程图.docx
- 格式:docx
- 大小:42.78 KB
- 文档页数:1
患者口服药给药流程图药物准备:核对本班所需发放的口服药,及时清理请假出院患者的药物,保证药车上无不明药物及杂物人员准备:通知辅助护士协助,组织患者接好水用物准备:发药车、温开水环境、患者准备:保持环境安静,关闭电视机及病室门,告知患者排队等候确认患者身份:发药护士呼叫患者姓名(清醒者患者自报床号、姓名),与辅助护士核对患者手腕带无误发药:发药护士连同发药卡、药盒一同取出,再次与辅助护士核对无误后将药物发给患者检查:辅助护士观察病人服药,检查口腔和水杯,鼓励患者多饮水,保证服药到胃,再次核对患者手带无误特殊情况处理:对防藏药者,多饮水,服药后嘱坐旁边15分钟后才可离开:对拒药者予劝服(不得灌服),拒不服药者告知主管医生,并交班整理:发药完毕后,整理药车,药卡与药盒对应,确认本班无漏发药,将药车归位患者进餐标准流程一、自理患者(WHO-DASⅡ≥52-95分)餐前准备:督促患者洗手,清点碗、勺子,组织患者备好温开水400ml人员准备:抢食患者给予隔离单独进食,糖尿病患者发放餐前药,饮食障碍患者坐于饮食监护区,其他患者坐于餐桌旁等候环境准备:关闭电视及各室门,保持安静,全体工作人员到位,候餐发餐:先分饮食监护区患者饮食,由一名工作人员负责搅拌、晾凉,试温,温度适宜(38-40度)后再发给患者,看护下患者食用发餐中:全体工作人员在餐厅巡视、观察及安排患者,协助进食障碍患者进餐、喂食发餐后:指导患者缓慢进食,不能催促患者,进食时间充足,确保在20-30分钟内特殊情况处理:对有藏食习惯的患者加强看护及管理,每餐后严格检查,对不主动进食的患者及时寻找原因对症处理,对便秘腹胀不敢进食者给予通便处理,有药物副反应的患者给予软饭,对拒食患者分析原因尽量劝说进食整理:统一回收剩饭,清点收集碗、勺子数量,确认餐具数量齐全无异常,将餐具送至配餐室清洗、消毒、备用1.掌握患者病情、意识状态、合作程度。
2.评估患者饮食类型、吞咽功能、咀嚼能力、口腔疾患、营养状况、进食情况。
口服药发放流程ppt口服药是指通过口腔吞服的药物剂型,是临床上应用最为广泛的一种用药方式。
口服药发放流程的规范性和准确性对于患者的用药安全至关重要。
下面将介绍口服药发放的流程及注意事项,以确保患者用药的安全和有效性。
1. 接待患者。
患者到达药房后,首先由工作人员进行接待。
接待人员应礼貌待客,询问患者的姓名、病历号等基本信息,并核对患者的身份信息,以确保用药的准确性。
2. 了解患者用药情况。
在接待患者后,药房工作人员应仔细询问患者的用药情况,包括过敏史、用药史、疾病情况等,以便对患者进行个性化的用药指导和建议。
3. 核对医嘱。
在了解患者用药情况后,药房工作人员应核对医生的处方,确保处方的完整性和准确性,以避免因处方错误导致患者用药不当的情况发生。
4. 药品发放。
在核对医嘱无误后,药房工作人员应按照医生的处方向患者发放药品。
在发放药品时,应注意药品的名称、规格、剂量等信息,并与处方进行逐一核对,确保发放的药品与处方一致。
5. 用药指导。
在发放药品后,药房工作人员应对患者进行用药指导,包括用药时间、用药方法、注意事项等,以确保患者能够正确、安全地使用药品。
6. 记录和反馈。
在完成药品发放和用药指导后,药房工作人员应及时记录患者的用药情况,并将相关信息反馈给医生和护士,以便医护人员对患者的用药情况进行监控和跟踪。
口服药发放流程的规范性和准确性对于患者的用药安全至关重要。
药房工作人员在进行口服药发放时,应严格按照规定的流程和标准操作程序进行,确保每一步都做到位、准确无误。
只有这样,才能保障患者用药的安全和有效性,提高患者的治疗效果,减少药物不良反应的发生,提高医疗质量,为患者提供更好的医疗服务。
绵阳市人民医院五官科口服药发放流程
操作前操作前洗手、戴
口罩办公护士核对药物和执行单,确认无误分别放入相应口服药框内
根据患者年龄、病情合理选择药物形状
操作后
协助生活不能自理的患
者用白开水服药
责任护士核对患者床号、姓名、药物名
称、剂量、用药时间及用法
操作中按规定时间推发药车
至床旁
在口服治
疗单上签
名
核对床号、姓名
再次核对药
物
讲解服药药物作用及注意事项
观察用药后效果和不
良反应,
如与执行单不一
致,立即退回药房
如患者未在,将药袋
放入患者外出未派口
服药盒内,并放置温
馨提示牌提醒患者取
药。
核对发药操作规程图:
1.接受处方
2.找到已配药篮
审查处方
1.检查查病人姓名、性别、年龄、科别、日期
2.检查药名、规格、用法用量、配伍禁忌、相互作用
3.检查处方限量、特殊管理药品是否符合规定等
5.检查医生签名、有无收费章
合格处方差错处方登记后退回修改
核对处方和药品
1.核对药名、规格
2.核对数量,特别是拆分、散装药品数量
3.检查药品是否变质、过期失效等
4.检查针剂和瓶装水剂是否破损、渗漏及异物
交代
1.用药方法(如给药时间、给药方法、剂量)
2.常见的、且应特别注意的副作用或不良反应
3.对同时使用非处方药品、食物、烟酒及生活方式的建议4.储存环境及效期、特别是须冰箱存放的药品
5.贵重药品须交代数量
6.针剂须交代“请拿好”,非院注者须交代“院外注射、后果自负”7.发药完毕向病人交代“您的多少种药齐了”
发药
呼唤姓名、核对发票后发药。
护理口服给药查对流程
1 / 1
口服给药服务流程
核对流程
审查医嘱 ( 第一次核对 )
打印或转抄治疗单 转抄至口服药本双人签
名 (第二次核对 )
摆药核对(双人核
对)
口服给药前核对
口服给药时核对 (两人床旁核对)
口服给药后核对
重点说明
由办公班审查电子医嘱无误署名。
办公班转抄至口服药本上,责任护士(护理班)再次核对病历医嘱、口服药本无误后在医嘱核对本上双人署名。
办公班取药后核对药物与医嘱能否一致,检查药质量量,剂量、名称能否切合(本病区不曾用过的药物取回说明书,认
识药物注意事项) ,依据处方在药物瓶签上写上床号,姓名用法,并将药物分装至服药橱相应格。
责任护士洗手、戴口罩再次核对药物、药物瓶签上床号,
姓名用法与处方医嘱能否一致, 检查药质量量, 剂量、名称能否切合, 依照口服药卡信息将口服药按晚、 中、早和饭前、饭时、饭后次序,按床号摆放到口服药车相应地点,放入服药杯内。
1 七对:对床号、姓名、药名、剂量、浓度、时间、用法。
2 对有疑问的药物作出标志,咨询清楚后才履行。
1、再次核对床号、姓名无误后推车至床旁给药。
2 如患者对口服药提出疑问时,应从头核查无误后履行。
3 病人不在时,将药物取回保存,做好换班.
4 发药时交待服药时间、用药注意事项,患者署名。
5 发药完成,在巡视卡上署名。
责任班护士每日需实时掌握所管床位病人用药状况, 准时
检查、实时咨询保证患者服药的正确实时性。
注意服药
后有无不良反响,实时报告医生办理。
整理用物
1 / 1。
一次性发放多次临时口服药物管理规范
1.严格执行各项规章制度及技术操作规程,并遵循发药到口的原则。
2.与医生沟通,尽量少开或不开整盒药品,如特殊情况,不得不开整盒或多盒药品时,护士过医嘱时,查看住院后所开的口服药(如已开有降压药硝苯地平片一瓶,未服完,又重开一瓶),是否有同类药品,以防医生在同一时间段内开同一种药物,如护士不注意查看,又指导患者重复服药造成药物过量等不良后果,从而危及患者生命或引起不必要的纠纷。
3.核对清楚后,校对医嘱,打印治疗卡,标注所服药物的起止时间,将服药卡放到口服药物治疗车上。
发送领药后,由药房工作人员将用法用量标注清楚,一种药物有多盒/瓶药时,每盒/瓶均要标注,并在药盒/瓶外标注序号,以防患者多服药物。
4.药房工作人员将口服药送至护士站,护理人员做好相关查对制度后,将药物发放于患者的抽屉内(降压药,退烧药等特殊药物应放于护士站的口服药车内,做好交接班,按要求发放药物到患者口中),将口服药物温馨提示卡挂于显眼处,并交代患者不能自行服药,到服药时间点,如护士在忙时未能及时到床边,请按呼叫器呼叫护士到床边指导服药,如为老年人、小儿、神志模糊、意识不清等特殊患者,护理人员必须协助患者服药到口后,方可离开。
5.科室责任护士注意查看所分管患者的治疗情况,有临时口服药时,要及时亲自指导督促患者按时服药。
护理部
2014年3月27日制定。
口服给药工作流程图
根据核对好的口服药单备药备药时核对床号、姓名、药名、剂量、浓度、
时间、用法、有效期,了解药物作用及副作用
给药前核对
准备用物、组织患者
逐一确认患者身份、给药、看服下肚再次核对药物与患者给药前由发药者核对备好的药物
一般情况组织患者主动排队服药,不合作者、需卧床者、
保护性约束者需床旁给药
给药前核对患者相貌与手腕带,严格按身份
确认流程确认患者身份后给药,不离视线看
患者服下药物后检查口腔、口杯、指缝等处,
对有催吐药物行为者服药后限制活动,严加
看护。
根据患者合作程度告知患者药物的作用、可能的
副作用及预防副作用的方法等,告知患者发现本
次药物与以往不同时及时向护士提出
观察药物疗效及副反应,宣教。
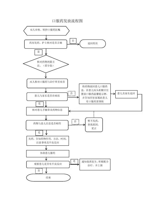
口服药发放核对环节流程图
治疗室
病
房
办公室
①责任护士根据口服药执行单准备好药物,注明剂量、用法、时间。
②第二人核对口服药执行单与药物、剂量、用法、时间准确无误后
签全名。
③药物正确有序放置。
操作前
操作中
操作后
①呼唤患者床号、姓名。
②口服药执行单、床头卡(或手腕带)的床号、姓名、住院号是否
一致。
③核对药物与口服药执行单准确无误(药名、剂量、用法、时间、
浓度、有效期)。
④反向询问患者床号、姓名。
①发药前确认执行单上的床号、姓名与实际患者一致。
②发药到手(儿童、年老或意识障碍者,精神类药物或其他特殊药
物发放给家属),必要时协助服药。
③向患者或家属解释药物剂量、用法、时间、作用及注意事项。
④护士与患者或家属确认无误后,双方在口服药执行单上签全名。
⑤如患者对口服药提出疑问时,应重新核查无误后执行。
⑥患者不在,暂不发药,床头放置醒目标识,做好交接班。
再次核对口服药执行单与实际病人床头卡(或手腕带)床号、姓
名、住院号是否一致。
①核对口服药执行单、剂量、用法、时间与医嘱准确无误。
②外出患者或因其他原因未发放药物者在病区黑板上记录交班。
③观察服药的效果与不良反应,必要时报告医生并记录。