信息发布流程图
- 格式:doc
- 大小:62.00 KB
- 文档页数:6
业务流程分析
通过对大学生职介管理活动的调查分析,弄清了职介管理工作的业务流程和管理功能,系统的业务流程如图所示。
从业务流程图上分析,系统主要具有以下几个管理功能:
(1)、雇主信息发布:雇主可以通过系统发布招聘信息及有关兼职的意见和建议。
(2)、学生求职信息发布:需要兼职的大学生通过系统发布求职信息,并且可以通过系统学习求职知识,接受必要的职前培训。
(3)、职介匹配:通过雇主发布的供职信息和学生的求职信息,按照招聘条件进行匹配,为学生提供相应的兼职信息。
(4)、信息统计发布:系统定期或不定期地发布热门兼职职位排名、职介成果简报、急聘信息等,为大学生求职、雇主招聘提供参考。
图职介系统业务流程图
第二层“匹配信息功能”数据流程图。
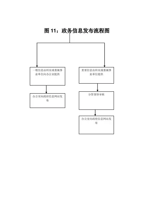
信息公开发布审核制度为加强我局信息安全管理,促进对外信息发布审核工作的制度化、规范化,保障信息发布的严肃性、及时性、准确性和权威性,依据国家有关法律、法规,结合我局实际,制定本制度。
一、信息发布的总体原则和内容发布内容遵循的总体原则:能准确、及时地反映本单位各项工作最新动态。
发布内容:1、我局制定的须对外公布的机构信息、规范性文件和工作文件信息、日常工作动态信息等;2、由我局主办或承办的各类活动;3、可共享的其他文件信息。
二、信息审核、发布流程(具体流程参考附件2)1、由信息制作部门填写《信息公开审批表》(附件1),逐项签字审批;2、签字后的《审批表》统一交至调研室,由调研室负责保存和信息对外报送;3、审批通过需在政府门户网站公开的信息,由信息中心负责公开发布。
三、信息审核、发布时间对需要审核的信息,原则上做到两个工作日内审核完毕,审核通过后一个工作日内对外发布,区委、区政府和上级主管部门安排的紧急约稿信息按照有关要求相应调整审批及报送时间。
四、信息安全要求1、信息发布严格遵守“涉密信息不上网,上网信息不涉密”的原则,层层把关,凡未经审核的信息严禁上网发布。
2、转载其他媒体新闻,应遵守有关规定,被转载的网站应是国家、省、市的政府网站,以此保证所转载信息的真实性、权威性。
3、依据《中华人民共和国保守国家秘密法》、《互联网信息服务管理办法》和《互联网电子公告服务管理规定》等有关保密的法律、法规,建立健全网站信息安全管理制度,坚决杜绝有害信息的扩散,严禁涉密信息上网,防止泄露国家秘密。
发布的信息不得含有下列内容:(1)违反宪法所确定的基本原则:(2)危害国家安全,泄露国家秘密,煽动颠覆国家政权,破坏国家统一;(3)损害国家的荣誉和利益;(4)煽动民族仇恨、民族歧视,破坏民族团结;(5)破坏国家宗教政策,宣扬邪教,宣扬封建迷信;(6)散布谣言,编造和传播假新闻,扰乱社会秩序,破坏社会稳定;(7)散布淫秽、色情、赌博、暴力、恐怖或者教唆犯罪;(8)侮辱或者诽谤他人,侵害他人合法权益;(9)法律、法规禁止的其他内容。
图12:农业系列职称评定流程图图13:参与研究制定有关农业和农村经济发展的财政、信贷和保险等政策流程图图14:市农委财务专项资金使用监督流程图图15-1:属事业单位内部审计流程图图15-2:市农委国有资产监管流程图图16:指导全市农业、畜牧、水产单位的财务会计和农牧渔场(站)财务管理工作流程图图17:农村土地承包管理及指导承包纠纷调解仲裁及农村土地流转流程图图18:农民负担监督管理及“一事一议”筹资筹劳流程图图19:指导农村集体财务管理及“三资”委托代理流程图图20:指导、扶持、服务农民专业合作社发展流程图图21:组织农村经济收益分配及农民收入监测统计流程图图22:农村土地流转规模经营奖补资金兑现流程图图23:农业规范性文件审查备案流程图图24:农业行政执法监督检查流程图自接到投诉,举报之日起30日内告知核查结果图25:指导农业行政执法体系及队伍建设流程图图28:农资质量安全监管工作流程图图29:安全生产监督检查工作执法流程图-→-→-→-→-→图30:研究提出农业农村经济发展中长期规划和年度发展计划流程图↓↓↓↓↓↓↓↓图31:农业基本建设项目的申报和管理流程图↓↓↓↓↓↓↓↓图32:创建现代农业示范区流程图↓↓↓↓↓↓↓图33:农业区划工作流程图↓↓↓↓图34:农业农村经济运行形势分析流程图↓↓↓↓图35:市新农村建设指导与协议流程图↑ 工作汇报 ↑↓ 指导协调↓图36:省财政支持新农村建设专项补助资金项目监督检查流程图↓↓↓↓图37:拟定农业产业化经营和特色农产品开发规划及政策措施流程图↓↓↓↓↓图38:农业产业化市级重点龙头企业认定工作流程图↓↓↓↓↓图39:名牌农产品推荐、申报、管理工作流程图↓↓↓图40:农业产业化和特色农产品项目管理流程图↓↓↓↓图41:农业对外经济技术交流与合作相关工作流程图↓↓↓↓图42:农业招商引资管理工作流程图↓↓图43 :参与拟定大宗农产品市场体系建设规划并监督实施流程图图44:参与研究制定有关农产品和农业生产资料价格政策流程图图45:农业基点统计流程图图46:制定蔬菜产业发展政策流程图图47:组织编制全市蔬菜产业中长期发展规划流程图图50:参与拟订农业各产业的地方性技术标准及产品质量标准流程图图51:监测报送农产品质量安全信息流程图图52:协调农业投入品质量监管流程图图48:开展蔬菜“三新”技术(新品种、新技术、新材料)的研究、引进与示范推广流程图—46 —图49:为蔬菜生产者提供物资、技术、信息、咨询服务参与全市蔬菜技术培训工作流程图—47 —图53:农业转基因生物生产加工监督管理流程图—48 —图54:农业科技成果管理流程图—49 —图55:农业科技术培训和农业技术推广流程图—50 —。
信息沟通管理制度一、信息沟通制度(一)制定制度的目的为了加强各个部门的信息沟通工作,及时、准确的完成信息传递,以确保信息沟通的通畅。
(二)信息管理的原则1.及时性(1)信息管理人员应适时地记录、收集出现的各种信息。
(2)信息管理人员要以最快的速度将信息加工并传递给有关部门。
2.真实性信息管理人员在收集过程中必须保证信息的真实性和可靠性,在加工过程中必须防止和减少各种干扰,保证信息不失真。
3.适用性信息的处理必须适合项目管理的需要,便于利用。
(1)收集阶段。
信息必须完整。
(2)加工阶段。
必须根据管理的需要进行分类整理,以便于传输和利用。
(3)传输阶段。
必须本着项目的要求和情况,选择相应的高效的媒介手段。
(4)存贮方面。
应对信息进行分类、登记、编码等工作,使档案能便于今后的查询和利用。
4.经济信息的处理必须考虑经济和社会效益(1)要求以最低的费用获得更多的信息。
(2)要求以最低的费用获得更有价值和有效的信息。
(三)信息收集的原则1.信息源开发要广。
要从全面联系来认识事物,在信息收集上,就必须广辟信息来源。
2.信息流行的分析要加强。
信息流向反映事物的发展变化,应对信息作科学分析,从中抓住内在的必然联系。
要把握住信息流向,及时收集信息。
对重大信息变动,应早做准备,具备主动性。
3.信息量值的区分要准确。
应将量值大的信息作为收集的重点。
4.信息收集的主动性要增强。
收集者应主动、自觉,培养积极主动精神和一丝不苟的作风。
(四)信息收集的具体流程1.制定计划。
信息收集之前,根据所需信息的内容、范围和时限作出明确安排步骤,并在数量、时间、作用、种类上加以具体限定;2.信息收集。
信息管理人员必须根据意义、作用、时限、流速和需要,有选择性地收集信息;3.信息识别。
针对收集的信息,选取真实的、有用的、关键的信息,减少信息处理工作;4.信息检验。
对信息进行严格的正确性检查,防止信息尤其是数据有差错、重复和遗漏。
■■内部信息的收集内\外部信息收集流程公司内部信息: 公司基本背景信息,公司服务对象,具体项目情况,每月经营业绩汇总表,预算执行情况分析表,季度财务报表,公司年报,客户的财务信息,各部门信息简报和信息专题分析报告,特别的战略研究报告 原始信息汇总每季对原始信息进行质量评估,将评估表反馈给收集部门原始信息收集评估表根据评估表意见重新收集信息并改进收集方法通过上网查询、调查访谈以及特殊渠道收集客户的基本情况,财务状况等原始信息 必要时抄送相关部门,听取反馈意见对汇总表提出反馈意见,送投融资信息部提出指导性建议并研究信息对战略发展的影响经筛选提炼资料汇总表各部门收集整理确问题填写反馈报告交管理者代表审核制度处理与解决方案三、内部信息的处理(一)正常信息的处理:各部门根据相关文件的规定直接收集并传递日常正常信息(如工作计划、业务方案、通知公告、法律法规、规章制度、工作方针及完成情况、跟踪和监控记录、内部审核与管理报告以及公司正常运行时的其它记录等)。
信息系统需求分析流程图信息系统需求分析是信息系统开发过程中非常重要的一步,它的目标是明确用户需求,为开发团队提供明确的方向和目标。
本文将介绍信息系统需求分析的流程图,并详细解析每个步骤。
流程图一:用户需求获取用户需求获取是信息系统需求分析的第一步,它的目标是与用户进行有效的沟通,准确地了解用户的需求。
具体步骤如下:1. 确定需求获取的方式:可以通过面对面的访谈、问卷调查、观察等方式获取用户需求。
根据具体情况选择适合的方式。
2. 进行需求访谈:与用户面对面进行访谈,主要目的是获取用户的工作流程、业务需求等信息。
3. 设计问卷调查:设计合适的问卷,并向用户发放,收集用户对信息系统的期望和需求。
4. 观察用户操作:通过观察用户的工作过程和操作习惯,获取对信息系统的需求。
流程图二:需求分析与整理需求分析与整理是在获取用户需求后,对所有的需求进行梳理和整理,确保所有的需求都被记录下来并准确地理解。
具体步骤如下:1. 收集需求:将上一步中获取到的用户需求记录下来,包括文字描述、功能需求、性能需求等。
2. 需求分类:对收集到的需求进行分类,分为基本需求、附加需求、优先需求等。
3. 需求整理:整理需求,去除冗余和重复的需求,确保需求的准确性和完整性。
4. 验证需求:和用户进行反馈,确认整理后的需求是否准确地反映了用户的期望和需求。
流程图三:需求分析与建模需求分析与建模是在需求整理后,将需求进一步具体化、明确化,为系统设计提供依据。
具体步骤如下:1. 需求细化:将整理后的需求进行细化,明确每个需求的具体内容和表达方式,以便于后续的系统设计。
2. 数据建模:根据需求,进行数据建模,包括实体-关系模型、数据流图等,明确系统中的数据流动和关系。
3. 功能建模:根据需求,进行功能建模,明确系统的各个功能模块和功能之间的关系。
4. 接口建模:根据需求,进行接口建模,明确系统与外部系统之间的接口需求和交互方式。
流程图四:需求确认与评审需求确认与评审是在需求建模后,与用户进行沟通和确认,确保需求的准确性和完整性。
**公司微信公众平台信息发布制度一、目的为规范河北诚信有限责任公司微信公众号的信息发布,保证公司对外发布信息的一致性,明确微信公众平台管理人员职责,提高工作效率和工作质量,特制订此制度。
二、管理职责管理员:负责微信公众平台的日常运营;负责定期将公司发生的事件或需要通过微信发布的信息进行拟稿、编辑、发布;收集整理微信用户提出的问题、建议并上报到相关部门负责人。
部门主管:负责对供稿员提交的稿件进行审核;回复管理员对微信平台建设的意见及建议。
三、撰写要求1、内容必须合法、合规、有利于提高公司知名度,符合《微信公众平台群发规则说明》要求。
2、对于消息发布的格式、图片、视频等予以统一标题:简明扼要,准确传达出消息主题内容。
标题长度不超出20个字;标题分为三级标题,一级标题29号,二级标题19号,三级标题17号;在标题前加上文章分类,如:【企业动态】、【安全show】、【企业课堂】、【快乐驿站】等。
文字:稿件内容真实准确,在保持言简意赅的同时注重提高文字的可读性。
为保持微信发布内容字体一致,文字内容统一使用宋体16号。
图片:要求能准确反映主题,图片清晰,可以有简单的文字说明。
图文消息必须提供一张尺寸为900像素 * 600像素的封面图,其余文章中的图片大小要小于2M。
视频:文章中若需加入视频内容,管理员须把视频上传至腾讯视频()并把视频的链接地址填写在正文当中。
四、发布时效一个星期内需发布至少2篇文章,每天15:00前通过审核的稿件当天发布,15:00后通过审核的稿件下一个工作日发布。
附件:1、微信公众账号信息发布申请表2、微信信息发布流程图微信公众号信息发布申请表微信信息发布流程图:月、年终统计。
软件版本发布流程目录1、目的.........................................2、范围.........................................3、涉及的干系人.................................3.1项目经理(PM,ProjectManager)...........3.2配置管理员(CMO,ConfigurationManagementOfficer)............................................3.3测试人员(TP)...........................4、版本发布流程.................................4.1版本发布流程图...........................4.2版本发布流程描述.........................5、涉及的表单和模板...............................1、目的为了确保测试人员的版本和开发人员发布的版本一致,不会出现版本混乱,保证测试代码版本的稳定性,以及开发代码版本的可控性,使基线库完全的受控起来。
通过版本发布、基线发布报告等规程来保证软件生命过程中所有产品的完整性、一致性、可追溯性,同时也保证测试人员的工作效率。
若是要变更必须走变更流程。
2、范围适用于整个高铁事业部纳入配置管理中的所有项目。
3、涉及的干系人3.1项目经理(PM,ProjectManager)项目经理是整个信息系统开发和维护活动的负责人,他批准配置管理的各项活动并控制他们的进程。
具体职责如下:1)在项目将要进行编码阶段,就要使用SVN库,根据代码包含的模块在src和release下建立相应的文件夹,已明确区分,并每天要督促项目开发人员从SVN上上传和下载代码,并对每个重要的代码上传进行标注。
网站信息发布制度
一、目的:
在省公司及增值中心信息安全领导小组的领导下,建立完善的自营网站信息发布业务流程,规范信息发布过程,杜绝信息安全事故。
二、信息发布管理架构:
自营网站信息维护采用总编负责制。
每个网站都设立一个总编责任人、一个频道设立一个主编和若干个编辑责任人,所有网站共设一名信息质检员。
一个频道在制作完成发布之前,应制订频道维护规范,明确频道的维护流程如内容范围、更新频次等。
三、职责分工:
(一)、总编职责:
1.把握正确的政治、社会舆论导向,负责网站的总体策划、改版、调整,
确保网站在合法的范围内运作;
2.审查各频道的设置,检查各频道的内容,保证与网站宗旨的一致性;
3.负责网络活动的整体策划,并进行相应控制;
4.负责对所属团队的建设、管理。
5.与其他部门合理分工协调合作。
6.决定网站首页链接和友情链接的站点。
(二)、频道主编职责:
1.每频道设频道主编一名;
2.接受总编的督查,对总编负责并可在总编授权范围内,对外开展联络
事项;
3.负责本频道各栏目的策划、调整、制作、维护,对相关的频道承担内容
审查责任;
4.负责组成频道编辑组,推荐栏目主持人并经总编确认后聘任;
5.对本专栏的内容保证与网站的宗旨保持一致;
6.决定本频道的合作伙伴和友情链接,并报总编批准;
(三)、频道编辑职责:
1.每频道设频道编辑若干名;
2.协助频道主编进行本频道各栏目的策划、调整、制作、维护;
3.负责本频道栏目的资料收集,页面制作,日常更新工作;
4.保证本人主持的频道按照频道的维护规范进行更新。
5.根据信息源合作协议,对SP/CP提供的内容执行审核、(日常更新)
发布、复审、撤销等工作。
(四)、信息质检员职责:
1.设信息质检员一名;
2.每周对湖北互联星空、VOD、信息港、网络广告的内容进行检查;
3.每月将检查结果汇总并通报;
4.对有内容不符合要求的网站责令其改正。
四、湖北互联星空各频道发布流程。
(一)、新闻、免费推荐、音乐推荐、星空家园、教育推荐。
(二)、影视推荐、排行榜。
(三)、今天信息、时尚推荐、旅游推荐、淘乐推荐、江城搜店。
(四)、广告。