土地现状分类和土地规划分类
- 格式:doc
- 大小:19.36 KB
- 文档页数:3
土地利用现状分类土地,是我们生活的基础,是人类生存和发展的重要依托。
而土地利用现状分类,则是对土地使用情况进行科学划分和归类的一种方式,它对于合理规划土地资源、保障土地的可持续利用以及促进经济社会的发展都具有极其重要的意义。
在我们的日常生活中,土地被用于各种各样的目的。
有的土地被开垦为农田,种植着各种农作物,为我们提供丰富的粮食和农产品;有的土地上矗立着高楼大厦,成为商业中心或居民住宅区;还有的土地被规划为公园、绿地,为人们提供休闲和娱乐的场所。
为了更好地管理和规划这些土地,我们需要对土地利用现状进行分类。
目前,常见的土地利用现状分类主要包括三大类:农用地、建设用地和未利用地。
农用地,顾名思义,是直接用于农业生产的土地。
这包括耕地、园地、林地、草地以及其他用于农业生产的土地。
耕地是农用地中最为重要的部分,它是种植粮食作物、经济作物等的土地。
我国作为一个人口众多的国家,保障耕地的数量和质量对于粮食安全至关重要。
园地则主要用于种植果树、茶树等经济作物。
林地是生长乔木、竹类、灌木等树木的土地,对于维持生态平衡、保护生物多样性以及提供木材资源等方面发挥着重要作用。
草地则是畜牧业发展的基础,为牛羊等牲畜提供了充足的饲料。
建设用地则是用于建造建筑物、构筑物的土地。
这包括城乡住宅和公共设施用地、工矿用地、交通水利设施用地、旅游用地、军事设施用地等。
城市中的高楼大厦、商业街区、学校、医院等都建设在建设用地上。
随着城市化进程的加快,建设用地的需求不断增加。
合理规划建设用地,提高土地利用效率,避免浪费和盲目扩张,是城市发展中需要重点关注的问题。
未利用地是指目前尚未被利用的土地,如荒草地、盐碱地、沙地、裸土地等。
这些土地虽然暂时没有被开发利用,但在未来的发展中,有可能通过改良和开发,转化为农用地或建设用地。
土地利用现状分类的工作并非一蹴而就,它需要通过详细的调查和测绘来完成。
相关部门的工作人员会深入实地,对每一块土地的使用情况进行记录和分析。
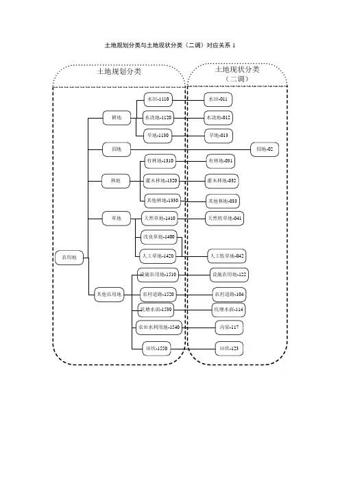
土地规划用途分类与土地利用现状分类对应关系土地规划用途分类与土地利用现状分类是在国土空间规划和土地利用管理中常用的两种分类方法。
两者之间存在一定的对应关系,但也存在差异。
本文将从定义、分类方法、对应关系等方面进行展开,详细介绍土地规划用途分类与土地利用现状分类的关系。
一、土地规划用途分类二、土地利用现状分类土地利用现状分类是了解土地利用现状、指导土地利用管理和监测的重要工具,对制定土地利用政策、保护农田、合理规划城市用地等具有重要意义。
三、土地规划用途分类与土地利用现状分类的对应关系土地规划用途分类和土地利用现状分类有一定的对应关系,即土地规划用途分类所划分的用地类型,在土地利用现状分类中有相应的对应类别。
例如,土地规划用途分类中的农业用地对应土地利用现状分类中的耕地类别,建设用地对应土地利用现状分类中的建设用地类别,交通运输用地对应土地利用现状分类中的交通运输用地类别,水域及水利设施用地对应土地利用现状分类中的水域及水利设施用地类别等。
这种对应关系可以帮助进行土地利用现状的监测与评估,为土地规划提供数据支持。
同时,土地规划用途分类和土地利用现状分类之间也存在一定的差异。
土地规划用途分类更强调土地用途的功能特点和社会经济发展需要,反映土地利用规划的要求;而土地利用现状分类则更注重土地实际利用情况和功能类型的划分,反映土地利用现状的特点。
因此,在实际应用中,两者的分类结果可能会有一定的差异。
总之,土地规划用途分类和土地利用现状分类是国土空间规划和土地利用管理中常用的两种分类方法。
两者之间存在一定的对应关系,可以相互补充,提供全面的土地利用信息。
同时,需要根据具体情况和需求,选取合适的分类方法,结合两者的结果进行综合分析和应用。
土地规划分类标准2024土地规划分类标准2024土地规划是指对土地资源进行统筹、合理利用和综合开发的活动和过程。
为了有效管理土地资源,实现可持续发展,各国都制定了相应的土地规划分类标准。
下面将介绍2024年常见的土地规划分类标准。
一、按用途划分1.城市建设用地规划城市建设用地规划是指通过规划手段,对城市土地进行合理规划,划定不同功能用地的范围,如住宅用地、商业用地、工业用地、公用设施用地等。
目的是为了促进城市发展,提高土地利用效率,改善城市居民生活条件。
2.农村建设用地规划农村建设用地规划是指对农村土地进行规划,划定农田、农村居民点和农村公共设施用地的范围。
主要目的是合理安排农村土地资源,推动农村发展,提高农业生产效益和农民生活水平。
3.生态用地规划生态用地规划是指对自然保护区、森林、湿地等生态环境敏感区域进行规划,划定保护用地、重点保护区、生态修复区等。
目的是保护生态环境,维护生物多样性,维持生态平衡。
4.旅游用地规划旅游用地规划是指对旅游资源进行合理规划,划定旅游景区用地、旅游服务设施用地等。
主要目的是开发和利用旅游资源,促进旅游业发展,推动地方经济增长。
二、按管理主体划分1.国家级土地规划国家级土地规划是指中央政府对国家土地资源进行规划,统筹安排国家重点工程项目用地、国家战略性发展用地等。
主要目的是合理调控土地资源,推动国家经济发展。
2.省级土地规划省级土地规划是指省级政府对本省土地资源进行规划,划定省内各类用地范围和空间布局。
主要目的是在国家土地规划的框架下,适应本省经济和社会发展需要。
3.市级土地规划市级土地规划是指市级政府对本市土地资源进行规划,划定城市用地范围、功能分区和详细规划等。
主要目的是统一城市用地管理,促进城市可持续发展。
4.县级土地规划县级土地规划是指县级政府对本县土地资源进行规划,制定县域内各类用地规划和空间布局。
主要目的是合理安排县域土地资源,推动县域经济发展。
三、按技术要求划分1.总体规划总体规划是指对较大范围土地资源进行规划,制定长远的发展目标和战略性规划。
土地利用现状分类与城乡规划用地分类对应表
一、基本原则
(一)依据《土地利用现状分类(GB/T 21010-2017)》,对应表中土地利用现状分类包括一级编码、二级编码、类别名称、含义四部分。
(二)依据《城乡规划用地分类标准(68 50137-2011)》,对应表中城乡规划用地分类包括类别代码、类别名称和范围三部分。
(三)使用本对应表时,应根据工作性质、工作内容及工作深度的不同要求对具体对应关系进行判断。
(四)本表对所有参与对应的国家、地方及行业标准中的用地分类、用地名称、用地编码、用地含义及其他相关内容不进行修改,只进行对应工作。
二、土地利用现状分类与城乡规划用地分类对应表
土地利用现状分类和编码城乡规划用地分类和代号
土地利用现状分类和编码城乡规划用地分类和代号。
土地利用现状分类土地是人类生存和发展的重要资源,土地利用现状分类是对土地利用情况进行系统、全面的分类和描述。
根据各地的自然条件和社会经济发展水平的不同,土地利用状况存在差异。
本文将对土地利用现状进行分类,并进行详细的描述。
第一类:农田利用农田是农业生产的基础,目前我国农田利用面积较大。
其中,粮食作物种植占据了大部分农田利用面积,如水稻、小麦、玉米等。
此外,还有蔬菜、果树、茶叶、烟草等经济作物的种植。
随着农业现代化的推进,农田利用方式也发生了变化,传统的手工耕种逐渐转变为机械化生产,以提高农田利用效益和农业生产水平。
第二类:林地利用林地是维持生态平衡、保护环境和促进经济发展的重要资源。
我国森林资源丰富,林地利用主要包括经济林、防护林、公益林等。
经济林主要用于木材、竹材、果木的种植和采伐;防护林主要用于水土保持、防风固沙等功能;公益林主要用于旅游观光、环境保护等。
林地利用的合理规划和管理,对于保护生态环境和实现可持续发展具有重要意义。
第三类:城市建设用地利用城市建设用地利用是城市发展的基础。
随着城市化进程的加快,城市建设用地面积不断扩大。
城市建设用地主要包括居住、交通、商业、教育、文化等各类城市设施和配套设施的建设。
城市建设用地利用需要合理规划,以适应城市人口增长和城市功能的改变。
在城市建设用地利用方面,还需要注意环保、节能、低碳的理念,以推动城市可持续发展。
第四类:工业用地利用工业用地是工业生产和经济发展的重要支撑。
工业用地利用主要用于工厂、矿山、码头、仓库等工业设施的建设。
工业用地的规划和利用需要兼顾环境保护和资源利用的问题,以避免对周边环境造成污染和破坏。
第五类:旅游用地利用旅游用地是旅游业发展的重要保障。
我国自然风光和人文景观资源丰富,吸引了大量游客。
旅游用地利用主要包括旅游景区、度假村、温泉、民宿等设施的建设。
旅游用地规划和利用需要注重保护自然环境、传承文化遗产、提升服务质量,以促进旅游业的可持续发展。
第三次全国土地调查土地分类
第三次全国土地调查是一项全国性的重大调查项目,旨在对全国土地资源进行全面、系统的分类、评估和分析,从而收集和提供相关土地利用方面的数据和信息,为国家土地管理和规划提供科学依据。
以下是第三次全国土地调查中土地分类相关的参考内容:
1. 土地利用类型分类:将土地按其主要利用功能划分为耕地、林地、草地、水域、不适宜建设的土地和建设用地等不同类型。
其中,耕地是指用于种植农作物、细菌状物和农业生产的土地,林地是指用于森林木材生产、防风、保土、水源涵养和环境保护的土地,草地是指用于牧草生产和畜牧业的土地等。
2. 土地利用现状分类:对土地进行原始的、直接的、实地的调查,将各类土地分别按照现状进行识别和分类,包括未利用土地、荒漠化土地、退化土地、建设用地、耕地等等。
3. 土地资本分类:根据土地的物质状态、时代和社会功能等因素,将土地资本划分为农业土地、工业土地、交通用地、商业用地、住宅用地、公共服务用地等不同类型,以便科学调查和统计土地资源的使用情况,提供科学的土地规划和土地管理依据。
4. 筑地分类与利用:根据各类土地的地形、地貌、土壤等条件和用途,将土地可利用程度、可建设性、利用价值等方面进行划分和评估,以便进行分类调查和土地资本开发,从而使土地资源得到更加科学的利用和管理。
5. 土地利用强度分类:根据不同土地类型的土地利用、开发、保护等活动强度,将土地划分为高强度利用区、中等强度利用区、低强度利用区等不同类型,以统计和研究土地利用状况,为相关决策提供科学基础。
以上是第三次全国土地调查中土地分类相关参考内容,通过对这些内容的了解,可以更好地理解和应用相关土地分类的概念和方法。
土地规划用途分类与土地利用现状分类土地规划用途分类是按照国家法律和规章制度对土地进行分区划定,并依据土地的自然、经济、社会等特征进行分类,为土地的合理利用和管理提供依据。
而土地利用现状分类是对已利用土地的功能和利用方式进行分类,反映土地利用的实际情况,为土地的管理和决策提供参考。
1.城市建设用地:主要包括住宅用地、商业用地、工业用地、公共服务设施用地等。
根据城市规模和土地发展情况的不同,城市建设用地可进一步划分为不同细分用途的区域。
2.农业用地:主要包括粮食生产用地、经济作物生产用地、林业用地、畜牧业用地等,根据农作物的种类和特征,可进一步划分为种植业、养殖业、林业等细分用途。
3.林地及草地:包括森林、灌木丛、草原等自然生态系统的保护与管理用地。
根据植被类型和生态功能的不同,可进一步划分为天然保护区、风景名胜区等。
4.水域及湿地:包括河流、湖泊、水库、沿海海域及沼泽、河口湿地等,主要用于水资源的调配、水域生态系统的保护和利用。
5.交通运输用地:包括公路、铁路、水运、航空等交通运输设施的用地。
主要用于交通运输的通道建设,以及相关的设施和支持用地。
6.其他用地:包括旅游风景区、垃圾填埋场、污水处理设施等非常规用地,根据具体情况进行分类。
而土地利用现状分类则是反映土地目前的实际利用情况,常见的分类包括:1.居住用地及相关设施:包括住宅区、公寓楼、宿舍、学校、医院等用地。
2.商业及服务业用地:包括商业综合体、超市、饭店、办公楼、娱乐场所等用地。
3.工业用地:包括工厂、厂房、仓库、物流中心等用地。
4.农业用地:包括农田、果园、蔬菜基地等用地。
5.林地及草地:包括国有林地、林场、牧场等用地。
6.交通运输用地:包括公路、铁路、机场、港口等交通设施的用地。
7.自然保护用地:包括自然保护区、风景名胜区等用地。
8.水域及湿地:包括河流、湖泊、水库、海洋等水域。
根据土地规划用途分类与土地利用现状分类的差异,可以对土地的开发利用进行评估,发现土地利用中的不合理之处,并为土地利用的改进和优化提供理论与实践依据。
最新三调土地利用现状分类和三大地类对应本文介绍了土地利用现状分类和三大地类对应的表格。
其中,一级类包括耕地、园地和林地。
耕地指种植农作物的土地,包括熟地、新开发、复垦、整理地、休闲地和已垦滩地和海涂。
园地包括果园、茶园、橡胶园和其他园地,指种植果树、茶树、橡胶树、桑树、可可、咖啡、油棕、胡椒、药材等多年生作物的土地。
林地包括乔木林地、竹林地、红树林地、森林沼泽、灌木林地、灌丛沼泽和其他林地。
其中,农用地是三大地类之一,包括耕地、园地和草地。
本文提供了有用的信息,供研究和交流使用。
如有侵权,请联系网站删除。
天然牧草地指以草本植物为主的土地,用于放牧或割草。
其中包括实施禁牧措施的草地,但不包括沼泽草地。
沼泽草地指以草本植物为主的沼泽化的低地草甸和高寒草甸。
人工牧草地指人工种植牧草的草地。
其他草地指树木郁闭度小于0.1且表层为土质的草地,不用于放牧。
零售商业用地指主要用于零售功能的商铺、商场、超市、市场、加油加气充换电站等用地。
批发市场用地指主要用于批发功能的市场用地。
餐饮用地指饭店、餐厅、酒吧等用地。
旅馆用地指宾馆、旅馆、招待所、服务型公寓、度假村等用地。
商务金融用地指商务服务用地,包括写字楼、商业性商服办公场所、金融活动场所和企业厂区外独立的办公场所;信息网络服务、信息技术服务、电子商务服务、广告传媒等用地。
农用地指用于农业生产的土地。
未利用地指没有被开发利用的土地。
建设用地指用于新建建筑物或进行土地开发的土地。
娱乐用地指剧院、音乐厅、电影院、歌舞厅、网吧、影视城、仿古城以及绿地率达到65%的大型游乐等设施用地。
其他商服用地指零售商业、批发市场、餐饮、旅馆、商务金融、娱乐用地以外的其他商业、服务业用地,包括洗车场、洗染店、照相馆、理发美容店、洗浴场所、赛马场、高尔夫球场、废旧物资回收站、机动车、电子产品和日用品修理网点、物流营业网点,以及居住小区及小区级以下的配套服务设施等用地。
工业用地指主要用于工业生产、物资存放场所的土地。