《自动控制统计算机仿真》习题参考答案
- 格式:doc
- 大小:453.00 KB
- 文档页数:11
《控制系统数字仿真》练习题及答案1. 单选题1. 某系统的函数关系式为y=1/(x3-2x+4),绘制x在0至10之间变化的图形,正确的是()。
A. fplot('1/(x*3-2*x+4)',[0 10])B. fplot('1/(x.^3-2*x+4)',[0 10])C. plot('1/(x.^3-2*x+4)',[0 10])D. plot('1/(x*3-2*x+4)',[0 10])正确答案:B2. 绘制系统零极点图的命令是()。
A. stepB. pzmapC. rlocusD. sgrid正确答案:B3. 将系统零极点形式变换为传递函数形式的命令是()。
A. tf2zpB. ss2tfC. ss2zpD. zp2tf正确答案:D4. AUTOCAD的坐标体系,包括世界坐标和()坐标系。
A. 绝对坐标B. 平面坐标C. 相对坐标D. 用户坐标正确答案:D5. 在MATLAB工作空间中,表示圆周率的特殊变量是()。
A. piB. ansC. iD. eps正确答案:A6. 下列哪条指令是求矩阵的行列式的值()。
A. invB. diagC. detD. eig正确答案:C7. 在CAD网络系统中,以下说法不正确的是()。
A. 设计资料可以共享B. 硬件可以共享C. 电脑文件可以共享D. 可以方便管理设计进度正确答案:C8. i=2; a=2i;b=2*i;c=2*sqrt(-1);程序执行后;a, b, c的值分别是()。
A. a=4,b=4,c=2.0000iB. a=4,b=2.0000i, c=2.0000iC. a=2.0000i, b=4,c=2.0000iD. a=2.0000i,b=2.0000i,c=2.0000i正确答案:C9. 在循环结构中跳出循环,执行循环后面代码的命令为()。
A. returnB. breakC. continueD. keyboard正确答案:B10. figure命令的作用是()。
控制系统计算机仿真(电子工业出版社蒋珉)参考答案说明:1.对于可以用文字或数字给出的情况,直接给出参考答案。
2.对于难以用文字或数字给出的情况,将提供MATLAB程序或Simulink模型。
目录:第 1 章绪论第 2 章连续系统数字仿真的基本算法第 3 章采样控制系统的数字仿真第 4 章控制系统优化设计与仿真第 5 章控制系统仿真建模第 6 章仿真的工程应用实例第 1 章绪论1.1 系统是被研究的对象,模型是对系统的描述,仿真是通过模型研究系统的一种工具或手段。
1.2 数学仿真的基本工具是数字计算机,因此也称为计算机仿真或数字仿真。
将数学模型通过一定的方式转变成能在计算机上实现和运行的数学模型,称之为仿真模型。
1.3 因为仿真是在模型上做试验,是一种广义的试验。
因此,仿真基本上是一种通过试验来研究系统的综合试验技术,具有一般试验的性质。
而进行试验研究通常是需要进行试验设计。
1.4 解析法又称为分析法,它是应用数学推导、演绎去求解数学模型的方法。
仿真法是通过在模型上进行一系列试验来研究问题的方法。
利用解析法求解模型可以得出对问题的一般性答案,而仿真法的每一次运行则只能给出在特定条件下的数值解。
,解析法常常是围绕着使问题易于求解,而不是使研究方法更适合于问题,常常因为存在诸多困难而不能适用。
从原则上讲,仿真法对系统数学模型的形式及复杂程度没有限制,是广泛适用的,但当模型的复杂程度增大时,试验次数就会迅速增加,从而影响使用效率。
1.5 仿真可以应用于系统分析、系统设计、理论验证和训练仿真器等方面。
1.6[]x xx21 01 000 1720 8=⎥⎥⎥⎦⎤⎢⎢⎢⎣⎡+⎥⎥⎥⎦⎤⎢⎢⎢⎣⎡---= y u注:本题答案是用MA TLAB中tf2ss()函数给出的,是所谓“第二能控标准型”(下同)。
1.7[]xx x 310001010001133=⎥⎥⎥⎦⎤⎢⎢⎢⎣⎡+⎥⎥⎥⎦⎤⎢⎢⎢⎣⎡---=y u 1.8 25433)(232+++++=s s s s s s G 1.9[])(264.0368.00)()(001)(010*******.0368.1)1(k k y k u k k x x x =⎥⎥⎥⎦⎤⎢⎢⎢⎣⎡+⎥⎥⎥⎦⎤⎢⎢⎢⎣⎡-=+ 1.10 仿真模型见praxis1_10_1.mdl ;MA TLAB 程序见praxis1_10_2.m 。
1控制系统计算机仿真试题一、 填空题(每空1分,共20分)1、在自动控制中,常见的数学模型可以分为( )模型、( )模型和( )模型三大类。
2、常用的基本算法可以分为( )、( )和( )三大类。
3、实时数字仿真通常是指把一个( )嵌入到一个具有实物模型的实际系统或仿真系统的运行过程中,这就要求仿真模型的时间比例尺必须完全等于原始模型的时间比例尺。
4、采样控制系统是用( )或( )作为系统的控制器,对连续的被控对象进行控制的一种动态系统。
5、在数学上,解决参数优化问题的途径一般有两条,即( )和( ),并且可以按照一定的评判标准对优化方法进行评价。
6、控制系统参数优化设计中的目标函数一般可以分为两大类,( )目标函数和( )目标函数。
7、数学建模方法大致分为( )建模法、( )建模法和()建模法。
8、在系统辨识中,()是一种基本的参数估计方法。
9、在衡量作为随机变量的参数估计量的优劣时,通常基于( )、( )和( )三个要求。
二、判断题(每题1分,共10分)1、相邻两个离散时间点的间距h=t k+1-t k 称为计算步长或计算步距。
( )2、欧拉法是一种最简单的数值积分算法,由于其精度高,所以在实际中广泛使用。
( )3、多步法与单步法相比,要达到相同的精度,计算工作量要少得多。
( )4、采样控制系统是既有连续信号又有离散信号的混合系统,系统按采样周期T 重复工作,只有在采样时刻,数字控制器才有输出,完成一次控制作用。
( )5、为了克服梯度计算的困难,人们提出了一些不用计算梯度的优化方法,目前应用得较为广泛的是差分方程法。
( )6、在仿真寻优中,选择不同的参照对象会得到不同的目标函数。
( )7、模型与真实世界之间最重要的关系就是抽象和映射。
映射是建模的基础。
( )8、最小二乘法是一种经典的、有效的数据处理方法。
( )9、倒立摆系统是一种常见的运用反馈原理来控制一个开环不稳定系统的试验装置。
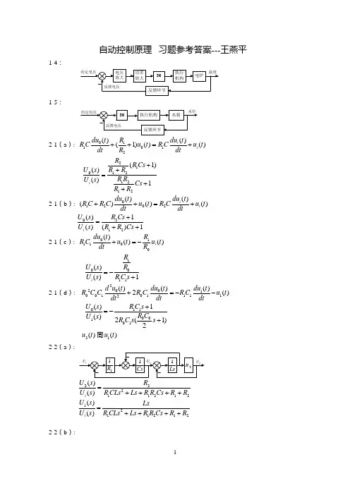
自动控制原理 习题参考答案---王燕平1-4:1-5:2-1(a ): 011012()()(1)()()i i du t du t RR Cu t R C u t dt R dt++=+ 210121212(1)()()1i R R Cs U s R R R R U s Cs R R ++=++2-1(b ): 01202()()()()()i i du t du t R C R C u t R C u t dt dt++=+0212()1()()1i U s R Cs U s R R Cs +=++ 2-1(c ): 011100()()()i du t RR C u t u t dt R +=-10011()()1i R U s R U s R C s =-+ 2-1(d ): 22001001011112()()()2()d u t du t du t R C C R C R C u t dt dt dt+=-- 01100101()1()2(1)2U s R C s R C U s R C s s +=-+2()u t 同1()u t2-2(a ):22211212()()i U s R U s R CLs Ls R R Cs R R =++++1211212()()i U s Ls U s R CLs Ls R R Cs R R =++++2-2(b ):221122112212()1()1i U s U s R C R C s R C s R C s R C s =++++ 12221122112212()()1i U s R C sU s R C R C s R C s R C s R C s =++++2-3:1232151234()()m r m m m K K K K L s U s T s s K K K s K K K K K =+++2-4(a ):123421232121()()()()()()1()()()()()()()()G s G s G s C s G s R s G s H s G s G s H s G s G s H s =++++2-4(b ):1223()()()()1()()G s G s C s R s G s G s -=- 2-4(c :)123412134223121342()()()()()()1()()()()()()()()()()()()()()G s G s G s G s C s R s G s G s H s G s G s H s G s G s G s G s H s G s G s H s =++++2-4(d ):21212112()2()()()()()1()()3()()G s G s G s G s C s R s G s G s G s G s +-=+-+2-5同2-2 2-6同2-3 2-7同2-4 2-8:112123112312()()()()()1()()()()()()()()G s G s G s C s R s G s G s G s G s G s G s G s G s -=+++- 223123223112312()()()()()()()()1()()()()()()()()G s G s G s G s G s G s C s R s G s G s G s G s G s G s G s G s ++=+++-2-9:24341242434()()()()()()()()()1()()()()()()G s G s G s G s G s G s G s C s R s G s G s H s G s G s H s ++=++42434()()()1()()()()()()G s C s N s G s G s H s G s G s H s =++12424341()()()()()()1()()()()()()G s G s G s H s E s R s G s G s H s G s G s H s -=++42434()()()()1()()()()()()G s H s C s N s G s G s H s G s G s H s =-++2-10(a ):123421421234()()()()()()1()()()()()()()()G s G s G s G s C s R s G s H s G s H s G s G s G s G s =+++2-10(b ):1212()()()()1()()G s G s C s R s G s G s =+ 312412()()()()()()1()()G s G s G s G s C s N s G s G s +=+ 3-5:(1)系统稳定 (2)系统不稳定 (3)系统不稳定3-6:(1)系统不稳定,有2个不稳定根 (2)系统稳定 (3)系统稳定 3-7 : 015K << 3-8 : 1100D K +>3-9:若0.1f K =,则时间常数为0.1,调节时间为0.3;若使调节时间为0.1,则0.3f K = 3-10: (1) 2100()10100s s s Φ=++ (2) 10n ω=,0.5ξ= (3)50()1 1.15sin(8.6760)t c t e t -=-+(4)%16.3%σ=,0.6s t =3-11: 33.67n ω=,0.36ξ=3-12: (1) 0.216D K =,%22.4%σ=, 2.4s t = (2)0D K =,%60.5%σ=,7.31s t = (3)影响:改善了系统性能 3-13:(1) 2()1()0.5()()=2ss ss ss P r t t e r t t e r t t e K ====∞==∞时,;时,;时,; (2) 2()1()0()0.4()=2.5ss ss ss V r t t e r t t e r t t e K ======∞时,;时,;时,; (3)系统不稳定 3-14: 单位阶跃信号作为输入信号时,系统稳态误差为0的条件是:00a b =单位斜坡信号作为输入信号时,系统稳态误差为0的条件是:0011,a b a b ==3-15:(1)系统稳态的条件是:01K << (2)0.5K =,%81.7%σ=,15.4s t = 3-16:(1)11,()1()0.1ss K r t t e ===时,(2)当1n ()1()0.099ss n t t K e ==-时,找不到使 4-1:图略(1)系统开环极点为:0、-0.25、-3,系统开环零点为:-0.5 系统根轨迹增益为:*/2K 系统开环增益为:*/3K(2)系统开环极点为:0、-0.25、-1+j1.4、-1-j1.4,系统开环零点为:-1、-1 系统根轨迹增益为:*/4K 系统开环增益为:*/3K(3)系统开环极点为:0、-0.25、-0.5,系统无开环零点 系统根轨迹增益为:*/8K 系统开环增益为:*K (4)系统开环极点为: -0.25、-3、-2.2、-0.1+j0.67、-0.1 -j0.67,系统开环零点为:-0.5, 系统根轨迹增益为:*/2K 系统开环增益为:*/3K4-2:(1)分离点为-0.88 (2)分离点为-0.89 (3)分离点为-0.29和-1.71 4-3:(1)根轨迹与虚轴的交点为:j2.4和-j2.4,对应的K*为2844-3:(2)根轨迹与虚轴的交点为:j6.6和-j6.6,对应的K*为7304-4略 4-5:4-6:4-7:(1)系统为结构不稳定系统,无论K*如何取值,系统都无法稳定。
控制系统计算机辅助设计综合实验指导实验名称:连续与离散系统校正实验,系统可控性与可观性实验,系统的simulink仿真实验陈茜编实验人:苏建聪学号:200830810122班级:08电气工程及其自动化1班信息工程系实验任务书1. 有一个单位负反馈控制系统,如果控制对象的传递函数为设计要求:① 相角裕度≥45°;② 当系统的输入信号是单位斜坡信号时,稳态误差ess ≤0.04。
③ 要求绘制出校正后系统和未校正系统的Bode 图及其闭环系统的单位阶跃响应曲线,并进行对比。
2. 有一个单位负反馈控制系统,如果控制对象的传递函数为:试设计一个串联滞后校正装置。
设计要求:①相角裕度≥45°;② 当系统的输入信号是单位斜坡信号时,稳态误差ess ≤0.04。
③ 要求绘制出校正后系统和未校正系统的Bode 图及其闭环系统的单位阶跃响应曲线,并进行对比。
3. 有一个单位负反馈控制系统,如果控制对象的传递函数为 ()()4+=s s k s G p试设计一个串联超前滞后校正装置,设计要求: ①相角裕度≥45°;② 当系统的输入信号是单位斜坡信号时,稳态误差ess ≤0.04。
③ 要求绘制出校正后系统和未校正系统的Bode 图及其闭环系统的单位阶跃响应曲线,并进行对比。
4. 系统结构图如图所示,其中,采样周期Ts=0.01s ,被控对象()()110+=s s s G ,()s G h 为零阶保持器。
用W 变换法设计一超前校正装置D(z),使系统相位裕度γ≥50°,校验设计后系统的性能指标。
5. 系统结构图如图所示,其中,采样周期Ts=0.01s ,被控对象1)s(0.2s k )(+=s G ο,()s G h 为零阶保持器。
用对数频率法设计D(z),使系统开环增益k ≥30(1/s),截止频率ωc ≥15(1/s),相位裕度γ≥50 °1使 s 11se -1(s)-Tsh T G +≈=,求出未校正系统的开环系统的开环传递函数(s)(s)G G (s)0s =G ,的传递函数模型参数。
第一章绪论1.什么是计算机控制系统?它主要有哪几部分组成?各部分的作用是什么?计算机控制系统是利用计算机(包括其他多种控制器)来实现生产过程或运动对象自动控制的系统。
计算机控制系统主要由控制系统和被控生产过程对象两大部分组成。
控制系统又包括硬件和所匹配的软件。
2.简述计算机控制系统的控制过程。
实时数据采集:利用检测、变送装置,实时地对被控制量的瞬时值进行采集和输入。
实时控制决策:对采集、输入的数据进行比较、分析和处理,并按照预定的控制策略(算法)进行运算,产生决策信号。
实时控制输出:根据决策信号实时控制执行机构,实现对被控制对象的控制任务。
3.计算机控制系统的典型形式有几种?各有什么特点?(1)操作指导控制系统QICS:优点:结构简单、控制灵活和安全。
缺点:由人工控制,速度受到限制,不能控制对象。
(2)直接数字控制系统DDCS:优点:实时性好、可靠性高和适应性强。
(3)监督控制系统SCCS:优点:生产过程始终处于最有工况。
(4)集散控制系统:优点:分散控制、集中操作、分级管理、分而自治和综合协调。
(5)现场总线控制系统:优点:与DOS相比降低了成本,提高了可靠性。
(6)计算机集成制造系统4.试列举计算机控制系统的最新发展趋势,说明研究计算机控制系统的重要性。
大规模及超大规模集成电路的发展,提高了计算机的可靠性和性价比,从而使计算机控制系统的应用也越来越广泛,并逐渐向智能化、网络化和集成化的方向发展。
5.略6.略第三章硬件设计基础1.请说出计算机控制系统常用的主控制器有哪些?各有什么特点?在计算机控制系统中,常用主控制器包括:工业控制计算机(IPC)、可编程序控制器(PLC)、智能工业调节器、数字信号处理器(DSP)、单片机(MCU)、ARM处理器等。
IPC:性能可靠、软件丰富、价格低廉。
PLC:可靠性高,抗干扰嫩力强,硬件配套齐全,功能完善,易学易用:系统的设计、安装、调试工作量小,维护方便,容易改造;体积小,重量轻,能耗低。
长风破浪会有时,直挂云帆济沧海。
住在富人区的她吉林大学智慧树知到“电气工程及其自动化”《控制系统数字仿真》网课测试题答案(图片大小可自由调整)第1卷一.综合考核(共15题)1.在循环结构中跳出循环,执行循环后面代码的命令为()。
A、returnB、breakC、continueD、keyboard正确答案:B2.计算机仿真的发展方向有哪些()。
A、向模型更加准确的方向发展B、向虚拟现实技术C、向高技术智能化、一体化方向发展D、向更加广阔的时空发展正确答案:A,B,C,D3.在CAD命令输入方式中以下不可采用的方式有()。
A、点取命令图标B、在菜单栏点取命令C、用键盘直接输入D、利用数字键输入正确答案:D4.i=2; a=2i;b=2*i;c=2*sqrt(-1);程序执行后;a, b, c的值分别是()。
A、a=4,b=4,c=2.0000iB、a=4,b=2.0000i,c=2.0000iC、a=2.0000i,b=4,c=2.0000iD、a=2.0000i,b=2.0000i,c=2.0000i 正确答案:C5.根据采样过程的特点,可以将采样分为以下几种类型()。
A、周期采样B、同步采样和非同步采样C、多速采样D、固定采样正确答案:A,B,C6.系统仿真大都采用计算机程序处理和数值计算,由于计算机的字长有限,不同档次的计算机其计算结果的有效值不一致,导致仿真过程出现舍入误差()。
A、错误B、正确正确答案:B7.在保证计算稳定性及计算精度的要求下,尽可能选较小的仿真步长()。
A、错误B、正确正确答案:A8.通常仿真时多采用四阶龙格库塔法,其原因就是这种计算公式的截断误差较小()。
A、错误B、正确正确答案:B9.微分方程能够反映系统内部各状态之间的相互关系,适用于多输入多输出系统。
传递函数是零极点形式和部分分式形式的基础()。
A、错误B、正确正确答案:A10.关于MATLAB语言中,变量的命名错误的是()。
一、数值计算,编程完成以下各题〔共20分,每题5分〕1、脉冲宽度为d ,周期为T 的矩形脉冲的傅里叶级数如下式描述:)2cos(/)/sin(21[)(1τπππτn T d n T d n T d f n ∑∞=+=当150=n ,41=T d ,2/12/1<<-τ,绘制出函数)(τf 的图形。
解: syms n t;f=((sin(n*pi/4))/(n*pi/4))*cos(2*pi*n*t); s=symsum(f,n,1,150); y=(1+2*s)/4; x=-0.5:0.01:0.5; Y=subs(y,'t',x); plot(x,Y)2、画出函数5505.025.55.15.1cos 5)5(sin )(2x x x x ex x f x +++-=在区间[3,5]的图形,求出该函数在区间[3, 5]中的最小值点m in x 和函数的最小值m in f .解:程序如下 x=3:0.05:5;y=(sin(5*x).^2).*exp(0.05*x.^2)-5*(x.^5).*cos(1.5*x)+1.5*abs(x+5.5)+x.^2.5; mix_where=find(y==min(y)); xmin=x(mix_where); hold on; plot(x,y);plot(xmin,min(y),'go','linewidth',5);str=strcat('(',num2str(xmin),',',num2str(min(y)),')'); text(xmin,min(y),str); Xlabel('x')Ylabel('f(x)')经过运行后得到的图像截图如下:运行后的最小值点m in x =4.6,m in f = -8337.86253、画出函数xe x xf x 5.2cos )(3.02-⋅=-在[1,3]区间的图形,并用编程求解该非线性方程0)(=x f 的一个根,设初始点为20=x .解: x=1:0.02:3; x0=2;y=@(x)(cos(x).^2).*exp(-0.3*x)-2.5*abs(x); fplot(y,[1,3]); Xlabel('x') Ylabel('f(x)')X1=fzero('(cos(x).^2).*exp(-0.3*x)-2.5*abs(x)',x0)运行后求得该方程的一个根为z=0.3256。
一、单选题1、仿真的()很关键,不能太大也不能太小,太大会丢信息,太小会增加计算机仿真的复杂程度.A.采样周期B.时间C.仿真步数D.计算步距正确答案:D2、仿真时间要求涵盖被仿真对象的全部()过程。
A.扰动B.稳定C.动态D.静态正确答案:C3、衡量控制系统的三个品质指标()、准确性、快速性。
A.动态性能B.稳态性能C.快速性能D.稳定性正确答案:D4、目标函数的设计过程中除了体现控制品质的要求还需要考虑()的输出。
A.控制器B.被控对象C.检测变送器D.执行机构正确答案:A5、目标函数中对控制品质的要求一般是通过()的平方来体现的。
A.测量值B.期望值C.被调量D.偏差正确答案:D6、()随着搜索维数的增加,其计算量呈指数增加,因此适合于低维空间。
A.遗传算法B.粒子群C.穷举法D.最小二乘法正确答案:C7、()属于群体智能,思想来源于蚂蚁找食物的过程。
A.粒子群算法B.模糊算法C.蚁群算法D.遗传算法正确答案:C8、遗传算法的第一步是(),种群规模和种群中个体的多样性尤其重要。
A.确定遗传因子B.确定遗传规则C.确定种群个数D.选择初始种群正确答案:D9、()是指给输入扰动加载单位阶跃输入,得到的输出曲线的形式。
A.脉冲曲线B.飞升曲线C.斜波曲线D.加速度曲线正确答案:B10、最小二乘方法适用于对()系统进行辨识。
A.单入单出B.多输入多输出C.单入多输出D.多输入单出正确答案:A11、()的设计目的在于克服单一的扰动。
A.前馈B.回路C.反馈D.前向通道正确答案:A12、史密斯预估控制特别适合于具有()特性的被控对象。
A.慢速B.大纯迟延C.稳定D.快速正确答案:B13、大纯迟延特性的被控对象的传递函数中τ表达的是()。
A.积分时间B.比例系数C.纯迟延时间D.微分时间正确答案:C14、()是当被控对象的输入发生变化时被控对象的输出要经过τ时间段内才能产生变化。
A.调节时间B.峰值时间C.微分时间D.纯迟延时间正确答案:D15、盲人爬山的路径优化需要解决两个问题。
第一章习题1-1什么是仿真?它所遵循的基本原则是什么?答:仿真是建立在控制理论,相似理论,信息处理技术和计算技术等理论基础之上的,以计算机和其他专用物理效应设备为工具,利用系统模型对真实或假想的系统进行试验,并借助专家经验知识,统计数据和信息资料对试验结果进行分析和研究,进而做出决策的一门综合性的试验性科学。
它所遵循的基本原则是相似原理。
1-2在系统分析与设计中仿真法与解析法有何区别?各有什么特点?答:解析法就是运用已掌握的理论知识对控制系统进行理论上的分析,计算。
它是一种纯物理意义上的实验分析方法,在对系统的认识过程中具有普遍意义。
由于受到理论的不完善性以及对事物认识的不全面性等因素的影响,其应用往往有很大局限性。
仿真法基于相似原理,是在模型上所进行的系统性能分析与研究的实验方法。
1-3数字仿真包括那几个要素?其关系如何?答: 通常情况下,数字仿真实验包括三个基本要素,即实际系统,数学模型与计算机。
由图可见,将实际系统抽象为数学模型,称之为一次模型化,它还涉及到系统辨识技术问题,统称为建模问题;将数学模型转化为可在计算机上运行的仿真模型,称之为二次模型化,这涉及到仿真技术问题,统称为仿真实验。
1-4为什么说模拟仿真较数字仿真精度低?其优点如何?。
答:由于受到电路元件精度的制约和容易受到外界的干扰,模拟仿真较数字仿真精度低但模拟仿真具有如下优点:(1)描述连续的物理系统的动态过程比较自然和逼真。
(2)仿真速度极快,失真小,结果可信度高。
(3)能快速求解微分方程。
模拟计算机运行时各运算器是并行工作的,模拟机的解题速度与原系统的复杂程度无关。
(4)可以灵活设置仿真试验的时间标尺,既可以进行实时仿真,也可以进行非实时仿真。
(5)易于和实物相连。
1-5什么是CAD技术?控制系统CAD可解决那些问题?答:CAD技术,即计算机辅助设计(Computer Aided Design),是将计算机高速而精确的计算能力,大容量存储和数据的能力与设计者的综合分析,逻辑判断以及创造性思维结合起来,用以快速设计进程,缩短设计周期,提高设计质量的技术。
控制系统数字仿真题库一、填空题1. 定义一个系统时,首先要确定系统的边界;边界确定了系统的范围,边界以外对系统的作用称为系统的输入,系统对边界以为环境的作用称为系统的输出。
2.系统的三大要素为:实体、属性和活动。
3.人们描述系统的常见术语为:实体、属性、事件和活动。
4.人们经常把系统分成四类,它们分别为:连续系统、离散系统、采样数据系统和离散-连续系统。
5、根据系统的属性可以将系统分成两大类:工程系统和非工程系统。
6.根据描述方法不同,离散系统可以分为:离散时间系统和离散事件系统。
7. 系统是指相互联系又相互作用的实体的有机组合。
8.根据模型的表达形式,模型可以分为物理模型和数学模型二大类,其中数学模型根据数学表达形式的不同可分为二种,分别为:静态模型和动态模型。
9、采用一定比例按照真实系统的样子制作的模型称为物理模型,用数学表达式来描述系统内在规律的模型称为数学模型。
10.静态模型的数学表达形式一般是代数方程和逻辑关系表达式等,而动态模型的数学表达形式一般是微分方程和差分方程。
11.系统模型根据描述变量的函数关系可以分类为线性模型和非线性模型。
12 仿真模型的校核是指检验数字仿真模型和数学模型是否一致。
13.仿真模型的验证是指检验数字仿真模型和实际系统是否一致。
14.计算机仿真的三个要素为:系统、模型与计算机。
15.系统仿真的三个基本活动是系统建模、仿真建模和仿真试验。
16.系统仿真根据模型种类的不同可分为:物理仿真、数学仿真和数学-物理混合仿真。
17.根据仿真应用目的的不同,人们经常把计算机仿真应用分为四类,分别为:系统分析、系统设计、理论验证和人员训练。
18.计算机仿真是指将模型在计算机上进行实验的过程。
19. 仿真依据的基本原则是:相似原理。
20. 连续系统仿真中常见的一对矛盾为计算速度和计算精度。
21.保持器是一种将离散时间信号恢复成连续信号的装置。
22.零阶保持器能较好地再现阶跃信号。
控制系统仿真本科中国地质大学开卷参考资料题库及答案
控制系统仿真(专升本)阶段性作业1
总分:100分得分:0分
一、单选题
1. 下列哪个选项不属于Matlab的优点_______。
(4分)
(A) Matlab是一种演算式语言
(B) Matlab程序的执行速度快
(C) Matlab具有强大的矩阵运算能力
(D) Matlab具有功能强大的工具箱
参考答案:A
2. 以下变量名无效的是_______。
(4分)
(A) aa
(B) A_a
(C) 2d
(D) Mm_
参考答案:C
3. 以下命令表示清除Matlab命令窗口内容的是_______。
(4分)
(A) clc
(B) clear all
(C) close all
(D) clear
参考答案:A
4. 关于SIMULINK的说法错误的是_______。
(4分)
(A) SIMULINK的缺省仿真时间长度为10秒
(B) SIMULINK实现了可视化的动态仿真,可以与MATLAB进行数据传递
(C) SIMULINK默认的数值运算方法是ode45
(D) SIMULINK模型的扩展名为mld
参考答案:A
二、多选题
1. 控制系统的仿真涉及到以下哪些学科_______。
(4分)
(A) 控制理论
(B) 计算数学
(C) 计算机技术
(D) 综合性科学
参考答案:A,B,C
2. 计算机数字仿真包括哪些要素_______。
(4分)
(A) 系统。
实验一 1、(教材P37页 例2.1)已知一阶微分方程:试编写程序,用欧拉法求 ,即的值;并画出图形。
解:程序如下: clc clearTf=input('仿真时间Tf='); %输入仿真时间 h=input('计算步长h='); %输入仿真步长 x0=1/3; t=0; x=x0; %输入初始值 for i=1:Tf/h K1=-30*x0; x1=x0+h*K1;x=[x;x1]; %变量以向量形式保存t=[t;t(i)+h]; %对应时刻以向量形式保存 x0=x1; end[t,x] %以数据形式输出 plot(t,x) %以曲线形式输出 所绘图形如下:00.20.40.60.81 1.2 1.4 1.6-0.2-0.10.10.20.30.40.5X: 1.5Y: 3.104e-0102、2. (教材P79习题2.5)已知系统的状 态方程和输出方程为: 式中 u(t)=1(t)。
初始条件为: x1(0)=x2(0)=x3(0)=0。
取h=0.05, 试用RK4法求t=0.5时的y 值。
解:程序如下:05.0,3/1)0(,30==-=∙h y y y )5.1(=t y 30y ⎥⎥⎥⎦⎤⎢⎢⎢⎣⎡=⎥⎥⎥⎦⎤⎢⎢⎢⎣⎡+⎥⎥⎥⎦⎤⎢⎢⎢⎣⎡⎥⎥⎥⎦⎤⎢⎢⎢⎣⎡---=⎥⎥⎥⎦⎤⎢⎢⎢⎣⎡321321321]0 0 1[1040 0 0 121 0 190 18x x x y u x x x x x xclc clear u=1;x0=0; t=0;y=0; x0=[0;0;0];A=[-8 1 0;-19 0 1;-12 0 0]; B=[0;4;10]; C=[1 0 0];Tf=input('仿真时间Tf='); h=input('计算步长h='); x=x0;for i=1:Tf/h K1=A*x+B*u;K2=A*(x+h*K1/2)+B*u; K3=A*(x+h*K2/2)+B*u; K4=A*(x+h*K3)+B*u;x=x+h*(K1+2*K2+2*K3+K4)/6; y=[y;C*x]; t=[t;t(i)+h]; end yplot(t,y)所绘图形如下:051015202530350.10.20.30.40.50.60.70.80.900.050.10.150.20.250.30.350.40.450.500.050.10.150.20.25X: 0.5Y: 0.22013、已知系统的传递函数, 试求其状态方程及输出方程。
《自动控制系统计算机仿真》习题参考答案1-1 什么是仿真? 它的主要优点是什么?它所遵循的基本原则是什么?答:所谓仿真,就是使用其它相似的系统来模仿真实的需要研究的系统。
计算机仿真是指以数字计算机为主要工具,编写并且运行反映真实系统运行状况的程序。
对计算机输出的信息进行分析和研究,从而对实际系统运行状态和演化规律进行综合评估与预测。
它是非常重要的设计自动控制系统或者评价系统性能和功能的一种技术手段。
仿真的主要优点是:方便快捷、成本低廉、工作效率和计算精度都很高。
它所遵循的基本原则是相似性原理。
1-2 你认为计算机仿真的发展方向是什么?答:向模型更加准确的方向发展,向虚拟现实技术,以及高技术智能化、一体化方向发展。
向更加广阔的时空发展。
1-3 计算机数字仿真包括哪些要素?它们的关系如何?答:计算机仿真的三要素是:系统——研究的对象、模型——系统的抽象、计算机——仿真的工具和手段。
它们的关系是相互依存。
2-1 控制算法的步长应该如何选择?答:控制算法步长的选择应该恰当。
如果步长太小,就会增加迭代次数,增加计算量;如果步长太大,计算误差将显著增加,甚至造成计算结果失真。
2-2 通常控制系统的建模有哪几种方法?答:1)机理建模法;2)实验建模法;3)综合建模法。
2-3 用欧拉法求以下系统的输出响应()y t 在0≤t ≤1上,0.1h =时的数值解。
0y y +=&, (0)0.8y =解:输入以下语句 绘制的曲线图2-4 用二阶龙格-库塔法对2-3题求数值解,并且比较两种方法的结果。
解:输入以下语句绘制的曲线图经过比较两种方法的结果,发现它们几乎没有什么差别。
3-1 编写两个m文件,分别使用for和while循环语句计算20031kk=∑。
解:第1个m文件,第2个m文件运行结果都是3-2 求解以下线性代数方程:123102211313121xxx⎡⎤⎡⎤⎡⎤⎢⎥⎢⎥⎢⎥=⎢⎥⎢⎥⎢⎥⎢⎥⎢⎥⎢⎥⎣⎦⎣⎦⎣⎦解:输入语句计算结果3-3 已知矩阵013=121542⎡⎤⎢⎥⎢⎥⎢⎥⎣⎦A,218=414332⎡⎤⎢⎥⎢⎥⎢⎥⎣⎦B试分别求出A阵和B阵的秩、转置、行列式、逆矩阵以及特征值。
解:求矩阵的秩、行列式、逆矩阵、特征值的函数分别为:rank( ), det( ), inv( ), eig( )。
求矩阵转置的命令为“.’ ”。
求出A 阵的秩为3、转置为015=124312⎡⎤⎢⎥'⎢⎥⎢⎥⎣⎦A 、行列式为15-、逆矩阵10-0.66670.3333=-0.21-0.20.4-0.33330.0667-⎡⎤⎢⎥⎢⎥⎢⎥⎣⎦A 以及特征值 6.1926()30.8074eig A ⎡⎤⎢⎥=-⎢⎥⎢⎥⎣⎦;求出B 阵的秩为3、转置为243B =113842⎡⎤⎢⎥'⎢⎥⎢⎥⎣⎦、行列式为56、逆矩阵1-0.17860.3929-0.0714=0.0714-0.35710.42860.1607-0.0536-0.0357B -⎡⎤⎢⎥⎢⎥⎢⎥⎣⎦以及特征值9.1606() 2.0803 1.33632.0803 1.3363eig B i i ⎡⎤⎢⎥=-+⎢⎥⎢⎥--⎣⎦。
3-4 对于3-3题中的A 阵和B 阵,在Command 窗口中分别求出2C =A 、D 矩阵为A 中每个元素平方组成的矩阵、E 矩阵为A 阵乘以B 阵、F 矩阵为A 阵和B 阵数组乘积(即:对应元素分别相乘的积构成的矩阵)。
解:输入命令,,,,计算结果为, , ,3-5 已知某系统的闭环传递函数()s Φ如下,试用roots ()命令来判断系统的稳定性。
25432325()24576s s s s s s s s ++Φ=+++++ 解:输入命令计算结果如下,系统不稳定3-6 求复数矩阵13573623243i i ii i i+-+⎡⎤=⎢⎥++-⎣⎦C的转置C1与共轭转置C2。
解:输入语句计算结果4-1 某系统的传递函数为232 1.323()0.5 1.21ssGsss s++=+++使用MATLAB求出状态空间表达式和零极点模型。
解:输入语句计算机返回表明该系统的状态空间表达式为0.5 1.211X100X00100u---⎡⎤⎡⎤⎢⎥⎢⎥=+⎢⎥⎢⎥⎢⎥⎢⎥⎣⎦⎣⎦&,[]1.323Xy=该系统的零极点模型为1.3(0.7692 1.31)(0.7692 1.31)()(0.1153 1.1642)(0.1153 1.1642)(0.7307)s i s iG ss i s i s+-++=---++4-2 某单输入单输出系统:61166y y y y u +++=&&&&&&试求该系统状态空间表达式的对角线标准形。
解:输入语句计算结果表明该系统状态空间表达式的对角线标准形为3007.762X 020X 9.798001 2.872u --⎡⎤⎡⎤⎢⎥⎢⎥=-+-⎢⎥⎢⎥⎢⎥⎢⎥-⎣⎦⎣⎦& , []0.38650.6124 1.044X y =- 4-3 求出以下系统的传递函数101012000031u -⎡⎤⎡⎤⎢⎥⎢⎥=-+⎢⎥⎢⎥⎢⎥⎢⎥-⎣⎦⎣⎦X X &, []110y =X 解:输入语句 计算结果表明该系统的传递函数为 323()6116s G s s s s +=+++5-1 某一单位负反馈控制系统,其开环传递函数为1()(1)G s s s =+它的输入信号为()21(0.5)r t t =⨯-,试使用Simulink 构造其仿真模型,并且观察其响应曲线。
解:在Simulink 环境下构造仿真模型如下阶跃信号(Step )的设置如下 响应曲线如下5-2 将5-1题中的闭环控制系统封装成一个子系统。
解:按住鼠标右键拖拽,方框包括了闭环系统部分,松开右键后,选择“create subsystem ”,建立了系统模型以及子系统模型如下。
6-1 分别采用求取特征值的方法和李亚普诺夫第二法判别下面系统的稳定性。
301023026610u -⎡⎤⎡⎤⎢⎥⎢⎥=--+⎢⎥⎢⎥⎢⎥⎢⎥-⎣⎦⎣⎦X X & 解:1)求特征值法,输入命令计算结果为可见,矩阵A 的特征值实部均为负,因此系统稳定。
2)采用李亚普诺夫第二法, 输入命令计算结果显然,P 阵的各阶主子式均为正定,系统稳定。
6-2 某单位负反馈系统的开环控制系统的传递函数为2k (0.80.64)()(0.05)(5)(40)K s s G s s s s s ++=+++(1)绘制系统的根轨迹;(2)当10K =时,绘制系统的Bode 图,判断系统的稳定性,并且求出幅值裕度和相角裕度。
解:(1)输入以下命令,计算机绘制出系统根轨迹(2)输入命令计算机绘制系统Bode 图,并且计算出幅值裕度和相角裕度,显然闭环系统稳定7-1 已知某单位负反馈控制系统的开环传递函数为K ()(0.11)(0.011)G s s s s =++请设计一个串联校正控制器C ()G s ,要求系统性能指标如下:相角裕度45γ=o,开环增益200K >,穿越频率C 1315<ω<。
解:(1)根据题目要求,可以选择0K 200=。
则开环传递函数为200()(0.11)(0.011)G s s s s =++(2)使用命令margin( ),计算开环传递函数的稳定裕量, 输入命令:得出:Gm=-5.19dB ,Pm 9.66=-o,C1ω=42.3rad/sec ,系统不稳定,采用滞后-超前校正。
(3)采用滞后-超前校正,建立m 文件如下运行后,计算出 C 0.316210.10441G () 5.69210.048881s s s s s ++=⋅++于是,校正后的系统开环传递函数为2C 20.0330.42061200()()0.2782 5.7411(0.11)(0.011)s s G s G s s s s s s ++=⋅++++得出校正以后的系统:Gm=18.9dB ,Pm 42.3=o,C ω=10.5rad/sec 。
基本上达到系统要求7-2 某过程控制系统如图7-32所示,请使用Ziegler-Nichols 经验整定公式设计PID 控制器,使系统的动态性能最佳。
图7-32 习题7-2图解:30()61s G s e s -=+采用Ziegler-Nichols 经验公式P 1.26K 0.24301⨯==⨯,I T 2=,D T 0.5= 构造的Simulink 仿真模型,以及仿真结果曲线如下。
8-1 建立一个笼型异步电机软启动(线电压逐渐加大,直至额定值)的仿真模型。
解:构造系统的Simulink仿真模型如下图所示其中不妨选择异步电机设置为使用3个控制电压源,其中一个设置如下A ,B ,C 三相正弦波信号源的相位分别设置为4/3π,2/3π和0。
仿真运行结果为8-2 如何在电力电路中获得一个2Ω的纯电阻模块?解:1)从SimPowerSystems/Elements 模块集中拖拽出一个“Parallel RLC Branch ”,并且设置R 为2、L 为inf 、C 为0。
或:2)从SimPowerSystems/Elements 模块集中拖拽出一个“Series RLC Branch ”,并且设置R 为2、L 为0、C 为inf 。
8-3 如何在电力电路中获得一个0.05H 的纯电感模块?解:1)从SimPowerSystems/Elements 模块集中拖拽出一个“Parallel RLC Branch ”,并且设置R 为inf 、L 为0.05、C 为0。
或:2)从SimPowerSystems/Elements 模块集中拖拽出一个“Series RLC Branch ”,并且设置R 为0、L 为0.05、C 为inf 。