党建工作四议两公开工作法流程图
- 格式:xls
- 大小:24.50 KB
- 文档页数:1
四议两公开具体内容和程序一、主要内容:“四议两公开”工作法的主要内容是:所有重大事项和涉及群众切身利益的相关事项都要在党组织导下,按照“四议”、“两公开”的程序决策实施。
“四议”即:社区党支部会提议,社区“两委”会商议,党员大会审议,居民代表会议或居民会议决议;“两公开”即:决议公开,实施结果公开。
二、决策事项:凡是重大事务和与农民群众切身利益相关的事项,都要按照“四议两公开”工作法决策、实施。
主要内容包括:建设长期规划和年度工作计划;集体土地的承包、租赁;公益事业经费筹集、组织实施与管理;集体经济项目的立项、承包及公益事业的建设承包;集体资产购建与处理;社区组建设规划、土地征用及补偿分配、宅基地审报;计划生育、低保、新型农村合作医疗等政策和制度的落实;重大救灾救济款物的发放,以及其他应当民主决策的事项法律规定必须由居民会议讨论的事项,按有关法律规定执行。
三、决议程序:“四议两公开”工作方法分六个环节实施,要永决策过程中要做到提议准确,商议充分,审议广泛,决议民主公开准确及时,必须按照以下步骤组织实施:1、社区党支部会提议。
对社区内重大事项,由社区党支在充分征求党员居民代表及广大居民意见和认真调查认证的基础上,集体研究提出初步意见和方案,使提议符合中央和省、市、区的要求,符合本社区发展实际,符合群众意愿的原则,集体研究提出初步意见和方案。
2、居“两委”会商议。
根据党总支的初步意见,组织“两委”会进行商议,在商议之前,社区党组织书记提议前将提议内容与居委会主任通报并充分沟通。
同时提前将提议议题口头或书面发至“两委”班子成员手中,待充分酝酿、调研、思考之后,再组织“两委”班子成员讨论,发表意见。
对意见分歧比较大的事项,按照少数服从多数的原则形成商议意见。
3、党员议事会或党员大会审议。
对居“两委”商定的意见,提交党员议事会或党员大会讨论审议。
召开党员议事会或党员大会审议前,须把居“两委”商议方案发书面或口头形式,提前一周向党员议事会或党员大会进行通报,在党员中充分酝酿并征求居民意见,提前做好沟通工作;党员议事会或党员大会审议时,到会党员人数须议事会成员数的4/5或党员总数的2/3以上,审议事项经应到会议事会成员人数的2/3或应到党员人数半数以上同意,方可提交居民代表会议或居民会议表决。
胜溪湖街道西尉庄村四议两公开具体程序集体重大事项都必须在村级党组织领导下按照“四议”、“两公开”的程序决策实施。
“四议”即:党组织会议提议、“两委”会商议、党员大会审议、村民代表会议或村民会议决议;“两公开”即:决议公开、实施结果公开。
“四议两公开”工作法在具体操作中,必须按照以下程序和要求实施:(一)党组织会议提议:村内重大事项的提议,首先在充分征求党员、村民代表及广大村民意见的基础上,由村党支部提议,形成初步意见。
提议前:1、广泛征求党员、干部、村民代表和群众的意见,充分考虑绝大多数群众的切身利益。
2、对议定事项的可行性、可操作性进行认真科学的考察论证,必要时可以聘请专家、技术人员进行项目论证。
3、审核所议定的事项是否符合上级政策、法律法规、本村实际及群众意愿。
4、对于上级党委政府安排的工作,党支部要认真研究,制订初步方案后再进行提议。
5、对议定的事项要形成完备的书面材料。
6、议定的事项必须在议定前以书面或口头形式报乡镇党委、政府批准备案。
提议中:7、参加人员为所有村党支部委员会成员。
8、会议由村党支部书记就提议事项的重要性、可行性、专家论证、实施方案、征求意见情况等进行专题介绍。
9、所有党支部委员就提议事项分别发表意见和看法。
10、根据村党支部委员会成员的意见,对实施方案进行修改完善。
11、按照少数服从多数的原则进行举手表决并签字,经与会人员2/3以上同意,形成提议意见。
提议后:12、将提议事项形成详细的书面材料存档。
(二)村“两委”会商议:根据支部会议提议意见,组织“两委”班子成员充分讨论,科学论证,发表意见,并通过口头、举手、无记名投票等方式进行表决,按照少数服从多数的原则形成商议意见。
商议前:1、村党支部书记应提前将支部提议内容与村主任通报并充分沟通。
2、村党支部应在会前一周内将中心议题发至“两委”班子成员手中,待充分酝酿、调研、思考之后,再进行集体商议。
商议中:3、参加人员为所有村“两委”组成人员。
四议两公开具体内容和程序一、主要内容:“四议两公开”工作法的主要内容是:所有村级重大事项和涉及群众切身利益的相关事项都要在村党组织领导下,按照“四议”、“两公开”的程序决策实施。
“四议”即:村党支部会提议,村“两委”会商议,党员大会审议,村民代表会议或村民会议决议;“两公开”即:决议公开,实施结果公开。
二、决策事项:凡是村级重大事务和与农民群众切身利益相关的事项,都要按照“四议两公开”工作法决策、实施。
主要内容包括:新农村建设长期规划和年度工作计划;村集体土地的承包、租赁;公益事业经费筹集、组织实施与管理;集体经济项目的立项、承包及公益事业的建设承包;集体资产购建与处理;村组建设规划、土地征用及补偿分配、宅基地审报;计划生育、农村低保、新型农村合作医疗等政策和制度的落实;重大救灾救济款物的发放,以及其他应当民主决策的事项法律规定必须由村民会议讨论的事项,按有关法律规定执行。
三、决议程序:“四议两公开”工作方法分六个环节实施,要永决策过程中要做到提议准确,商议充分,审议广泛,决议民主公开准确及时,必须按照以下步骤组织实施:1、村党支部会提议。
对村内重大事项,由村党支在充分征求党员村民代表及广大村民意见和认真调查认证的基础上,集体研究提出初步意见和方案,使提议符合中央和省、市、区的要求,符合本村发展实际,符合群众意愿的原则,集体研究提出初步意见和方案。
2、村“两委”会商议。
根据村党总支的初步意见,组织“两委”会进行商议,在商议之前,村党组织书记提议前将提议内容与村委会主任通报并充分沟通。
同时提前将提议议题口头或书面发至“两委”班子成员手中,待充分酝酿、调研、思考之后,再组织“两委”班子成员讨论,发表意见。
对意见分歧比较大的事项,按照少数服从多数的原则形成商议意见。
3、党员议事会或党员大会审议。
对村“两委”商定的意见,提交党员议事会或党员大会讨论审议。
召开党员议事会或党员大会审议前,须把村“两委”商议方案发书面或口头形式,提前一周向党员议事会或党员大会进行通报,在党员中充分酝酿并征求村民意见,提前做好沟通工作;党员议事会或党员大会审议时,到会党员人数须议事会成员数的4/5或党员总数的2/3以上,审议事项经应到会议事会成员人数的2/3或应到党员人数半数以上同意,方可提交村民代表会议或村民会议表决。
“四议两公开”工作制度凡涉及社区重大事务和与居民群众切身利益相关的事项,按照“四议两公开”工作法决策、实施。
(一)决策事项主要内容:社区建设规划(3年或5年)、社区年度发展计划和居民公约的修订;集体资源、资产、资金的使用和管理以及楼栋长、单位长奖励金费的确定;社区重大救灾、救济、求助事项和低保事项的实施,以及其他应当民主决策的事项。
法律规定必须由居民会议讨论通过的事项,按有关法律规定执行。
(二)决策程序“四议两公开”分六步实施,可以一事一议,也可以多项内容一次商议。
第一步,社区党支委会提议。
对社区内重大事项的提议,由社区党支委会在充分征求党员、居民代表及广大居民意见的基础上,按照符合上级和法律法规的要求、符合本社区发展实际、符合群众意愿的原则,集体研究提出初步意见。
第二步,社区“两委”会商议。
根据社区党支部提出初步意见,组织召开社区“两委”联席会进行商议。
在商议之前,社区党支部书记提前将支委会提议内容与居委会主任通报并充分沟通。
同时,提前将议题口头或书面告知“两委”班子成员,然后召开会议,组织“两委”班子成员讨论、发表意见。
对有分歧意见的事项,根据不同情况,可采取口头、举手、无记名投票等方式进行表决,按照少数服从多数的原则形成商议意见。
第三步,党员大会审议。
将社区“两委”会商定的意见,提交党员大会讨论审议。
召开党员大会审议前,把社区“两委”会商定的意见以书面或口头形式,向全体党员进行传达,在党员中充分酝酿。
党员大会审议时,到会党员人数要达到党员总数的三分之二以上,审议事项需到会党员半数以上同意方可提交居民代表会议或居民会议表决。
党员大会审议后,要认真吸纳党员的意见和建议,对事项实施意见进行修订完善,并组织党员入户做好宣传工作。
第四步,居民代表会议或居民会议决议。
对党员大会通过的事项意见,由居委会主持召集居民代表会议或居民会议讨论表决。
居委会要采取适当方式,使居民代表或居民充分了解决策的动因、事项和预期目标效果。
四议两公开具体内容和程序一、主要内容:“四议两公开”工作法的主要内容是:所有重大事项和涉及群众切身利益的相关事项都要在党组织导下,按照“四议”、“两公开"的程序决策实施。
“四议”即:社区党支部会提议,社区“两委”会商议,党员大会审议,居民代表会议或居民会议决议;“两公开"即:决议公开,实施结果公开.二、决策事项:凡是重大事务和与农民群众切身利益相关的事项,都要按照“四议两公开"工作法决策、实施.主要内容包括:建设长期规划和年度工作计划;集体土地的承包、租赁;公益事业经费筹集、组织实施与管理;集体经济项目的立项、承包及公益事业的建设承包;集体资产购建与处理;社区组建设规划、土地征用及补偿分配、宅基地审报;计划生育、低保、新型农村合作医疗等政策和制度的落实;重大救灾救济款物的发放,以及其他应当民主决策的事项法律规定必须由居民会议讨论的事项,按有关法律规定执行。
三、决议程序:“四议两公开”工作方法分六个环节实施,要永决策过程中要做到提议准确,商议充分,审议广泛,决议民主公开准确及时,必须按照以下步骤组织实施:1、社区党支部会提议.对社区内重大事项,由社区党支在充分征求党员居民代表及广大居民意见和认真调查认证的基础上,集体研究提出初步意见和方案,使提议符合中央和省、市、区的要求,符合本社区发展实际,符合群众意愿的原则,集体研究提出初步意见和方案。
2、居“两委”会商议。
根据党总支的初步意见,组织“两委”会进行商议,在商议之前,社区党组织书记提议前将提议内容与居委会主任通报并充分沟通。
同时提前将提议议题口头或书面发至“两委"班子成员手中,待充分酝酿、调研、思考之后,再组织“两委”班子成员讨论,发表意见。
对意见分歧比较大的事项,按照少数服从多数的原则形成商议意见。
3、党员议事会或党员大会审议.对居“两委”商定的意见,提交党员议事会或党员大会讨论审议。
召开党员议事会或党员大会审议前,须把居“两委”商议方案发书面或口头形式,提前一周向党员议事会或党员大会进行通报,在党员中充分酝酿并征求居民意见,提前做好沟通工作;党员议事会或党员大会审议时,到会党员人数须议事会成员数的4/5或党员总数的2/3以上,审议事项经应到会议事会成员人数的2/3或应到党员人数半数以上同意,方可提交居民代表会议或居民会议表决.党员大会审议后,居“两委"要认真吸纳党员的意见建议,对方案修订完善,同时宣传解释工作。
“四议两公开”工作法讲义一、“四议两公开”工作法的含义“四议两公开”就是指所有村级重大事项都必须在村党组织的领导下,按照“四议”、“两公开”的程序决策实施。
“四议”即:村党支部会提议、村“两委”会商议、党员大会审议、村民代表会议或村民会议决议;“两公开”即:决议公开、实施结果公开。
推行“四议两公开”工作法,对于进一步加强农村基层组织建设、巩固党的执政基础,进一步拓宽党员群众参政议政渠道、推进农村民主政治建设,进一步密切党群干群关系、促进农村和谐稳定具有十分重要的意义。
二、“四议两公开”工作法的决策程序(一)村党支部会提议。
村党支部对村内重大事项及关系农民切身利益的重要问题,在广泛征求党员、村民代表及广大村民意见与认真调查论证的基础上,集体研究提出初步意见和方案,并报经乡镇党委审核同意。
提议要符合中央和省、市、县的要求,符合本村发展实际,符合群众意愿。
对村党支部未提议,而本村l/3以上党员或l/5以上农户联名建议讨论决定的事项,党支部必须提议。
提议前:①广泛征求意见,确定议事事项;②科学论证,规范政策审核;③制定初步方案,报乡镇党委批准、备案。
提议中:①书记主持支委会并介绍情况;②委员充分讨论,修改完善方案;③支委表决提案,形成决议意见。
提议后:形成书面材料并存档。
(二)村“两委”会商议。
村党支部组织召开村“两委”班子成员会议,由支部书记主持,对村党支部会提议的初步意见进行充分讨论和发表意见。
根据不同情况,可采取口头、举手、无记名投票等方式表决,按照少数服从多数的原则形成商议意见。
“两委”会商议,参会人员要达到“两委”班子成员总数的2/3以上;支书、主任分设的村,主干一人缺席,一般不应形成商议意见。
商议前:①书记、主任沟通提议内容;②发放书面议题,两委成员酝酿。
商议中:①支部书记主持“两委”会,并通报提议意见;②“两委”充分讨论,可邀请专家参加;③修改补充完善方案;④“两委”表决方案,形成商议案。
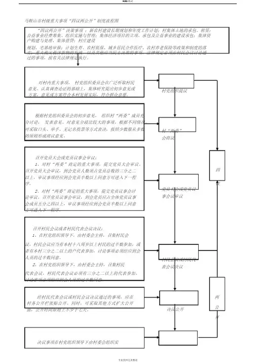
马鞍山市村级重大事项“四议两公开”制度流程图“四议两公开”决策事项:新农村建设长期规划和年度工作计划;村集体土地的承包、租赁;公益事业经费筹集、组织实施与管理;集体经济项目的立项、承包及公益事业的建设承包;集体资产购建与处理、集体借贷;村庄建设规划、宅基地审报;计划生育、农村低保、城乡居民合作医疗、农村养老保险等政策和制度的落实;重大救灾救济款物的发放,以及其他应当民主决策的事项。
法律规定必须由村民会议讨论通过的事项,按有关法律规定执行。
对村内重大事项,村党组织委员会在广泛听取村民意见、认真调查论证的基础上,集体研究提出初步意见或方案,意见或方案符合本村发展实际,符合群众意愿。
根据村党组织委员会的初步意见,组织村“两委”成员充分讨论,发表意见。
对意见分歧比较大的事项,根据不同情况,可采取口头、举手、无记名投票等方式表决,按照少数服从多数的原则形成商议意见。
召开党员大会或党员议事会审议:1、对村“两委”商定的重大事项,提交党员大会审议。
召开党员大会审议,到会党员人数须占党员总数的三分之二以上,审议事项经应到会党员半数以上同意方可进入下一程序。
2、对村“两委”商定的重大事项,提交党员议事会讨论审议。
召开党员议事会审议,到会党员应占全体党员议事会成员五分之四以上,审议事项经应到会党员半数以上同意方可进入下一程序。
召开村民会议或者村民代表会议决议:1、在村党组织领导下,由村委会主持,召集村民会议,村民会议应当有本村十八周岁以上村民的过半数参加,或者有本村三分之二以上的户代表参加,讨论事项必须经应到会人员的过半数同意。
2、在村党组织领导下,由村委会主持,召集村民代表会议,村民代表会议必须有三分之二以上的代表参加,讨论事项必须经应到会人员的过半数同意。
经村民代表会议或村民会议决议通过的事项,应在村务公开栏张贴公开。
同时,可采取其他方式扩大公开面,公开时间原则上不少于七天。
村党组织提议村“两委”会商议党员大会或党员议事会议审议村民会议或村民代表会议决议决议公开四议两公开决议事项在村党组织领导下由村委会组织实施,实施结果在村监会的监督下,及时向全体村民实施结果公开公开。
四议两公开具体内容和程序四议两公开具体内容和程序一、主要内容:“四议两公开”工作法的主要内容是:所有村级重大事项和涉及群众切身利益的相关事项都要在村党组织领导下,按照“四议”、“两公开”的程序决策实施。
“四议”即:村党支部会提议,村“两委”会商议,党员大会审议,村民代表会议或村民会议决议;“两公开”即:决议公开,实施结果公开。
二、决策事项:凡是村级重大事务和与农民群众切身利益相关的事项,都要按照“四议两公开”工作法决策、实施。
主要内容包括:新农村建设长期规划和年度工作计划;村集体土地的承包、租赁;公益事业经费筹集、组织实施与管理;集体经济项目的立项、承包及公益事业的建设承包;集体资产购建与处理;村组建设规划、土地征用及补偿分配、宅基地审报;计划生育、农村低保、新型农村合作医疗等政策和制度的落实;重大救灾救济款物的发放,以及其他应当民主决策的事项法律规定必须由村民会议讨论的事项,按有关法律规定执行。
三、决议程序:“四议两公开”工作方法分六个环节实施,要永决策过程中要做到提议准确,商议充分,审议广泛,决议民主公开准确及时,必须按照以下步骤组织实施:1、村党支部会提议。
对村内重大事项,由村党支在充分征求党员村民代表及广大村民意见和认真调查认证的基础上,集体研究提出初步意见和方案,使提议符合中央和省、市、区的要求,符合本村发展实际,符合群众意愿的原则,集体研究提出初步意见和方案。
2、村“两委”会商议。
根据村党总支的初步意见,组织“两委”会进行商议,在商议之前,村党组织书记提议前将提议内容与村委会主任通报并充分沟通。
同时提前将提议议题口头或书面发至“两委”班子成员手中,待充分酝酿、调研、思考之后,再组织“两委”班子成员讨论,发表意见。
对意见分歧比较大的事项,按照少数服从多数的原则形成商议意见。
3、党员议事会或党员大会审议。
对村“两委”商定的意见,提交党员议事会或党员大会讨论审议。
召开党员议事会或党员大会审议前,须把村“两委”商议方案发书面或口头形式,提前一周向党员议事会或党员大会进行通报,在党员中充分酝酿并征求村民意见,提前做好沟通工作;党员议事会或党员大会审议时,到会党员人数须议事会成员数的4/5或党员总数的2/3以上,审议事项经应到会议事会成员人数的2/3或应到党员人数半数以上同意,方可提交村民代表会议或村民会议表决。
四议两公开工作法“四议两公开”工作法的具体内容是:凡涉及村里的重大决策、重要干部任免、重大项目安排和大额资金使用,都要按照以下*决策程序进行。
一、四“议”程序1、支部或村委主要负责人提议凡是党(总)支部书记或村委主任认为需要开会讨论决定的事情,首先应在村两个主干之间相互提出来,两主干之间达成共识后,再向支村两委会上提议,其他两委班子成员认为自己分管范围内的某一项工作需要上会研究的,应直接向书记或村委主任提议,由两个主干碰头商定后再向支村两委会上提议,未经两主干碰头商定的事情,书记和村委主任任何一方不准单独向两委会上提议。
2、两委班子商议组织支村两委班子成员商议事情的联席会议,由党(总)支部书记主持,并由会前提议上会讨论的班子成员向会议作出议题说明,然后安排足够的时间让与会人员对议题进行讨论。
讨论时,实行“一把手”末尾表态法,即支部书记在听取其他领导班子成员的意见后再表明自己的态度,最后支部书记综合各方面情况,采用*集中制的方式集体决定。
3、党支部会议审议通过支村两委讨论决定的事情,属于重大事项的,首先要经过党支部会议进行审议。
审议形式为:⑴支部书记向会议提出支村两委讨论的事项;⑵参会党员以党小组分开讨论;⑶以党小组汇报讨论结果;⑷全体参会人员进行表决。
4、村民代表决议通过支部会议表决通过的事情,再召开村民代表会议进行决议,决议的程序为:⑴支部或村委主要领导向村民代表汇报党支部所审议通过的事情;⑵村民代表充分发表各自的观点;⑶就支部审议通过的事情进行表决。
5、召开会议的要求⑴召开支村两委会议、党员会议、村民代表会议,实参会人员必须达到应参会人员的三分之二以上方可开会;⑵讨论表决通过的事情必须经实到会人员半数以上人员通过方可有效;⑶表决形式可选择口头、举手、无记名投票三种形式中的任何一种;⑷讨论确定某个分管领导所提议的问题无特殊情况必须有其分管领导参会,否则,本次会议暂不确定。
二、两“公开”要求1、决策过程公开:经过“四议”所决定的工作在实施过程中,要将实施的每一个环节进行公开,公开的内容包括:工作进展情况、资金使用情况、存在哪些问题、下阶段如何开展,让广大群众对该项工作有充分了解。
四议两公开具体内容和程序一、主要内容:“四议两公开”工作法的主要内容是:所有村级重大事项和涉及群众切身利益的相关事项都要在村党组织领导下,按照“四议”、“两公开”的程序决策实施。
“四议”即:村党支部会提议,村“两委”会商议,党员大会审议,村民代表会议或村民会议决议;“两公开”即:决议公开,实施结果公开。
二、决策事项:凡是村级重大事务和与农民群众切身利益相关的事项,都要按照“四议两公开”工作法决策、实施。
主要内容包括:新农村建设长期规划和年度工作计划;村集体土地的承包、租赁;公益事业经费筹集、组织实施与管理;集体经济项目的立项、承包及公益事业的建设承包;集体资产购建与处理;村组建设规划、土地征用及补偿分配、宅基地审报;计划生育、农村低保、新型农村合作医疗等政策和制度的落实;重大救灾救济款物的发放,以及其他应当民主决策的事项法律规定必须由村民会议讨论的事项,按有关法律规定执行。
三、决议程序:“四议两公开”工作方法分六个环节实施,要永决策过程中要做到提议准确,商议充分,审议广泛,决议民主公开准确及时,必须按照以下步骤组织实施:1、村党支部会提议。
对村内重大事项,由村党支在充分征求党员村民代表及广大村民意见和认真调查认证的基础上,集体研究提出初步意见和方案,使提议符合中央和省、市、区的要求,符合本村发展实际,符合群众意愿的原则,集体研究提出初步意见和方案。
2、村“两委”会商议。
根据村党总支的初步意见,组织“两委”会进行商议,在商议之前,村党组织书记提议前将提议内容与村委会主任通报并充分沟通。
同时提前将提议议题口头或书面发至“两委”班子成员手中,待充分酝酿、调研、思考之后,再组织“两委”班子成员讨论,发表意见。
对意见分歧比较大的事项,按照少数服从多数的原则形成商议意见。
3、党员议事会或党员大会审议。
对村“两委”商定的意见,提交党员议事会或党员大会讨论审议。
召开党员议事会或党员大会审议前,须把村“两委”商议方案发书面或口头形式,提前一周向党员议事会或党员大会进行通报,在党员中充分酝酿并征求村民意见,提前做好沟通工作;党员议事会或党员大会审议时,到会党员人数须议事会成员数的或党员总数的以上,审议事项经应到会议事会成员人数的或应到党员人数半数以上同意,方可提交村民代表会议或村民会议表决。