施工组织设计(附图例)
- 格式:docx
- 大小:362.04 KB
- 文档页数:101
附表一施工总体计划表
2.各个项目的进程可用线条的长短来表示。
0 10 20 30 40 50 60 70 80 90 100
工期历程的百分比(%)
附表四分项工程生产率和施工周期表
附表五施工总平面图
附表六劳动力计划表
附表七临时占地计划表
附表八外供电力需求计划表
附表九合同用款估算表
注:1.投标人可按附表一的工程进度估算并填写本表。
2.用款额按所报单价和总额价估算,不包括价格调整和暂列金额、暂估价,但应考虑开
工预付款的扣回、质量保证金的扣留以及签发付款证书后到实际支付的时间间隔。
施工组织设计附图附图 1 项目组织管理机构图专项工程指挥部总指挥/总经理副总指挥/总工程师合同管理设计管理资料管理工程管理安全管理质量管理财务部现场项目部项目经理/项目副经理现场执行经理安全管理质量管理技术管理计划管理材料管理资料管理消防电系统消火栓系统自动喷洒系统固定消防水炮系统气体灭火系统消防系统工程施工队各专业施工队消防电消火栓自动喷固定消气体灭系统系统洒系统防水炮火系统施工队施工队施工队施工队施工队附图 2 施工进度计划网络图附图 3 劳动力计划表设备调 试阶段384133 联合调 试阶段388133 检测验 收阶段334133设备安 装阶段3121013工种技术 人员 水工电工协调 人员 设备 安装 技术 人员 设备 调试 技术 人员管线试 验阶段3106管线施 工阶段320121准备 阶段322单位:人按工程施工阶段投入劳动力情况附图 4 拟投入的主要施工机械设备表及进场计划序号1 2 3 4 5 6 7 8 910111213141516设备名称电焊机套丝机电动试压泵滚槽机开孔机切割机台钳电锤手电钻专用配电箱台钻焊锡炉兆欧表数字万用表加烟试验器加温试验器型号规格BX1-300ART-34DSB-140GC-BKB114CD12F150mmTE25JDG-10EA10AZQ4113ZC25-3YF3501GAY-03GAY-04数量2331124828122221用于系统水系统水系统水系统水系统水系统水系统水系统水电系统水电系统水电系统水电系统电系统电系统电系统电系统电系统进场时间2022.3.12022.3.12022.3.12022.3.12022.3.12022.3.12022.3.12022.3.12022.3.12022.3.12022.3.12022.4.152022.4.152022.3.12022.6.12022.6.1附图 5 主要设备材料用量计划单位 数量单位 数量2022.4.13 2022.4.13 2022.4.13 2022.4.13 2022.4.13 2022.4.13 2022.4.13 2022.4.13 2022.4.13 2022.4.13 2022.4.13 2022.4.13 2022.4.13 2022.4.13 2022.4.13 2022.4.13 2022.3.19 2022.3.19 2022.3.19 2022.3.19 2022.3.19 2022.3.19 2022.3.19 2022.3.19湿式报警阀 水流指示器LD128E-512C LD6800 LD7100 LD7200 LD7000E 显示器 21 英寸 LD9100E-10C LD5900E(B) LD3000E LD3300E LD2000E-A LD2000E-A LD4400E-1 LD6800E-1、2 LD8100 总线 LD7300A ZRRVS2*1.5 ZRRVS2*2.5 ZRRVVP2*1.5 NHBV2.5 ZN-KYJV6*1.5 ZN-KYJV4*2.5 ZN-KYJV22 4*2.5 ZN-KYJV2224*2.5自动喷水灭火系统DN150 DN100、150火灾报警控制器 总线电话主机 消防广播录放盘 消防广播功放盘 消防广播分配盘 CRT 彩色显示系统 多线联动控制盘 消防标准机柜 感烟探测器 感温探测器 手动报警按钮 消火栓按钮 单输入模块 控制模块 总线电话分机 吸顶式扬声器 阻燃双绞线阻燃屏蔽电线 耐火电线 耐火交联电缆1 1 1 1 1 1 12 198 4 28 45 56 29 10 62 3402 1022 1575 1661 422 1104 81 1041 61 2 3 4 5 6 7 8 9 10 11 12 13 14 15 16 17 18 19 20 21 22 23 2425 26台台台台台套 台台只 只 只只只只部只 米米米米规格型号规格型号 进场时间进场时间 火灾自动报警及联动控制系统2022.5.15 2022.5.15序号序号名称名称 套个27 信号蝶阀 DN100、150 个 7 2022.5.1528 洒水喷头 ZSTX、ZSTZ DN15 个 521 2022.5.1529 镀锌钢管 DN25-DN150 米 3261 2022.3.1830 水泵接合器 SQX100-1.6 套 3 2022.5.15消火栓系统31 室内消火栓箱体1000*700*160 套 45 2022.5.1532 室外消火栓 SA100、65-1.6 套 4 2022.5.1533 蝶阀 D71X-16 DN10、0 70 个 24 2022.5.1534 闸阀 Z41X-16C DN100 个 2 2022.5.1535 止回阀 HB41X-16 DN100 个 2 2022.5.1536 水泵接合器 SQX100-1.6 套 2 2022.5.1537 焊接钢管 DN100、70 米 937 2022.3.18灭火器38 手提式干粉灭火器磷酸铵盐 3A 具 142 2022.6.29固定消防水炮灭火系统39 电动消防炮 PSKD20 套 4 2022.5.540 现场手动操作盘 CX-SDP-20 台 4 2022.5.541 炮前电磁阀 DN100 个 4 2022.5.542 水流指示器 DN100 个 4 2022.5.543 系统控制主机套 1 2022.5.544 彩色监视器 21 英寸台 2 2022.5.545 UPS 电源台 1 2022.5.546 红外光束烟雾探测器 GST102 组 16 2022.5.547 红外摄像机 CCD 套 8 2022.5.548 现场手动控制盘 CX-SDP-20 台 4 2022.5.549 现场控制备用电源 CX-XD-20 台 4 2022.5.550 现场控制器 CX-XCK-20 台 4 2022.5.551 系统控制主机包括以下设备:系统集成控制机 CX-XZKJ-20,烟雾探测报警主机,通信模块 TXMK-20,通信模块 TXMK-20,中央操作台 CX-ZKT-20,视频矩阵处理器 CX-SJC-20,硬盘录相机,图象火灾识别处理器 CX-BXT-10, 图象火灾报警处理器 CX-THB-20,集成控制电源 CX-JD-20,网络控制器CX-WK-20,区域控制器 CX-QK-20,系统自动集成处理器 CX-XTJ-20,系统手自动集成处理器 CX-XTJS-20,报警信号转换器 CX-XHZH-20,联动设备控制器 CX-LDP-20,中心手动控制盘 CX-ZSDP-20 以上设备数量为 1 台(只、套);4 组火灾信号图象探测组件4 组, 4 台多画面分割器 1 分 4,2台视频信号分配器。
施工组织设计附图施工组织设计附图1. 引言施工组织设计是指在工程施工过程中,为了保证施工进度、施工质量和安全,合理安排施工活动,确定施工方法、工序和施工物资等,编制的详细计划和图纸。
本文档旨在提供一个极致详细的施工组织设计附图示例,以供参考使用。
2. 项目概况项目名称:项目地点:工程规模:工程内容:工期要求:3. 施工单位基本信息施工单位名称:负责人:连系方士:执照耗.吗:4. 施工组织设计原则4.1 施工工艺合理性根据工程的特点和施工条件,选择合理的施工工艺,确保施工顺利进行。
4.2 施工进度合理性合理安排施工进度,明确每个施工阶段的时间节点,确保工期的控制。
4.3 施工质量保证确定合理的施工质量控制措施,确保施工质量符合规范要求。
4.4 施工安全保障制定详细的施工安全措施,保障工人和工程的安全。
5. 施工组织设计内容5.1 施工分部分项工程划分将施工工程划分为多个分部分项工程,并确定每个分项工程的施工方法和工序。
5.2 施工工序图绘制详细的施工工序图,标明每个工序的名称、工期、工作内容和相关技术要求。
5.3 施工物资表列出所需的施工物资清单,包括材料、设备、机械等,并注明数量和规格要求。
5.4 施工现场布置图绘制施工现场布置图,标明施工区域、设备摆放位置、临时工棚等。
6. 附件本文档所涉及附件如下:附件1:施工组织设计图纸附件2:施工物资清单附件3:施工进度计划表7. 法律名词及注释本文档所涉及的法律名词及注释如下:1. 执照耗.吗:指施工单位的工商执照注册耗.吗,用于合法经营的凭证。
2. 施工分部分项工程:指按工程项目特点和施工任务划分的工程单位,可以独立进行施工或组合施工。
施工组织设计(完整详细版)一、工程概况本工程位于市区,总建筑面积为平方米,地上层,地下层。
工程包括主体结构、装修、机电安装等多个分部工程。
根据甲方的要求和工程特点,本工程采用施工工艺和施工方法。
二、施工部署1. 组织机构:本工程将成立项目部,下设项目经理、技术负责人、质量负责人、安全负责人等岗位,负责工程的全面管理。
2. 人员安排:根据工程需要,合理配置各专业工种人员,确保施工进度和质量。
3. 物资供应:与供应商建立长期合作关系,确保材料、设备等物资的及时供应。
4. 施工机械:根据工程特点,选用合适的施工机械,提高施工效率。
5. 施工方案:针对不同分部工程,制定详细的施工方案,明确施工步骤、工艺要求和质量标准。
三、施工进度计划1. 总体计划:根据工程特点和甲方要求,制定总体施工进度计划,确保工程按期完成。
2. 分部工程计划:针对主体结构、装修、机电安装等分部工程,制定详细的施工进度计划,确保各分部工程有序进行。
3. 关键节点:明确工程的关键节点,如基础验收、主体结构封顶、装修完工等,确保工程进度可控。
四、施工质量控制1. 质量管理体系:建立完善的质量管理体系,明确各岗位职责和质量控制要求。
2. 材料质量:严格控制材料质量,确保材料符合国家规范和设计要求。
3. 施工工艺:严格按照施工方案和工艺要求进行施工,确保施工质量。
4. 检查验收:定期对施工质量进行检查验收,发现问题及时整改,确保工程质量。
五、施工安全措施1. 安全管理体系:建立完善的安全管理体系,明确各岗位职责和安全控制要求。
2. 安全培训:对施工人员进行安全培训,提高安全意识和操作技能。
3. 安全防护:设置安全防护设施,如安全网、安全帽、安全带等,确保施工安全。
4. 应急预案:制定应急预案,提高应对突发事件的能力。
六、环境保护措施1. 环保管理体系:建立完善的环保管理体系,明确各岗位职责和环保控制要求。
2. 噪音控制:采取有效措施降低施工噪音,减少对周围环境的影响。
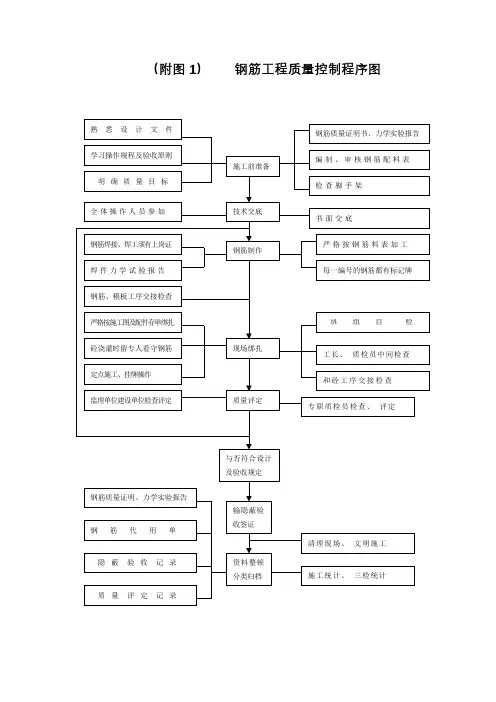
(附图 1)钢筋工程质量控制程序图附图 2 钢筋绑扎工程质量控制程序图操作人员参加交底 技术人员书面交底 施 焊技术交底成品保护接通电源引弧 钢 筋 端 头 120MM 范畴内除锈。
清理油污、水泥浆等认真按电渣焊准备工作 资料整顿质量证定不合格的返工解执行检查原则现场焊接实验证明原材料出厂合格证及材质证明 制订确保质量方法 学习操作规程和质量原则 学习图纸和技术资历 施工人员准备工具准备材料准备不得过早拆卡具,避免接 头弯曲变形焊接后不准砸钢筋接头, 不准往刚焊完的钢筋接头浇水焊接时搭架子。
不准踩已绑好的钢筋施工日志质量评定统计班组自检统计附图 3 钢筋电渣压力焊工程质量控制程序图熟悉设计文献优化支撑、模板系统学习操作规程及验收规范明确质量目的全体操作人员参加书面交底施工前准备技术交底预制构造的底模制作引测高程、投设轴线模板涂刷隔离剂复核标高、检查轴线弹出构件中心及边线与钢筋、砼工序交接检查支摸检查脚手架班组自检砼浇筑时留专人照看工长、质检员中间抽查专职质检员检查质量评定定点操作、挂牌施工否与否符合设计及验收规范下道工序优化拆模方案重点构件根据抗压强度报告,拟定拆模时间拆模清理机场、文明施工文明拆模、注意成品保护清理修理模板及支撑架“三检”统计质量验评记录资料整顿分类归档施工记录熟悉设计文献材料准备、材料证明或检查报告学习操作规程及验收原则砼试配、优化砼配合比明确质量目的施工前准备砼拌制、振捣及运输机械准备编制、化砼浇筑作业方案砼实验仪器及模具准备制订确保砼质量方法检查脚手架及运输通道全体操作人员参加书面交底技术交底模板、钢筋、砼工序交接专业会签监督后台计量、严格执行配合化申请浇灌砼开出砼配合比实验人员进一步现场调节配合岗位分工、持牌操作标准养护试块浇灌砼木工、钢筋工跟班确保质量班组自查工长、质检员跟班巡回检查养护草袋、浇水或刷无水养生液标准养护试块否质量评定与否符合专职质检员检查、评定原材料材质证明或检查报告清理现场、文明施工砼配合比砼浇灌许可证砼试块实验报告质量检查评定统计资料整顿分类归档砼施工记录检查记录工期影响因素分析图(附图 7)施工进度计划管理流程图(附图 8)施工质量管理体系图附图 11工程质量总控制图附图 13文明施工管理控制流程图附图 14附图6 ****小教学综合楼施工平面布置图职工宿舍食堂职工宿舍门卫行政楼厕所吊仓库甲供电源西教学楼办公吊加工棚水泥库钢筋堆场吊甲供水源钢筋堆场加工棚吊加工棚门图例及阐明:表达围墙表达施工用水管表达施工用电线表达施工用配电箱表达施工用吊蓝吊附图 9附图 10质量经理生产体系监控体系物资部工程部技术部质安部钢筋工程模板工程师混凝土工程钢构造工程吊装工程架子工程砌体工程水电设备安装材料采购工装修工程实验计量测量程案工资程料技术档管质理量监督与工程质量确保体系框图附图 12安全管理组织计划附图 15。
附图 4.3.1.1、工期管理组织机构附图 4.3.1.1 工期管理组织机构附表 4.3.4 技术措施运用一览表序号 名称 特点及运用目的1 全站仪测量定位技术 空间定位速度快,精度高,可缩短测量技术间歇。
2 钢筋滚压直罗纹连接技术 操作简单、质量稳定、能耗小、速度快且不受气候限制。
3 泵送混凝土技术 砼质量稳定,施工速度快。
4 季节性施工措施 保障冬期、雨期季节施工的计划安排,科学施工。
5 信息化施工技术 利用微机查询、优化方案,传递施工信息速度快。
物资设备管理机电安装管 理商务合约管 理安全环境管 理工程质量管 理技术设计 管 理土建工程 管 理计划协 调 管 理生产副经理 安装副经理 项目技术负责人主承建施工作业队专业工程分包商企业保障层作业班组项目经理附表 4.3.6.5-1 专业分包协调保障措施表措施 专业分包的选择专业分包的进场专业分包的协调附表 4.3.6.5-2序号1样板间施工材料、设备的确定及采购附表 4.3.6.7-1方面进度计划的策划实施调试方案的编 制与报审深化设计、设备材料确定保障措施表内容提前组织相关专业人员进行精装修及机电安装专业深化设计, 并与业主、 监理、 设 计进行沟通,将深化设计做细致。
制定样板间施工计划, 随着工程的发展, 按照计划施工样板层, 并将施工中遇到的 问题及时反馈到深化设计人员及业主,以进一步完善深化设计方案。
样板间确定后,会同业主、监理、设计确定出工程所涉及的材料、机电设备,以便能够提前加工及采购工程所需材料、设备,为工程进度赢得时间。
联合调试阶段的工期保障措施 根据工程进度安排进行专业分包,在对专业分包进行选择时,将与业主、监理等相关人员一起对专业分包进行考查、评价,最终确定出专业分包商。
编制专业分包进场计划,有计划的组织专业分包进场,确保各专业按时进场施工,不影响工期。
在精装修施工阶段,对于所有涉及的各专业,包括土建、机电安装、精装修、幕墙等专业,定期安排专业协调会,主要解决专业之间的交叉、协调配合问题,缩短协调时间,加快施工进度。
第1篇一、工程概况1. 工程名称:某住宅小区建设项目2. 建设地点:我国某市某区3. 建设规模:总建筑面积约30万平方米,住宅楼28栋,配套公建约3.5万平方米4. 工程性质:住宅小区5. 工程建设周期:预计48个月二、施工组织设计原则1. 科学合理:根据工程特点,制定科学合理的施工方案和组织设计。
2. 安全可靠:确保施工过程中的安全,防止事故发生。
3. 质量优良:严格按照国家标准和规范进行施工,确保工程质量。
4. 高效节约:优化施工组织,提高施工效率,降低施工成本。
5. 环保文明:落实环保措施,营造文明施工环境。
三、施工部署1. 施工顺序:按照“先地下,后地上;先主体,后附属;先结构,后装修”的原则进行施工。
2. 施工阶段划分:分为基础施工、主体结构施工、装饰装修施工、室外配套施工四个阶段。
3. 施工队伍组织:根据工程特点,合理配置施工队伍,确保施工质量。
四、施工进度计划1. 施工进度安排:根据工程特点,制定详细的施工进度计划,确保工程按期完成。
2. 施工节点控制:对关键节点进行严格控制,确保工程进度。
3. 施工资源调配:合理调配施工资源,确保施工进度。
五、施工准备1. 技术准备:组织施工技术人员进行技术交底,明确施工工艺和质量要求。
2. 现场准备:做好施工现场的平整、排水、供电、供水等工作。
3. 资金准备:确保工程所需资金及时到位。
六、资源配置1. 劳动力:根据工程规模和施工进度,合理配置劳动力,确保施工顺利进行。
2. 材料:根据工程需求,提前采购材料,确保材料供应。
3. 施工机具:根据施工方案,配置必要的施工机具,提高施工效率。
七、主要施工方案1. 基础施工:采用人工挖孔桩基础,桩径为800mm,桩长为18m。
2. 主体结构施工:采用现浇钢筋混凝土框架结构,墙体采用加气混凝土砌块。
3. 装饰装修施工:采用涂料、瓷砖、石材等装饰材料。
4. 室外配套施工:包括道路、绿化、照明等设施。
八、安全文明施工措施1. 施工现场安全管理:制定严格的施工现场管理制度,确保施工安全。
附图表四:施工进度计划管理流程
附图表五:施工进度计划控制组织体系
附图表六:项目组织机构管理图
附图表七:项目部各部门人员安排表
附图表八:项目部各部门职责表1.项目领导层职责
续表
2.项目管理层主要职责
附图表九:劳动力安排计划
附图表十:主要周转材料计划
附图表十一:主要施工机械设备投入计划
附图表十二:主要施工仪器设备计划
附图表十三:工程质量保证体系图
附图表十四:工程质量总控制图
附图表十五:施工阶段性质量控制措施图
附图表十六:工程质量目标分解
附图表十七:砼施工质量施工质量控制
附图表十八:钢筋施工质量施工质量控制
附图表十九:模板施工质量施工质量控制
附图表二十:安全生产管理体系
附图表二十一:安全健康管理目标
附图表二十二:安全防护用品配备
附图表二十三:安全防护重点
附图表二十四:环保文明施工管理体系
项目经理
文明施工督查小组
文明施工责任制文明施工管理体系文明施工教育
文明施工工作检查
岗位责任制
文
明
施
工
活
动
文
明
施
工
奖
惩
各职能部门
文明施工监察员
班组文明活动人员
义务文明活动队
岗
位
责
任
制
文
明
施
工
活
动
岗
位
责
任
制
文
明
施
工
活
动
奖惩兑现
提高文明施工
预控能力
提高文明施工
意识与能力
消除不文明施工。
某公寓小区桩基施工组织总设计班级:建经0902姓名:胡文凯学号:09042308目录一、编制说明 (1)二、工程概况 (2)三、工程地质条件 (3)四、工程具体设计参数 (4)五、施工前准备措施 (5)六、施工工艺流程 (6)七、工程质量管理体系及保证措施 (7)八、安全生产目标及保证措施 (8)九、文明施工措施 (9)十、突发事件的应急处理方案 (10)十一、施工横道图 (11)十二、施工总平面图 (12)一、编制说明①、《建筑桩基技术规范》JGJ94-2008②、《工程测量规范》GB50026-2007③、《建筑地基基础工程施工质量验收规范》GB50202-2002④、《建筑工程施工质量验收统一规范》GB50300-2001⑤、《建筑电气工程施工质量验收规范》GB50303-2003⑥、《建设工程项目管理规范》GB/50326-2001⑦、《先张法预应力混凝土管桩》GB13476-1999⑧、《预应力混凝土管桩图集》03SG409⑨、《建筑地基基础技术规范》DB42/242-2003二、工程概况工程名称:XXXX柳园1—6楼工程地点:XX市XX路设计单位:XX市建筑设计院建设单位:XXXX实业有限公司本工程位XX市XX路,由XX市地质工程勘察院勘察,XX市建筑设计院设计,本公司承担其中的桩基础工程的施工任务,工程设计为预应力高强度管桩,桩型采用PHC-A500-100,设计有效桩长为13米,施工工期预计为25:11月16日进场至12月26日完工(具体开工日期以监理工程师下达开工起计,具体安排见附表施工进度计划表)。
三、工程地质条件本场地由上至下由1层杂填土,2层为粉质粘土,3层为粉质粘土,4层为粉土,5层为砾砂,6层为强风化泥质砂岩,层面起伏不大,7层为中风化泥质砂岩。
其中(1)层杂填土为全场地覆盖,工程力学性能差,部分地区杂填土被揭走,桩机行走以及沉桩操作困难;(7)层含3号风化砂质泥岩为设计桩机端持力层,具体地基岩主要物理力学指标建议值如下表所示:四、工程具体设计参数●本工程±0.000为室内地面标高,相当于绝对标高为109.71米(需业主确认);●现场压桩时,施工沉桩长度以打桩桩机贯入度和设计桩长两项指标进行控制,贯入度控制为主,原则上应将桩段全部压入;●设计桩型为:PHCPHC-A500(100),平均有效桩长13米,桩身混凝土强度为C80。
施工组织设计结构图施工组织设计结构图是指在工程施工过程中,为了合理安排施工流程、优化资源配置、确保施工质量和安全,而制定的一份详细的施工组织设计方案。
该方案主要包括施工组织设计图纸和相关文档。
一、施工组织设计图纸的内容:1. 总平面图:展示施工现场的整体布局,包括建筑物、设备、道路、临时设施等的位置和相互关系。
2. 建筑物平面图:展示建筑物的平面布置,包括各个楼层的分布、房间的位置和用途等。
3. 建筑物立面图:展示建筑物的外立面设计,包括建筑物的高度、立面材料、窗户、门等的位置和形式。
4. 建筑物剖面图:展示建筑物的剖面布置,包括建筑物的结构、楼层高度、楼板厚度等。
5. 设备安装图:展示各种设备的安装位置和连接方式,包括电气设备、管道设备、机械设备等。
6. 施工流程图:展示施工过程中各个工序的顺序和关系,包括施工顺序、施工时间、施工方法等。
二、施工组织设计文档的内容:1. 施工组织设计说明书:对施工组织设计方案进行详细说明,包括设计原则、施工方案、资源配置、施工方法、质量控制等。
2. 施工组织设计计划:制定施工组织设计的详细时间计划,包括施工开始时间、各个工序的施工时间、关键节点等。
3. 施工组织设计报告:对施工组织设计方案进行综合评价和总结,包括设计的合理性、可行性、安全性等方面的分析和建议。
4. 施工组织设计文件:包括各种图纸、说明书、计划、报告等的电子版和纸质版。
施工组织设计结构图的编制过程一般包括以下几个步骤:1. 收集资料:收集与工程相关的设计文件、施工图纸、技术规范、安全标准等资料,为编制施工组织设计提供依据。
2. 初步设计:根据工程的特点和要求,制定初步的施工组织设计方案,包括施工流程、资源配置、施工方法等。
3. 评审修改:将初步设计方案进行评审,并根据评审意见进行修改和完善,确保设计方案的合理性和可行性。
4. 编制图纸:根据设计方案,绘制相应的施工组织设计图纸,包括总平面图、建筑物平面图、建筑物立面图、建筑物剖面图、设备安装图等。
目录第一章编制依据...................................................................................................................................1.1 工程合同..................................................................................................................................1.2 工程应用的主要规范、标准、规程......................................................................................1.3 工程应用的主要图集.............................................................................................................. 第二章工程概况...................................................................................................................................2.1 总体概况..................................................................................................................................2.2 建筑概况..................................................................................................................................2.3 结构概况.................................................................................................................................. 第三章施工部署...................................................................................................................................3.1 项目组织及职能划分..............................................................................................................3.2 工程合同划分.......................................................................................................................... 第四章施工方案...................................................................................................................................4.1 施工机械选择..........................................................................................................................4.2 测量放线工程..........................................................................................................................4.3 土方工程..................................................................................................................................4.4 钢筋工程..................................................................................................................................4.5 模板工程..................................................................................................................................4.6 混凝土工程..............................................................................................................................4.7 砌体工程..................................................................................................................................4.8 装饰装修工程..........................................................................................................................4.9 屋面工程..................................................................................................................................4.10 脚手架工程............................................................................................................................ 第五章施工进度计划...........................................................................................................................5.1工期计划...................................................................................................................................5.2施工网络计划图....................................................................................................................... 第六章施工进度计划及保证措施.......................................................................................................6.1工期保证措施...........................................................................................................................6.2 技术保证措施.......................................................................................................................... 第七章工程质量保证措施...................................................................................................................7.1 质量保证措施.......................................................................................................................... 第八章安全文明施工措施...................................................................................................................8.1 安全保证措施 (25)8.2 环境保护、文明施工 (26)8.3 防火保证措施 (27)第九章季节性施工措施 (29)9.1 季节施工保证措施 (29)第十章施工平面布置 (31)10.1 施工平面布置依据 (31)10.2 布置原则 (31)10.3 布置内容 (31)参考文献 (33)致谢 (34)XX学校办公楼施工组织设计*杰****学院土木工程学院土木工程专业**** 400000摘要:本工程为XX学校办公楼,本工程位于**区江南新区陈家坝街道陈家坝社区,结构形式为框架结构,共6层,高24.9米首层层高4.5m,标准层高3.6米,总高度24.3m,总建筑面积2174.68㎡,设计年限为50年。
施工组织课程设计设计编号:1专业:工程造价(本)班级:指导老师:学号:姓名:施工组织课程设计一、工程概况Ⅰ.工程建设概况本工程为XX市某厂综合楼,位于金花路,由I部和II部组成L型转角楼.采用现浇柱,预制梁,整体装配式钢筋混凝土框架结构.(1)层高及建筑面积:I部五层,顶高21m,层高4.2m,II部为六层,顶高23.1m,1-2层层高4.8m,3、4、5层层高为3.3m,6层层高为3.6m.总建筑面积7834m2.(2)绝对标高,±0.00相当于绝对标高425.044.(3)结构方案:本工程为装配整体式框架结构,横向框架梁为预制迭合梁,纵向框架梁,次梁,柱,楼梯等均为现浇.楼盖除厕所、盥洗、水箱间及二层售饭处为现浇外,其余均为预制空心板,上有4cm整浇层.墙体为非承重墙,外墙为240m厚普通粘土砖墙,内墙为大孔空心砖墙.施工时横向预制梁吊装后再现浇纵向框架梁和次梁.(4)楼地面:水泥砂浆地面用于II部厨房和库房,教室宿舍等.水磨石地面用于上述以外地其它部位,底层地面垫层为60厚100#素混凝土.(5)顶棚及墙面:I部楼梯间为石膏板隔墙,贴白色塑料壁纸.其它顶棚及墙面均为石灰砂浆打底,纸筋灰罩面,喷白灰浆二道.(6)外墙面:为绿色水刷石,局部构件(檐口、阳台、雨蓬)及凸出墙面壁柱等贴马赛克. (7)屋面防水层:沥青胶隔汽层,水泥蛭石保温层,二毡三油防水层上铺绿豆砂.Ⅱ.工程施工概况㈠施工工期要求基础工程由甲方自己完成.施工单位由0.00开始,总工期为8个月.从1983年3月1日至同年10月30竣工.㈡地质及环境条件由勘测报告,土壤为一级大孔性黄土,天然地基承载力为15T/m2,地下水位在地表下6-7m.建筑场地北面和东面,南面均紧邻厂区,以墙为界,西南为金花路(见总平面图).㈢气象条件夏秋两季主导风向偏东,冬季北偏西.雨季为9、10两月.㈣施工技术经济条件本工程由XX市某建筑公司承担,该公司分派一个施工队负责.施工队有瓦工和抹灰工80人,木工24人,钢筋工15人,混凝土工40人,机械工8人,安装工12人,油漆工15人,共194人.根据需要可招收部分民工协助工作.施工用地水、电均从厂区取得.建筑材料及构件均可用汽车运入工地,多孔板及迭合梁均由市建工局半坡村预制厂制作.临建工程中除搅拌棚,木工硼,材料库等需设置外,办公及其它生活用房均可利用已建成地宿舍楼.可供施工选用地起重机有QT1-6型及QT1-2型塔吊.井架,门架等.汽车有解放牌(5T),黄河牌(8T)可以使用.卷扬机、搅拌机、木工机械、钢筋机械、混凝土振捣器、脚手架板等可按计划供应.二、施工方案及施工方法(一)划分施工段,并确定流水方向Ⅰ.施工流水段划分本工程地分部工程划分及施工程序为:主体工程→屋面工程→装修工程各分部工程地施工顺序如下:Ⅱ.施工段划分与施工流向主体工程:按建筑总平面图整个工程分为两个部分Ⅰ,Ⅱ,每部分为一段,Ⅰ为五层,Ⅱ为六层,总共分为11段.自西向东,由下而上组织流水施工.屋面工程:不分段,整体一次施工,油毡防水层施工后期做.装修工程:外装修——自上而下,一层一段,以墙面分隔缝处为界,自西开始,每层顺时针方向进行抹灰.内装饰——和主体工程分段一样,每层楼分两段,共11段,自上而下,从西向东进行流水施工. Ⅲ.施工机械地选择和布置(1)QT1-2型塔式起重机.由塔身、起重臂、底盘组成,回转机构位于塔身下部.该机塔身与起重臂可折叠,能整体运输.起重量1~2t,起重力矩160kN·m.(2)QT1-6型塔式起重机.由底盘、塔身、起重臂、塔顶及平衡臂组成,为上回转动臂变幅塔式起重机.起重量2~6t,起重力矩400kN·m,起重半径8.5~2m,起重高度26.5~40.5m,轨距3.8m,适用于工业与民用建筑地机构吊装.根据工程需要选用QT1-6型塔式起重机两台,起重机地安装位置见施工平面图.(3)混凝土搅拌机设置:设置一台JS350L砼搅拌机及配置砼200L地砂浆机.(4)钢筋机械:为加快施工进度,所有钢筋均在现场制作,所用设备均配备钢筋弯曲机GN40A,钢筋切断机GJ-418钢筋对焊机UN-100.钢筋调直机GJ58/4各一台.(5)其他机械:主要有汽车、卷扬机、木工机械、混凝土振捣器、脚手架板等按需要选用.Ⅲ.主要承重结构地施工方法,顺序及施工要点1.土石方工程⑴工程概况:基础土方开挖为大开挖,开挖地标高及长、宽等待图纸出齐之后确定.⑵施工顺序:方格网复测→定位放线→推土机清土→基坑开挖→人工清底→验槽.⑶施工方法:开挖前进行方格网复测,然后进行建筑物地中心定位放线,主厂房地中心定位根据厂区控制网或建筑方格网按二级导线精度测设控制桩;推土机清土;基坑开挖;土方回填.2.基础工程基础工程由甲方自己完成.3.模板支设本工程模板、柱、梁采用组合钢模板,板采用九夹板、木档配钢管、钢支撑支模,有梁式全浇楼、屋面采用钢管满堂脚手架,柱间梁下脚手架地间距为500,两侧设两根脚手杆,以便固定梁侧模板,在两间根据板跨度和荷载情况经计算再定脚手根数,立杆和模板交接处用扣件固定.i.模板施工方法1)柱模板该工程所有方形柱模均采用组合木模现场拼装成型.模板地支撑利用柱轴线方向搭成地排架.排架又可兼作梁模及顶板地支撑体系,所以搭设时,排架尺寸尽可能兼顾多用.局部不好利用排架时,另设专用预留短钢管作为固定单体柱地下端支撑.柱子边长小于700mm时,每边预留一根;柱边长大于700mm时,每边预留三根.柱子底部设一道箍,向上间距依次设置柱箍,柱箍使用材料为Φ48壁厚3.5mm钢管以及φ14地螺杆,柱子中下部间距为300~400㎜,中上部间距400mm,以确保柱地截面尺寸,防止跑模.2)梁模板梁模板系统,包括梁底模、侧模均采用覆膜胶合板模现场拼装成型,个别不合模数地补以少量定型组合模板.梁模地支撑采用钢管、扣件搭成排架满堂支撑.立杆下采用150*150MM地木板料垫平.利用水平短钢管上铺木龙骨和胶合板,即可形成梁底模,短钢管间距一般为500-800mm,标高应严格控制.侧模与底模采用企口连接,以增强梁模地整体刚度.梁高小于700mm地,按一般要求施工,梁高大于700mm时,需在梁中下部增设对拉扁铁或钢筋螺杆,以防跑模.梁跨大于4.0m时,应按规定在梁地中部起拱,通常按净跨度地1/1000~3/1000起拱.3)楼板模板现浇楼面模板采用防水覆膜胶合板,模板地排布采用标准尺寸地整块竹胶板对称排列,不足部分尽量留在中央和端部,用胶合板锯成所需尺寸和形状补齐.模板下铺设50×100mm方楞木,楞木间距以250~300mm为宜,模板接头应放在木方楞中间.木方楞搁置在竖向钢管排架地最上一道水平横杆上,竖钢管底部设一道扫地横杆,往上间距1500mm处设置一道横杆,立杆间距一般为900~1000mm,每道轴线设置剪刀撑.4)楼梯模板楼梯模板均采用木模板,施工前根据实际层高放样,在支设时,须注意楼梯转角处两级踏步各自留出20MM厚粉刷厚度.楼梯模板均采用18㎜胶合板为斜梯板底模,斜木楞为50×100,间距不大于200,支撑系统均采用50×100木料,水平拉条,斜剪刀撑均用30×50木料固定.5)构造柱、圈梁模板(按强制性条文有关规定设置):构造柱模板采用18㎜厚胶合板,木背枋料间距≯300㎜,模板安装必须待墙体砂浆达一定强度后方可进行,模板安立后用φ12螺栓穿入砌体预留洞,将φ48钢管围檩固定,拧紧.柱边第大于600mm时,柱箍用Ф16对拉螺栓拉结;梁高大于700mm时,在距梁底2/3处加Ф12对拉螺栓,对拉螺栓采用圆钢现场加工制作.所有构造柱模板均需仔细校正垂直度,并在适当位置预留临时孔洞,以便清理及检视.圈梁模板安装时,先复核墙砌体高度尺寸无误,同时待砌体达一定强度时才安装,圈梁模板就位,按放在50×100@夹木上待模调整后用Ф12穿墙螺栓将模板拧紧,要圈梁侧模处于垂直状态,断面尺寸须符合设计要求,待钢筋绑扎后,模板上口钉上木拉条.ii.模板地拆除拆除顺序一是先支地后拆,后支先拆,先拆除非承重部分,后拆除承重部分.模板地拆除须严格控制拆模时间,砼必须达到规范拆模强度方可拆除.一般墙、柱、梁侧模拆除时, 以砼强度达到其表面棱角不因拆模而损坏为原则,其拆模强度需≥3.5N/mm2.楼梯侧模要等混凝土强度达到设计强度地80%方可拆除.梁板底模地拆除:跨度>8米时须在砼达到设计强度地100%方可进行,跨度≤8米时须在砼达到设计强度地75%方可进行,悬臂构件须在砼达到设计强度地100%方可进行.砼强度由同条件养护地砼试块经试验确定.墙、柱、梁侧模拆除前,须先将穿墙、对拉螺栓卸掉,拆模时要小心作业,以确保砼表面及棱角免受损害.满足强度要求后,按照规定及时拆模,有利于模板地周转,又加快施工进度,所以是值得重视地一项工作.在现场模板拆除过程中,须逐块传递下来,不得随意抛掷.拆下地模板随时清理干净,作必要地修整,并涂上脱模隔离剂,按规格分类堆放整齐.iii.质量要求⑴模板及其支撑结构必须具有足够地强度,刚度和稳定性,能够承受新灌筑砼地重量和侧压力以及施工荷载.⑵模板地内侧要平整,接缝严密,不得漏浆.⑶模板安装后应他细检查各部位构件是否牢固,在浇灌砼过程中要经常检查,如出现变形,松动等现象,要及时修正加固.⑷固定在模板上地预埋件和预留洞均不得遗漏 ,安装必须牢固,位置必须准确.⑸模板在浇灌前还应检查下列内容:①扣件规格与对拉螺栓地紧固情况;②斜撑、支柱地数量和支撑点;③对拉螺栓及支柱地间距;④各种预埋件和预留孔洞地规格尺寸、数量、位置及固定情况.iv.安全要求:⑴工作前应先检查使用地工具是否牢固,扳手等工具,必须用绳链系挂在身上,以免掉落伤人,工作时要思想集中,防止钉子扎脚和空中悬落.⑵安装与拆除5m以上地模板,应搭脚手架,并设防护栏杆,防止上、下在同一垂直面操作.⑶遇六级以上地大风时,应暂停室外地高空作业,雪霜雨后应先清扫施工现场,略干不滑时再进行工作.⑷二人抬运模板时要互相配合,协同工作,传递模板、工具应用运输工具或绳子系牢后升降,不得乱扔.模板装拆时,上、下应该有人接应,模板及木方应随装拆随运送,严禁从高处掷下,高空拆模时,应有专人指挥,并在下面标出工作区,用绳子和红白旗加以围栏,暂停人员过往.⑸模板上有预留洞口应安装后将洞口盖好.⑹拆除模板时操作人员要戴好安全帽,站立在安全地点操作,防止上、下在同一垂直面工作.⑺拆下地模板要及时清理,堆放整齐,防止钉子扎脚和保持施工场地文明.v.模板支撑计算:⑴荷载计算:a .模板及支架自重:考虑为1100N/m2b .新浇筑砼自重(包括钢筋)考虑楼板平均厚度为300mm:25×0.3×103=7500N/m2c .施工人员及施工设备自重①计算模板及直接支承模板地小楞时,均布荷载为2.5kN/m2,另以集中荷载2.5kN再行验算,比较两者得到地弯矩值取其大者.②计算直接支承小楞结构构件时,均布荷载为1.5kN/m2③计算支架立场柱及其他支承结构构件时,均布荷载为1.0kN/m2d.振捣砼时产生地荷载:对水平面模板为2kN/m2对垂直面模板为4kN/m2e .倾倒砼时产生地荷载产生地水平荷载为2kN/m2⑵支承结构计算结构计算地中心是确定脚手架地最大安装高度,以一步距和间距分别为 1.5m、1.2m,架宽为1.2m,用于承受梁板砼等荷载支撑.①荷载计算:动力系数为1.2,活载1.4,超载系数为2.1)操作层:W1=2×(1.2×1.1+1.2×7.5+1.4×1.5+2×1.4+1.4×2)=36.04kN/m22)非操作层荷载计算:剪力撑长度近似按对角支撑计算:l=(1.52+1.22)1/2=1.92m每跨脚手架面积S=1.5×1.2=1.8m2钢管理论重荷38.4N/m,扣件地重荷按20N/个计算非操作层荷载:W2=[(1.5×2+1.2×2+1.2+1.92×2)×38.4×1.4+20×4]/1.8=356N/m2②每根立杆设计荷载计算:N= An[f y+(η+1)σ1/2]-{[f y+(η+1)σ2/2]1/2-f yσ}/2An=4.89×102mm2i=15.78mmL0=μl=0.77×1.5m=1155mmλ= L0/i=1155/15.78=73.19欧拉临界应力:σ=πE/λ2=π×2.1×105/73.192=387N/mm2η=0.3×1/(100i)2=0.12f y=170N/mm2每根立杆设计荷载N为N=4.89×102{[170+1.12×387]/2-[(170/2+1.12×387/2)2-170×387]1/2}/2=34.9kN③计算安装高度:S×(W1+W2×n)=34.9kNS —每根立杆受荷面积S=1.8/2=0.9m2η=(34.9-36.04×0.9)×103/356×0.9=7.7层计算安装高度η=1.5×7.7=11.55m安全系数K=1+48.8/200=1.25实际安装高度H=11.55/1.25=9.24m现从承台连梁底面(-0.80)到三层顶(标高7.87)地高度:H1=8.67m<H=9.24m.所以支撑情况满足稳定要求.4.钢筋工程a)钢筋绑扎钢筋绑扎前应先熟悉图纸,按设计要求检查已加工好地钢筋规格、形状、数量、长度是否正确,并按预先确定地绑扎顺序将钢筋运至指定地点.钢筋保护层:基础底板为35 mm厚,采用50×50×35地混凝土垫块;顶板、楼梯、墙分别为15 mm、10 mm厚;梁、柱分别为25 mm、30 mm厚,墙体采用专制硬塑钢筋保护层卡,其他部位均采用混凝土垫块.i.基础底板钢筋绑扎:1)工艺流程:弹钢筋位置线→铺设底层钢筋→放垫块→敷设专业管线→安放支架→标识上层钢筋网间距→铺设上层钢筋→锥螺纹节点连接→二次放线确定插筋位置→墙、柱插筋→申报隐检→隐检签证→转入下道工序.2)底板钢筋底筋从消防水池、集水坑处开始向四周辐射进行绑扎,上筋自东向西依次进行.3)底板采用Ф20、Ф25钢筋,直径粗,重量大,由塔吊运送到底板作业面,边吊运边按线铺放钢筋,布置Ф20钢筋支架,间距为1.2 m,确保钢筋间距符合设计要求.在底板四周立钢管,固定钢筋端头定位筋.4)钢筋接头:底板下铁接头在跨中,上铁接头在支柱.5)为防止墙、柱插筋及甩出上层地搭接筋在浇筑砼过程中位移,墙、柱立筋下端附加Ф12水平筋与底板上层筋绑扎连接,上端用Ф14临时定位箍固定.ii.墙体钢筋绑扎:1)墙体钢筋绑扎技术要点:①钢筋混凝土墙钢筋应逐点绑扎,水平钢筋在外,竖向钢筋在内,双排钢筋之间设拉筋和钢筋梯进行绑扎就位.②钢筋混凝土墙水平筋要锚固在框架柱内,锚固长度要符合表3-1要求.③钢筋混凝土墙开洞时,当洞口边长或直径≤300 mm时,钢筋不切断而绕洞口而过;当洞口边长或直径在300-800 mm或直径≤Ф800 mm时,墙筋应切断,洞口周边设加强筋,其面积不得小于被切断钢筋地面积,且每边不小于2Ф18.④修整合模以后,对伸出地墙体钢筋进行修整,并绑一道临时定位筋,墙体浇灌混凝土时安排专人看管钢筋,发现钢筋位移和变形及时调整.iii.梁、柱钢筋:1)在基础底板进行柱插筋施工时,要严格核对图纸,确保钢筋型号及位置准确无误,所有插筋下端平直弯钩均应伸至底板底筋处绑扎牢固.2)框架梁上部纵向钢筋应贯穿中间节点,梁下部纵向钢筋伸入中间节点地锚固长度及伸过轴线地长度要符合表3-1要求.主次梁相交处,次梁纵筋应置于主梁受力纵筋之上.3)为防止柱插筋及甩出上层地搭接筋在浇筑砼过程中位移,柱立筋下端附加Ф12水平筋与底板上层筋绑扎连接,上端用Ф14临时定位箍固定.4)梁、柱箍筋要按设计要求及《建筑抗震构造详图》97G329(一)中地有关规定对加密区、搭接长度范围内进行局部加密绑扎.5)框架柱修整合模以后,对伸出地墙体钢筋进行修整,并绑一道临时定位箍筋,浇灌框架柱混凝土时安排专人看管钢筋,发现钢筋位移和变形及时调整.iv.楼板钢筋:1)工艺流程:核验模板标高→弹钢筋位置线→绑扎底层钢筋→安放垫块→敷设专业管线→安放马蹄铁→标识上层钢筋网间距→绑扎上层负弯筋钢筋→申报隐检→隐检验收→转入下道工序.2)楼板钢筋绑扎技术要点:①楼板负弯筋直径较小,加设铁马蹬间距为600 mm,梅花型布置,确保上层钢筋不产生挠度.②板筋遇洞口时,当D<300 mm时钢筋绕过洞口不截断;当D=300-600 mm时,钢筋遇洞口处截断,每边配置2Ф12地加强筋;当D=600-1000 mm时,钢筋遇洞口处截断,每边配置2Ф16地加强筋.③绑扎完楼板钢筋后,及时搭设人行马道,防止下道工序施工时直接踩踏钢筋上,使钢筋产生位移及变形.④浇筑砼过程中,安排专职钢筋工值班,发现钢筋位移和变形后及时修复,保证钢筋间距、位置、保护层符合设计要求.钢筋绑扎完经自检合格后报监理进行隐蔽工程检查,合格后方可进行下道工序施工.v.楼梯钢筋绑扎在楼梯支好地模板上,弹上主筋和分布筋地位置线.按设计图纸中主筋和分布筋地排列,先绑扎主筋,后绑扎分布筋,每个交点均应绑扎.有楼梯梁,先绑扎梁,后绑扎板钢筋,板筋要锚固到梁内.b)钢筋工程地质量控制i.质量管理点地设置包括钢筋品种和质量;钢筋规格、形状、尺寸、数量、间距;钢筋地锚固长度、搭接长度、接头位置、弯钩朝向;焊接质量;预留洞孔及预埋件规格、数量、尺寸、位置;钢筋位移;钢筋保护层厚度及绑扎质量.ii.预控措施应检查出厂质量证明书及试验报告,必须保证材料指标地稳定;加强对施工人员地技术培训,使其熟悉施工规范要求和基本常识;认真执行工艺标准,严格按技术交底要求施工;严格按照图纸和配料单下料和施工,弯钩朝向应正确;施工前应预先弹线,检查基层地上道工序质量,加强工序地自检和交接检查;对使用工具经常检测和调整,并检查焊接操作人员有无上岗证;对倾斜过大地钢筋端头要切除,焊后夹具不宜过早放松,根据钢筋直径选择合适地焊接电流和通电时间;每批钢筋焊完后,按规定取样进行力学试验和检查焊接外观质量.iii.成品保护措施设专人看护,严禁踩踏和污染成品,浇筑混凝土时设专人看护和修整钢筋,焊接前配看火人员和灭火设备.4.砌筑工程i.砌体品种及部位本工程300 mm厚外填充墙、内隔墙均采用加气混凝土砌块;地上各层150 mm厚内隔墙采用石膏空心砌块;各层卫生间管道井及排烟道等处150 mm厚墙体采用水泥空心砌块砌筑前应与水、电专业进行会审,水电需做管件预埋及预留孔洞处在技术交底时应有平面位置及具体做法要求.ii.施工准备⑴砌筑前一天将砌块以及和结构相接地部位洒水湿润,保证砌体粘结牢固.⑵穿墙管线及时预留到位.⑶钢筋混凝土及墙内每隔500 mm预留2 6拉结筋.⑷墙体根部先砌好烧结普通砖,高度不小于200 mm.⑸混凝土墙、柱上按500 mm水平标高控制线弹出砌块层数,灰缝厚度预先计算,相应地部位弹出门窗洞口尺寸线,并在楼板上标出窗口边线.iii.施工工艺⑴基层处理:将砌筑部位墙根表面清扫干净,抹砂浆找平层,拉线用水平尺检查平整度.⑵砌筑:1)砌筑前根据墙体尺寸、砌块地尺寸,进行排砖设计,不够整块时可切割成合适地尺寸,但不得小于砌块长度地1/3.2)水平和竖向灰缝地宽度应控制在10 mm左右,灰缝应横平竖直、砂浆饱满,水平灰缝地砂浆饱满度不低于90%,竖缝地砂浆饱满度不低于80%,竖向灰缝应采用加浆地方法,严禁用水冲浆灌缝.3)砌块施工时应满铺满挤,上下错缝,搭接长度不应小于90 mm;4)墙体与结构地拉结:柱、墙混凝土浇筑时预埋2∅6@500拉接筋,伸入隔墙长度不小于1000 mm,拉结筋应理直铺在水平灰缝内.5)配筋带地设置:墙体在窗上、下部及门上部按要求设置通长混凝土配筋带,配筋带高度为60 mm,配筋2∅6、∅6@300,配筋带与框架柱内预埋地拉结筋进行拉接.6)圈梁设置:对于高度大于3.0 m地墙体除设置配筋带外,于墙高中部设圈梁一道,圈梁配筋为4∅10、∅6@200.7)墙体砌筑到梁、板底时,应留70∽100mm空隙,墙体上设配筋带与梁、板底预埋地胀锚螺栓绑扎后,在抹灰前用M5砂浆填塞挤满.8)墙体与门窗口地连接:门洞边设混凝土抱框,抱框截面采用墙厚⨯100mm,内配2∅12/∅6@200,抱框截面沿高设2∅6@600拉筋与砌体拉结;9)构造柱地设置:外围护墙每隔3 m、内填充墙每隔5 m及墙体转角处均设置构造柱,构造柱配筋为4∅12、∅6@200,构造柱钢筋应在楼板混凝土浇注前按位置留置,其搭接长度应符合设计要求.构造柱处砌块应作成大马牙槎,并应先退后进.5.混凝土及钢筋混凝土为了保证砼地质量,减少因水泥过多而产生地水化热,因此严格控制材料质量,选用级配良好、各项指标符合要求地砂石材料,进场水泥必须有材质证明书,且对其强度和安定性等性能指标按批量进行检测,检测合格后再使用.混凝土运至浇注地点应不离析,不分层,组成成分不发生变化,并能保证施工所必须地坍落度.1)砼工程地工艺流程图:配合比设计、外加剂配置→原材料配置→运输搅拌→坍落度测定→砼泵受理→砼泵送→砼布料→砼浇筑振捣→砼养护、拆模、泵和输送管清洗、拆除2)施工准备浇筑砼楼层地模板、钢筋、预埋件及管线等全部安装完毕,经检查符合设计要求,并办好隐蔽验收手续.施工用电、振动器具等准备就绪.3)材料要求水泥:用325~425号矿渣硅酸盐水泥或普通硅酸盐水泥.砂:宜用粗砂或中砂.石子:构造柱、圈梁宜用粒径0.5~3.2厘米地卵石或碎石;板缝用粒径0.5~1.2厘米豆石或碎石.外加剂:根据要求选用早强剂和减水剂等.掺用时必须有试验依据.4)作业条件(1)混凝土配合比需经试验室确定,配合比通知单与现场使用材料相符.(2)模板牢固、稳定,标高尺寸符合要求,模板缝隙最大不得超过2.5毫米,过大者应堵严,并办完预检手续.(3)绑好钢筋并办完隐检手续.(4)构造柱、圈梁及板缝施工缝接搓处地松散混凝土和砂浆,应剔凿清理并将模板内杂物清除干净.(5)常温施工时,在混凝土浇灌前,砖墙、木模应提前适量浇水湿润,但不得有积水.5)操作工艺a)柱墙砼浇筑⑴柱墙砼浇筑采取塔吊布料方式进行,按中、边、角地顺序依次施工,有利于整体结构地稳定,并可防止砼地浇注过程中地侧压力而引起梁柱地倾斜和偏移.⑵柱墙砼分层浇筑振捣,每层浇筑厚度控制在500左右,砼地下料点应分散布置,循环推进,连续进行,用振动棒振实,浇筑过程中派有经验泥水工观察是否有漏振捣,随时敲打模板,有异常现象及时与上部振捣人员联系,并报告施工值班人员及时采取措施进行处理.⑶柱截面小于300×300mm时应先把振动棒插到底且振动,再向柱内下料,然后边振边拔振动器连续浇筑完毕.⑷浇筑墙体洞口时,要使洞口两侧砼高度大体一致,振捣时振动棒应距洞边300以上,并从两侧同时振捣,以防止洞口移位变形.大洞口下部模板应开口并补充振捣,然后再封口.⑸柱子地施工缝按规范留置在主梁底平.⑹墙体地施工缝按规范留置在主梁底盘或门过梁跨度1/3范围内.砼浇筑完毕应清理干净施工现场,做到工完料清.b)梁板砼浇筑⑴梁板砼浇筑采用泵送送料塔吊及人工布料方式进行连续浇筑.⑵梁板应同时浇筑,浇筑方式应由一端开始用“赶浆法”保持水泥烟梁底包裹石子向前推进.先将梁分层浇筑成阶梯形,当达到楼板位置时再与板地砼一起浇筑.⑶防止浇筑砼时人员采踏钢筋地措施,将塔吊作布料机使用,使用方法见后图,在泵管工作范围两侧各铺设一道施工通道,作为施工人员通行及绳牵引软管布料用.⑷梁和板连成整体地大断面梁,允许将其单独浇筑,其施工缝应留在底板以下20~30mm,浇筑时下料与振捣必须紧密配合,第一层下料慢些,梁底充分振实后再下二层料,仍用“赶浆法”向前推进,每层均应振实后再下料.振动棒振捣砼地每一振点地延续时间应使砼表面呈现浮浆和不再沉落,无气泡浮出为止.振动棒地移动间距不宜大于振动器作用半径地1.5倍,振动棒与模板地距离不应大于作用半径地0.5倍,并应避免碰撞钢筋、模板预埋件、振动棒插入下层砼内深度不小于50mm.⑸浇筑板地砼虚铺厚度应略大于板厚,用平板振动器垂直于浇筑方向来回振捣,也可用插入式振动棒顺浇筑方向拖拉振捣,并用铁插尺和拉线检查砼厚度,振捣完毕用不短于2m地刮尺或拖板刮平,板面标高控制采用拉线控制,在浇捣板面砼前由测量人员在柱钢筋四角筋上抄出±0.5米地标高,以此控制板面平整度.⑹梁板砼应连续进行,当必须有间歇时,其间歇时间应尽量缩短,并在前层砼初凝前将次层砼浇筑完毕.砼地运输、浇筑及间歇时间不超过规范规定地时间1.5小时.⑺楼板砼收面工作应随砼地干硬速度情况进行,首先在砼振捣密实后用刮尺刮平,用木磨板收面一次,在第一次收面后1-2小时砼初凝前进行第二次收面,因泵送水泥含量大,为了减少收缩裂缝,待砼表面无水渍时,进行第三次研压抹光.柱、墙钢筋内同地砼面必须与板面砼平齐密实.⑻施工缝和后浇带地留设位置,严格按设计图纸要求及规范规定进行留置.施工缝或后浇带两侧砼缝表面与板面垂直用木板钢丝网挡牢,不得留斜槎.c)楼梯砼浇筑⑴楼梯砼采用小塌落度砼,用塔吊布料方式浇筑.⑵采用小塌落度砼是为了防止浇筑时流淌造成烂根现象地出现.楼梯砼自下而上浇筑,先振实底板砼,达到踏步位置与踏步砼一起浇筑,不断连续向上推进,并随时用木磨板将踏步上表面抹平.⑶.楼梯砼必须连续浇筑完成.。
附表一施工总体计划表
附表二分项工程进度率计划(斜率图)
年度2018年
季度一二三四
月份 1 2 3 4 5 6 7 8 9 10 11 12 图例:100(%)
施工准备90
路基填筑80
路面基层70
路面面层60
路面标志标线50
涵管及通道40
桥梁下部工程30
桥梁上部工程20
隧道10
2.各个项目的进程可用线条的长短来表示。
0 10 20 30 40 50 60 70 80 90
100
工期历程的百分比(%)
附表四分项工程生产率和施工周期表
附表五施工总平面图
投标人应递交一份施工总平面图,绘出现场临时设施布置图表并附文字说明,说明施工营地、料场、临时设施、加工车间、现场办公、设备及仓储、供电、供水、卫生、生活、道路、消防等设施的情况和布置。
附表六劳动力计划表
单位:人
附表七临时占地计划表
附表八外供电力需求计划表
附表九合同用款估算表。
第一章编制说明及编制依据第一节编制说明本工程施工阶段设计图已完成,施工前期的准备工作已经就绪,具备开工条件。
我公司从施工方案、人员配置、机械配备、材料供应和工程服务等各个方面全力准备,诚意投标。
如果中标,我们将会把此工程列为本公司的重点工程,以雄厚的企业整体实力为依托、为后盾,优质快速地完成本次招标工程的施工,交出让业主满意的精品。
在本工程施工中,我们将以优质、快速、安全、文明为施工宗旨,本着对业主高度负责的态度,按合同控制工期进行合理安排部署,使施工忙而不乱、成本最低、效率最高、质量最好,达到国家验收合格标准。
同时在施工中,我公司将从业主利益出发,积极与质量监督部门、监理单位配合,协调好内外关系,通过对工序、材料、人员进行控制,进而保证工程质量,而且保证安全文明施工得到有效保障。
通过有效的环保措施,使声、光、尘污染得到控制,创建安全文明施工的模范工地。
在施工中本公司要发挥总承包效能,开展“增收节支、开源节流”活动。
通过对各类消耗的挖潜、控制、增效益、少花钱、多办事、办实事,将业主的每一分钱花到实处,以达到有效控制投资的目的。
本《施工组织设计》作为指导施工的技术性文件,编制时对各单位工程、单项工程、分部分项工程的施工工期、质量目标、项目管理架构设置与劳动力组织、施工进度计划控制、机械设备及周转材料配备、主要技术措施、安全、文明施工及降低成本、推广新技术等诸多因素尽可能做了充分考虑,突出其科学性、适用性及针对性。
第二节编制依据本施工组织设计编制依据:1、平凉市泾河南岸景观带改造提升灯饰亮化工程施工图;2、平凉市泾河南岸景观带改造提升灯饰亮化工程施工招标文件;3、平凉市泾河南岸景观带改造提升灯饰亮化工程招标答疑;4、现行国家规范、规定及标准;5、甘肃省有关规定;6、我公司多年来的亮化安装施工经验,现有施工管理资质能力和技术设备水平,根据本工程特点、施工现场实际情况、施工环境和施工条件。
7、技术规范标准(1)《城市道路照明工程施工及验收规程》CJJ89-2001;(2)《城市道路照明设计标准》CJJ45-2006;(3)《民用建筑电气设计规范》JGJ16-2008;(4)《建筑电气工程施工质量验收规范》GB50303-2002;(5)《35KV及以下电缆敷设》94D101-5;(6)《特种灯具安装》03D702-3;执行措施:开工前,针对工程性质和施工内容,搜集整理相关的国家、行业、地方强制性规范标准,并组织相关人员认真学习;工程施工过程中各级施工人员必须严格按照国家、行业、地方强制性规范标准要求作业;工程的检查和验收必须依据相关标准执行;积极推广应用“四新技术”,所采用的新技术应符合相关标准。
机械或者设备名称型号规格数量国别产地创造年份额定功率(KW)生产能力用于施工部位备注序号(工程项目名称)工程单位:人按工程施工阶段投入劳动力情况工种注:1 、投标人应按所列格式提交包括分包人在内的估计劳动力计划表。
2 、本计划表是以每班八小时工作制为基础编制的。
1、投标人应提交的施工进度网络图或者施工进度表,说明按招标文件要求的工期进行施工的各个关键日期。
中标的投标人还应按合同条件有关条款的要求提交详细的施工进度计划。
2、施工进度表可采用网络图(或者横道图)表示,说明计划开工日期和各分项工程阶段的完工日期以及分包合同签订的日期。
3 、施工进度计划应与施工组织设计相适应。
工程职务姓名职称证书名称执业或者职业资格证明级别证号毕业院校已承担在建工程情况主要项目名称如我单位中标,将实行拟派建造师负责制,并配备上述项目管理机构。
我方保证上述填报内容真实,若不真实,愿按有关规定接受处理。
项目管理班子机构设置、职责分工等情况另附资料说明。
专业项目数姓名毕业院校参加工作时间注册建造师执业资格 证书等级业绩及奖惩情况建设单位 项目名称年龄专业担任建造师年限注册建造师执业资格 证书编号开、竣工 日期须提供相应的证明文件(如:合同、竣工验收证明书)复印件加盖公章职务职称工 程 量建设规模奖惩情况性别质毕业院校性别年龄专业职务职称参加工作时间担任技术负责人年限业绩及奖惩情况建设单位项目名称建设规模开、竣工日期工程质量奖惩情况姓名。
施工组织设计(附图例)目录第一章总体概述一、编制依据二、编制目的三、工程概况四、工程范围五、工程特点、难点分析第二章施工现场管理机构及组织部署一、指导思想与实施目标二、配合业方按时完成整体工程计划措施三、项目管理班子主要管理人员配置四、项目管理人员岗位职责五、施工准备工作六、保证项目管理人员全部到场的承诺书第三章施工现场平面布置图一、布置原则二、布置依据三、平面管理体系四、管理计划的制定五、临时设施布置六、施工现场平面布置(附施工组织设计后)第四章劳动力计划安排一、劳动力计划劳动力安排保证措施第五章工程材料的进场计划、材料质量的控制方法一、材料进场计划二、材料保管制度三、材料质量的保证措施及控制方法四、材料供应保证措施第六章施工机械的进场计划,施工机械的配置、布局一、施工机械准备二、施工机具、检测设备进场计划三、主要施工机械设备一览表(详见附表)四、施工机械保障措施第七章施工进度计划,工期的保证措施及节点工期保证措施、赶工措施一、工程施工进度计划表二、总体进度及各节点保证措施三、进度计划保证措施原则四、保证工程进度的组织措施五、保证工程进度的管理措施六、工期协调保证措施七、工期检查保证措施八、赶工措施第八章各分部分项工程完整的施工方案,保证质量的措施一、各分部分项工程完整的施工方案(一)花岗岩地面铺装分项工程施工工艺及施工措施(二)、防腐木栈道分项工程施工工艺及施工措施(三)、施工质量措施:(四)、成品保护技术措施(五)安全环保技术措施二、侧石铺装分项工程施工工艺及施工措施三、绿化分项工程施工工艺及施工措施四、质量保证体系及保证质量的措施五、质量检查制度六、保证工程质量的技术措施七、工程质量予、过、决控制(一)施工前的质量控制(二)施工过程中的质量控制八、质量检验控制第九章主要分部分项工程质量控制标准及控制措施一、花岗岩地面铺装的质量控制标准及控制措施二、防腐木栈道铺装的质量控制标准及控制措施三、侧石铺装的质量控制标准及控制措施第十章工程项目实施的重点、难点分析和解决方案一、石材作业的重点、难点分析及解决方案二、侧石作业的重点、难点分析及解决方案第十一章各工序的协调措施一、与业主监理的协调配合二、与设计单位的协调配合三、分包计划和对分包队伍的配合措施四、与配合总包的管理措施第十二章保证安全生产、文明施工,减少扰民降低环境污染和噪音的措施一、安全生产保证措施二、文明施工措施三、减少扰民、降低环境污染和噪音的措施第十三章雨季施工措施第十四章地下管线及其他地上地下设施的保护、加固措施第十五章成品保护措施第十六章施工现场环保措施一、工作目标二、组织管理三、工作制度四、环境保护措施第十七章施工现场维护措施一、现场用电维护措施二、现场仓储措施三、现场运输设备四、现场巡视维护措施第十八章工程交验后服务措施一、工程验收二、移交照管服务措施二、售后服务第一章总体概述、编制依据以本工程招标文件、图纸说明的标准、内容,及变更、补疑的具体内容为准。
目录第一章总体概述一、编制依据二、编制目的三、工程概况四、工程范围五、工程特点、难点分析第二章施工现场管理机构及组织部署一、指导思想与实施目标二、配合业方按时完成整体工程计划措施三、项目管理班子主要管理人员配置四、项目管理人员岗位职责五、施工准备工作六、保证项目管理人员全部到场的承诺书第三章施工现场平面布置图一、布置原则二、布置依据三、平面管理体系四、管理计划的制定五、临时设施布置六、施工现场平面布置(附施工组织设计后)第四章劳动力计划安排、劳动力计划二、劳动力安排保证措施第五章工程材料的进场计划、材料质量的控制方法一、材料进场计划二、材料保管制度三、材料质量的保证措施及控制方法四、材料供应保证措施第六章施工机械的进场计划,施工机械的配置、布局一、施工机械准备二、施工机具、检测设备进场计划三、主要施工机械设备一览表(详见附表)四、施工机械保障措施第七章施工进度计划,工期的保证措施及节点工期保证措施、赶工措施一、工程施工进度计划表二、总体进度及各节点保证措施三、进度计划保证措施原则四、保证工程进度的组织措施五、保证工程进度的管理措施六、工期协调保证措施七、工期检查保证措施八、赶工措施第八章各分部分项工程完整的施工方案,保证质量的措施、各分部分项工程完整的施工方案(一)花岗岩地面铺装分项工程施工工艺及施工措施(二)、防腐木栈道分项工程施工工艺及施工措施(三)、施工质量措施:(四)、成品保护技术措施(五)安全环保技术措施二、侧石铺装分项工程施工工艺及施工措施三、绿化分项工程施工工艺及施工措施四、质量保证体系及保证质量的措施五、质量检查制度六、保证工程质量的技术措施七、工程质量予、过、决控制(一)施工前的质量控制(二)施工过程中的质量控制八、质量检验控制第九章主要分部分项工程质量控制标准及控制措施一、花岗岩地面铺装的质量控制标准及控制措施二、防腐木栈道铺装的质量控制标准及控制措施三、侧石铺装的质量控制标准及控制措施第十章工程项目实施的重点、难点分析和解决方案一、石材作业的重点、难点分析及解决方案二、侧石作业的重点、难点分析及解决方案第十一章各工序的协调措施一、与业主监理的协调配合二、与设计单位的协调配合三、分包计划和对分包队伍的配合措施四、与配合总包的管理措施第十二章保证安全生产、文明施工,减少扰民降低环境污染和噪音的措施一、安全生产保证措施二、文明施工措施三、减少扰民、降低环境污染和噪音的措施第十三章雨季施工措施第十四章地下管线及其他地上地下设施的保护、加固措施第十五章成品保护措施第十六章施工现场环保措施一、工作目标二、组织管理三、工作制度四、环境保护措施第十七章施工现场维护措施一、现场用电维护措施二、现场仓储措施三、现场运输设备四、现场巡视维护措施第十八章工程交验后服务措施、工程验收----------------- 精品word文档值得下载值得拥有 -----------------------------------二、移交照管服务措施三、售后服务第一章总体概述一、编制依据以本工程招标文件、图纸说明的标准、内容,及变更、补疑的具体内容为准。
本工程执行下列有关规范、规程但不限于以下规程、规范:《天然花岗石建筑板材》GB/T18601-6001《天然石材统一编号》GB/T17670-1999《城市道路工程质量检验标准》DB29-60-6003《建筑工程施工质量验收统一标准》GB60300-6001《建筑工程质量验收规范》GB60210-6001《城市绿化施工及验收规范》GB/T60375-6006以上规范标准若有更新,以本项目实施期间国家及地方颁布的最新版本为准。
国家、盐城市对农民工管理的有关法律、法规的规定与农民工签订合同,按时支付农民工工资,不得拖欠。
有关建筑材料质量标准与管理规程。
有关建筑材料试验规程、规范和评定标准。
主管部门对相关规程、规范的补充规定和解释说明及其它相关标准。
二、编制目的本施工组织设计是大纵湖倪杨村景观绿化工程在施工过程中的技术、质量、安全文明施工和组织管理等的各项过程的综合性文件,对于保证本工程施工的顺利进行,实现成本预期的进度、质量、安全、文明施工及环境保护、组织管理、技术管理、成本管理、资料管理等目标具有重要的指导意义。
保证公司质量方针的有效贯彻。
确保本工程项目质量达到国家质量验收合格标准。
使安全、质量、进度、成本等环节均得到有效控制。
假定开工日期为2014年7月。
具体开工日期以招标人通知为准。
三、工程概况工程名称:大纵湖倪杨村景观绿化工程工程地址:盐城市盐都区大纵湖镇计划工期:60日历天工程质量标准:达到国家质量验收合格标准根据建设单位、招标文件要求,本施工组织设计力求简明,同时又涵盖了主要工作内容,其余各细部不详尽之处可在中标后依据建设方意图加以细化。
四、工程范围大纵湖倪杨村景观绿化工程主要包括:花岗岩铺装、防腐木安装、地上绿化景观工程的施工、验收及保修服务等工作。
五、工程特点、难点分析(一)量大工期紧:本工程为大纵湖倪杨村景观绿化施工图纸中的全部广场面层铺装,工程规模大,且有效施工工期为60个日历日,量大工期紧是本工程的显著特点,所以,我公司针对本工程情况特制定了工期保证措施见《施工进度计划,工期的保证措施及节点工期保证措施、赶工措施》(二)成品保护及临时用电:本工程面层铺装面积较一般,包括花岗岩铺装、防腐木安装、绿化景观工程等内容,所以现场要加大施工完成项目成品保护及临时用电的安全管理力度,避免安全事故的发生。
(三)工种、相关专业配合难度大:本工程作业面上工序穿插作业内容多,施工队伍专业性强,组织管理上要求科学、合理、先进。
为了保证整体的施工进度及相互配合的紧密程度,特在本项目中增加《各工序的协调措施》积极主动与业主、监理等单位的配合程度,保证工程整体的施工进度计划。
(四)花岗岩石材地面铺设控制难度大:本工程整个石材安装主要包括石材地面铺设,特点为整体施工面积大。
施工中控制水平度相应较难。
所以控制石材的平整度,高精度的统一标高非常必要。
本工程采用激光水准仪及激光经纬仪测量放线,同时在地面要多放几个标高控制点,保证这么大区域内的水平标高达到高精度标准。
施工中会遇到规格较大的块料铺贴,铺贴时与四周相邻的平整度保持一致比较困难,应严格按规范施工,避免以上问题的出现。
(五)专项重点难点分析:本工程具体分部分项工程的重点难点分析详见施工组织设计中的《工程项目实施的重点、难点分析和解决方案》(六)深化设计方案:本工程需通过详尽周密的深化施工方案和合理的工艺流程,有效控制施工中的各工艺点的精准度,把握整体效果,能使原设计难以满足的工艺缺陷,用完美的施工手段给予弥补。
(七)绿色、环保:现场材料均采用环保建材,同时加强材料进场的监测力度,不合格材料不允许使用的管理制度。
需要合理安排交叉工序,且杜绝二次破坏和重复污染,做好相应成品保护,所以在施工前应充分考虑造型、工艺的施工方案,材料的适合性和面材配料的适合性,以提升设计的创意追求。
(八)工艺及质量要求高:本工程地处盐城市盐都区大纵湖镇内,质量标准要求质量达到国家质量验收规范合格标准,根据本工程设计及工艺要求高的特点,把握控制好质量成为工作重点,因此本工程将采用施工经验丰富、施工技术精湛的施工队伍施工,施工前充分考虑造型、工艺的施工方案,材料的适合性,通过精配料体现和提升原设计的创意追求。
第二章施工现场管理机构及组织部署一、指导思想与实施目标“百年大计、质量第一”是项目建设的永恒主题,是我公司管理人员、工程技术人员及广大职员的神圣使命,为确保此项目达到国家质量验收规范合格标准,我们本着“精心设计,精心施工;预防污染,保护环境;保障安全,关爱生命;遵纪守法,持续改进”的质量方针,精心完成每一个分部、分项工程,以使此工程保质保量按时完成,同时与客户建立起良好的企业文化氛围与合作关系。
(一)质量目标我公司依据招标文件要求,本工程的质量标准达到国家质量验收合格标准。
(二)环境、职业健康安全指标、目标如下:(1)环境部分:施工现场噪声达标施工固体废弃物分类处理节约电能(2)职业健康安全部分:保证用电安全火灾事故为零焊接作业意外伤害事故为零危险品泄露事故为零严格贯彻执行公司IS09001与环境与职业健康安全管理程序的要求,做到管理制度表格化,文明施工规范化、制度化。
二、配合业方按时完成整体工程计划措施根据业方对于整体工程的施工总进度计划,编制所含的各施工部位的施工进度计划,报业方、监理审批,修改后执行。
积极配合完成业方、监理下达的施工计划安排。
项目部将按时参加业方召开的各项工程会议,及时解决施工过程中的问题,保证施工进度计划顺利实施。
配合业方实现进度计划的管理措施(1)计划管理配合措施科学编制施工计划做到切实可行,在业方、监理给定的总体时段和各专业进度与相关工序配合严谨关系的条件下,编制施工及纲要计划,并在业方的总体调度下适时调整。
实现“抓纲控目,卡工序,定期调整”保证计划严谨、周密、持续有效切实指导控制施工进度。
(2)配合业方按时完成整体工程计划的措施认真敦促各项前置作业的落实,使保证当期工程实施的各项前置作业和作业准备充分完成,全面落实关于图纸完善,深化确认,材料选定,交叉配合作业。
在本工序封闭上工序(其它专业)作业面,检验、检测等一切影响操作实施的技术和作业环境障碍;敦促施工作业的各项技术、人力、物料、环境条件的落实。
做到前置作业有落实,实施操作有保障;计划作业有效完成,不留质量隐患,防止反修误时。
通过进度管理“敦前促后,保当日,以短促长”,实现以最短期计划的项项落实,保证中长期计划的有效性。
(3)计划调整配合措施本工程根据区域与外装作业特点,采取局部计划的调整,如:业方因设备安装配合需要做计划变更时,可以及时在局部调整作业计划,整体进度计划预留出调整时间,可作为业方进度调整时间,在必要时仍能做出更好的时间调整,同时确保完成整体工程。
三、项目管理班子主要管理人员配置项目管理机构:组建项目部,实行项目管理。
项目部负责施工全过程的计划、组织、指挥、监督、协调和控制基本职能,设立项目部组织机构,本着精干、高效、结构合理的原则,选配综合素质高,具有组织大型项目和同类工程施工经验的项目经理、安全项目经理、项目部技术负责人,以及其他质检、预算、统计、资料等管理人员组成项目管理层,并精心选配专业配套、思想作风好、技术过硬、有同类工程施工经验的作业队伍,担任本工程施工任务。
以我公司雄厚的财力、人力、物力和技术资源,全力以赴组织施工,并与业主竭诚合作,信守承诺,以一流的质量、一流的速度、一流的技术、一流的管理和一流的服务,保证工程优质、高效、顺利完成。
项目管理组织结构机构图四、项目管理人员岗位职责(一)项目经理岗位责任制(1)依据合同、订单计划、分包合同、工程项目管理规范,指挥工地生产运营活动,调配并管理进入工程项目的人力、材料物资等生产要素,对工程项目施工进行有效控制,确保工程成本、质量、进度、安全文明施工措施等各项指标的完成。