盖板涵施工工艺流程配图丰富
- 格式:ppt
- 大小:3.44 MB
- 文档页数:10
盖板涵洞施工工艺流程
盖板涵洞施工工艺流程
盖板涵洞是一种用于涵洞施工的工艺方法,主要用于道路、桥梁等工程中的水流控制。
下面将介绍盖板涵洞的施工工艺流程。
首先,在施工前需要进行勘测工作,确定涵洞的位置和尺寸,并绘制出详细的设计图纸。
同时,也需要调查周围的地质情况,以便后续的施工。
然后,进行开挖工作。
根据设计图纸的要求,在地面上进行开挖,将涵洞的底部和两侧逐渐挖掉。
在挖掘过程中,需要注意保护周围的管线和设施,防止意外损坏。
接下来是盖板制作。
盖板是涵洞工程中最重要的部分,它承担着承载交通荷载和水流控制的功能。
盖板制作通常采用预制混凝土块,可以根据设计要求进行定制,然后运输到工地进行安装。
然后是涵洞的安装。
将盖板逐块安装在开挖的洞口上,保证其稳定性和密封性。
安装过程中需要注意对盖板的排列顺序、连接方式和间距等进行仔细计算,以确保施工质量。
施工过程中还需要进行一些附属工程,如排水管道的安装和配套设施的建设。
排水管道通常安装在涵洞的底部,用于引导和控制水流。
同时,根据实际情况还需建设相关的边坡、护坡和交通标志等。
最后是进行施工验收和质量检查。
验收主要是对施工过程和施工质量进行检查,确保涵洞的结构安全可靠、功能完善。
质量检查主要是对涵洞的结构和材料进行抽样检测,确保达到相关的标准和要求。
综上所述,盖板涵洞施工工艺流程包括勘测、开挖、盖板制作、安装、附属工程建设以及验收和检查等环节。
在施工过程中,需要严格按照设计要求和相关标准操作,并保证质量监督和安全控制,以确保施工质量达到预期目标。
盖板涵施工技术工艺流程(总5页)-CAL-FENGHAL-(YICAI)-Company One 1■CAL■本页仅作为文档封面,使用请直接删除盖板涵施工技术工艺流程工程2007-10-17 11:27:07阅读1262评论4 字号:大中小订阅盖板涵施工技术工艺流程摘要:通过对盖板涵施工工艺及过程的阐述,提炼出了盖板涵施工的工艺流程及控制要求,为以后的同类工程施工提供了经验。
关键词:盖板涵施工工艺流程1概述盖板涵洞是铁路工程中比较常见的一种小型结构物,其施工方法比较简单,但在以往的施工中由于工序安排不合理、工艺控制不严格,导致涵洞质量满足不了要求或施工周期长,造成不必要的浪费。
本文即从盖板涵的工艺流程入手,通过对盖板涵工艺流程的详细阐述,使盖板涵在施工中按此严格规范施工,能够做到质量保证,施工工期合理,减少投资,提高效益。
2施工前准备工作施工准备施工前除进行图纸审核外,还要就现场实际情况与设计图纸进行核对,确定涵洞位置处水流方向是否与设计相符,涵洞基础设计标高是否与现场实际情况相符,在没有问题的情况下开始组织进行施工,同时做好现场的三通一平及材料的供应工作。
测量放样按设计尺寸放设出涵洞的纵、横轴线和开挖轮廓线,开挖轮廓线包括根据土质情况确定的开挖放坡宽度和工作面宽度,工作面宽度按50cm设置,当地下水丰富时还要考虑设置汇水沟和集水井所需宽度。
3主要施工方法基坑开挖土质基坑采用挖掘机进行开挖,开挖至距设计标高差20〜30cni时,由人工进行清理至设计标高,以免机械扰动基底原状土,造成承载力下降。
如地下水较丰富,基础开挖至设计标高后在基础轮廓40cm外挖20cm深汇水沟,并适当设置深80cm的集水井,采用抽水机进行抽水,以保证基底不受浸泡;如地下水量过大时,施工前采用深井或井点进行降水,待水位降低到基底标高以下时再进行基坑开挖。
基础开挖至设计标高后及时进行下道工序的施工,避免基底长时间暴露或受雨淋水泡。
盖板涵施工工艺2.2.1.1施工准备阶段2.2.1.1.1做好测量放样工作,经监理工程师核实准确无误后方可施工。
2,2.1.1.2配备相应的人员、机械及必要的材料,修好临时便道,以利于行车。
2.2.1.2施工方法2.2.1.2.1挖基坑2.2.1.2.2.1结构物基坑应按设计图纸所示的标高、尺寸放样合格后,用挖掘机进行开挖。
2.2.1.2.2.2挖至设计标高后,测量人员复测后应从速检验、验收,并及早回填,基坑各边要支撑保护,以利安全。
2.2.1.2.2.3当基础处在地面水位或地下水位时,应向工程师提交基坑开挖的完整说明。
2.2.1.2.2回填2.2.1.2.2.1基坑开挖验收合格后,应迅速进行垫层施工,砂砾垫层压实度要满足图纸和规范的要求。
2.2.1.2.3片石铺砌石料须洗净,并用水润湿,应座浆砌筑,严禁灌浆,选用有平整面的片石,大面向外,砌缝要用小石嵌紧,砌缝砂浆应饱满。
2.2.1.2.4结构混凝土2.2.1.2.4.1按已确定的砼施工配合比并配备熟练的技术工人,必要的机械设备。
2.2.1.2.4.2拌和:砼采用砼拌合站集中拌合,拌合好的混凝土采用砼搅拌运输车运至浇筑现场。
2.2.1.2.4.3混凝土的浇注对将要浇注混凝土的模板、钢筋、模内杂物及其他预埋件进行清理、检查,混凝土须按一定的厚度、顺序、方向分层浇筑,砼的浇注应连续一次浇注完成;浇注混凝土时,为防止离析和钢筋移位,应采用斜槽输送砼,混凝土在模板中不得以大于2M高度落下,不得使钢筋移位,在倾斜面上浇筑砼,应从低处开始逐层扩展升高,保持水平分层;当用吊斗浇注混凝土时,斗容量应不小于0.5m3,卸斗应仔细缓慢放下,出料过程中卸斗应慢慢提起,避免扰动混凝土。
2.2.1.2.5模板的安拆及钢筋绑扎2.2.1.2.5.1所有模板应不漏浆,结构尺寸、外形及线型均符合要求,模板内应无污物、砂浆及其他杂物。
2.2.1.2.5.2在放钢筋前所有模板应用认可的脱模剂处理,支架、锚固、紧固件应具备必需的刚度,能承受所加的荷载,木材、钢材所做的支架应能满足施工要求。
1.测量放线:由测量人员根据图纸设计,实地放样,定出涵洞的轴线,用白灰撒出涵洞基坑开挖范围,并测出基坑下挖深度;经监理工程师检验认可后,方可进行基坑开挖工作;2.基坑开挖:基坑开挖采用人工配合挖掘机开挖,首先由挖掘机开挖基坑,基坑土方直接由自卸汽车运离施工现场,用于路基施工或弃土;当挖至接近基底标高时,采用人工开挖;人工开挖的目的是沿基坑开挖范围线将基坑四周土方竖直切齐,同时人工开挖基坑至设计标高;而后,上报监理工程师检验基底承载力、基坑平面尺寸及标高,将基坑底进行机械或人工夯实;最后经现场监理工程师检验合格后方能进行下一步的基础施工;3.涵洞地基处理和混凝土垫层基坑尺寸报监理工程师检验合格后,进行山场碎石地基施工,用压路机进行碾实,边角地带用小型振动机械夯实,垫层顶面及底面坡度同涵底纵坡;然后现浇10cm厚C15素混凝土垫层;4.涵洞台身基础施工测量人员在垫层顶面仔细、精确地放样出涵洞的纵、横轴线,而后再用白灰撒出涵洞基础边缘线,并用木桩在其四周固定,用水泥混凝土护桩,在施工期间严防施工人员撞动木桩,并且把水准点加密到结构物附近;在浇筑台身基础之前,首先根据涵洞长度、盖板宽度确定沉降缝位置,以确保盖板安装时的板缝与沉降缝保持一致;按图纸设置沉降缝,分段安装基础模板,分段位置在沉降缝处,基础模板采用钢模,在现场由人工拉线拼装,模板内面涂刷脱模剂;模板板面之间平整接缝严密,不漏浆,在模板外设立支点固定;安装模板后由质检员对模板尺寸顶部标高、垂直度及支撑的牢固性进行检查,对模板进行检查并做好记录,自检合格后报监理工程师检验,检验合格后方可浇筑混凝土;基础混凝土为C30钢筋混凝土,混凝土在拌合站集中拌合,混凝土出场前由试验人员做塌落度试验,并按要求提取试模,合格后由混凝土合运输车运往施工现场使用流槽浇筑,并检查混凝土的均匀性和塌落度,合格后方可倒入模板内,基础厚40cm厚度,一次浇筑完成,使用插入式振捣器振捣;振捣器移动间距不超过振动半径的倍;与侧模保持50-100mm的距离;避免振动棒碰撞模板;每一处振动完毕后边振动边徐徐提出振动棒;对每一振动部位,振动到该部位混凝土密实为止;密实的标志是混凝土停止下沉,不再冒出气泡,表面呈现平坦、泛浆;浇筑混凝土时,填写混凝土施工记录;浇注完毕,终凝后用养生布覆盖洒水养生;养生期不小于7天;5.台身施工在基础混凝土达到一定7天强度后,支设台身模板,墙身模板外模为胶合板,外露面为钢模,台身高度小于3米每0.8m×1.0m用一根φ12拉杆对拉,台身高度大于3米每0.6m×0.8m用一根φ12拉杆对拉;模板板面之间平整接缝严密,不漏浆,在模板外设立支点固定;安装模板后由质检员对模板尺寸、平整度、垂直度及支撑的牢固性进行检查并做好记录,自检合格后报监理工程师检验,检验合格后方可浇筑混凝土;在浇筑前,对基础混凝土表面进行凿毛,并用10砂浆浸湿;墙身一次浇注;混凝土在拌合站集中拌合,由混凝土拌合运输车运往施工现场进行浇筑;浇注时用吊车吊漏斗施工,在混凝土抛落高度大于2m时使用串筒,墙身两侧应对称分层浇筑,每次浇筑的厚度控制在不大于30cm,使用插入式振捣器振捣;振捣方法和检查方法同台身基础,混凝土浇筑连续进行;浇筑混凝土时,填写混凝土施工记录;浇筑完毕,终凝后用养生布覆盖洒水养生;养生期不小于7天;6.台帽施工台身混凝土达到一定强度后,凿毛并清净其表面,绑扎台帽钢筋,支设模板,浇筑台帽混凝土;台帽钢筋下料及绑扎成型均在钢筋加工场完成,而后运至施工地点,由人工放置在墙身顶面上进行段间搭接绑扎,钢筋绑孔完成后进行模板安装;台帽模板采用木模内衬胶合板,并用拉杆固定,模板内涂脱模剂,模板内的杂物、积水和钢筋上的污垢清理干净;模板如有缝隙,则填塞严密;并对支架、模板、钢筋进行检查做好记录,并报监理工程师检验,检验合格后浇筑混凝土;台帽混凝土由拌合站集中拌制,由混凝土拌合运输车运往施工现场用吊车吊漏斗浇筑;浇筑混凝土前,检查混凝土的均匀性和坍落度;混凝土振捣采用插入式振动器振捣;振捣方法和要求同台身基础,浇筑混凝土时,填写混凝土施工记录;混凝土表面用铁抹收平,终凝后覆盖洒水养生,养生期不少于7天;7. 盖板预制及安装钢筋混凝土盖板可在现场预制或预制场集中预制,预制盖板上方应注明涵洞桩号、适用的填土高度和跨径组合;集中预制采用平板汽车运输,汽车式起重机吊装;在盖板安装之前,施工技术人员应根据涵洞沉降缝位置和设计行车道板宽度合理组合搭配,注意涵洞的全长与预制盖板每节的配置及端墙的位置,使盖板间隙正好落于沉降缝处,对斜交涵洞应首先配置一断的斜盖板;而后可根据组合结果用墨斗放出每道盖板安放位置,施工人员即可依据放线结果安装盖板;盖板由载重汽车运到施工现场,由吊车起吊安装;盖板安装时注意上下方向及斜交方向,避免发生反向错误;行车道板两端锚固于台帽上,一端端缝处及锚栓孔内锚筋周围填水泥砂浆,一端端缝处及锚栓孔内锚筋周围填塞沥青砂,板底与台帽间垫1cm厚中压橡胶石棉板;8.挡土墙施工挡土墙基础用浆砌片石砌筑,墙身为浆砌块石,台帽为现浇C20砼;9. 沉降缝在洞口工程和涵身之间,以及涵身内部按设计要求设置沉降缝,沉降缝贯穿整个断面;沉降缝与路线方向平行设置;沉降缝的宽度为2cm,沉降缝用沥青木丝板和沥青麻丝填塞;10.台背填土在盖板安装完成行车道板安装完毕后用30号水泥砂浆填充台背与盖板间的间隙且砂浆强度达到设计强度的80%以后,开始台背填土;填料采用中粗砂砾或石屑等透水性材料,在填筑过程中,两个涵台分层对称进行;满足设计图纸要求,填筑必须分层进行,填筑前测量人员应首先在结构物上用红漆标注土方的松铺厚度,每层厚度不超过15cm,台背回填对称进行;路基与台背回填料接触处挖宽度不小于1m 的台阶,以便之间紧密咬合;涵台边坡处留够富裕宽度,以保证压实质量;每层填料的碾压必须达到或超过规定的压实度,压实度标准为96%,压路机碾压不到的地方应采用机夯夯实;台背处做好临时排水设施,防止雨水浸泡涵背填土,影响压实质量;11.施工注意事项1施工前需对涵洞位置、坐标、桩号、标高、交角及进出水口高程是否与原水沟接顺等进行仔细复核,是否与当地农田排灌方向冲突,必要时与地方协商,避免线外工程实施时遇到困难;当实际情况与设计有出入时,及时联系设计等相关单位;2施工必须严格按照工序进行,对照各相关图纸;3垫层经压实后才允许进行涵洞构造施工;如发现基础达不到地基承载力要求,必须加强地基处理,防止涵洞因基础下沉而破坏;4台后填筑时应注意充分夯实,密实度应达到96%以上;5涵身两侧填土时,需在结构强度达到100%以上方可进行;填土需分层填筑,不得采用大型号机械推土碾压,更不能只在一侧夯填,必须两侧同时对称进行;6浇筑混凝土避免出现施工缝,当非得分阶段浇注时必须保持粗糙面,以利混凝土的整体结合;7涵顶以上的填土需分层夯实,且涵顶以上30CM填料用人工夯实;当涵洞顶填土厚度不足0.5米时,严禁任何重型机械车辆通过,并不得使用震动碾进行碾压;12.钢筋施工工艺⑴材料钢筋砼所使用钢筋,其钢号及规格均应符合设计的规定,钢筋的力学性能必须符合国标的规定;钢筋进场时应有出厂证明书或试验报告单;钢筋在工程中使用前应作力学性能及化学分析复验;钢筋进场后,应根据钢筋的钢号、规格分别存放,不得混放;存放钢筋不得直接接触地面;⑵准备工作操作班组应熟悉设计图纸,了解设计意图,根据图纸情况放实样;核对图纸,计算下料长度;钢筋加工应设专门场地,并根据场地情况作出周密布置,尽量减少场内搬运;⑶钢筋的调直与除锈钢筋弯曲成型前必须调直及除锈;并应符合下列要求:①钢筋的表面应洁净,使用前应将表面油渍、油漆污皮、鳞锈等清除干净;②钢筋应平直无局部弯折,成盘的钢筋和弯曲的钢筋均应调直;③钢筋在调直机上调直后,其表面伤痕不得使钢筋截面积减少5%以上;⑷钢筋加工钢筋经过调直与除锈后,即可进行配料、下料及弯曲成型工艺;钢筋下料前,应将同直径同钢号不同长度的各种钢筋按设计编号顺序,填写配料表,再根据调直后的钢筋长度统一配料,以减少钢筋短头或减少焊接量;配料时,对绑扎接头,在受拉区光圆钢筋接头不得超过总面积的25%,螺纹钢筋不得超过50%,在钢筋弯曲及弯矩最大处不得有接头;弯制钢筋时,除设计有特殊规定外,一律用冷弯;用I级钢筋制成的箍筋,其末端应有弯钩,弯钩的长度应符合规范要求;⑸钢筋绑扎和安装绑扎钢筋前要认真熟悉图纸,核对各部位尺寸、规格、编号,对加工的半成品要检查核对;绑扎成型后,应根据图纸需要检查各种钢筋规格、数量和长度是否符合图纸的要求,检查钢筋表面是否清洁,如有铁锈油污应先行清除;⑹具体绑扎程序:①划线:在绑扎部位内利用模板或砼垫层或部分主筋,划出各种主筋、架立筋、箍筋的位置;②按划线位置进行摆筋;③绑扎已摆好的钢筋;④垫水泥垫:相邻两水泥垫间距视底筋直径大小而定,一般控制在~1.0m左右,侧墙加垫时,则应带钢丝的水泥垫,将水泥垫绑在钢筋上以免掉落;⑤水泥垫尺寸约为5cm见方,与设计院净保护层同厚,水泥垫的砂浆配比、标号,均须与原构筑物砼的砂浆相同,并在砂浆强度达到设计要求时方能使用;⑥立墙钢筋在绑扎时,底部应与底板钢筋焊接,以免变位倾倒;⑦箍筋转角与主钢筋的交叉绑扎时,应用铁丝按双对角线绑扎结实,并在每适当距离处加一个电焊焊点,以免钢筋变形;13.模板工程⑴一般规定①模板及地基应具有足够的稳定性、刚度和强度,能承受浇灌砼的重量、侧压力以及在施工中可能产生的各项荷载,并不超过规定的挠度;②保证工程结构物的设计形状、尺寸以及各部分相互之间位置的正确性;③模板面必须平整,接缝严密,不得漏浆;④模板的施工设计应制作简单便于拆卸,在拆卸时能尽量减少材料的损伤,并不使新灌注的砼在拆模时受到振动而损伤;⑤木模板及木质支撑材料的工作场地与存放场地,均应选择远离易燃物,其距离应符合消防要求规定,同时还应设置消防设施;⑵模板的制作与安装①挠曲十分厉害和脆性木材不宜作模板,制作模板的木材应尽量选用挠曲变形小的红、白松,且其含水率不宜大于25%;对与砼不直接接触的带料等,可酌量放宽;②制模板前应熟悉设计图纸及整体工程的施工顺序、砼浇筑次序、所用的施工机具、施工工艺与现场环境等详细情况;③模板的类型与各种规格尺寸,应根据工程构筑物与模板的材料情况尽量采用定型模板;盖板涵施工工艺流程图。
盖板涵施工工艺盖板涵工程施工顺序为:基础→台身→台帽→沥青油毛毡→现浇盖板。
1、基础施工1)、测量放样利用复核后的导线点、水准点,用全站仪精确定出桥梁基础的中心线位置,然后分别沿顺桥向和横桥向设置牢固的控制桩。
按照设计图纸,准确放出基础的边线,边线测设完毕后进行反复的校核,保证基础位置的准确。
2)、基坑开挖先由测量人员放出开槽上口线。
开槽采用人工配合机械开挖,每边开挖宽度比基础尺寸大60cm,以便于模板支撑,开挖后的基坑四壁牢固,根据现场实际情况及土质条件进行适当放坡,坡度按照下表采用:注:现场情况若较为复杂的,可考虑进行基坑支护。
基坑开挖完成后对坑底进行整平,并在基坑一角留积水坑,做好基坑内的排水与防水工作,防止基底浸水软化。
开挖后的基坑尽快浇注垫层混凝土,防止基底渗水或进水泡槽。
基坑开挖至设计要求深度后,及时进行基坑检验、核实基底地质,与设计不符时,及时报请监理工程师确认并尽快提请设计单位处理,按设计单位处理意见或加固措施处理。
3)、钢筋绑扎与模板支撑基坑开挖后,浇注垫层混凝土,垫层混凝土采用平板振捣器振捣,垫层混凝土在最后成活时,用木抹赶压平整、密实,防止裂缝发生。
按设计图纸绑扎基础钢筋,基础模板采用定型钢模板拼装而成,模板拼装时,在钢筋与模板间绑扎砂浆垫块,保证钢筋与模板间的保护层厚度符合设计要求。
模板采用顶丝与黑钢管配合支撑,顶丝一端支撑于模板体系,另一端支撑在基坑四壁,保证模板稳固可靠。
4)、混凝土浇注由质量、监理人员对基础模板的中线、净空、高程、平整度、直顺度进行复测,合格后方可进行基础混凝土的浇筑。
一般位置的基础混凝土浇筑使用溜槽(高差不大于3m),如高差在3米以上或混凝土罐车无法靠近的情况下,要使用混凝土泵车进行混凝土浇筑。
严禁在高差过大或距离较远的情况下使混凝土依靠重力下落划入模板,而使混凝土出现离析现象。
溜槽在使用前用水湿润。
混凝土分层进行浇筑。
每层厚度不大于30cm,浇筑间隔时间不大于20分钟。
盖板涵标准化施⼯⼯艺盖板涵标准化施⼯⼯艺⼀、施⼯理念把涵洞作为重要的构筑物来施⼯,在确保其强度、耐久性、空间⼏何尺⼨的情况下,还要注重其外观质量;如:混凝⼟要颜⾊⼀致,表⾯光洁,⽆裂纹,最终达到清⽔混凝⼟的标准,真正做到内实外美。
⼆、施⼯⼯艺流程图三、涵洞设计技术标准1、⾏车速度⽬标值:线上160km/h,线下200km/h2、设计恒载:结构⾃重按《铁路桥涵设计基本规范》(TB10002.1-2005)采⽤,设计活载:中-活载3、设计洪⽔频率:1/100(百年⼀遇)4、地震峰值加速度:DK65+000~DK69+300 0.1gDK69+300~DK113+000 0.05g5、冻结深度:DK65+000~DK69+300 2.01mDK69+300~DK113+000 1.91m四、涵洞施⼯标准化施⼯⼯艺1、混凝⼟的搅拌站管理①上料采⽤铲车上料②计量采⽤电⼦计量。
计量误差控制:⽔泥、粉煤灰、矿粉、外加剂、⽔ 1%粗、细⾻料 2%③搅拌时间对混凝⼟在搅拌机⾥的时间进⾏严格控制,对掺外加剂和粉煤灰的混凝⼟,规定每次搅拌时间不少于2分钟。
④砂⽯含⽔率的测定混凝⼟搅拌前,须测定粗细⾻料的含⽔率,并随时掌握因天⽓变化⽽引起粗细⾻料含⽔量的变化,以便及时调整施⼯配合⽐,每班次抽测2次,⾬天应随时抽测。
⑤坍落度的控制混凝⼟出机后在施⼯现场测定其坍落度,并做好记录,考虑到搅拌站到现场的距离和时间,在设计要求的基础上,可适当调⼤混凝⼟的坍落度。
⑥混凝⼟出机温度混凝⼟出机温度不得低于5℃。
⑦混凝⼟运输a、混凝⼟在运输过程中不应发⽣离析、漏浆、严重泌⽔及坍落度损失过多等现象;b、运输混凝⼟的便道应平顺、牢固;c、罐车在运输混凝⼟的过程中宜以2~4r/min的转速搅动,卸料前应以常速再次搅拌2~3分钟;d、采⽤吊车吊装灌筑混凝⼟,吊⽃出⼝到承接⾯间的⾼度不得⼤于2m。
吊⽃底部的卸料活动门应开启⽅便;e、采⽤泵送砼时,其泵送砼配合⽐、坍落度、参数需经中⼼试验室重新出具配合⽐和同意后⽅可采⽤。
盖板涵施工工艺及施工流程讲解(一)引言概述:盖板涵作为一种常见的道路桥梁工程结构,具有防水、抗渗、承载能力强等特点,广泛应用于桥梁、隧道等工程中。
本文将从盖板涵施工工艺和施工流程两个方面,详细讲解盖板涵的施工过程,希望能对相关从业人员提供一定的指导和帮助。
正文:1. 盖板涵施工工艺1.1. 施工前准备- 材料准备:根据设计要求,准备好所需的预制板、钢筋、混凝土等材料。
- 设备准备:准备好塔吊、起重机、搅拌机等所需的施工设备。
- 人员组织:合理安排各工种人员,确保施工进度和质量。
1.2. 基础制作- 地基处理:对盖板涵所处位置的地基进行处理,确保地基的稳定性。
- 基础布置:根据设计要求,在地基上进行基础钢筋的布置。
- 灌注混凝土:在基础底部浇筑混凝土,形成坚实的基础。
1.3. 预制板安装- 预制板运输:将预制板运至施工现场,注意保护和防止损坏。
- 预制板安装:将预制板依次安装在基础上,注意调整水平度和连接紧密度。
- 预制板固定:使用钢筋、螺栓等固定预制板与基础之间的连接,确保结构的稳固性。
1.4. 梁、墙施工- 钢筋制作:根据设计要求,制作好梁、墙的钢筋骨架。
- 混凝土浇筑:将混凝土浇筑到梁、墙的模板中,注意浇筑过程中的压实和振捣。
- 养护处理:对梁、墙进行养护处理,确保混凝土的强度和耐久性。
1.5. 盖板施工- 盖板制作:根据梁、墙的尺寸和要求,制作好盖板。
- 盖板安装:将盖板安装在梁、墙上,注意调整水平度和连接紧密度。
- 盖板固定:使用钢筋、螺栓等固定盖板与梁、墙之间的连接,确保结构的稳固性。
2. 盖板涵施工流程2.1. 施工前准备- 施工方案制定:根据设计要求,制定详细的施工方案和施工计划。
- 材料采购:根据施工方案,采购所需的材料和设备。
- 现场布置:对施工现场进行布置,确定施工区域和临时设施。
2.2. 施工准备- 地基处理:对盖板涵所处位置的地基进行处理,确保地基的稳定性。
- 基础制作:按照工艺要求,制作好盖板涵的基础结构。
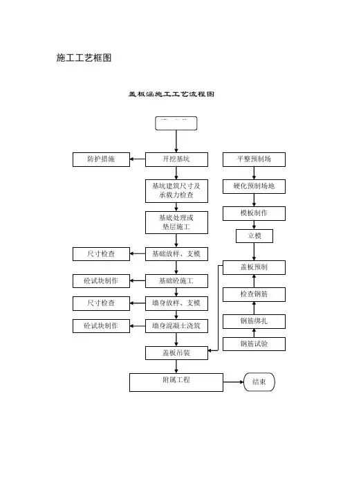
13.4盖板涵施工工艺标准1341工艺概述盖板涵指采用整体或分离式基础和涵身结刚,盖板与涵身铰接的结构形式的涵洞,一般作为过水涵洞或人行通道。
本标准适用于铁路客运专线(高速铁路)路基覆盖前明开挖作业的盖板涵施工。
盖板涵结构要素见图13.4.1。
盖板涵明挖作业适用于地下水位较低,基坑开挖后基底及坑壁透水较小的地质。
原基底或经处理后基底承载力满足设计要求,有一定的施工作业场地和材料运输条件。
图13.4.1 盖板涵结构要素1342作业内容盖板涵施工主要作业内容有:基坑开挖、基础及涵身施工、钢筋加工及安装、盖板预制和吊装、防水层施工、涵背回填、出入口铺砌施工等。
13.4.3质量标准及验收方法1、盖板涵各部位偏差及检验方法应符合表13.4.3-1和13.4.3-2的规定,混凝土和砂浆强度应符合设计要求。
防水层允许偏差及检验方法应符合表13.4.3-3的规定。
2、涵身直顺,盖板平直,混凝土表面平整坚实,无蜂窝、麻面。
沉降缝直顺、整洁无渗漏。
涵洞沉降缝端面应竖直、平整,上下不得交错搭压影响沉降。
填缝材料应具有弹韧性、不透水性和耐久性,并应连续填塞密实。
沉降缝应设在盖板的接缝处,盖板不得搭压边墙的沉降缝。
3、进、出口流水顺畅,整洁美观。
防水层类型应符合设计要求,应具备防水、耐久、粘结牢固和必要的弹韧性,应按铁道部现行桥涵施工标准的有关规定施工。
处。
1344工艺流程图盖板涵施工工艺流程见图13.4.4 :图13.4.4 盖板涵施工工艺流程图13.4.5工序步骤及质量控制说明一、施工准备1. 技术准备⑴认真阅读和审核设计图纸及相关设计要求,熟悉并分析施工现场地质资料及水文情况,调查了解季节和地下水位的关系。
⑵编制盖板涵单项施工方案,对开挖超过2m的深基坑,应编制安全专项施工组织设计及应急预案,对开挖超过5m的深基坑,应组织相关专家进行方案的评审后实施。
⑶做好相关施工技术交底,并向作业人员进行技术交底和相关知识的培训教育。