DVD影碟机常见故障的检修流程
- 格式:pdf
- 大小:444.52 KB
- 文档页数:6
万利达D V D机常见故障检修YKK standardization office【 YKK5AB- YKK08- YKK2C- YKK18】万利达DVD机常见故障检修[ 转载:电子报 | 时间:2004-04-13 09:02:41 |收藏本文] 【】万利达DVD机发展至今已经好几代,由单一型号发展到现在的近十款型号,在工艺和质量上都取得较大进步,尤其是逐行扫描PDVD-N996和照片photo-DVD-N960引起不少消费者的关注,由于在市场上销售量较大,故在实际中有一些返修,笔者经长期积累,现选出一些常见故障修理实例,提供同行参考。
1.DVD-N900R机,通电开机画面正常,但要约20秒钟后才出屏显,出仓后放入碟片,转速异常,不能读盘,显“NODISC”。
根据现象分析,由于约20秒钟后出现屏显,因此激光头应基本正常,故障可能出在DSP电路。
首先检测DSPU3MT1388E的时钟振荡电路,用示波器和频率计测试发现它的振荡频率为11.289MHz,正常应为33.868MHz,由此判断故障是因33.868MHz时钟振荡电路出故障所致,它的振荡电路如图1。
这是一个三倍基波振荡器,当LC支路开路或不良时,它只工作于基波频率11.29MHz,经仔细观察发现C202一端存在虚焊,补焊C202,通电试机,故障消除,机器恢复正常。
当振荡电路出故障之后,DSP工作时钟异常,导致主轴伺服异常,同时由DSP送到面板PT6311的数据、时钟也不正常,导致上述故障现象。
2.DVD-N900R机可读VCD碟,但不读DVD碟。
通电试机,发现读VCD碟片完全正常;读DVD碟片时转速比正常时快得多,约半分钟后显示无碟。
据现象分析故障范围在激光头、伺服系统、DSP数据通道。
该机采用SANYODV32机芯,双激光源激光头。
当用好的激光头代换下原光头后,机器恢复正常。
3.DVD-N900R机,通电开机后有开机画面,但不自检、无显示、面板按键不起作用。
便携式DVD(EVD)机常规故障检修方法该类机器容易出现的故障是黑屏、读不出碟故障,以下针对这两种故障做一些分析,希望能给您有所帮助。
一、黑屏黑屏故障表现为两种:1、打开电源开关后,机器无任何反应,电源指示灯不亮。
此类故障多属电源适配器损坏造成,一般更换相同参数的适配器就可以解决。
相同参数指的是适配器输入输出电压值、输出电流值类型(AC/DC)、输出接口线极性尺寸大小,若无法确定可以携带损坏的适配器到适配器专卖店购买,一般价格在10元左右。
2、打开电源开关后,指示灯亮,机器可以读碟,但黑屏。
此类故障是屏幕背光灯不工作所致。
因为液晶屏是不能发光的所以必须用光源照射才能使其显示出来,照射屏幕的光源称之为屏幕背光灯。
而今屏幕背光照明有两种方式,灯管和LED,早期用的是灯管,近几年来随着技术的提高已经使用LED(发光二极管)做背光灯。
由于LED具有低电压、低耗能、寿命长的特点现已成主流。
灯管照明较长出现的是高压电路故障和灯管损坏,一般检修方法是先更换灯管,不行再检查高压电路,高压电路工作后输出电压可达800-1600V,检修时要注意,防止触电或因检测不当造成二次损坏。
高压电路的检修方法在本文不做详述,请读者参考其它文章。
LED较容易出现的故障是排线断和LED损坏,连接LED 排线只有两根,可以通过换成导线的方法修复,LED损坏可以通过更换LED条来修复。
以上故障都必须拆开液晶屏才能更换,液晶屏和背光灯都是用铁制外框组合起来的,拆屏前必须把液晶屏排线和背光灯线分离。
灯管的只是接插件,拔掉就行了,LED的一般是LED的连接线焊在液晶屏总排线上,焊开就行了。
外框有卡口和螺钉连接两种方式,对于卡口只需用薄片逐个撬开就可以拆卸了。
二、读不出碟此类故障较为常见,原因有光头堵、激光管老化、排线断、排线接触不良。
检修前要观察激光头动作是否正常,正常的动作是合上舱盖后激光头发出激光,同时聚焦镜会上下移动,这个过程2到3秒,主要是判断是否有碟片。
维修影碟机方法与技巧影碟机作为一种常见的家用娱乐设备,我们经常使用它来观看电影或电视节目。
然而,在长时间使用后,影碟机可能会出现故障或损坏,这给我们的观影体验带来了不便。
本文将介绍一些维修影碟机的方法与技巧,帮助您解决一些常见的问题。
一、常见故障及解决方法1. 影碟机无法开机当影碟机无法开机时,首先要检查电源插头是否插紧,电源线是否完好。
其次,您可以尝试使用其他电源插座进行连接。
如果这些都没有解决问题,那么可能是电源板出现故障。
此时建议您寻求专业的维修人员进行修复。
2. 影碟无法读取或卡住当影碟无法读取或卡住时,可以先尝试进行一些简单的清洁工作。
您可以使用干净柔软的布轻轻擦拭碟盘和光头,确保它们没有灰尘或污垢。
另外,如果您在使用过程中发现碟片表面有划痕或污渍,可以使用专业的光盘清洁液进行清洁。
如果这些方法无效,那么可能是光头或传动系统出现故障,需要找专业人员进行处理。
3. 播放过程中出现卡顿或花屏当播放过程中出现卡顿或花屏时,可以尝试将碟片清洁干净,同时确保其表面没有明显的划痕。
另外,您还可以尝试调整影碟机的视频输出设置,以确保与电视的兼容性。
如果问题仍然存在,可能是播放机芯或电路板出现问题,建议您咨询专业的维修人员。
二、维护影碟机的常规操作除了解决常见故障,正确的日常维护也对影碟机的使用寿命和性能有很大的影响。
以下是一些常规操作,帮助您保持影碟机的良好状态。
1. 避免频繁更换碟片频繁更换碟片可能会给影碟机的碟盘和光头带来刮伤和磨损的风险。
因此,建议您在观影结束后,将碟片取出,并正确存放在其原有的包装盒中。
同时,不要将多个碟片叠放在一起,以免刮伤碟片表面。
2. 定期清洁与保养影碟机的外壳和通风孔上会积聚灰尘和污垢,长期不清理可能导致散热不良。
因此,定期使用柔软的布清洁影碟机的外壳,并使用吸尘器或喷气罐清理通风孔。
3. 避免高温和潮湿环境高温和潮湿环境对影碟机都是不利的。
因此,在放置影碟机时,应该选择阴凉干燥的地方,并避免阳光直射或靠近热源。
影碟机维修简介影碟机作为一种常见的家用娱乐设备,用于播放影片光盘和音乐光盘。
然而,由于长期使用或不当操作,影碟机可能会出现各种故障和问题。
本文将介绍一些常见的影碟机问题及其维修方法,帮助您解决影碟机故障。
常见问题1. 影片无法播放可能原因: - 光盘污损或损坏 - 影片格式不受支持 - 影片区域码不匹配 - 传感器问题解决方法: 1. 检查光盘表面是否有划痕或指纹,使用柔软的布清洁光盘。
2. 确认影片格式是否受到影碟机支持。
不同型号的影碟机支持的格式可能有所不同,可以参考影碟机说明书或厂商网站获取详细信息。
3. 检查影片区域码是否与影碟机匹配。
在影碟封面或背面可以找到影片的区域码,确保区域码一致。
4. 如果以上方法仍无法解决问题,可能是影碟机传感器出现故障,建议联系售后服务中心进行维修。
2. 影片播放过程中出现卡顿或跳帧可能原因: - 光盘表面污损 - 影片文件损坏 - 影碟机读取头部脏污 - 影碟机内部传动件磨损解决方法: 1. 检查光盘表面是否有划痕或指纹,使用柔软的布清洁光盘。
2.如果问题仍然存在,尝试使用其他光盘进行测试,如果其他光盘播放正常,则可能是影片文件本身损坏,可以尝试重新下载或更换影片。
3. 用专用的光盘清洁盘清洁影碟机的读取头部,避免脏污影响读取效果。
4. 如果问题仍未解决,可能是影碟机内部传动件磨损,建议联系售后服务中心进行维修。
3. 影碟机无法打开或关闭可能原因: - 电源故障 - 机械部件卡住解决方法: 1. 检查电源线是否插好,尝试更换电源线。
2. 确认电源插座是否工作正常,尝试插到其他可用电源插座上。
3. 如果问题仍未解决,可能是机械部件卡住,尝试轻轻晃动影碟机,在尝试按下打开/关闭按钮。
4. 如果仍然无法打开或关闭,建议联系售后服务中心进行维修。
4. 没有声音或声音不清晰可能原因: - 音频线未连接好 - 音频线被损坏 - 影碟机音频输出故障解决方法: 1. 确认音频线是否连接好,将音频线重新插入正确的音频输入端口。
E
主控芯片坏、C150漏电
转几圈后停下
附SONY伺服+凌阳方案的维修流程
凌阳方案的维修流程(
(以J333、J330系列为例
系列为例)
)
音频
输出异常失真一般出现在静音电路上,可以先去掉静音电路再试机,如故障消失,一般是静音三极管损坏。
可参考上两页的“显示无碟”流程,仅需注意元件编号
声小用电视的音频输入端子直接碰713的6、9脚,确定故障在713还是4558,实际一般在4558的外围元件损坏。
无声用电视的音频输入端子直接碰713的2脚,702正常的话可以听到音乐声,如无则说明是后级问题,并且故障多
在713或4558的供电电路。
伺服故障
有时开机电视
上出现“行不
同步”换一块解码板OK 了,但实际是变压器造成的
DRAM65%8202L损坏30%EPROM 坏8202L/晶振损坏EPROM 坏开机画面中的
字符严重拖尾画面出现马赛
克,快进时特
别明显DRAM 坏
有开机画面,
但无字符显示电视上半部有
开机画面,下
半部斜线干扰
三极管坏(65%)D2、D3坏(30%)其它占(5%)C57、C58、27M 损坏,也有因DRAM 坏的三极管或晶振占50%,D4、D5占30% ,SPCA711、RPROM 、复位 合占8202L损坏电视上有杂乱
的斜线条(行
不同步)
播放一段时间
后出现绿屏输出异常
显示屏亮,有
声音,但电视
上无图像显示屏不亮,
视频无输出
(也称三无)显示屏不亮,
视频有输出。
国产DVD常见故障维修国产DVD常见故障维修国产DVD以其价格低、功能全被大部分人所接受,市场保有量非常大,品牌也是多如牛毛。
它们都有个共同特点就是故障率非常高,一般用个一年半或几个月就会出现不读碟、进出碟不畅、防震性能差等故障。
下面是这些故障机的一些维修步骤和经验,供参考学习。
提醒:以下检修碟机是要有相关电子基础者方可拆机自行维修,否则不懂切勿盲目乱动,以使故障更严重,甚至对人造成危害。
一、不读碟不读碟现象占维修量的85%。
其中45%左右为主轴电机损坏,45%左右为光头排线折断(肉眼难以判断),5%为光头损坏,其他为5% 。
1.本着先易后难的原则,看看激光头清洁情况,首先用酒精棉球清洗激光头。
2.放一张碟进去,然后断电,用手拨一下光盘感觉是否旋转自如,有无滞后感(当然这是平时的经验积累的一种感觉),如果有滞后或阻力,必须换主轴电机。
3.如果光盘旋转自如,惯性非常好,换根光头排线一试4.经过以上三个步骤还是不读碟的话,换个光头一试5.测量驱动电源,检查驱动供电保险,代换驱动块。
二、进出碟不畅。
此现象占10%。
1.清洗进碟胶辊,或是进仓轮带有油渍,用棉花擦干即可。
2.如果胶辊与轴没有摩擦力的话,只须在轴上用透明胶带缠三圈增加摩擦力。
3.还一种情况就是光盘放在入碟口,碟机不转换成DVD状态,或者光盘退出后出碟电机继续旋转不能入碟。
这种现象是入碟检测红外发光管老化,须把两只全部更换。
通常都是用遥控器红外管代换,但就是不持久。
三、防震性能差。
此现象一般伴随读碟慢,择碟。
清洗激光头可缓解,如果是减震胶破裂当然就要更换了。
四、无声音或图像闪烁故障。
要是当影碟机使用时间长了,造成无声最为常见的是音频输出端子(AUDIO)和AV线接头处生锈而接触不良,刮洗干净即可;还有可能是AV输出连线折断开路。
激光头机械故障检修两例例1.故障现象:一台新科SVD-320型超级VCD机,开机时各项功能正常,但无论播放何种盘片,四五分钟后会自动停机,无法连续播放。
DVD常见故障维修1、放的音乐名称是乱码的现象解决方法:这个问题主要和你的mp3/mp4音乐文件附带的文件信息不正确有关,解决的方法就是直接用WINAMP等播放工具将音乐文件信息去除,就是右键点击播放列表中的音乐文件,选“音乐文件信息”,在出现的对话框中将ID3v1和ID3v2项目中的文件信息全部清空就行。
2、用户误用Windows的格式化程序对mp3/mp4进行格式化,此时开机时屏幕上会显示“!Media Error”,随后会自动关机!解决方法:只要重新用的驱动程序进行格式化就可以了!3、机器开启不了解决方法:就目前来看,当机器开启不了时90%以上的原因是由于用户的各类误作导致mp3/mp4内部的固件(Firmware)损坏造成的。
解决方法:只要对其进行重新格式化并写入Firmware就可。
可将电池拿下,按住播放键不放,连上电脑,运行驱动程序,然后进行格式化及固件升级即可。
4、用户用光盘自带的驱动进行升级后,只能显示繁体中文解决方法:上网下载简体中文的固件,然后照上面的步骤重新用的驱动程序进行升级并格式化就可以了!5、用户升级到一半,因为意外原因突然终止,导致机器无法开启解决方法:将电池拿下,按住播放键不放,连上电脑,运行驱动程序,然后进行格式化及固件升级即可。
6、用户反映机器会自动关闭解决方法:菜单中有一选项为关闭设置,可设置当长时间不用时,机器自动关闭。
7、播放时,音乐出现断断续续的停顿解决方法:a、器感染病毒:请重新格式化机器。
b、歌曲有问题:可能是歌曲压缩格式不同,请更换歌曲试一下。
c、有的是由于在从电脑下载文件到mp3/mp4时,USB接口的接触不良引起的,建议重新插拔几下,或更换另一个USB接口下载,或更换USB 延长线,或换一台电脑下载试试看。
(没有办法的办法)8、为什么我的mp3/mp4出现如下英文?Error!Reformat Internal media with 解决方法:A、用户用了FAT32的文件系统格式化mp3/mp4播放器。
如何维修DVD机读碟故障如何维修DVD机读碟故障导语:如何维修DVD机读碟故障呢?希望文章能够给大家一些帮助。
欢迎大家爱的查阅!对于此类故障的检查,要“先看后测”。
看,就是观察机芯出入仓盘的运行情况、激光头在读碟状态时的表现等等;测,就是根据观察到的具体表现,对相关的电路进行检测,以进一步判断故障部位或元件。
如何维修DVD机读碟故障1 .无论放入何种类型的碟片。
均不读碟,屏显无碟。
这个故障也应首先观察读碟状态时激光头的具体表现加以判断。
第一种表现有:激光头进给复位、聚焦动作正常,不发出激光,其主要原因是:激光头的激光管损坏、激光头排线不良、主板上的激光驱动电路损坏等,可以代换激光头及其排线试之。
如果仍然没有激光,则测量主板上的激光驱动电路有没有输出、供电是否正常等。
第二种表现为读碟动作正常但碟片不旋转或能旋转.原因主要包括:激光头排线不良、主轴电机不良、激光头损坏或者物镜脏污、激光信号 RF 前置处理电路不良或者引脚虚焊。
可以清洁物镜试验,结合采用代换方法检查,并对相关引脚进行补焊。
第三种表现为无聚焦动作,一般是激光头排线不良、激光头的聚焦线圈断、聚焦驱动或其控制输入电路出故障。
在读碟状态( 不放碟片) 下,测量激光头聚焦线圈两端脚之间是否有变化电压,有则为聚焦线圈断,无则说明故障在激光头排线之后,同样可以代换排线加以确定后级是否正常。
第四种表现为驱动电路工作电压过低或者消失引起,通常是给驱动电路供电的限流电阻或者二极管开路或者失效,少数是该支路的贴片电容漏电、驱动集成块损坏。
通过测量驱动电路的电源端脚电压是否正常就能够得到正确判断。
2.仓盘进入一会又自动退出。
不能读碟。
这时观察仓盘的运行情况,可能出现如下几种情形:仓盘进入不到位,并且运行速度慢,半途退出;仓盘虽然进入到位,但激光头组件上抬不到位,稍许仓盘自动退出;仓盘进入到位,但激光头没有读碟动作,一会仓盘自动退出。
前两种情形一般是机械故障,仓盘、机芯轻微变形、断裂,运行部位润滑不足,齿轮磨损,传动带松弛、粘油等都会引起.通过进一步仔细观察就能发现问题所在。
便携式DVD(EVD)机常规故障检修方法该类机器容易出现的故障是黑屏、读不出碟故障,以下针对这两种故障做一些分析,希望能给您有所帮助。
一、黑屏黑屏故障表现为两种:1、打开电源开关后,机器无任何反应,电源指示灯不亮。
此类故障多属电源适配器损坏造成,一般更换相同参数的适配器就可以解决。
相同参数指的是适配器输入输出电压值、输出电流值类型(AC/DC)、输出接口线极性尺寸大小,若无法确定可以携带损坏的适配器到适配器专卖店购买,一般价格在10元左右。
2、打开电源开关后,指示灯亮,机器可以读碟,但黑屏。
此类故障是屏幕背光灯不工作所致。
因为液晶屏是不能发光的所以必须用光源照射才能使其显示出来,照射屏幕的光源称之为屏幕背光灯。
而今屏幕背光照明有两种方式,灯管和LED,早期用的是灯管,近几年来随着技术的提高已经使用LED(发光二极管)做背光灯。
由于LED具有低电压、低耗能、寿命长的特点现已成主流。
灯管照明较长出现的是高压电路故障和灯管损坏,一般检修方法是先更换灯管,不行再检查高压电路,高压电路工作后输出电压可达800-1600V,检修时要注意,防止触电或因检测不当造成二次损坏。
高压电路的检修方法在本文不做详述,请读者参考其它文章。
LED较容易出现的故障是排线断和LED损坏,连接LED 排线只有两根,可以通过换成导线的方法修复,LED损坏可以通过更换LED条来修复。
以上故障都必须拆开液晶屏才能更换,液晶屏和背光灯都是用铁制外框组合起来的,拆屏前必须把液晶屏排线和背光灯线分离。
灯管的只是接插件,拔掉就行了,LED的一般是LED的连接线焊在液晶屏总排线上,焊开就行了。
外框有卡口和螺钉连接两种方式,对于卡口只需用薄片逐个撬开就可以拆卸了。
二、读不出碟此类故障较为常见,原因有光头堵、激光管老化、排线断、排线接触不良。
检修前要观察激光头动作是否正常,正常的动作是合上舱盖后激光头发出激光,同时聚焦镜会上下移动,这个过程2到3秒,主要是判断是否有碟片。
图解影碟机打不开维修展开全文影碟机打不开/维修日志本版全部图片摄影/撰文李向阳图片编辑与时间无关《图解影碟机打不开维修》目录一. 影碟机打不开故障现象二.影碟机打不开故障初步分析三. 拆开影碟机顶盖四. 检测影碟机控制按键五. 更换影碟机控制按键六. 新换控制按键技术工艺处理七. 检查碟盒传动机构八. 维修碟盒传动机构一. 影碟机打不开故障现象这台影碟机据称很长时间没有使用了正所谓用进废退开机时出现如下的故障现象1. 接通电源电源指示灯亮2. 显示屏显示没有影碟代码初步表明电源正常3.在机顶面上的右下角有三个小按键由左到右分别是碟盒进出按键播碟暂停按键播碟停止按键4. 按动碟盒进出按键全无反应5. 按动暂停按键全无反应6. 按动停止按键全无反应7. 重启电源故障依然8. 时效处理连续通电30分钟仍然不能“唤醒”本机的“休眠状态”二.影碟机打不开故障初步分析由于本机久未使用1.可能这三个按键失效需要检测这三个按键2. 内里碟盒进出机构传动失效需要检查碟盒进出传动机构三. 拆开影碟机顶盖1. 将影碟机放在工作台上2. 拆开机壳两侧护条及顶盖的连接螺钉3. 掀起顶盖看到了里面的构造影碟机主要由四大部件组成分别是控制板主板电源板及碟盒所组成四. 检测影碟机控制按键这是影碟机的控制电路板1. 在通电的情况下用一条连线的两端表笔分别接触碟盒进出按键的两个焊点代替按键接通的动作观察其是否引起电路及碟盒传动的变化结果碟盒没有任何动作但感觉到碟盒内电路有轻微电流杂声发出间接证明了是按键失效情况多一些需要进一步检测按键开关2. 切断电源拆开控制电路板①拆开阻挡控制电路板的碟盒支撑架②拆出控制电路板③检测碟盒进出按键的电阻选用万用表R×1K测量电阻档右手把持两表笔同时接触进出按键两端焊点测量其电阻正常的电阻应呈高阻值在10到15千欧姆之间④然后用左手按动开关反复几次因右手持相机拍摄图中未能显示万用表表笔接触焊点的状况如果按键正常此时高值电阻应马上变化由10到15千欧姆变化为2欧姆以下可惜高值电阻全无变化证明了这个按动开关(微动开关)已经失效⑤检查其余两个按键开关也是完全失效⑥尝试用电器清洁剂对失效开关进行清洗排除故障这种使用电器清洁剂对失效开关进行清洗排除故障成功率约占20%左右但比起更换新的开关略为便捷用电器清洁剂喷滴进出开关键并连续按动开关多次用电器清洁剂喷滴暂停键并连续按动开关多次用电器清洁剂喷滴停止键并连续按动开关多次经过喷滴及连续按动多次后再次进行测量结果证明了三个开关仍然完全失效不可修复只能换新五. 更换影碟机控制按键1. 完全拆出控制电路板2. 左手用尖锥插入开关与电路板之间的缝隙3. 右手用小型尖咀电烙铁分别交替快速焊熔开关的两个锡点4. 趁着两个锡点熔化或临界熔化之机左手所持尖锥稍力将其挑起挑出图为开关的两个电极挑出来了接着挑出开关支架的两个脚第一个开关完全拆出了依次第二个开关拆出了三个开关全部拆出来了对开关的拆出以及残锡的清理也可以用吸锡器进行适合自己才是最好的这要看自己操作便捷与熟练而定5.扩大扩圆焊孔利用尖咀电烙铁的配合在焊熔锡点情况下用尖锥迅速插入焊孔将焊孔进行扩大扩圆图为扩大扩圆的焊孔便于新换开关装入6. 对焊孔进行清洁用工业或医用酒精用棉签醮上酒精对焊孔及周围进行擦拭清洗除去油迹与污垢擦拭清洗干净后再仔细观察与检查焊孔及附近是否有残锡黏连电路板需要时应用放大镜进行仔细观察与检查必要时应用表笔测量看看是否存在因为拆卸失效开关而造成电路板局部的碰接与短路7. 更换新的开关选购同样带支架的微动开关三个解放中路电器一条街有售三元一包20个上面的为新购开关下面的是拆出失效开关检查新开关是否合格用万用表电阻档测量新购开关用表笔夹住开关的两个电极观察电表读数其电阻应是无限大(开路)然后用手按动开关电阻应马上变化为2欧姆以下则为合格用刀片刮净新开关电极上的污垢或锈迹将新开关插入原来焊孔里用手按着开关边缘轻力将其按贴按平三个新开关都装好了在控制板上翻转控制电路板对新开关支架脚及开关电极进行焊锡焊锡时间不要太长如果太长恐怕热坏开关与电路板也不要太短如果太短容易虚焊一般一秒为宜焊后随即用口吹气帮助焊口冷却图为焊好新开关的焊锡点再用万用表电阻档测量新开关两个焊点之间的电阻正常时为10到15千欧姆的高阻值当用左手按动按键时即马上变化为2欧姆以下仍然用酒精对新开关焊点及附近进行清洗洗刷残留松香或焊锡膏消除电路板被腐蚀隐患六. 新换控制按键技术工艺处理由于购买维修配件很多时候在市面上经常难以买到型号规格与大小尺寸完全相同的作为维修人员的技术与工艺就在于能够善用不同型号规格与大小尺寸配件的互换与代用常动脑不易老而维修过程与享受生活开心快乐也在于此这是新旧两种规格与尺寸不同的两个带支架的微动开关左边为新购的微动开关体积细小些右边为原有已经失效的微动开关体积略大些尽管都可以原样装进焊孔里但发现新旧按键的轴线出现偏差约1.5毫米左右也造成机顶按键对新开关轴线的偏差因而影响新开关正常的按动主要表现为按动开关接触不灵活甚至没有反应作为解决新开关轴线偏差的方法或者更换其安装支架或者自行制作一个过渡零件方法是用剪刀剪切一条阻燃塑料线槽材料的长条宽度约2.5毫米总长约为54毫米然后再剪开三段配给三个新开关每段长18毫米弯曲成直角的曲尺一边长为10毫米看到了每个新开关与电路板的缝隙将曲尺10毫米段向下插入新开关与电路板的缝隙8毫米段位于新开关按键的上方三个曲尺都插入了三个新开关与电路板的缝隙中换言之新开关两个焊脚架空的缝隙起到了固定曲尺的作用使之不易脱出然后随同电路板一并装回机壳原来的位置控制电路板装回了原来位置安装固定控制电路板的螺钉安装固定螺钉时应当注意它的松紧是否会影响按动按键的效果安装完毕固定螺钉后需要对安装效果进行检测控制电路板固定螺钉的安装直到试验效果对于按键应该是感觉稳定微动灵敏触动可靠连接控制电路板重装控制电路板的接插件对控制电路板原来拆开的接插件喷滴电器清洁剂控制电路板重新装好了此时不用急于装回机盖应该先行通电试机可是碟盒仍然不能打开只能听见碟盒里有轻微杂声估计就是碟盒存在故障了七. 检查碟盒传动机构检查的内容1.传动机构润滑油是否完全干涸造成传动机构阻力增大难以传动2.传动机构污垢是否粘结凝固致使传动机构出现“死点”3. 传动电机是否转动4. 传动带是否严重变形与打滑方法是①用竹签插入碟盒右上角的“末级小齿轮”或者用尖锥插入碟盒右上角的“末级小齿轮”并作顺时针拨动使小齿轮转动半周这个“末级小齿轮”的作用是使碟盒齿条作直线运动从而使碟盒实现进出运动结果发现拨动非常费力证实了传动机构污垢粘结凝固致使传动机构出现“死点”随着“末级小齿轮”顺时针的间歇拨动碟盒向前移动了看到了碟盒橡胶圈的传动机构用镊子夹动一下橡胶圈非常松动严重打滑试试用酒精清洁橡胶圈看看能否克服橡胶圈的打滑同时清洁传动轮上油污再用热吹风对其进行驱潮与风干处理拿出钟表油忌用普通机油及衣车油因为油液粘度大不适合碟盒精密轻巧的传动对传动机构转动轴承进行轻点润滑对“末级小齿轮”轻点润滑对碟盒齿条进行轻点润滑对碟盒小电机的轴承进行轻点润滑润滑油切忌点滴在传动轮坑上这个橡胶圈的变形实在太大了只见电机转不见它拖动将严重变形的橡胶圈拆出临时找条橡皮圈试下效果OK啦可以拖动碟盒移动了重新装好碟盒接上电视机A V视频插孔电视屏幕显示碟机的图标放上视听光盘电视屏幕显示光盘图像光盘正常转动Okl啦两天后带着旧圈作为样板选购比较买回了规格相同新的传动橡胶圈解放中路电器一条街有售两元一个图中左边的为变形失效的橡胶圈右边的两个为新购橡胶圈分“厚装”及“幼装”两种选取“厚装”的橡胶圈重新装上传动机构上碟盒顿显进出自如传动强劲有力重新安装与调整碟盒的固定螺钉在机架上方平放一把精密的水平尺观察水平尺安装并调整碟盒的固定螺钉如果发现某个位置与方向偏低了则需要在碟盒偏低处适当垫片垫高最后从碟盒正面观察看四周的缝隙是否均匀一致不应偏移确保碟盒进出顺利自如最后整机试机接通电源图标显示正常出仓正常进仓正常图像正常声音正常三个控制按键皆正常一切都恢复正常了多谢观看(2019年7月8日15:52:36)(本版为公益宣传弘扬优秀文化如涉侵权敬请告知多谢合作)。
教你如何解决DVD几种常见故障教你如何解决DVD几种常见故障DVD光存储是在CD类光存储之后的又一次重要的技术飞跃,它不仅在技术方面获得了很大的成功,而且并迅速的推向市场,成为CD类产品的替代者。
教你如何解决DVD几种常见故障一、消费者在使用GK-560、GK-580DVD机器时,因为工作忙无时间关系,大部分都没有去仔细阅读机器的说明书,所以有时会发现以下两种现象:1.DVD机器播放具有5.1声道的DVD碟片时,发现中置、低音和环绕音箱没有声音输出;其原因是在DVD的系统设定菜单中没有把“声道选择”项设置在多声道。
解决办法如下:在DVD机器停止状态下,按“设定”键,屏幕会出现一个设定菜单,菜单中有一项为“声道选择”,把高亮条移到这一项上面,按“选择”键则会进入其下一级菜单,把高亮条从“立体声”移到“多声道”,然后按“选择”键设置完成退回主菜单,再按“设定”键退出设定菜单,此时再继续播放碟片,故障解决。
2.普通用户在没有功放、音箱或功放、音箱只有两声道时,播放具有5.1声道的DVD碟片,发现左、右声道均没有影片人物对话声。
原因是当5.1声道全部打开时,其具体分工是这样的:左/右声道输出影片主音乐、左/右环绕输出影片背景音乐、中置输出影片人物对话、低音炮输出影片中的低音成分,这样在5.1声道打开时,因用户只接了左右声道,所以播放时没有人物对话。
具体解决办法如下:在DVD机器停止状态下,按“设定”键,屏幕会出现一个设定菜单,菜单中有一项为“声道选择”,把高亮条移到这一项上面,按“选择”键则会进入其下一级菜单,把高亮条从“多声道”移到“立体声”,然后按“选择”键设置完成退回主菜单,再按“设定”键退出设定菜单,此时再继续播放碟片,故障解决。
二、用户在使用GK-560B、GK-620D、GK-620PDVD机器时,除了上述的设定菜单中的设置原因外,还有丽音菜单的设置。
所以在正确设置了系统设定菜单后,如果没有正确设置丽音菜单也有可能出现上述两种现象。
DVD影碟机常见故障的检修流程工作流程DVD影碟机品种繁多,其电路也各不相同,但它们的系统工作流程基本上是相同的,下面介绍DVD影碟机的系统工作流程,如图1:从DvD影碟机系统工作流程可以看出有如下检测要点:(1)若VFD显示屏能显示相关字符,说明复位电路、时钟电路、系统CPU本身工作正常。
(2)若DVD影碟机与电视机连机后能显示开机画面,说明DVD解压芯片、ROM只读存储器、视频编码电路基本正常。
(3)若托盘进出盒机构、激光头在开机时能够正常复位,说明DVD机芯CPU正常。
(4)若VFD显示屏能显示曲目、时间等播放信息,说明DVD机芯部分基本正常,若此时出现故障,其故障部位一般在机芯之后的电路。
(5)若DVD影碟机声音、图像中的一个正常,说明DVD解压芯片、DRAM、ROM等电路正常,故障一般在视频编码或音频信号处理电路。
总之,对DVD影碟机的故障检修,可遵循一定的规律进行。
即根据整机的系统工作流程来确定故障的检修流程。
同时,还应根据整机各单元电路故障出现的概率,把握好维修的基本原则:先简后繁,先外围后集成,先模拟后数字,先硬件后软件。
通过反复的实践,不断探索和积累维修经验,才能真正提高DVD影碟机的维修技术。
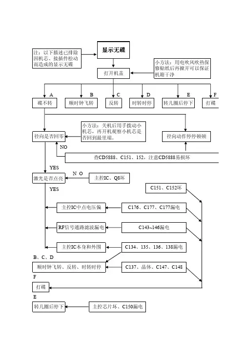
DVD影碟机常见故障的检修流程不读盘的故障检修流程无法读取光盘信息(TOC)的故障绝大部分在DVD机芯部分。
主要有系统CPU或机芯CP U及外围电路的故障,因为整机大多数电路都是在系统CPU的参与控制下完成工作的。
不读盘的故障检修流程图如图所示。
DVD影碟机常见故障的检修流程开机不显示的故障检修流程由DVD影碟机的系统工作流程图可知,开机显示屏不显示,应重点检查电源供电电路、操作显示电路、显示屏或系统CPU电路。
为缩小故障部位,可连接电视机观察是否有图像和声音,若有图有声说明故障在操作显示供电电路、操作显示电路或显示屏本身损坏;若无图无声说明故障在系统CPU控制电路或整机供电电路。
开机无显示的故障检修流程图如图所示。
DVD光盘刻录机常见故障和解放方法刻录机无法被系统识别的原因其实有多种多样,排除刻录机硬件本身已经损坏的原因,下面我们分别来看看到底哪些可以被解决的原因会造成这种情况,又应该如何去解决。
1. 电源线或者数据线未插好这种其实是最傻的情况,但很多马虎的朋友也经常会出现这种情况,其结果自然就是检测不到刻录机,通常在开机启动POST画面就会看到光驱不在显示之列了。
当然,解决方法也很简单,自然就是——关机——插好——再开机,呵呵。
2. 刻录机能识别,但是识别名是乱码具体会乱码成什么样是随机的,当然这种情况下机器也无法正常使用。
造成这种情况的一般是数据线损坏或者接口接触不良,更换数据线或者重新插拔下数据线就能解决,这种问题在老式的IDE接口上发生的几率比较大。
3. 外置刻录机找不到硬件,或者显示连接一个未知的USB设备这种情况对于不少使用外置刻录机的朋友来说可能是经常碰到的问题,造成的原因也多种多样。
首先,USB接口供电不足是造成这个情况的罪魁祸首,部分超薄刻录机所支持的USB取电工作仅仅是针对较新的主板,而较老的主板通常USB供电能力要远远不及较新的主板,以致造成无法驱动外置刻录机,而这种情况下系统则会发生无法找到硬件的毛病。
解决的方法是,使用外置电源。
其次,部分USB连接线材质量不过关也会造成此类情况,这里推荐使用刻录机原装的线材,自己选购的话也尽量选购那种带有屏蔽磁环的线材,使用过于蹩脚的线材容易导致系统识别错误,也就是上述显示连接一个未知的USB设备。
最后,其实外置设备的连接顺序也很有讲究,正确的做法应该是先连接电源,等刻录机自检完成(通常是LED灯熄灭),再接上USB线,如果连接顺序不正确,亦有可能导致外置刻录机不能被系统所识别。
4. 盘符无法分配的问题这个问题比较少见,但是也不是完全不会碰到,通常可能是某些软件做了设定,盘符被隐藏或者未被分配,那么需要使用相应的软件打开隐藏或者使用管理工具中的磁盘管理给光驱分配一个盘符。
DVD播放机维修手册说明:本维修手册旨在为用户提供DVD播放机故障排除和维修方法的详细指导,帮助用户在遇到故障时能够及时解决问题。
请用户在仔细阅读使用说明书的基础上,按照本手册的步骤进行维修操作。
为了确保您和他人的安全,请在开展维修工作之前,确保将播放机断开电源并切断电源线。
部件说明:1. 电源开关——用于打开或关闭播放机电源的开关。
2. 显示屏——用于显示播放状态、时间等信息。
3. 开/关机按钮——用于控制播放机的开关状态。
4. 播放/暂停按钮——用于控制播放或暂停视频。
5. 快进/快退按钮——用于快进或快退视频。
6. 上/下一曲按钮——用于选择播放列表中的上一曲或下一曲。
7. 音量调节按钮——用于调节音量大小。
常见问题及解决方法:故障一:播放机无法开机解决方法:1. 确保电源线已连接到电源插座并稳固。
2. 检查电源开关是否打开。
3. 如果依然无法开机,可能是电源供应问题,建议联系专业技术人员进行维修。
故障二:播放机显示屏无显示解决方法:1. 检查电源线是否正常连接到电源插座。
2. 确认电源开关已打开。
3. 检查显示屏的亮度设置,避免过低的亮度导致无法显示。
4. 如果以上步骤均无效,可能是显示屏故障,建议联系专业技术人员进行维修或更换显示屏。
故障三:播放机无法播放DVD光盘解决方法:1. 检查光盘是否有划痕、灰尘或污渍,如果有,请使用柔软的布轻轻擦拭光盘。
2. 检查光盘是否正确插入播放机,确保光盘在插入口正确对齐并牢固插入。
3. 检查播放机的光盘托盘,确保托盘关闭并牢固锁定。
4. 如果以上步骤仍无法解决问题,可能是光盘驱动器故障,建议联系专业技术人员进行维修。
故障四:播放机无法播放视频或音频解决方法:1. 检查音视频线是否正确连接到播放机和显示设备。
2. 检查播放机的音量设置,确保音量适中。
3. 检查播放设备的声音输出设置,确保音频输出到正确的设备。
4. 如果以上步骤无法解决问题,可能是播放机内部音视频芯片故障,建议联系专业技术人员进行维修或更换芯片。
DVD影碟机常见故障的检修流程
工作流程
DVD影碟机品种繁多,其电路也各不相同,但它们的系统工作流程基本上是相同的,下面介绍DVD影碟机的系统工作流程,如图1:
从DVD影碟机系统工作流程可以看出有如下检测要点:
(1)若VFD显示屏能显示相关字符,说明复位电路、时钟电路、系统CPU本身工作正常。
(2)若DVD影碟机与电视机连机后能显示开机画面,说明DVD解压芯片、ROM 只读存储器、视频编码电路基本正常。
(3)若托盘进出盒机构、激光头在开机时能够正常复位,说明DVD机芯CPU正常。
(4)若VFD显示屏能显示曲目、时间等播放信息,说明DVD机芯部分基本正常,若此时出现故障,其故障部位一般在机芯之后的电路。
(5)若DVD影碟机声音、图像中的一个正常,说明DVD解压芯片、DRAM、ROM等电路正常,故障一般在视频编码或音频信号处理电路。
总之,对DVD影碟机的故障检修,可遵循一定的规律进行。
即根据整机的系统工作流程来确定故障的检修流程。
同时,还应根据整机各单元电路故障出现的概率,把握好维修的基本原则:先简后繁,先外围后集成,先模拟后数字,先硬件后软件。
通过反复的实践,不断探索和积累维修经验,才能真正提高DVD影碟机的维修技术。
不读盘的故障检修流程
无法读取光盘信息(TOC)的故障绝大部分在DVD机芯部分。
主要有系统CPU或机芯C PU及外围电路的故障,因为整机大多数电路都是在系统CPU的参与控制下完成工作的。
不读盘的故障检修流程图如图所示。
开机不显示的故障检修流程
由DVD影碟机的系统工作流程图可知,开机显示屏不显示,应重点检查电源供电电路、操作显示电路、显示屏或系统CPU电路。
为缩小故障部位,可连接电视机观察是否有图像和声音,若有图有声说明故障在操作显示供电电路、操作显示电路或显示屏本身损坏;若无图无声说明故障在系统CPU控制电路或整机供电电路。
开机无显示的故障检修流程图如图所示。
主轴电机不转应重点检查RF放大、FOK信号形成电路、主轴伺服电路、主轴电机驱动电路和主轴电机等,其检修流程图如图所示。
无激光发射检修流程
由DVD影碟机系统工作流程图可知,无激光发射应重点检查机芯的状态检测电路、系统CPU的LD ON控制引脚电压、LD驱动电路等。
其检修流程图如图所示。