发生输血输液反应的处理流程图
- 格式:doc
- 大小:28.01 KB
- 文档页数:1
发生输液反应时的应急预案及程序【应急预案】1.立即停止输液或者保留静脉通路,改换其他液体和输液器。
2.报告医生并遵医嘱给药。
3.情况严重者就地抢救,必要时行心肺复苏。
4.记录患者生命体征、一般情况和抢救过程。
5.及时报告医院感染科、药剂科、消毒供应中心、护理部。
6.保留输液器和药液分别送消毒供应中心和药剂科,同时取相同批号的液体、输液器和注射器分别送检。
7.患者家属有异议时,立即按有关程序对输液器具进行封存。
【程序】立即停止输液→更换液体和输液器→报告医生→遵医嘱给药→就地抢救→观察生命体征→记录抢救过程→及时上报→保留输液器和药液→送检发生输血反应时的应急预案及程序【应急预案】1.立即停止输血,更换输液管,改换生理盐水。
2.报告医生并遵医嘱给药。
3.若为一般过敏反应,情况好转者可继续观察并做好记录。
4.必要时填写输血反应报告卡,上报输血科。
5.怀疑溶血等严重反应时,保留血袋并抽取考试,大收集整理患者血样一起送输血科。
6.患者家属有异议时,立即按有关程序对输血器具进行封存。
【程序】立即停止输血→更换输液管→改换生理盐水→报告医生→遵医嘱给药→严密观察并做好记录→必要时填写输血反应报告卡→上报输血科→怀疑严重反应时→保留血袋→抽取患者血样→送输血科错服药物应急处理错服一般药物,剂量比较小,多喝些白开水,让腹中药物稀释,能及时从尿道排出。
有时遇到意外情况,应及时处理,否则后果严重。
1、吃大量安眠药或其他毒性大的药物,应立即用手指、筷子或汤匙压患者舌根部引吐。
吐后喝一大杯温开水再次引吐,直到胃内容物全部吐出。
此法腐蚀性药物不能采用。
2、误服碘酒,应立即灌米汤或蛋清,然后催吐,反复进行,直到呕出物无碘酒色为止。
3、误服脚气水或皮炎药水,立即用温茶灌服,然后引吐。
4、误服强酸剂,立即用肥皂水或苏打水灌服,以中和强酸,然后反复引吐。
5、误服强碱液,可给患者喝些食醋,然后以醋兑水洗胃。
6、误服来苏液或碳酸液,应尽快让病人喝些生鸡蛋、牛奶、豆浆等含蛋白质多的液体,以求保护食道和胃黏膜。
患者发生输血反应的应急预案及流程
1、立即停止输血,更换输液器,改换生理盐水。
2、报告医生并遵医嘱给药。
3、若为一般性过敏反应,情况好转者可继续观察并做好记录。
4、必要时填写输液反应报告卡,上报输血科。
5、怀疑溶血等严重反应时,保留血袋并抽取患者血样一起送输血科。
6、患者家属有异议时,立即按有关程序对输血器具进行封存。
7、加强巡视及病情观察,做好抢救记录。
8。
如怀疑输血反应与采血机构有关,必须书面报告采供血机构,严重的输血不良反应则应报告上级卫生行政部门
输血不良反应的应急处理。
1、即将住手输血,更换输液器,改输生理盐水。
2、报告医生并遵医嘱给药。
3、若为普通过敏反应,情况好转者可继续观察并做好记录.4、填写输血反应报告卡,上报输血管理科.5、怀疑溶血等严重反应时,保留血袋并抽取患者血样一起送检验科。
6、患者家属有异议时,即将按有关程序对输血器具进行封存。
即将住手输血→更换输液器→改输生理盐水→报告医生→遵医嘱给药→严密观察并做好记录→填写输血反应报告卡→上报输血管理科→怀疑严重反应时→保留血袋→抽取患者血样→送检验科。
1、即将住手输液,保留静脉通路,改换其它液体和输液器。
2、报告医生并遵医嘱给药.3、情况严重就地抢救,必要时进行心肺复苏。
4、记录患者生命体征、普通情况和抢救过程。
5、及时报告医院药剂科,必要时报告护理部。
6、保留输液器和药液。
7、患者家属有异议时,即将按有关程序对输液器具进行封存。
即将住手输液→更换液体和输液器→报告医生→遵医嘱给药→就地抢救→观察生命体征→记录抢救过程→及时上报→保留输液器和药液→家属有异议时封存。
1、护士取药、摆药、发药严格执行查对制度。
2、对病人的疑问应重新核对,确认无误后给病人解释。
3、遵医嘱正确实施给药.4、给药后注意观察药物疗效和病人的反应.5、加强用药指导,护患沟通。
6、一旦发生患者用错药时,即将住手所给药。
7、报告主管医生,并遵医嘱给药,配合医生进行抢救,通知科主任、护士长,必要时报护理部、医务科或者总值班。
8、作好护理记录,作好病人及家属的安抚工作。
9、患者家属有异议时,按有关程序对药物进行封存。
做好安全防范→发现患者用错药时→即将住手所给药→报告主管医生→遵医嘱给药、配合医生进行抢救→必要时报告护理部、医务科或者总值班→做好护理记录→作好病人及家属的安抚工作→必要时医患双方封存药物。
1、医生在为患者用药时,必须问询病人的用药史及过敏史。
2、护士在给患者用药时严格执行查对制度。
3、遵医嘱正确实施给药,给药后注意观察药物疗效和病人的反应,特殊是使用特殊药物如用化疗药等。
1、即将住手输血,更换输液器,改输生理盐水。
2、报告医生并遵医嘱给药。
3、若为普通过敏反应,情况好转者可继续观察并做好记录。
4、填写输血反应报告卡,上报检验科。
5、怀疑溶血等严重反应时,保留血袋并抽取患者血样一起送检验科。
6、患者家属有异议时,即将按有关程序对输血器具进行封存。
即将住手输血→更换输液器→改输生理盐水→报告医生→遵医嘱给药→严密观察并做好记录→ 填写输血反应报告卡→上报检验科→怀疑严重反应时→保留血袋→抽取患者血样→送输血科。
1、即将住手输液,保留静脉通路,改换其它液体和输液器。
2、报告医生并遵医嘱给药。
3、情况严重就地抢救,必要时进行心肺复苏。
4、记录患者生命体征、普通情况和抢救过程。
5、及时报告医院药剂科,必要时报告护理部。
6、保留输液器和药液。
7、患者家属有异议时,即将按有关程序对输液器具进行封存。
即将住手输液→更换液体和输液器→报告医生→遵医嘱给药→就地抢救→观察生命体征→记录抢救过程→及时上报→保留输液器和药液→家属有异议时封存。
1、护士取药、摆药、发药严格执行查对制度。
2、对病人的疑问应重新核对,确认无误后给病人解释。
3、遵医嘱正确实施给药。
4、给药后注意观察药物疗效和病人的反应。
5、加强用药指导,护患沟通。
6、一旦发生患者用错药时,即将住手所给药。
7、报告主管医生,并遵医嘱给药,配合医生进行抢救,通知科主任、护士长,必要时报护理部、医务科或者总值班。
8、作好护理记录,作好病人及家属的安抚工作。
9、患者家属有异议时,按有关程序对药物进行封存。
做好安全防范→发现患者用错药时→即将住手所给药→报告主管医生→遵医嘱给药、配合医生进行抢救→必要时报告护理部、医务科或者总值班→做好护理记录→作好病人及家属的安抚工作→必要时医患双方封存药物。
1、医生在为患者用药时,必须问询病人的用药史及过敏史。
2、护士在给患者用药时严格执行查对制度。
3、遵医嘱正确实施给药,给药后注意观察药物疗效和病人的反应,特殊是使用特殊药物如用化疗药等。
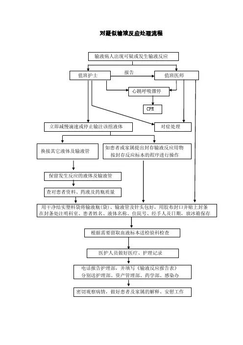
对疑似输液反应处理流程
对疑似输血反应处理流程
输血过程应先慢后快,再根据病情和年龄调整输注速度,并严密观察受血者有无输血不良反应,如出现异常情况应及时处理:
1.减慢或停止输血,用静脉注射生理盐水,维持静脉通道。
2.立即通知值班医师和血库值班人员,及时检查、治疗和抢救患者,并查找原因,做好记录。
3.疑为溶血性或细菌污染性输血反应,立即停止输血,启用新的输液管输注注射用生理盐水,维持静脉通路,及时报告上级医师,在积极治疗、抢救的同时,做好以下核对及检查:
①核对用血申清单、血袋标签、交叉配血试验记录。
②尽早检测血常规、尿常规及尿血红蛋白,如怀疑细菌污染,除上述处理外,应做血液细菌培养。
③如为溶血反应,需重新抽取血液作交叉配血试验。
④用干净结实的胶袋把血袋及输血管、针头包好送输血科做细菌学检验。
4.如患方提出封存输血用物,科室通知医务部及输血科,输血科通知采供血单位人员到场,由医务部、科室医务人员、患方、采供血单位人员共同封存,封口处贴上封条,封存的实物由输血科保管。
需要检验时,由医院、采供血单位、患者三方共同商定在指定的、依法具有检验资格的检验机构进行检验。
检验费暂由医院垫付。
5.做好医疗和护理记录,注意记录输血时间和出现异常症状时间。
6.报告护理部,及时通知消毒供应室对相同厂家、相同批号的输血管进行检测。
7.科室24小时内填写好《输血反应报告表》一式四份,一份科室存底,另三份分别送护理部、输血科、医院感染办。
对疑似输血反应处理流程
封存输液、注射、药物反应标本流程当患者或家属要求封存输液、注射、药物等反应标本时:。
输血管理工作流程图静脉输血流程图输血前准备:在遵循医嘱的情况下,准备采血试管,并仔细核对患者的姓名、性别、年龄、住院号和床号等信息,然后采集血样。
如果有两个以上的患者需要抽血,一次只能拿一个患者的试管和输血申请单。
送血库:由医护人员或专门人员将受血者的血样与输血申请单送到输血科(血库),双方进行逐项核对。
配血合格后,由医护人员携带病历到输血科(血库)取血。
取血前,取备和发血的双方必须共同查对患者的姓名、性别、住院号、床号、血型、品种剂量、血液质量、有效期及配血试验结果,以及保存血的外观等。
确认准确无误后,双方共同签字取回取血。
输血前两人执行三查八对并签名:三查包括:血制品有效期、血制品质量、输血装置是否完整。
八对包括:床号、姓名、住院号、血袋号、血型、交叉试验结果、血制品种类、剂量。
查对供血者姓名、血型、血瓶号、血量、采血日期、血液有无凝块、溶血,血袋有无破损等。
输血时:两人带着病历到床边再次三查八对患者姓名、性别、年龄、住院号、床号、血型、品种、剂量等,确认与配血报告相符,执行输血。
输血过程中应先缓慢后加快,然后根据病情和年龄调整输注速度。
在连续输注一袋以上血液时,中间根据医嘱用0.9%生理盐水冲管。
取回后尽快输用,避免剧烈震荡,30分钟内输入。
严密观察受血者不良反应,观察15分钟后在巡回单上认真记录双方签名后方可离开。
严密观察输血过程,发现异常立即停止输入并报告医师配合处理。
填写输血反应表,剩余血液交血库备查并及时上报护理部和医务处。
护士在输血申请单和医嘱单上双签名,并写好执行时间,将输血记录单附在病历中,输血结束后血袋注明结束时间送回输血科保存24小时。
用血申请程序:评估患者的输血需求,紧急情况下在1小时内或更短时间内需要血液,紧急申请ABO血型和RH(D)配合血液。
血库可选择O型血。
肯定需要血液的情况包括择期手术等。
申请ABO和RH(D)配合血液时,要求在指定的时间内备好,可能需要血液的情况包括产科、择期手术申请定型、抗体筛选和保留备用。