沈阳化工大学-期末复习-化工过程分析与综合解析
- 格式:doc
- 大小:229.68 KB
- 文档页数:14
1、过程系统的三种基本方法a、序贯模块法:通过对单元模块的依次计算来求解系统模型的方法特点:(1)针对树形结构的过程系统(2)以单元模块为基础,定向性很强(3)模拟计算的顺序由流程结构决定(4)对于含不可分隔子系统(再循环回路)的过程系统,必须通过断裂和收敛技术处理,才能用序贯模块法进行计算(5)序贯模块法求解含有多个不可分隔子系统的过程系统时,各个回路分别单独收敛b、联立方程法:将描述一化工流程的所有方程汇总在一起,然后联立求解特点:模拟时不受实际物流和流程结构影响,可灵活地确定输入坏人输出变量c、联立模块法:采用两种设备单元模型(严格模型和简化模型)交替进行模拟计算的方法特点:利用单元模块的严格模型获取简化模型的系数,建立模块输入与输出的线性关系,然后将各单元简化模型与系统的机构模型联立求解。
以低阶的线性方程组的解逼近原非线性方程组的解。
2、序贯模块法的基本思想从流程的第一个单元设备开始计算,即调用与该单元所对应的单元模块,由已知的输入与参数求输出流股变量,而该输出变量即为下一个单元的输入,再依次调用各单元模块,直至流程的最后一个单元模块,就可求得各单元设备的输出流股变量。
3、定常态局部稳定性的基本概念?是指瞬时小干扰引起的对定态的偏离,系统具有自动回复原始定常态的能力。
可分为哪几类?1、局部稳定2、局部不稳定。
4、间歇过程是什么?将有限的物料,按规定的加工顺序,在一个或者多个设备中加工,以获得有限产品的加工过程,如果需要更多产品,必须重复该过程。
通常采用的操作方式?1、非覆盖式操作2、覆盖式操作3、异步覆盖式操作若间歇过程包含了一个时间限制级,如何处理?采用异步操作的办法,即采用多台平行设备进行操作。
为什么呢?可大大缩短该间歇级的循环时间。
5、有向图可以描述方程系统的结构和工艺流程的结构特征描述工艺流程(过程系统)有向图和描述方程系统有向图的区别?1、过程系统:节点为过程单元,支线为物流或能流2、方程系统:节点为方程,支线代表变量的传递方向。
化工安全工程概论化工优创1202班一、考试时间:6月23日(16周周三)二、考试题型:1.单选题2.多选题3.判断题4.名词解释5.简答题6.计算题7.论述题三、考试重点:1.爆炸极限计算2.氧差额判断3.毒物接触时间评价计算4.道化学评价方法5.故障树分析计算6.HAZOP分析第一章绪论1.1重要概念(本章简答题为主)一、任何生产过程都离不开人、物、环境三个方面的因素(PPT)。
二、安全工程研究的基本内容:(1)安全技术(2)劳动卫生技术(3)安全卫生管理三、海因里希划分化工装置紧急状态五个等级(P6):(1)运转失灵;(2)故障;(3)异常;(4)事故;(5)灾害。
四、安全工程评价方法(P8):(1)经验系统化方法;(2)系统解剖分析法;(3)逻辑推到法;(4)人的失误分析法。
五、化工工业危险因素(P4)(1)工厂选址(2)工厂布局(3)结构(4)对加工物质的危险性认识不足(5)化工工艺(6)物料输送(7)误操作(8)设备缺陷(9)防灾计划不充分第二章物质性质、物化原理与安全2.1基本概念(本章名词解释为主)一、危险化学品的分类(P12、PPT)(1)爆炸品(2)压缩气体和液化气体(3)易燃液体(4)易燃固体、自燃物品和遇湿易燃物品(5)氧化剂和有机过氧化物(6)有毒品(7)放射性物质(8)腐蚀品(9)杂项危险物质和物品二、易燃物质的性质(P16):闪点、着火点、自燃温度、蒸汽相对密度、熔点、沸点、分子式、爆炸范围、蒸发潜热、燃烧热。
三、闪点:定义为易挥发可燃物质表面形成的蒸气和空气的混合物遇火燃烧的最低温度。
四、着火点:是指蒸气和空气的混合物在开口容器中可以点燃并持续燃烧的最低温度。
着火点一般高于闪点。
当缺少闪电数据时,着火点可以标示出物质的火险。
五、爆炸范围:也称爆炸极限或燃烧极限。
用可燃蒸汽或气体在空气中的体积分数表示,是可燃蒸汽或气体与空气的混合物遇引爆源引爆即能发生爆炸或燃烧的浓度范围。
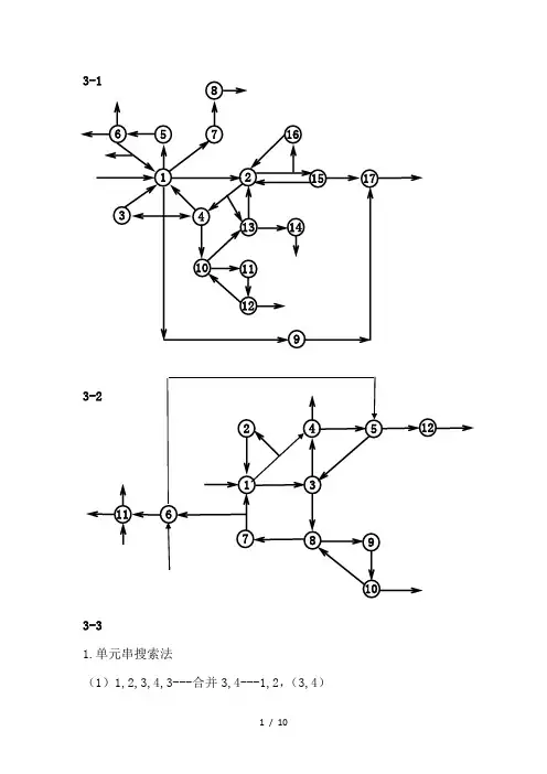
3-31.单元串搜索法(1)1,2,3,4,3---合并3,4---1,2,(3,4)(2)1,2,(3,4),6,5,2---合并2,3,4,5,6---1,(2,(34),6,5)(3)1,(2,(34),6,5),7,1,2,3-------合并1,2,3,4,5,6,7----------((7,1,2,(34)),6,5)(4)加上8所以计算顺序为(1,(2,(3,4)5,6),7), 8Loop Matrix :S2 S3 S4 S5 S6 S7 S8 S9 S10 RB 11 1 14 C1 12 f 1 2 1 1 1 1 1 1 1S2,S6,S7,S8,S9,S10包含于S3 S5包含于S4断开S3,A,B 回路打开,断开S4,C 回路打开。
2系统的邻接矩阵:R=( 0 1 0 0 0 0 00 0 1 0 0 0 10 0 0 1 0 1 00 0 0 0 0 0 10 1 0 0 0 0 00 0 0 0 1 0 01 0 1 0 0 0 0)R 2=( 0 0 1 0 0 0 11 0 1 1 0 1 00 0 0 0 1 0 11 0 1 0 0 0 00 0 1 0 0 0 10 1 0 0 0 0 00 1 0 1 0 1 0)R 3=( 1 0 1 1 0 1 00 1 0 1 1 1 11 1 1 0 0 0 00 1 0 1 0 1 01 0 1 1 0 1 00 0 1 0 0 0 10 0 1 0 1 01)1,2,3,4看做一个拟节点,所得的邻接矩阵为: R=(0 0 1 11 0 0 00 1 0 01 0 0 0)7为一步循环回路,去掉,则邻接矩阵为: R=(0 0 11 0 00 1 0)R 2=(0 1 00 0 11 0 0)R 3=(1 0 00 1 00 0 1)所以计算顺序表为:计算顺序节点2 7Loop Matrix:S2 S3 S4 S5 S6 S7 S8 S9 S10 S11 RB 1 1 1 3C 1 1 1 1 4f 1 1 1 1 1 1 1 1 1 1S2,S8包含于S11S4,S10包含于S9S3,S5,S6包含于S7断开S11,S9,S7则回路A,B,C打开。
化工过程分析与综合大作业姓名:班级:化工1101学号:大作业(一)精馏塔三对角矩阵法模拟计算一.模型建立精馏塔模型二.计算框图1.泡点计算框图输入:j p ,ij xj n =设定温度初值:j T计算:ij K =f(j p ,j T ,i,j x )计算:ij y计算∑=-=ε1ijn yfn=n+1'1/n n n j n j f f T T -=+NYjij ij ij j T K y x p 、、、、输出:Stop610-<ε2.三对角矩阵法计算框图、、、、、、、、输入:f f f fij j N N R D P T Z F 1=k计算初值:ij j x T 、jij ij ij T K y x 、、、计算:jj ij j j V L H h H 、、、、三对角矩阵计算ij xi,j i,jx /x ∑k=k+1YYStop计算收敛判据Tε输出:、、、ij ij ij K y x j T 、j j V L 、j VL 、ε< 0.18三.计算步骤给定设计变量进料组成:乙醛,乙醚,乙醇,水R=5; %回流比N=16; %塔内实际板数D=2.53; %塔顶采出F=zeros(N+2); %含冷凝器与再沸器的每块理论板进料F(7)=100; %只有在第6块进料,进料量为100Kmol/hZ=zeros(4,18);Z(:,7)=[0.01 0.015 0.05 0.925]; %进料组成PF=101.325KP %进料压力TF=95+273.15 %进料温度,K1.给定各塔板上的压力P(j)2.程序:Pmin=101.3;Pmax=110;for j=1:N+2P0(j)=Pmin+(Pmax-Pmin)/(N+1)*(j-1);%线性赋值Endresult:塔板数冷凝器 2 3 4 5 6 7(进料) 8 9初始压101.3000 101.8118 102.3235 102.8353 103.3471 103.8588 104.3706 104.8824 105.3941 力P0(KP)塔板数10 11 12 13 14 15 16 17 再沸器初始压105.9059 106.4176 106.9294 107.4412 107.9529 108.4647 108.9765 109.4882 110.0000 力P0(KP)3.给定液相组成X(i,j)程序:x=[0.4 0.58 0.01 0.01;0 0 0.05 0.95];for i=1:4for j=1:N+2X(i,j)=x(1,i)+(x(2,i)-x(1,i))/(N+1)*(j-1);endendresult:塔板数冷凝器2 3 4 5 6 7(进料)8 9X(乙醛)0.4000 0.3765 0.3529 0.3294 0.3059 0.2824 0.2588 0.2353 0.2118 X(乙醚)0.5800 0.5459 0.5118 0.4776 0.4435 0.4094 0.3753 0.3412 0.3071 X(乙醇)0.0100 0.0124 0.0147 0.0171 0.0194 0.0218 0.0241 0.0265 0.0288 X(水)0.0100 0.0653 0.1206 0.1759 0.2312 0.2865 0.3418 0.3971 0.4524 塔板数10 11 12 13 14 15 16 17 再沸器X(乙醛)0.1882 0.1647 0.1412 0.1176 0.0941 0.0706 0.0471 0.0235 0X(乙醚)0.2729 0.2388 0.2047 0.1706 0.1365 0.1024 0.0682 0.0341 -0.0000 X(乙醇)0.0312 0.0335 0.0359 0.0382 0.0406 0.0429 0.0453 0.0476 0.0500 X(水)0.5076 0.5629 0.6182 0.6735 0.7288 0.7841 0.8394 0.8947 0.95004.赋初值T0(j)程序:A=[16.02 15.916 18.9119 18.3036];B=[2465.6 2447.36 3803.98 3816.4];C=[-37.15 -41.95 -41.68 -46.13];Tb=B./(A-log(760))-C;Tmax=max(Tb);Tmin=min(Tb);for m=1:N+2T0(m)=Tmin+(Tmax-Tmin)/(N+1)*(m-1);Endresult:塔板数冷凝器 2 3 4 5 6 7(进料) 8 9初始温299.8200 304.1335 308.4469 312.7604 317.0738 321.3873 325.7007 330.0142 334.3276 度T0(K)塔板数10 11 12 13 14 15 16 17 再沸器初始温338.6411 342.9545 347.2680 351.5814 355.8949 360.2083 360.2083 368.8352 373.1487 度T0(K)5.平衡常数K(i,j)的计算(1)计算威尔逊系数a(i,m,j)程序:function a=aa(T0)g=[1,0.007445,2.7459,0.3721;1.9197,1,0.3446,0.1270;0.6656,0.8856,1,1.8071;1.3838,0.4304,0.4741,1]; %修正威尔逊配偶系数m/kmolvmc=[0.157,0.17,0.16692,0.063494]; % 临界体积3zc=[0.2274,0.2744,0.2482,0.2609]; %压缩因子tc=[461,400.05,516.25,647.35]; %临界温度,Kfor j=1:18for i=1:4vm(i,j)=vmc(i)*zc(i)^((1-T0(j)/tc(i))^0.2857);endendfor j=1:18for i=1:4for m=1:4a(i,m,j)=(vm(m,j)/vm(i,j))*(exp(-(g(i,m)-g(i,i))/8.3145/T0(j))); %威尔逊系数endendend(2) γ(i,j)及K(i,j)的计算程序:N=16;a=aa(T0); %调用威尔逊系数for j=1:N+2for i=1:4rr=0;for m=1:4rr=rr+a(m,i,j)*X(m,j)/(sum(a(m,:,j).*(X(:,j))'));endr(i,j)=exp(1-log(sum(a(i,:,j).*(X(:,j))'))-rr); %计算活度系数endendfor j=1:N+2for i=1:4p0(i,j)=exp(A(i)-B(i)/(T0(j)+C(i)));%计算泡点K(i,j)=r(i,j)*p0(i,j)/(P0(j)/101.3*760);%计算Kendendresult:塔板数冷凝器 2 3 4 5 6 7(进料)8 9K(乙醛)0.6509 0.7502 0.8603 0.9819 1.1156 1.2621 1.4218 1.5953 1.7831 K(乙醚)0.3226 0.3706 0.4232 0.4805 0.5427 0.6097 0.6814 0.7575 0.8379 K(乙醇)0.0508 0.0642 0.0806 0.1004 0.1241 0.1525 0.1861 0.2257 0.2721K(水)0.0340 0.0435 0.0552 0.0695 0.0868 0.1077 0.1328 0.1626 0.1978 塔板数10 11 12 13 14 15 16 17 再沸器K(乙醛) 1.9856 2.2031 2.4361 2.6846 2.9490 3.2292 3.5253 3.8371 4.1647 K(乙醚)0.9219 1.0090 1.0984 1.1890 1.2795 1.3680 1.4523 1.5294 1.5953 K(乙醇)0.3263 0.3891 0.4615 0.5448 0.6400 0.7485 0.8715 1.0105 1.1671 K(水)0.2393 0.2878 0.3443 0.4097 0.4852 0.5718 0.6708 0.7836 0.91146.newton 迭代求y(i,j),K(i,j),T(j)(1)编写f(T)程序:function y=fnq(T0,X)N=16;A=[17.135 16.36 18.912 18.304];B=[2845.3 2176.8 3804 3816.4];C=[-22.067 -24.673 -41.68 -46.13];Pmin=101.3;Pmax=110;for j=1:N+2P0(j)=Pmin+(Pmax-Pmin)/(N+1)*(j-1);enda=aa(T0); %调用aa,求威尔逊数for j=1:N+2for i=1:4rr=0;for m=1:4rr=rr+a(m,i,j)*X(m,j)/(sum(a(m,:,j).*(X(:,j))'));endr(i,j)=exp(1-log(sum(a(i,:,j).*(X(:,j))'))-rr); %求活度系数endendfor j=1:N+2for i=1:4p0(i,j)=exp(A(i)-B(i)/(T0(j)+C(i)));%求泡点K(i,j)=r(i,j)*p0(i,j)/(P0(j)/101.3*760);%求相平衡系数endendfor j=1:N+2y(j)=sum(K(:,j).*X(:,j))-1;%f(T)end(2)编写f’(T)程序:function y=dfnq(t,X)N=16;A=[16.02 15.916 18.9119 18.3036];B=[2465.6 2447.36 3803.98 3816.4];C=[-37.15 -41.95 -41.68 -46.13];syms t1 t2 t3 t4 t5 t6 t7 t8 t9 t10 t11 t12 t13 t14 t15 t16 t17 t18T0=[t1 t2 t3 t4 t5 t6 t7 t8 t9 t10 t11 t12 t13 t14 t15 t16 t17 t18];g=[1,0.007445,2.7459,0.3721;1.9197,1,0.3446,0.1270;0.6656,0.8856,1,1.8071;1.3838,0.4304,0.47 41,1];vmc=[0.157,0.17,0.16692,0.063494];zc=[0.2274,0.2744,0.2482,0.2609];tc=[461,400.05,516.25,647.35];for j=1:18for i=1:4vm(i,j)=vmc(i)*zc(i)^((1-T0(j)/tc(i))^0.2857);endendfor j=1:18for i=1:4for m=1:4a(i,m,j)=(vm(m,j)/vm(i,j))*(exp(-(g(i,m)-g(i,i))/8.3145/T0(j)));endendendPmin=101.3;Pmax=110;for j=1:N+2P0(j)=Pmin+(Pmax-Pmin)/(N+1)*(j-1);endfor j=1:N+2for i=1:4rr=0;for m=1:4rr=rr+a(m,i,j)*X(m,j)/(sum(a(m,:,j).*(X(:,j))'));endr(i,j)=exp(1-log(sum(a(i,:,j).*(X(:,j))'))-rr);endendfor j=1:N+2for i=1:4p0(i,j)=exp(A(i)-B(i)/(T0(j)+C(i)));DK(i,j)=diff(r(i,j)*p0(i,j)/(P0(j)/101.3*760),T0(j));endendt1=t(1);t2=t(2);t3=t(3);t4=t(4);t5=t(5);t6=t(6);t7=t(7);t8=t(8);t9=t(9);t10=t(10);t11=t(11);t12=t(12);t13=t(13);t14=t(14);t15=t(15);t16=t(16);t17=t(17);t18=t(18); for j=1:18for i=1:4ddk(i,j)=eval(DK(i,j));endendfor j=1:N+2y(j)=sum(ddk(:,j).*X(:,j));end(3)编写newton主程序function tt=niudun(T0,X)eps=1.e-4;%精度maxcnt=10000;%迭代最大次数cnt=0;%cnt为迭代次数for i=1:18%求解18次while cnt<maxcnt%maxcnt为最大迭代次数f=fnq(T0,X);%求函数值df=dfnq(T0,X);%求导数值t(i)=T0(i)-f(i)/df(i);%newton迭代if(abs(t(i)-T0(i))<eps)%规定精度break;endT0(i)=t(i);cnt=cnt+1;endif cnt==maxcnttt(i).jieguo=bushoulian;elsett(i).jieguo=t(i);endtt(i).cishu=cnt;end输入初始温度T0,初始X(i,j)result:(1)T0(j)塔板数冷凝器 2 3 4 5 6 7(进料) 8 9初始压299.0075 300.6543 302.2994 303.9470 305.6017 307.2689 308.9558 310.6717 312.4294 力P0(KP)塔板数10 11 12 13 14 15 16 17 再沸器初始压314.2474 316.1539 318.1940 320.4457 323.0560 326.3387 331.1008 340.1879 373.9640 力P0(KP)(2)Y(i,j)塔板数冷凝器 2 3 4 5 6 7(进料)8 9 Y(乙醛)0.3937 0.4315 0.4683 0.5031 0.5346 0.5613 0.5816 0.5938 0.5958 Y(乙醚)0.4675 0.5086 0.5473 0.5819 0.6107 0.6320 0.6438 0.6441 0.6311 Y(乙醇)0.0009 0.0013 0.0020 0.0029 0.0041 0.0056 0.0076 0.0101 0.0131 Y(水)0.0002 0.0019 0.0045 0.0085 0.0142 0.0224 0.0338 0.0494 0.0704 塔板数10 11 12 13 14 15 16 17 再沸器Y(乙醛)0.5859 0.5621 0.5227 0.4666 0.3937 0.3050 0.2043 0.0986 0 Y(乙醚)0.6032 0.5593 0.4992 0.4238 0.3360 0.2406 0.1456 0.0614 0 Y(乙醇)0.0168 0.0211 0.0262 0.0318 0.0378 0.0438 0.0491 0.0528 0.0533 Y(水)0.0982 0.1348 0.1825 0.2438 0.3220 0.4206 0.5434 0.6934 0.8715 (3)K(i,j)塔板数冷凝器 2 3 4 5 6 7(进料)8 9K(乙醛)0.9841 1.1460 1.3268 1.5273 1.7477 1.9879 2.2472 2.5235 2.8137 K(乙醚)0.8060 0.9318 1.0694 1.2182 1.3770 1.5437 1.7154 1.8878 2.0553 K(乙醇)0.0851 0.1083 0.1364 0.1705 0.2112 0.2594 0.3158 0.3810 0.4554 K(水)0.0220 0.0287 0.0373 0.0481 0.0615 0.0783 0.0989 0.1244 0.1555塔板数10 11 12 13 14 15 16 17 再沸器K(乙醛) 3.1125 3.4125 3.7023 3.9663 4.1826 4.3211 4.3416 4.1926 3.8128 K(乙醚) 2.2099 2.3419 2.4386 2.4845 2.4618 2.3509 2.1338 1.7998 1.3573 K(乙醇)0.5389 0.6307 0.7291 0.8308 0.9303 1.0191 1.0845 1.1080 1.0657 K(水)0.1935 0.2395 0.2951 0.3620 0.4418 0.5364 0.6473 0.7751 0.91746.焓值计算程序:Z=[0.01,0.015,0.05,0.925];TF=95+273.15; %进料组成,进料温度HLcoef=[0,0,0,0;-273.2,170.7,0,0;-277.63,106.52,165.7,575.3;-283.56,75.296,0,0];%液相焓系数HVcoef=[-166.36,62.8,31.05,121.457;0,0,0,0;-235.31,71.1,20.694,205.38;-241.825,30.12,11.30,0]%气相焓系数;for j=1:N+2for i=1:4L(i,j)=HLcoef(i,1)+HLcoef(i,2)*(1.e-3)*((T0(j)-298.15))+HLcoef(i,3)*((T0(j)-298.15)^2)*(1.e-6) /2+HLcoef(i,4)*((T0(j)-298.15)^3)*(1.e-9)/3; %纯组分液相焓计算HV(i,j)=HVcoef(i,1)+HVcoef(i,2)*(1.e-3)*((T0(j)-298.15))+HVcoef(i,3)*((T0(j)-298.15)^2)*(1.e -6)/2+HVcoef(i,4)*((T0(j)-298.15)^3)*(1.e-9)/3; %纯组分气相焓计算if j==7Hf(i,j)=HLcoef(i,1)+HLcoef(i,2)*(1.e-3)*((TF-298.15))+HLcoef(i,3)*((TF-298.15)^2)*1.e-6/2+H Lcoef(i,4)*((TF-298.15)^3)*(1.e-9)/3; %纯组分进料焓值elseHf(i,j)=0;endendH(j)=sum(HL(:,j).*X(:,j)) %混合液相焓h(j)=sum(HV(:,j).*Y(:,j)); %混合气相焓endHFF=sum(Hf(:,7).*Z');HF=zeros(1,18);HF(7)=HFF;%混合进料焓Result:(1)液相焓塔板数冷凝器 2 3 4 5 6 7(进料) 8 9H(KJ/mol)163.8995 170.4845 177.0816 183.6908 190.3121 196.9453 203.5906 210.2478 216.9170 塔板数10 11 12 13 14 15 16 17 再沸器H(KJ/mol)223.5981 230.2911 236.9959 243.7126 250.4410 257.1812 263.9331 270.6967 277.4720(2)气相焓塔板数冷凝器 2 3 4 5 6 7(进料) 8 9h(KJ/mol)65.7005 72.3813 79.1590 85.9539 92.6853 99.2780 105.6703 111.8252 117.7466 塔板数10 11 12 13 14 15 16 17 再沸器h(KJ/mol)123.4989 129.2358 135.2358 141.9501 150.0610 160.5479 174.7426 194.3139 221.0031 (3)进料焓塔板数冷凝器 2 3 4 5 6 7(进料) 8 9 HF(KJ/mol)0 0 0 0 0 0 -274.4300 0 0 塔板数10 11 12 13 14 15 16 17 再沸器HF(KJ/mol)0 0 0 0 0 0 0 0 07.气液相流量分布程序:function [x,y]=funlv(HF,H,h)syms l1 l2 l3 l4 l5 l6 l7 l8 l9 l10 l11 l12 l13 l14 l15 l16 l17 l18;syms v1 v2 v3 v4 v5 v6 v7 v8 v9 v10 v11 v12 v13 v14 v15 v16 v17 v18;L=[l1 l2 l3 l4 l5 l6 l7 l8 l9 l10 l11 l12 l13 l14 l15 l16 l17 l18];V=[v1 v2 v3 v4 v5 v6 v7 v8 v9 v10 v11 v12 v13 v14 v15 v16 v17 v18];R=5;N=16;D=2.53;F=zeros(N+2);F(7)=100;Z=zeros(4,18);Z(:,7)=[0.01 0.015 0.05 0.925];qc=V(2)*(h(2)-H(1));qr=L(18)*H(18)+V(18)*h(18)-L(17)*H(17);Q=[qc,0 0 0 0 0 0 0 0 0 0 0 0 0 0 0 0 qr];for j=1:18if j==1e(1)=1*V(j);%方程1e(2)=R*D-L(1);%方程2endif j>=2&j<=17e(j+1)=L(j)+V(j)-(V(j+1)+L(j-1))-F(j);%18e(j+17)=L(j-1)*H(j-1)-V(j)*h(j)-L(j)*H(j)+V(j+1)*h(j+1)+F(j)*HF(j)-Q(j);%34 endif j==18e(35)=100-L(N+2)-D;%35e(36)=L(N+1)-V(N+2)-L(N+2);%36endends=solve(e(1),e(2),e(3),e(4),e(5),e(6),e(7),e(8),e(9),e(10)...,e(11),e(12),e(13),e(14),e(15),e(16),e(17),e(18),e(19),e(20)...,e(21),e(22),e(23),e(24),e(25),e(26),e(27),e(28),e(29),e(30)...,e(31),e(32),e(33),e(34),e(35),e(36));y=eval(cat(1,s.v1,s.v2,s.v3,s.v4,s.v5,s.v6,s.v7,s.v8,s.v9,s.v10,s.v11,s.v12,s.v13,s.v14,s.v15,s.v16,s.v17,s.v18));x=eval(cat(1,s.l1,s.l2,s.l3,s.l4,s.l5,s.l6,s.l7,s.l8,s.l9,s.l10,s.l11,s.l12,s.l13,s.l14,s.l15,s.l16,s.l17,s.l18));result:(1)液相流量塔板数冷凝器 2 3 4 5 6 7(进料) 8 9L(Kmol/h) 12.6500 11.8565 11.1836 10.6141 10.1373 9.7477 168.5350 161.1218 154.6641 塔板数10 11 12 13 14 15 16 17 再沸器L(Kmol/h) 149.1512 144.6467 141.3276 139.5606 140.0308 143.8795 152.1340 160.4078 97.4700(2)气相流量塔板数冷凝器 2 3 4 5 6 7(进料) 8 9V(Kmol/h) 0 15.1800 14.3865 13.7136 13.1441 12.6673 12.2777 71.0650 63.6518 塔板数10 11 12 13 14 15 16 17 再沸器V(Kmol/h) 57.1941 51.6812 47.1767 43.8576 42.0906 42.5608 46.4095 54.6640 62.93788.编写三对角矩阵程序:function X=sanduijiao(L,V,K)N=16;A=zeros(4,N+2);B=zeros(4,N+2);C=zeros(4,N+2);D=zeros(4,N+2);triM=zeros(18,18,4);Z=zeros(4,18);Z(:,7)=[0.01 0.015 0.05 0.925];F=zeros(N+2);F(7)=100;for j=1:18 %计算三对角矩阵中的元素if j==1A(:,1)=0;for i=1:4B(i,1)=-V(1)*K(i,1)+L(1);C(i,1)=V(2)*K(i,2);endD(:,1)=0;endif 2<=j&j<=(N+1)A(:,j)=L(j-1);for i=1:4B(i,j)=-V(j)*K(i,j)-L(j);C(i,j)=V(j+1)*K(i,j);D(i,j)=-F(j)*Z(i,j);endendif j==18A(:,j)=L(j-1);for i=1:4B(i,j)=-(L(j)+V(j)*K(i,j));endC(:,j)=0;D(:,j)=0;endendfor j=1:N+2%构造三对角矩阵if(j>1)triM(j,j-1,:)=A(:,j);endtriM(j,j,:)=B(:,j);if(j<N+2)triM(j,j+1,:)=C(:,j);endendfor i=1:4X(i,:)=(triM(:,:,i)\(D(i,:))')';endresult:X(i,j)塔板乙醛乙醚乙醇水冷凝器0.0036 -0.0029 -0.0000 -0.00002 0.0025 0.0024 0.0000 0.00003 0.0070 0.0071 0.0000 0.00004 0.0100 0.0110 0.0003 0.00015 0.0120 0.0141 0.0015 0.00246 0.0132 0.0163 0.0076 0.04017 0.0140 0.0179 0.0327 0.56538 0.0122 0.0171 0.0339 0.58989 0.0104 0.0163 0.0350 0.612610 0.0086 0.0156 0.0359 0.633011 0.0070 0.0151 0.0366 0.650012 0.0056 0.0149 0.0370 0.662313 0.0043 0.0152 0.0372 0.668014 0.0032 0.0160 0.0371 0.665415 0.0023 0.0170 0.0372 0.654716 0.0014 0.0174 0.0373 0.642417 0.0008 0.0166 0.0367 0.6384 再沸器0.0004 0.0144 0.0347 0.64039.计算收敛判据程序:for j=1:18s=s+(T(cnt,j)-T(cnt-1,j))^2;end10.圆整X程序:function x=yuanzheng(X)for j=1:18for i=1:4x(i,j)=X(i,j)/sum(X(:,j));endend11.一次圆整不能满足规定精度,所以迭代计算程序:function x=yuanzheng(X)for j=1:18for i=1:4x(i,j)=X(i,j)/sum(X(:,j));endendresult:板数乙醛乙醚乙醇水液相负荷L(kmol/h)汽相负荷V(kmol/h)乙醛乙醚乙醇水塔板温度T(K)X1 X2 X3 X4 K1 K2 K3 K4冷凝器0.40020.59970.00000.000112.6500 0 1.03591.00820.01870.0706299.00751 0.4082 0.58960.00000.0022 12.6768 15.18001.05521.09490.02180.0730 300.65432 0.4078 0.58660.00000.0056 12.7036 15.20681.07611.19340.02550.0756 302.29943 0.4045 0.56590.00010.0295 12.7302 15.23361.09891.30580.02990.0783 303.94704 0.3553 0.48320.00170.1598 12.7570 15.26021.12411.43560.03510.0811 305.60175 0.1889 0.25110.01380.5461 12.7834 15.28701.15211.58690.04120.0841 307.2689进料6 0.04580.05990.04420.8502 112.9185 15.31341.18371.76550.04840.0874 308.95587 0.0355 0.03040.04630.8878 112.9617 15.44851.21971.97960.05690.0910 310.67178 0.0274 0.01450.04760.9105 113.0048 15.49171.26152.24060.06720.0949 312.42949 0.0211 0.00650.04830.9241 113.0482 15.53481.31132.56570.07950.0993 314.247410 0.0162 0.00270.04880.9323 113.0916 15.57821.3722.98160.09450.1044 316.153911 0.0124 0.00110.04910.9375 113.1343 15.62161.4493.53210.1130.1106 318.194012 0.0094 0.00040.04920.9410 113.1775 15.66431.55134.29460.13660.1183 320.445713 0.0071 0.00010.04910.9437 113.2199 15.70751.69675.41940.16800.1288 323.056014 0.0053 0.00000.04870.9459 113.2631 15.74991.92527.24240.21340.1449 326.338715 0.0039 0.00000.04810.9480 113.3061 15.79312.347110.69400.29070.1747 331.100816 0.0028 0.00000.04700.9502 113.3487 15.83613.413619.59860.47930.2550 340.1879再沸器0.00230.00000.04600.9517 97.4700 15.878710.244378.68231.99020.9479 373.9640三.所用公式(查找的除课本以外的附加公式)1 泡点计算.ijiiij CTBAp+-=ln2 相平衡常数计算jijijijijij ppxyKγ==3 活度系数计算∑∑∑===--=NkNjjkjkkiNjjijixxx111)ln(1lnλλλγ4 威尔逊配偶系数计算)(,,e x pRTggVViiijLimLjmij--=λ5 摩尔体积的计算2857.0)1(,,cT T cc m L im Z V V-⨯=6 液相焓,气相焓,进料焓计算ij i ijj y HH ∑==1ij i ij j x h h ∑==1Fi i Fi F zHH ∑==1大作业(二)管壳换热器无相变传热模拟计算实例matlab程序clccleara=130;%传热面积ds=0.7;%壳体直径d=0.02;%管子内径l=6;%管长at=0.0438;%管程通道截面积as=0.0525;%壳程通道截面积wh=68250;%渣油质量流量,kg/hwc=175000;%原油质量流量,kg/hth1=382;%渣油入口温度tc1=275;%原油入口温度np=2;%管程nb=19;%壳程挡板数ri=0.0005;%渣油侧,管内侧热阻ro=0.0001;%原油侧,管外侧热阻th20=300 %渣油出口温度初值i=1;fprintf('试差计算开始...')while 1%原油和渣油物理性质计算tmh=(th20+th1)/2;%渣油定性温度d20h=0.919;%渣油20℃相对密度kh=12.5;%渣油特性因数cph=((0.7072+0.000551*d20h)*tmh-0.318*d20h)*(0.055*kh+0.35)*4.18;%渣油比定压热容%求解冷端即原油的出口温度tc20.因与cpc与tc20有关,化成一元二次方程d20c=0.850;%原油20℃相对密度kc=12.5;%原油特性因数p=[(0.7072+0.000511*d20c)/2 -0.318*d20c -((0.7072+0.000511*d20c)/2*tc1^2-0.318*d20c*tc1+wh*cph*(th1-th20)/(wc*(0.055*kc+0.35)*4.18))];%一元二次方程系数矩阵t=roots(p);%解有关tc20的一元二次方程tc20=t(t>0);fprintf('原油出口温度tc20= %8.2f\n',tc20)tmc=(tc20+tc1)/2;%原油定性温度cpc=((0.7072+0.000551*d20c)*tmc-0.318*d20c)*(0.055*kc+0.35)*4.18;%原油比定压热容fprintf('比定压比热容cph= %8.2f\n \tcpc= %8.2f\n',cph,cpc)%相对密度计算xh=1+tmh/100;dh=0.942+0.248*xh+0.174*d20h^2+0.0841/(xh*d20h)-0.312*xh/d20h-0.556*exp(-xh);%渣油相对密度xc=1+tmc/100;dc=0.942+0.248*xc+0.174*d20c^2+0.0841/(xc*d20c)-0.312*xc/d20c-0.556*exp(-xc);%原油相对密度fprintf('相对密度dh= %2.4f\n \tdc= %2.4f\n',dh,dc)%l表示热导率lh=0.4213*(1-0.00054*tmh)/d20h;%渣油热导率lc=0.4213*(1-0.00054*tmc)/d20c;%原油热导率fprintf('热导率lh= %2.4f\n \tlc= %2.4f\n',lh,lc)%关于运动粘度的计算t1=50;t2=100;v1h=1500;v2h=120;%渣油分别在50℃、100℃下的运动黏度v1c=90;v2c=13;%原油分别在50℃、100℃下的运动黏度bh=log(log(v1h+1.22)/log(v2h+1.22))/log((t1+273)/(t2+273));ah=log(log(v1h+1.22))-bh*log(t1+273);vh=exp(exp(ah+bh*log(tmh+273)))-1.22;%渣油运动黏度bc=log(log(v1c+1.22)/log(v2c+1.22))/log((t1+273)/(t2+273));ac=log(log(v1c+1.22))-bc*log(t1+273);vc=exp(exp(ac+bc*log(tmc+273)))-1.22;%原油运动黏度%黏度y是运动黏度与密度的乘积yh=dh*vh;%渣油黏度yc=dc*vh;%原油黏度fprintf('黏度yh= %2.4f\n \tyc= %2.4f\n',yh,yc)%hi,管内传热系数计算%现在是渣油即热流体走管程,内表面壁温twhuh=wh/(at*dh*1000*3600/2);%质量流量换算reh=dh*1000*d*uh*10^4/yh;%渣油雷诺数prh=cph*(yh*10^-4)/lh;%渣油普朗特数nuh=0.023*reh^0.8*prh^0.33;%渣油努塞尔数qh=wh*cph*(th1-th20);hi=nuh*lh/d;%管内传热系数,未考虑壁温影响twh=tmh+qh/(hi*a*3600);j=0;while 1vwh=exp(exp(ah+bh*log(twh+273)))-1.22;%内表面为twh的运动黏度ywh=dh*vwh;%内表面为tw的黏度hiw=hi*(yh/ywh)^0.14;twhi=tmh+qh/(hiw*a*3600);if abs(twhi-twh)<0.0001breakelsetwh=twhi;j=j+1;endendfprintf('通过计算壁温twh、传热系数hi、迭代次数j分别是twh= %2.4f\n \thi= %2.4f\n \t j= %d\n',twh,hiw,j)%ho,管外传热系数计算%现在是原油即冷流体走壳程,外表面壁温twcuc=wc/(as*ds*1000*3600);%质量流量换算rec=dc*1000*ds*uc*10^4/yc;%原油雷诺数prc=cpc*(yc*10^-4)/lc;%油普朗特数nuc=0.023*rec^0.55*prc^0.33;%原油努塞尔数qc=wc*cpc*(tc20-tc1);ho=nuc*lc/ds;%管外传热系数,未考虑壁温影响ao=a*1.5625;%考虑管子厚度,管外传热面积twc=tmc+qc/(ho*ao*3600);k=0;while 1vwc=exp(exp(ac+bc*log(twc+273)))-1.22;%内表面为twh的运动黏度ywc=dc*vwc;%内表面为tw的黏度how=ho*(yh/ywh)^0.14;twci=tmc-qc/(how*ao*3600);if abs(twci-twc)<0.0001breakelsetwc=twci;k=k+1;endendfprintf('通过计算壁温twc、传热系数ho、迭代次数k分别是twc= %2.4f\n \tho= %2.4f\n \t k= %d\n',twc,how,k)%传热系数kn=(1/hi+ri)*1.5625+(1/ho+ro);K=1/n;fprintf('传热系数K=%2.4f\n',K)%用传热效率x和传热单元数ntu计算出口温度c=[wc*cpc wh*cph];cmin=min(c);cmax=max(c);ntu=k*a/cmin;m=ntu*sqrt(1+(cmin/cmax)^2);x=2/((1+cmin/cmax)+sqrt(1+cmin/cmax)*(1+exp(-m))/(1-exp(-m)));rc=cmin/cmax;%热容流率比if cmin==wc*cpc %冷流体即原油热容流率为(wcp)min时tc2=tc1+x*(th1-tc1);th2=th1-rc*(tc2-tc1);elseth2=th1-x*(th1-tc1);tc2=tc1+rc*(th1-th2);endfprintf('th2= %2.4f\n\ttc2= %2.4f\n',th2,th1)if abs(tc2-tc20)<0.01breakelseth20=th2i=i+1endend%管程流体阻力pt计算gi=wh/(3600*at);%质量流速fsi=1.5;%结垢校正系数if reh<10^5fi=0.4513*reh^-0.2663;elsefi=0.2864*reh^-0.2258;endpt=(fi*l/d+4)*gi^2*np*fsi/(2*10^3*dh);fprintf('管程流体阻力pt= %2.4f\n',pt)%壳程流动阻力ps计算fso=0.15;%结垢校正系数de=0.027;%根据《化工原理》介绍我国制造浮头式换热器,中心距取32mm,管子排列是正方形fse=10;%壳程入口导流阻力系数go=wc/(3600*as);%质量流量if rec<150fo=120*rec^-0.993;elseif rec>1500fo=0.7664*rec^-0.0854;elsefo=10*(15.312/(log(rec))^4.735-0.44);endps=(ds*(nb+1)*fo*fso/de+fse)*go^2/(2*10^3*dc);fprintf('管程流体阻力ps= %2.4f\n',ps)。
化工过程分析与综合课程设计背景介绍化工过程分析与综合课程旨在通过实例讲解的方式,深入浅出地介绍化工过程的分析、设计及综合应用。
本课程将化工过程的基础理论与实际操作相结合,让学生在理论与实践中获得提高。
课程内容化工过程分析化工过程分析是课程的主要内容之一,主要包括以下几个方面:1.热力学分析:讲解热力学基本知识,并利用实例掌握热力学分析方法。
2.动力学分析:介绍反应动力学基本概念,并通过反应动力学实例掌握动力学分析方法。
3.流体力学分析:讲解流体力学基本知识,通过实例掌握流体力学分析方法。
4.传热传质分析:介绍传热传质基本概念,并通过实例掌握传热传质分析方法。
化工过程综合化工过程综合是课程的另一个主要内容,主要包括以下方面:1.化工过程设计:讲解化工过程设计基本知识,并通过实例掌握化工过程设计方法。
2.化工装置优化:介绍化工装置优化的理论知识,并通过实例掌握化工装置优化的方法。
3.化工系统集成:讲解化工系统集成的基本概念,并通过实例掌握化工系统集成的方法。
除此之外,本课程还将对化工过程的安全、环保、节能等方面进行介绍,并通过实例让学生意识到化工过程设计中需要考虑的综合因素。
课程设计为了让学生更好地掌握化工过程分析与综合,本课程将设计以下两个项目:项目一:化工过程分析项目在此项目中,学生将选择一个化工过程,运用所学分析方法进行分析,并撰写分析报告,同时在班内进行短时间报告分享。
此项目的目的是让学生掌握化工过程分析方法,并提高其分析问题的能力。
项目二:化工过程设计项目在此项目中,学生将在小组内选择一个实际化工过程,并对其进行全面的过程设计。
包括热力学、动力学、传热传质、流体力学等方面的设计,并通过班内讲解与展示,分享团队所取得的成果与困难,此项目的目的是让学生在集体合作中提高其团队合作与项目管理能力。
作业要求为了帮助学生更好地掌握所学知识,本课程将安排以下作业:1.每周课堂练习:每周上课后的练习,主要围绕所学内容设计,并通过作业让学生对所学内容尽快掌握。
化工过程分析与综合化工优创1202班冃U §、考试题目类型:1•填空3•问答2选择4.大题、考试重点1.自由度计算(必有大题)2•信息流图、信号流图、矩阵等转化(必有大题)3•最大循环网络断裂(必有大题)4•信号流图与方程转化(必有大题)5•分离序列6•夹点技术三、考试类型:开卷考试(=_=||),红色的都是重点!!!第一章绪论1.1基本概念(1)化工过程:用适当的原料经过一系列物理单元操作和化学反应的单元过程而转化为合乎需要的产品的过程。
P1(2)过程系统工程:是一门综合性的边缘学科,它以处理物料一一能量一一资金一一信息流的过程系统为研究对象,其核心功能是过程系统的组织、计划、协调、设计、控制和管理;P1(2)化工过程工业要求:最优设计、最优规划、最优决策、最优控制、最优管理;P1(3)过程系统工程研究内容:过程系统模拟,包括稳态过程系统模拟和动态过程系统模拟;过程系统综合;过程系统操作与控制,包括数据筛选与校正、过程操作优化、过程安全监控及事故诊断、操作模拟培训系统;间歇过程的设计与操作优化;人工智能技术应用。
P3(4)系统:为了在给定条件下实现一定目的,由若干互有联系、彼此影响的事物组成的一个统一整体。
(5)参数优化:在一已确定的系统流程中,对其中的操作参数(如, T、P、Vs)等进行优选,以满足某些指标(如,费用、能耗、环境影响等)达到最优。
(6)结构优化:改变过程系统中的设备类型或相互间的联结,以优化过程系统。
第二章单元过程的模拟2.1基本概念(1)化工单元过程数学模型分类(P6):一、 按对象的时态本质来看,可以分为稳态模型与动态模型。
二、 按模型建立的方法来看,可以分为机理模型与经验模型。
三、 按过程对象的数学描述方法不同,可以分为集中参数模型和 分布参数模型。
四、 按对象的属性不同,可以分为确定性模型和随机模型。
2.2基本公式(1)自由度计算公式:d = Y (C +2) + (S-l) + £ + ^ + g /=!一、 物料质量平衡质量累积速率=质量流入系统速率■质量流出系统速率二、 组分j 的物料平衡组分j 累积速率=由外界环境进入该系统的组分j 的速率•由系统排出的组分j 的速率三、 能量平衡系统能量积累速率二外界物流带入系统能量■系统流出物流带岀能量+环境e ——与物料无关的能量流和压力引入的自由度r ----- 独立反应数 g —几何自由度,通常=0n ——输入流股数 Ci ——第i 个输入流股组分数s ——分支输出流股数(2)守恒关系式(P35)通过系统边界传递能量+系统中反应产牛能量+通过环境做功产牛的能量(3)几个重要的自由度(P8)单元操作示意图独立方程数自由度混合器F》P 1,T2,X\2>X22,…龙门m=C+2d=n一m=3(C+2)・(C+2)=2(C+2)分割器分割成2股物流,自市度:d=(C+2)+1分割成S股物流,自由度:d=(C+2)+(S-l)闪蒸器斤•北•人A;FJA、QQ X | j •:X £ im=2C+3d=3(C+2)+l- (2C+3)=C+4换热器]G+2反应器F初T畑“曲----- >統:…仙压力变化单元Q+2C+2Q+2C+2C+2d = Cx + Cid=C+r+4阀门d=2(C+l)・(C+2)=C+3C+2泵、压缩机d=2(C+2)+2・(C+2)=C+4(4)精憾塔自由度(P11)变量名称独立变量数总板数N1进料板位置/VF1进料量F1进料组成zi C-1进料温度TV1进料压力pF1压力控制1各板的压力降Apj N各板与环境传热量Q]NC+5+2N2.3重要例题求闪蒸罐独立变量数:解:独立变量数:n=3(C+2)+l独立方程:物料衡算C个、热量衡算、温度平衡、压力平衡、相平衡C个。
《化工过程分析》复习资料一、填空1、过程系统分解包括对大规模复杂系统进行的识别、的分割、的断裂。
2、换热网络的设计要尽量有热通量穿过夹点。
3、系统的自由度为数减去描述系统的数。
4、过程系统工程学是以、、为基础,以为工具,应用于化工过程领域的一门边缘学科。
5、一个含有C组分的独立流股具有个自由度。
6、Aspen Plus软件的解算方法为,对于有循环回路和设计规定的流程必须。
7、最优化模型一般包括、和三大要素。
8、在实际过程系统中,决策变量数往往系统的自由度数。
9、在通用流程模拟系统中主要涉及物性模型、、和经济模型几大类,有时还涉及和管理模型。
10、综合换热网络时,实现最小公用工程目标的三种方法分别是、和线性规划法。
11、序贯模块法的基础是,单元模块是依据相应过程单元的和编制而成的子程序。
12、过程系统模拟基本方法分为、和三大类。
13、序贯模块法的基础是,单元模块是依据相应过程单元的和编制而成的子程序。
14、化工过程系统分解可分为及。
15、Aspen Plus是基于、、和的大型化工流程模拟软件。
16、过程系统工程的研究主要是:、、、、、人工智能技术的应用等。
17、是过程系统分析的主要工具。
18、过程系统综合的基本方法是、、、。
19、有两个流股混合成一个流股,每一流股有(C+2)个独立变量,则混合器的自由度为。
20、单元过程模拟的核心工作是构建。
21、过程系统模拟的基本任务是:、、。
22、选择最优断裂流股的方法有、、。
23、温-焓图(T-H图)描述的是过程系统中和的热特性。
24、确定夹点位置比较常用的方法是。
25、过程系统模拟的基本方法中,序贯模块法按求解。
26、用“问题表格法”确定夹点位置,可以看出夹点的两个特征:一是;二是。
27、过程系统工程的基本内容是:从过程系统的出发,根据系统内部各个组成部分的,确定过程系统在规划、设计、控制和管理等方面的最优策略。
28、过程系统分解包括对大规模复杂系统进行的识别、的分隔、的断裂。
化工过程分析与合成复习一、基本概念(1)名词解释1、化工过程系统模拟(对于化工过程,在计算机上通过数学模型反映物理原型的规律)2、过程系统优化(实现过程系统最优运行,包括结构优化和参数优化)3、过程系统合成(P5)4、过程系统自由度(过程系统有m个独立方程数,其中含有n个变量,则过程系统的自由度为:d=n-m,通过自由度分析正确地确定系统应给定的独立变量数。
)5、夹点的意义(夹点处,系统的传热温差最小(等于ΔT min ),系统用能瓶颈位置。
夹点处热流量为0 ,夹点将系统分为热端和冷端两个子系统,热端在夹点温度以上,只需要公用工程加热(热阱),冷端在夹点温度以下,只需要公用工程冷却(热源);)6、过程系统能量集成(以用能最小化为目标的考虑整个工艺背景的过程能量综合)7、过程系统的结构优化和参数优化(改变过程系统中的设备类型或相互间的联结关系,以优化过程系统;参数优化指在确定的系统结构中,改变操作参数,是过程某些指标达到优化。
)二、判断以下问题是非(N,Y)• 1.自由度数只与过程系统有关。
(Y )• 2.换热网络的夹点设计,要尽量避免物流穿过夹点。
(N )• 3.在换热夹点分析中,没有物流穿过夹点,就无热流量穿过夹点。
(N )• 4.在夹点上方尽量避免引入冷物流,夹点下方尽量避免引入热物流(N )• 5.穿过夹点热流量为零,则夹点处传热量为零(N )• 6.夹点上方热流股数NH.>NC,热流股总热负荷QH<QC,不能实现夹点匹配( N ) •7.精馏塔跨过夹点,则塔底要用热公用工程,塔顶要用冷公用工程。
(Y )•8. 对于冷热流股换热系统,传热量一定的前提下,传热温差愈小,过程不可逆程度愈小,有效能损失愈小,但要求较大的热交换面积。
(Y)•9. 利用能量松弛方法对换热器网络的调优,并不影响冷热公用工程负荷。
(N)•10. 热物流穿过换热网络的夹点,必有热流量穿过夹点。
(N)•11. 热物流在夹点上方,冷物流在夹点下方。
百度文库- 让每个人平等地提升自我化工安全工程概论化工优创1202班一、考试时间:6月23日(16周周三)二、考试题型:1.单选题2.多选题3.判断题4.名词解释5.简答题6.计算题7.论述题三、考试重点:1.爆炸极限计算2.氧差额判断3.毒物接触时间评价计算4.道化学评价方法5.故障树分析计算6.HAZOP分析第一章绪论重要概念(本章简答题为主)一、任何生产过程都离不开人、物、环境三个方面的因素(PPT)。
二、安全工程研究的基本内容:(1)安全技术(2)劳动卫生技术(3)安全卫生管理三、海因里希划分化工装置紧急状态五个等级(P6):(1)运转失灵;(2)故障;(3)异常;(4)事故;(5)灾害。
四、安全工程评价方法(P8):(1)经验系统化方法;(2)系统解剖分析法;(3)逻辑推到法;(4)人的失误分析法。
五、化工工业危险因素(P4)(1)工厂选址(2)工厂布局(3)结构(4)对加工物质的危险性认识不足(5)化工工艺(6)物料输送(7)误操作(8)设备缺陷(9)防灾计划不充分第二章物质性质、物化原理与安全基本概念(本章名词解释为主)一、危险化学品的分类(P12、PPT)(1)爆炸品(2)压缩气体和液化气体(3)易燃液体(4)易燃固体、自燃物品和遇湿易燃物品(5)氧化剂和有机过氧化物(6)有毒品(7)放射性物质(8)腐蚀品(9)杂项危险物质和物品二、易燃物质的性质(P16):闪点、着火点、自燃温度、蒸汽相对密度、熔点、沸点、分子式、爆炸范围、蒸发潜热、燃烧热。
三、闪点:定义为易挥发可燃物质表面形成的蒸气和空气的混合物遇火燃烧的最低温度。
四、着火点:是指蒸气和空气的混合物在开口容器中可以点燃并持续燃烧的最低温度。
着火点一般高于闪点。
当缺少闪电数据时,着火点可以标示出物质的火险。
五、爆炸范围:也称爆炸极限或燃烧极限。
用可燃蒸汽或气体在空气中的体积分数表示,是可燃蒸汽或气体与空气的混合物遇引爆源引爆即能发生爆炸或燃烧的浓度范围。
一、填空题(每空1分)1 稳态模拟的特点是,描述过程对象的模型中??时间参数。
2 就其模拟计算求解方法而言,过程系统模拟可以归纳为:??、??、??。
3序贯模块法的基础是??。
4 求解超大型稀疏非线性方程组的方法大致分为??、??两类。
5 根据对过程系统中状态变量分布特征的不同描述方式,一般可以把动态模拟时的数学模型分为??、??和??。
6 根据建立模型的不同方法,一般可以将数学模型分为??、??和介于两者之间的??。
7 连续搅拌罐反应器(CSTR)的动态模型可以用??参数模型进行描述。
8 ??优化和??优化是过程系统的两大类优化问题,它们贯穿于化工过程设计和化工过程操作。
9求解非线性有约束条件最优化问题的方法很多,比较常用的有??和??。
它们的共同点在于都是将有约束最优化问题转变成??最优化问题。
10在分离序列的综合中,根据试探法的经验规则S2,难分离的组分应当??分离。
11化工分析过程,主要是分析过程系统的运行机制、影响因素、??、??、优惠工况下的最佳操作参数等。
12化工过程系统的合成包括有:反应路径合成、??、??、过程控制系统合成,特别是要解决由各个单元过程合成总体的任务。
13??优化考虑的是流程方案的优化,在多种可行方案中找出费用最小的流程结构。
14在夹点之上,换热网络仅需要??公用工程,相对于环境是个??;在夹点之下,换热网络仅需要??公用工程,相对于环境是个??。
15在分离序列综合中,按照??规则,等摩尔分割最有利。
16采用一种分离方法把一个??组分混合物用简单塔分离成??个纯组分的分离过程,共含??个分离器,??个分离序列数,含有??个分离子群,??个分离子问题。
17以下换热网络中的物流匹配??是可行的,??是不可行的。
18如果优化计算结果直接送往控制系统去执行则称为??。
二、判断题(每题2分)。
请判断对错(√或 ),并简单解释原因。
1在序贯模块法中的单元模块具有单向性的特点。
化工过程分析与综合过程系统---通俗化理解:具有特定功能的单元过程,按照一定方式相互联结所形成的网络过程系统---功能实现工业生产中的物质和能量的转换,保证物流的输送和储存。
化工过程的模型化:在现有理论、实验研究、工程实践的基础上,通过分析研究及科学、合理简化,抽象出能够深刻、正确反映过程系统本质的数学描述模拟的定义:采用一能反应研究对象本质和内在联系,与原型具有客观一致性,且可再现原型发生的本质过程和特性的模型,来研究和设计原型过程的方法数学模型分类和依据:(1)稳态模型和动态模型(_变量是否随时间而变)(2)机理模型和“黑箱”模型(经验模型)(机理模型:根据化学工程学科及其相关学科的理论与方法,对反应进行分析研究而建立的模型;“黑箱”模型:即经验模型,不能对过程机理进行进行正确的描述,将研究对象当作“黑箱”处理,根据过程输入、输出数据,采用回归分析方法确定输出与输入数据的关系)(3)集中参数模型与分布参数模型(过程的变量是否随空间坐标改变)(4)确定性模型和随机模型(输入与输出是否存在确定性关系;若时间不作为变量---统计的数学模型)机理模型:由过程机理出发,经推导得到,并得到实验验证。
统计模型:根据小试或工业实际数据拟合或回归得到纯经验的数学关系式。
混合模型:对实际过程进行抽象概括和合理简化,然后对简化的物理模型加以数学描述得到的数学关系式。
又称半经验半理论模型。
单元机理模型的建立步骤:(1)建立数学模型的假定条件(2)机理模型的建立方法(3)数学模型的求解过程系统模拟基本结构及作用:输入模块:提供模拟计算中所需要的所有信息,包括过程系统的拓扑结构信息。
输入方式:批处理、一次输入形式或用户人机对话形式。
单元过程模块:过程系统模拟的重要组成部分。
根据输入流股及单元结构信息,通过过程速率或平衡级的计算,对过程进行物料流及能量流的衡算,获得输出流的信息。
优化方法库:为系统模拟提供优化计算方法。
无约束最优化方法:一维搜索(黄金分割法、消去法、抛物线法)、变量轮换法、负梯度法、单纯形法等,有约束最优化方法:lagrange乘子法、罚函数法、既约梯度法等。