《电气控制与PLC应用技术》期末试卷A卷
- 格式:docx
- 大小:63.49 KB
- 文档页数:7
电气控制与plc应用技术期末试题及答案一、单项选择题(每题2分,共20分)1. PLC的全称是()。
A. 可编程逻辑控制器B. 可编程线性控制器C. 可编程逻辑计算器D. 可编程逻辑电路答案:A2. 下列哪个不是PLC的特点?()A. 高可靠性B. 高灵活性C. 高成本D. 易于编程答案:C3. PLC的输入/输出接口通常采用()。
A. 继电器B. 晶体管C. 集成电路D. 光耦答案:B4. 在PLC中,用于实现顺序控制的编程方法是()。
A. 梯形图B. 语句表C. 功能块图D. 结构化文本答案:A5. PLC的扫描周期主要受()的影响。
A. 程序复杂度B. 外部负载C. 电源电压D. 内部存储器大小答案:A6. PLC的输出接口通常采用()。
A. 开关量输出B. 模拟量输出C. 脉冲输出D. 以上都是答案:D7. 在PLC中,用于实现定时控制的软元件是()。
A. 计数器B. 定时器C. 累加器D. 寄存器答案:B8. PLC的编程语言不包括()。
A. 梯形图B. 汇编语言C. 功能块图D. 结构化文本答案:B9. PLC的输入接口主要用于接收()。
A. 模拟信号B. 脉冲信号C. 开关信号D. 以上都是答案:D10. PLC的输出接口主要用于控制()。
A. 传感器B. 显示器C. 执行器D. 以上都是答案:C二、多项选择题(每题3分,共15分)1. PLC的编程语言包括()。
A. 梯形图B. 布尔逻辑C. 功能块图D. 结构化文本答案:ACD2. PLC在工业自动化中的应用包括()。
A. 包装机械B. 交通信号控制C. 家庭照明D. 机器人控制答案:ABD3. PLC的输入设备可以是()。
A. 按钮B. 传感器C. 继电器D. 显示器答案:AB4. PLC的输出设备可以是()。
A. 继电器B. 指示灯C. 电机D. 显示器答案:ABC5. PLC的编程软件通常具备的功能包括()。
A. 程序编辑B. 程序下载C. 故障诊断D. 数据监控答案:ABCD三、判断题(每题2分,共10分)1. PLC的输出接口可以直接驱动大功率电机。
电气控制及plc期末试题及答案本文提供了电气控制及PLC期末试题及答案,旨在帮助读者加深对该领域知识的理解和应用。
下面将按照题目要求,给出2000字的文章。
Introduction电气控制及PLC(可编程逻辑控制器)是现代工业中广泛应用的关键技术。
电气控制涉及各类设备和系统中的电气元件、线路、传感器和执行器,它们通过PLC进行精确的控制和协调。
本文将提供一些典型的电气控制及PLC期末试题,并对答案进行详细解析。
试题一:1. 请解释什么是电气控制系统?答案:电气控制系统是利用电气元件、线路和电气信号控制各种设备和机器的系统。
它包括传感器、执行器、开关、继电器、电磁阀、变压器等组件,通过电气信号的控制来实现设备的工作或运动。
试题二:2. 解释什么是PLC?答案:PLC是可编程逻辑控制器(Programmable Logic Controller)的缩写,是一种专用的数字计算机,用于控制工业过程和机械设备。
PLC通过编程实现灵活的逻辑控制功能,并具备实时性、可靠性和稳定性。
试题三:3. PLC的工作原理是什么?答案:PLC的工作原理是通过输入模块接收传感器信号,经过内部逻辑运算后,通过输出模块控制各种执行器。
PLC的程序由用户编写,可以根据不同的输入信号和逻辑要求实现各种控制功能。
试题四:4. 列举至少三种PLC常见的输入/输出模块类型。
答案:常见的PLC输入/输出模块类型包括数字输入模块、数字输出模块、模拟输入模块和模拟输出模块。
试题五:5. 请简述PLC程序的编写过程。
答案:PLC程序的编写过程包括以下几个步骤:a. 确定控制要求和逻辑功能;b. 编写程序框图或流程图,描述程序的逻辑流程;c. 根据程序框图,使用PLC编程软件编写程序代码;d. 软件将程序下载到PLC中,并进行调试和测试;e. 如有需要,对程序进行修改和优化。
试题六:6. 请简述PLC的应用领域。
答案:PLC被广泛应用于自动化控制领域,如工业生产线、机械设备、楼宇自动化、交通信号控制等。
试卷一一、填空题。
( 分,每空 分)、说明下列指令意义:并联的常闭触点 电路块的串联指令电路块的并联指令 装载指令入栈指令 通电延时定时器指令串联的常闭触点 加计数器指令、继电器的线圈断电时,其常开触点断开,常闭触点闭合。
外部的输入电路接通时,对应的输入映像寄存器为 状态,梯形图中对应的常开触点 接通 ,常闭触点 断开 。
、点动控制要变为长动控制,需在启动按钮上加上 自锁 环节。
、星形—三角形换接的采用是三相笼型异步电动机中常用的 起动 方法。
、电气控制图一般分为论 主 电路和 控制 电路两部分。
、热继电器是对电动机进行 过载 保护的电器;熔断器是用于供电线路和电气设备的短路保护的电器。
、将编程器内编写好的程序写入 时, 必须处在 模式。
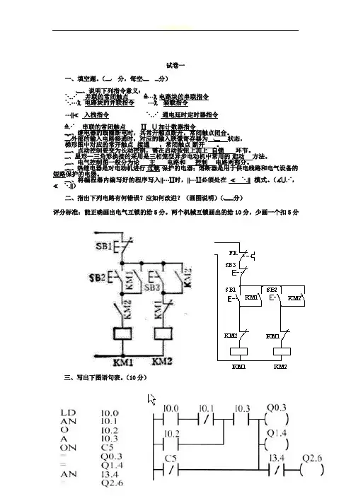
( , )二、指出下列电路有何错误?应如何改进?(画图说明)( 分)评分标准:能正确画出电气互锁的给5分。
两个机械互锁画出的给10分,少画一个扣5分三、写出下图语句表。
(10分)四、简答题(15分)试比较交流接触器与中间继电器的相同及不同之处,并说明如果采用PLC控制,还需要中间继电器吗?(5分)相同:电磁机构相同;(5分)不相同:用途不同。
接触器用于自动接通和断开大电流负荷电路。
中间继电器用于增加控制点数或信号放大。
不需要。
(5分)五、设计控制一台电动机长动和点动的电气控制电路。
(主电路6分,控制电路9分,共15分)要求:1.有启动和停止及点动按钮;2.有短路和过载保护。
请画出主电路和控制电路。
评分标准:画出主电路的给6分,没有画保险的扣2分,没有画过载保护的扣2分接接触器没有正确换向的扣4分。
控制电路:没有启动按钮的扣分,没有停止按钮的扣分。
没有画自锁的扣分没有画电气互锁的扣分六、试用PLC来实现第五题的控制。
要求1。
画出I/O分配图;2。
画出梯形图或写出语句表。
(I/O分配图5分,画出梯形图或写出语句表 10分)评分标准:没有画出扣I/O分配图5分,其中少一输入和输出扣1分。
考生答题不得过此线∶∶∶∶∶∶∶∶∶∶∶∶∶∶密∶∶∶∶∶∶∶∶∶∶∶∶∶∶∶∶∶∶∶∶∶∶∶∶封∶∶∶∶∶∶∶∶∶∶∶∶∶∶∶∶∶∶∶∶∶∶∶∶线∶∶∶∶∶∶∶∶∶∶∶∶∶∶ 任课教师:徐绍坤 教学班号:51080112 姓名:学号:∶∶∶∶∶∶∶∶∶∶∶∶∶∶∶∶∶∶∶装∶∶∶∶∶∶∶∶∶∶∶∶∶∶∶∶∶∶∶订∶∶∶∶∶∶∶∶∶∶∶∶∶∶∶∶∶∶∶线∶∶∶∶∶∶∶∶∶∶∶∶∶∶∶∶∶∶∶红河学院成人高等学历教育2020学年第一学期2018级电气工程及其自动化专业/(专升本)《电气控制与PLC 技术》课程期末考试试卷卷别: A 卷考试单位: 考试日期:一、基本指令(每小题10分,共20分)1、绘出下列指令语句表对应的梯形图0 LD X0 1 AND X1 2 LD X2 3 ANI X3 4 ORB 5 LD X4 6 AND X5 7 LD X6 8 ANI X7 9 ORB 10 ANB 11 LD M0 12 AND M1 13 ORB 14 AND M2 15 OUT Y4 16 END2、写出下图所示梯形图对应的指令表。
二、PLC 编程设计(每小题15分,共30分)1、有两台电动机M1、M2,控制要求为:M1和M2可以分别启动和停止;M1和M2可以同时启动和停止。
试设计控制程序。
2、电机正反转控制:正转3S ,停2S ,反转3S ,停2S ,循环3次后停止。
题 号一 二 三 四 总分分得 分 评卷人得 分 评卷人考生答题不得过此线∶∶∶∶∶∶∶∶∶∶∶∶∶∶密∶∶∶∶∶∶∶∶∶∶∶∶∶∶∶∶∶∶∶∶∶∶∶∶封∶∶∶∶∶∶∶∶∶∶∶∶∶∶∶∶∶∶∶∶∶∶∶∶线∶∶∶∶∶∶∶∶∶∶∶∶∶∶ 任课教师:徐绍坤 教学班号:51080112 姓名:学号:∶∶∶∶∶∶∶∶∶∶∶∶∶∶∶∶∶∶∶装∶∶∶∶∶∶∶∶∶∶∶∶∶∶∶∶∶∶∶订∶∶∶∶∶∶∶∶∶∶∶∶∶∶∶∶∶∶∶线∶∶∶∶∶∶∶∶∶∶∶∶∶∶∶∶∶∶∶三、PLC 状态编程设计(15分)有一并行分支状态转移图如下图所示。
试卷一【1】一、填空题。
(30分,每空1.5分)1、说明下列指令意义:ON 并联的常闭触点 ALD电路块的串联指令OLD 电路块的并联指令 LD 装载指令LPS 入栈指令 TON 通电延时定时器指令AN串联的常闭触点 CTU加计数器指令2、继电器的线圈断电时,其常开触点断开,常闭触点闭合。
3外部的输入电路接通时,对应的输入映像寄存器为 1 状态,梯形图中对应的常开触点接通,常闭触点断开。
4、点动控制要变为长动控制,需在启动按钮上加上自锁环节。
5、星形—三角形换接的采用是三相笼型异步电动机中常用的起动方法。
6、电气控制图一般分为论主电路和控制电路两部分。
7、热继电器是对电动机进行过载保护的电器;熔断器是用于供电线路和电气设备的短路保护的电器。
8、将编程器内编写好的程序写入PLC时,PLC必须处在 STOP 模式。
(RUN,STOP)二、指出下列电路有何错误?应如何改进?(画图说明)(15分)评分标准:能正确画出电气互锁的给5分。
两个机械互锁画出的给10分,少画一个扣5分三、写出下图语句表。
(10分)四、简答题(15分)试比较交流接触器与中间继电器的相同及不同之处,并说明如果采用PLC控制,还需要中间继电器吗?(5分)相同:电磁机构相同;(5分)不相同:用途不同。
接触器用于自动接通和断开大电流负荷电路。
中间继电器用于增加控制点数或信号放大。
不需要。
(5分)五、设计控制一台电动机长动和点动的电气控制电路。
(主电路6分,控制电路9分,共15分)要求:1.有启动和停止及点动按钮;2.有短路和过载保护。
请画出主电路和控制电路。
评分标准:画出主电路的给6分,没有画保险的扣2分,没有画过载保护的扣2分接接触器没有正确换向的扣4分。
控制电路:没有启动按钮的扣分,没有停止按钮的扣分。
没有画自锁的扣分没有画电气互锁的扣分六、试用PLC来实现第五题的控制。
要求1。
画出I/O分配图;2。
画出梯形图或写出语句表。
(I/O分配图5分,画出梯形图或写出语句表 10分)评分标准:没有画出扣I/O分配图5分,其中少一输入和输出扣1分。
一、填空题(每空 1 分,共 20 分)1、熔断器起短路或过载保护作用,热继电器起过载保护2、若想三相异步电动机反转,只要将随意两相电源反接3、将编程器内编写好的程序写入PLC 时, PLC 一定处在STOP作用。
模式。
(RUN ,STOP)4、 PLC主要有CPU 、储存器、输入输出单元以及电源(或编程器)等部分构成。
5、低档PLC,一般为小型PLC,输入、输出总点数在256之内。
6、M8011、M8012、M8013、M8014分别为10ms 、 100ms 、 1s 、 1min 的时钟脉冲特别协助继电器。
(在10ms、 100ms、 1s、1min 中选)7、常数 K 用来表示十进制常数,常数 H 用来表示十六进制常数。
8、 PLC 开关量输出有继电器输出、晶体管输出和晶闸管输出三种输出方式。
继电器输出用 R 表示晶体管输出用 T 表示、晶闸管输出用 S 表示9、PLC 输入输出模块与外面输入输出设施的接线方式有汇点式接线和分开式接线两种基本形式。
10、PLC一般能11、T0 为100ms (能,不可以)为外面传感器供给24V 直流电源。
准时器。
(在10ms、 100ms、1 ms 中选)。
(即是0.1s )二、简答题(每题 5 分,共 20 分)1、请说出 FX1N— 60MR的型号含义。
答:FX1N系列 PLC,M是基本单元,输入输出总点数为60 点,R 为继电器输出方式。
2、何谓扫描周期?试简述PLC的工作过程。
答:从第一条用户程序开始,次序逐条履行用户程序,直到程序结束,每扫描一次程序就构成一个扫描周期。
PLC的工作过程:输入采样 ----程序履行----输出刷新(输入扫描)(程序扫描)(输出扫描)3、输入、输出接口电路中的光电耦合器件的作用是什么?答:①实现现场与PLC主机的电隔绝,以提升抗扰乱性。
②有益用同外设电路的电平转接。
③强电侧信号不影响控制(弱电)侧。
4、简化或更正以下图所示梯形图。
职业学院 2011-2012学年度 第二学期期末考试《PLC 技术及应用》课程考试试卷(A 卷)课程名称:《PLC 技术及应用》 考试方式: 闭卷 (开卷、闭卷) 年级班级: 专 业: 机电10 学生姓名:学 号:一、填空(每空1分共10分)1、低压电器通常是指工作在直流电压小于1500V 交流电压小于 ________的电路中,在低压配电系统和控制系统中起通、断、保护、控制作用的电气设备。
2、输入/输出滞后时间又称为系统响应时间,系统响应时间最多为 ____________。
3、电机的星—三角启动是大功率电机常用的启动方式,星型接法的启动电流是三角形接法启动电流的 ___________4、采用直接启动的电动机的容量一般在 ________以下,若大于10KW 应采用降压启动。
5、输出单元的作用是接收 ___________ 处理过的数字信号,并把它转换成现场的执行部件能接收的信号,控制接触器、电磁阀、调节阀、调速装置,控制的另一类负载是指示灯、数字显示器、和报警装置等。
6、FX1N-48MR 中48—输入输出总点数,M —基本单元 R __________。
7、当PLC 与电脑连接进行通讯时,如写程序或读程序时,PLC 的工作状态应在 ____状态。
8、PLC 有三种输出方式:分别是 ____________、晶体管输出、晶闸管输出。
9、PLC 的输入/输出点数的编号是按 _________ 进行编号的。
10、常用的电气制动有能耗制动、___________ 发电制动和电容制动。
二、名词解释(每题2分共10分)1、系统程序2、应用程序3、扫描周期4、接触器5、自锁三、判断对错(每题1分共10分)1、PLC内部有很多辅助继电器,每个辅助继电器都有无限多对常开、常闭触点,供编程使用。
辅助继电器只能由程序驱动,其作用相当于继电器控制电路中的中间继电器。
辅助继电器的触点不能直接驱动外部负载。
()2、定时器在PLC中的作用相当于一个时间继电器,它有一个设定值,一个当前值。
电气控制与plc应用技术考试题及答案一、单项选择题(每题2分,共20分)1. PLC的全称是()。
A. 可编程逻辑控制器B. 可编程逻辑计算机C. 可编程逻辑单元D. 可编程逻辑设备答案:A2. 电气控制中,用于实现顺序控制的器件是()。
A. 继电器B. 接触器C. 定时器D. 计数器答案:A3. 在PLC中,用于存储程序的存储器是()。
A. RAMB. ROMC. EPROMD. EEPROM答案:B4. PLC中,用于实现逻辑运算的指令是()。
A. 算术指令B. 比较指令C. 逻辑指令D. 移位指令答案:C5. 电气控制中,用于实现过载保护的器件是()。
A. 熔断器B. 断路器C. 热继电器D. 过载继电器答案:C6. PLC中,用于实现数据比较的指令是()。
A. LDB. CMPC. MOVD. AND答案:B7. 电气控制中,用于实现短路保护的器件是()。
A. 熔断器B. 断路器C. 热继电器D. 过载继电器答案:B8. PLC中,用于实现数据移动的指令是()。
A. LDB. MOVC. ANDD. OR答案:B9. 电气控制中,用于实现电压控制的器件是()。
A. 继电器B. 接触器C. 电压继电器D. 电流继电器答案:C10. PLC中,用于实现数据转换的指令是()。
A. LDB. MOVC. SWAPD. AND答案:C二、多项选择题(每题3分,共15分)11. PLC的特点包括()。
A. 高可靠性B. 易于编程C. 灵活性高D. 价格低廉答案:ABC12. 电气控制中,常用的控制元件包括()。
A. 继电器B. 接触器C. 按钮D. 指示灯答案:ABCD13. PLC中,常用的数据类型包括()。
A. 布尔型B. 整型C. 浮点型D. 字符串型答案:ABCD14. 电气控制中,用于实现速度控制的器件是()。
A. 变频器B. 调速器C. 电机D. 变速器答案:AB15. PLC中,常用的编程语言包括()。
一、填空(每空1分,共20分)1.低压断路器用于线路和设备保护,其具有 过载保护 、 短路保护 、 欠压保护 等功能。
2.要实现电动机的多地控制,应把所有的启动按钮 并联 连接,所有的停机按钮 串联 连接。
3.电图一般有 电气原理图 、 电器元件布置图 和 电气安装接线图 。
4.笼型三相异步电动机全压起动控制线路中,短路保护利用 熔断器;过载保护利用 热继电器;,欠压和失压保护利用 接触器 。
5.PLC 硬件结构主要由 CPU 、存储器 、I/O 接口、通信接口和电源组成。
6.利用PLC 基本指令对梯形图编程时,通常按从左到右、自上而下的原则进行。
7.M8000作用是 运行监控 ;M8002是 初始化脉冲 ;INC 作用是 加1 。
8.PLC 中的两条步进指令是STL 和RET 。
二、判断下列说法的正确与错误(每题1分,共10分) 1.正反转控制用两个接触器实现,正反转接触器之间必须实现接触器常闭触头的联锁。
接触器联锁触头具有“常闭、串联”的特点。
( 对 )2.自锁控制能实现电动机的连续运行,接触器自锁触头具有“常开、并联”的特点。
( 对 )3.步进接点如同主控指令一样,将左母线移到步进接点右边。
所以,步进指令后必须使用“取”指令。
( 对 )4.PLC 的所有软元件都是采用十进制编号的,如输出继电器有Y0、Y1、Y2、Y3、Y4、Y5、Y6、Y7、Y8、Y9、Y10。
( 错 )5.实现同一控制任务的PLC 应用程序是唯一的。
( 错 )6..X62W 型万能铣床电气控制系统中冷却泵电动机只要求单向旋转。
( 对 )7.电气安装接线图与原理图不同,其中同一电器不同部分须画在一起。
( 对 )8.电气原理图中控制电路是从电源到电动机绕组的大电流通过的路径。
( 错 )9.1969年,美国数字设备公司首先研制成功第一台可编程控制器。
( 对 )10.X3U系列PLC支持结构文本编程语言。
(错)三、单项选择题(共20分)源上会发生的问题是(C)。
电气控制与plc应用技术考试题及答案一、选择题(每题2分,共20分)1. PLC的全称是:A. 程序逻辑控制器B. 个人电脑C. 过程逻辑控制器D. 个人逻辑控制器答案:A2. 电气控制中,用于实现顺序控制的器件是:A. 继电器B. 接触器C. 定时器D. 传感器答案:A3. 下列哪个不是PLC的特点?A. 高可靠性B. 易于编程C. 体积庞大D. 抗干扰能力强答案:C4. PLC的输入/输出接口通常采用的信号类型是:A. 模拟信号B. 数字信号C. 光信号D. 声音信号5. 在PLC程序中,通常用哪个符号表示常闭触点?A. 0B. 1C. /D. \答案:D6. PLC的扫描周期主要受以下哪个因素的影响?A. 程序复杂度B. 外部负载C. 电源电压D. 操作人员答案:A7. PLC的输出接口通常用于控制:A. 传感器B. 执行器C. 显示器D. 继电器答案:B8. PLC的编程语言中,梯形图属于:A. 机器语言B. 汇编语言C. 高级语言D. 图形语言答案:D9. 下列哪个不是PLC的输入设备?B. 传感器C. 继电器D. 接触器答案:C10. PLC的输出设备通常包括:A. 指示灯B. 继电器C. 接触器D. 所有以上答案:D二、填空题(每题2分,共20分)1. PLC的程序存储在______中。
答案:内存2. PLC的输出接口可以控制______。
答案:执行器3. PLC的输入接口通常接收______信号。
答案:数字4. 电气控制中,用于实现过载保护的器件是______。
答案:继电器5. PLC的扫描周期包括______和执行两个阶段。
答案:输入扫描6. PLC的编程语言中,文本语言包括______和汇编语言。
答案:高级语言7. PLC的输出接口通常输出______信号。
答案:数字8. PLC的输入/输出接口可以处理______信号。
答案:开关量9. PLC的输入设备通常包括______和传感器。
《电气控制与PLC应用》课程试题A卷班级学号姓名成绩______一、填空题(每空1分,共30分)1.低压电器是指工作在交流()V、直流()V以下的电路中,起控制、调节、检测、保护等作用的电器。
2.时间继电器按延时方式分()和()两种。
3.不同功能的低压电器用不同的文字符号表示,如行程开关用()表示,时间继电器用()表示,中间继电器用()表示,速度继电器用()表示,按钮用()表示,低压断路器用()表示,熔断器用()表示,接触器用()表示。
4.按主触头控制的电流性质来分类,接触器分为()与()。
5.交流电磁式继电器和直流电磁式继电器是按()通过交流电还是直流电来区分的。
6.PLC主要由()、()、()和()组成。
7. PLC扫描工作方式包括()、()、()、()和()组成。
8.CPU 224的主机共有14个输入点()和10个输出点()。
9.若梯形图中输出Q的线圈“断电”,对应的输出映像寄存器为()状态,在修改输出阶段后,继电器型输出模块中对应的硬件继电器的线圈(),其常开触点(),外部负载()。
二、选择题(每题2分,共20分)1.三相异步电动机的正反转控制关键是改变。
()A 电源电压B 电源相序C 电源电流2.绕线式异步电动机,采用转子串电阻进行调速时,串联的电阻越大,则转速()A 不随电阻变化B 越高C 越低3.T68镗床在主轴变速和进给变速时,为便于变速时齿轮啮合,应有()冲动。
A 瞬动B 低速变速C 无4.熔断器的额定电流与熔体的额定电流是()A 不同的B 相同的5.热继电器是用来做( )A 短路保护B 电压保护C 长期过载保护 6.S7-200型的PLC 的状态存储区的编号范围( )A S0.0—S31.7B Q0.0—Q15.7C M0.0—M31.77.顺序控制段结束指令的操作码是( )。
A SCRTB SCREC SCR8.S7-200 型的PLC 的位存储区的编号范围( ) A Q0.0—Q1.7 B M0.0—M31.7 C C0—C37 9.S7-200 型的PLC 输入映像寄存器的编号范围为( ) A I0.0-I15.7 B M0.0-M2.7 C Q0.0-Q2.7 10.图示程序中的累加器用的是那种寻址方式( )I0.1A 双字寻址B 字寻址C 字节寻址D 位寻址 三、画图与编程题(第1题10分,第2题5分,第3题5分,共20分)1.画出三相异步电动机电气互锁的正反转控制电路。
第 1 页 (共 1 页) 《电器控制及PLC 应用》期末考试试题一、 填空题(本大题共5小题,每空2分,共20分)1、 ____________年美国通用汽车公司(GM ),为了适应汽车型号的不断更新,生产工艺不断变化的需要,实现小批量、多品种生产,希望能有一种新型工业控制器,它能做到尽可能减少重新设计和______________,以降低成本,缩短周期。
2、 继电器是PLC 中的保持元件。
包括:________、________和常闭点。
3、PLC 梯形图的各种“继电器”串并联,也就是数字电路中的“________”、“________”等逻辑运算。
4、低压断路器,又称自动空气开关,是一种不仅可以接通和分断____________、电动机工作电流和过载电流,而且可以______________。
发生严重的过载或短路及欠电压等故障时能自动切断电路,具有过电流、过载、短路、断相、欠电压和漏电保护功能。
5、PLC 隔离式输入接线的每一个输入回路有两个接线端,____________。
相对于电源来说是独立的。
一般用于交流输入模板,______________。
二、简答题(本大题共4小题,每小题10分,共40分)1、何为电磁吸力和反力?2、什么是PLC ?3、 叙述S7-200 (PLC )CPU221的主要功能有哪些?4、PLC 的编程“元件”指的是什么? 三、画图题(本大题共2小题,每小题15分,共30分)1、画一个PLC 开关量输入的外部接线图2、画出一个电动机的点动继电器控制线路四、根据图3电机正反转电路“电源开关、熔断器、接接触器、三相电机”等器件设计一个PLC 接线图、梯形图和语句表(10分)图3 电机正反转控制电路。
电气控制与plc期末考试题及答案一、选择题(每题2分,共20分)1. PLC的全称是:A. 可编程逻辑控制器B. 可编程线性控制器C. 可编程逻辑计算机D. 可编程逻辑电路答案:A2. 在PLC中,用于存储程序的存储器类型是:A. RAMB. ROMC. EPROMD. EEPROM答案:D3. PLC中,用于实现定时功能的软元件是:A. CTB. CMC. CVD. CR答案:A4. 下列哪个不是PLC的输入设备?A. 按钮B. 传感器C. 继电器D. 显示器答案:D5. PLC的扫描周期包括以下哪些步骤?A. 输入扫描B. 程序执行C. 输出刷新D. 所有选项答案:D6. PLC的输出设备通常包括:A. 继电器B. 接触器C. 电磁阀D. 所有选项答案:D7. 在PLC中,用于实现计数功能的软元件是:A. CTB. CMC. CVD. CR答案:B8. PLC的编程语言包括:A. 梯形图B. 指令表C. 功能块图D. 所有选项答案:D9. PLC的输出方式通常包括:A. 继电器输出B. 晶体管输出C. 晶闸管输出D. 所有选项答案:D10. PLC的扫描周期主要取决于:A. 程序的复杂度B. CPU的处理速度C. 外部设备的响应时间D. 所有选项答案:D二、填空题(每题2分,共20分)1. PLC的输入/输出接口电路通常采用______方式连接。
答案:光电隔离2. PLC的程序存储器通常采用______类型。
答案:非易失性3. 在PLC中,______是用于实现数据交换的软元件。
答案:数据寄存器4. PLC的输入设备通常包括按钮、传感器等,而输出设备通常包括______、接触器等。
答案:继电器5. PLC的编程软件通常提供______和梯形图两种编程方式。
答案:指令表6. 在PLC中,______是一种用于实现顺序控制的编程语言。
答案:顺序功能图7. PLC的输出设备中,继电器输出通常用于______负载。
电气控制与plc应用期末考试题及答案一、单项选择题(每题3分,共30分)1. PLC的全称是()。
A. 可编程逻辑控制器B. 可编程逻辑计算机C. 可编程逻辑处理器D. 可编程逻辑单元答案:A2. 电气控制系统中,PLC的输入信号通常来自于()。
A. 传感器B. 执行器C. 显示器D. 控制器答案:A3. 在PLC编程中,以下哪个是常用的编程语言()。
A. 梯形图B. 汇编语言C. 高级语言D. 以上都是答案:D4. PLC的输出信号通常控制的是()。
A. 传感器B. 显示器C. 执行器D. 控制器答案:C5. PLC的扫描周期主要受()影响。
A. 程序复杂度B. 外部干扰C. 电源电压D. 以上都是答案:A6. 在PLC中,以下哪个是用于存储程序的存储器()。
A. RAMB. ROMC. EPROMD. 以上都是答案:D7. PLC的I/O模块中,I代表()。
A. 输入B. 输出C. 输入/输出D. 内部答案:A8. 以下哪个不是PLC的特点()。
A. 高可靠性B. 易于编程C. 价格低廉D. 灵活性高答案:C9. PLC的工作原理基于()。
A. 继电器逻辑B. 计算机逻辑C. 模拟电路D. 数字电路答案:A10. PLC的输入/输出接口电路通常采用()。
A. 光耦隔离B. 电磁隔离C. 机械隔离D. 以上都是答案:A二、多项选择题(每题5分,共20分)11. PLC在工业自动化中的主要应用包括()。
A. 机床控制B. 过程控制C. 楼宇自动化D. 交通信号控制答案:ABCD12. PLC的编程元件包括()。
A. 输入继电器B. 输出继电器C. 辅助继电器D. 定时器/计数器答案:ABCD13. PLC的输入接口电路需要具备以下哪些功能()。
A. 隔离B. 滤波C. 信号转换D. 放大答案:ABCD14. PLC的输出接口电路需要具备以下哪些功能()。
A. 隔离B. 驱动C. 信号转换D. 保护答案:ABCD三、填空题(每题4分,共20分)15. PLC的英文全称是_______,中文全称是_______。
《电气控制及PLC》试卷(A卷)考试时间:90分钟闭卷任课老师:班级:学号:姓名: 成绩:一、填空题(每空1分、共30分)1、电气控制技术的拖动方式可以分为: 、、。
2、通常低压是指交流,直流。
3、低压控制电器常用的具体灭弧方法有、、、。
4、热继电器主要参数有、、、及 .5、笼型异步电动机的电气制动方法有: 、。
6、可编程控制器主要由、、、组成。
7、PLC的输入电路大都相同,通常有三种类型。
分别为、、.8、PLC工作时采用的工作方式。
全过程扫描一次所需的时间称为。
9、PLC工作过程分为、、、、.二、选择题(每题2分、共20分)1、速度继电器的动作转速一般不低于().A、0r/mB、120r/mC、1000r/mD、3600r/m2、( )的作用是将一个输入信号变成多个输出信号或将信号放大的继电器.A、中间继电器B、交流继电器C、热继电器D、时间继电器3、绕线转子异步电动机一般采用( )。
A、电阻分级起动B、星形-三角形减压起动C、串电阻减压起动D、自耦变压器减压起动。
4、PLC的输出有三种形式:继电器输出,晶体管输出,晶闸管输出。
请问只能带直流负载是哪种输出形式。
( )A、继电器输出B、晶体管输出C、晶闸管输出D、其它5、在电气控制回路中,启动按键在多地控制中是()联结。
A、串联B、并联C、既可串联又可并联D、其它6、在电气控制回路中,停止按键在多地控制中是()联结.A、串联B、并联C、既可串联又可并联D、其它7、熔断器具有( )保护.A、短路B、过载C、欠压D、过电流8、热继电器具有()保护。
A、短路B、过载C、欠压D、过电流9、交流继电器具有( )保护。
A、短路B、过载C、失压D、过电流10、低压断路器具有()保护。
A、短路B、过载C、欠压D、过电流三、问答题(每题5分、共20分)1、熄灭电弧的主要措施有哪些?(5分)2、熔断器的选择的原则是什么?(5分)3、可编程明显特点是什么?(5分)4、梯形图有哪些设计规则?(5分)四、画图题(每题5分、共10分)1、如图1所示根据X0、X1开关断开或合上状态,请画出Y0的状态。
电气控制及PLC应用期末考试试卷一、填空(1×35)1.电磁机构由、、等几部分组成。
2.速度继电器主要用作控制。
3.常见的灭弧装置有、、装置。
4.电路正常工作时,欠电压继电器,当电路电压减小到某一、下时(为 30%~50%UN),欠压继电器对电路实现欠电压保护。
5.热继电器是利用电流流过发热元件产生热量来使检测元件受热弯曲,进而推动机构动作的一种保护电器,主要被用作电动机的长期保护。
6.在电气控制系统图指的是三种类型的图,分别、、。
7.交流接触器为了减小铁心的振动和噪音,在铁心上加入。
8.PLC的每一个扫描过程分为三个阶段,分别是:、、三个阶段。
9.三相鼠笼式异步电动机Y-△降压启动时启动电流是直接启动电流的倍,此方法只能用于定子绕组采用接法的电动机。
10.PLC输出继电器的触点与输出端子相连,输出端除了提供一对继电器常开触头用于接通负载以外,还可以提供内部和触点供编程使用。
11.PLC程序中手动程序和自动程序需要。
12.PLC的输出方式通常有方式、方式、方式。
13.PLC的输出指令OUT是对继电器的进行驱动的指令,但它不能用于。
-32MR的PLC,它表示的含义包括如下几部分:它是单元,内14.型号为FX2N部包括、、输入输出口及;其输入输出总点数为点,其中输入点数为点,其输出类型为。
二、判断(1×10)15.交流接触器通电后如果铁心吸合受阻,将导致圈烧毁。
()16.熔断器的保护特性是反时限的。
()17.无断相保护装置的热继电器就不能对电动机的断相提供保护。
()18.万能转换开关本身带有各种保护。
()19.低压断路器具有失压保护的功能。
()20.电动机采用制动措施的目的是为了停车平稳。
()21.Y0501属于输出继电器,其线圈可以由程序自由驱动。
()22.产生电弧的条件是:A、在大气中断开电路 B、被断开电路中有电流通过C、断开后触点两端有电压。
()23.当用电脑编制PLC的程序时,即使将程序存储在电脑里,PLC也能根据该程序正常工作,但必须保证PLC与电脑正常通讯。
××××高等职业技术学校××××-××××学年第×学期×高职电《电气控制与PLC》期中试卷(A卷)班级: 姓名: 得分:一、填空题(每空1分,共20分)1.常用的电气控制系统图有电气原理图、电气布置图与安装接线图三种。
2.电动机常用的保护环节有过载、短路、过电压、失电压、欠电压保护等。
3.可编程序控制器主要有中央处理器(CPU)、存储器、输入/输出(I/O)接口、电源等组成。
4.PLC的输入/输出继电器采用二进制进行编号,其它所有软元件均采用十进制进行编号。
5.说明下列指令意义:RST复位指令 ORB 串联电路块并联指令SET置1指令MC 主控指令6.PLC工作过程是周期循环扫描过程,每一个扫描周期有如下三个阶段:输入采样阶段、程序执行阶段、输出刷新阶段。
二、单项选择题(每题2分,共10分)1.采用星形-三角降压起动的电动机,正常工作时定子绕组接成(B)。
A.角形B.星形C.星形或角形D.定子绕组中间带抽头2.欲使接触器KM1动作后接触器KM2才能动作,需要( C)。
A.在KM1的线圈回路中串入KM2的常开触点B.在KM1的线圈回路中串入KM2的常闭触点 C .在KM2的线圈回路中串入KM1的常开触点 D .在KM2的线圈回路中串入KM1的常闭触点3.三相异步电动机Y- 降压起动时,其起动转矩是全压起动转矩的( A )倍。
A .31 B .31 C .21D .不能确定 4.下列哪个控制电路能正常工作( B )。
5.PLC 的工作方式是( D )。
A 、等待工作方式B 、中断工作方式C 、扫描工作方式D 、循环扫描工作方式三、判断题(要给出正确和错误的标志符号,如“√”或“×”,答案填在题干后面的括号内,每小题2分,共10分)1.安装图中,不画电器元件的实际外形图,而采用国家统一规定的电气图形符号。
、填空题(每空1分,共20 分)
1、熔断器起短路或过载保护作用,热继电器起过载保护作用。
2、若想三相异步电动机反转,只需将任意两相电源反接_________ 。
3、将编程器内编写好的程序写入PLC时,PLC必须处在STOP 模式。
(RUN,
STOP)
4、PLC主要有_CP」、—存储器_、输入输出单元_以及—电源(或编程器)等
部分组成。
5、低档PLC 一般为小型PLC,输入、输出总点数在256 以内。
6、M8011 M8012 M8013 M8014分别为10ms、100ms、1s 、1min 的
时钟脉冲特殊辅助继电器。
(在10ms 100ms 1s、1min中选)
7、 _____________________ 常数K用来表示_十进制常数,常数H用来表示十六进制常数。
8、PLC 开关量输出有继电器输出、晶体管输出和晶闸管输出三种输出方
式。
继电器输出用R表示晶体管输出用T表示、晶闸管输出用S表示
9、PLC输入输出模块与外部输入输出设备的接线方式有汇点式接线和
分隔式接线两种基本形式。
10、PLC一般__ 能 ___ (能,不能)为外部传感器提供24V直流电源。
11、T0为100ms 定时器。
(在10ms 100ms 1 ms中选)。
(即是
0.1s)
、简答题(每题5分,共20 分)
1 请说出FX1N—60MR勺型号含义。
答:FX1N系列PLC M是基本单元,输入输出总点数为60点,R为继电器输出方式。
2、何谓扫描周期?试简述PLC的工作过程。
答:从第一条用户程序开始,顺序逐条执行用户程序,直到程序结束,每扫描一次程序就构成一个扫描周期。
PLC的工作过程:输入采样----程序执行----输出刷新
(输入扫描)(程序扫描)(输出扫描)
3、输入、输出接口电路中的光电耦合器件的作用是什么?答:①实现现场与PLC主机的电隔离,以提高抗干扰性。
②有利用同外设电路的电平转接。
③强电侧信号不影响控制(弱电)侧。
4、简化或改正下图所示梯形图。
xorw xooi X002
T Y皿T H
-―voor)
XOOO X001 X(J02
-I I——__I I -------------------- 1 ---------C Y000》
I ------------------- f Y001 J
、写出下列梯形图的指令程序或根据指令程序画出梯形图(每题5分,共10分) 1、梯形图如图所示
0 LD XOOO 1 DK XOC1 2 LD X002
3 DB
4 ANB
5 OJT ¥000 S
LD XOOS 7 ANI X0D4 8
OUT
Y001
2、指令程序如下。
0 LD X0 1 AND X1 2 ANI X2 3 LD X3 4 ANI
X4
5 ORB
6
OUT
Y1
7
END
XQOO XQ01
XOQ2
T I ------------- 1 I ----------------- ------------- ---------- C vooi 寸 XQ03
XQ04
T I ------------- ------------------------
--------------------------------------------------------- [END J
四、设计题(50分)
1设计满足如下图要求输入输出关系的梯形图。
(10分)
VOO
1
答:
YOQO
X001 TO
0 ——| H -- ------- C ----------------- YOOC
J ~0
K50
)
XOOO TO
6 一I |
J4c
------------------------- Y001 J
X001 X003
9 ——I
Pt- ----------------------- C
Y002 ]
2、如图是某控制状态转移图,请绘出其步进梯形图。
(10分)
M8002
—| | SET SO
SO xooo
-I STL | 1 | SET 520 T STL | 1 ¥001
■ Cr D Ki oo
TO
1 | SET S21 -I STL I
1 KIDD
TI
1 [ SET S22
S22 X Q02 吕TL I 1 | {: SO
[EET
[END
3、设计电动机的正反转控制电路,绘出继电器一接触器控制的电动机主电
路、 控制电路、PLC 控制的安装接线图、PLC 梯形图,并写出相应的指令程
序。
分)
答:(1)主电路、控制电路
so
+xo
S20
-TO
—KlOO
S21
—(^rTyKioo
-Tl
S22
-
-X2
J J
J
3 J
J
L
3 3
(15
o
"TM8002
RET END
12 15
19 盟
26 答:;「
(3)画出对应的梯形图和指令程序
①直接转换的梯形图和指令程序
过載保护停止
XOOO X001—14------- '正转起动按钮互锁输出继电器互锁正转
X002 ——I P
X003
卄
YOOO
自锁
ie
反转起动
XOOS
—11—
Y001
自锁
输出继电器互锁
X002 YOOO
-------------
按钮立锁
< YD01
{ END }
程序结束
0LDI XOOO
1AN1X001
2MPS
3LD xoos
40R YOOO
5ANB
6ANT X003
7AN I¥001
8OUT YOOO
9MPP
10LD X003
11OR Y001
12ANB
13ANT X002
14AN I YOOO
15OUT¥001
16END
或②优化梯形图和指令程序
4、试设计两台电动机的控制电路: M1先启动,才允许M2启动;M2先停止,延 时10s 后,M1才自动停止,且M2可以单独停止;两台电动机均由短路、长期过 载保护;绘出采用继电器一接触器控制的电动机控制电路; PLC 控制的安装接线
图;绘出PLC 梯形图。
(15分)
答:略
正转起动过羲保护停止按詛互锁辅出讎电器互锁
X002 XOOO X001 0—11~p-K ------------------------------- ¥000 ―11~
自锁 皮转起动过義保护停止
xoos xooo xaoi
7—I I — ---------------
Y001
—I I ——
自锁 X003 Y001 X ---------------------- IdT YOOO
正转
按融互锁 输出继电器互锁 X002 YOOO —毎 ---------- Y001
反转
[END ] 程序结東
0 LD W2
1 OR YOOO
2 AN1 £000
3 AMI X001
4 战 I X003
5 AMI T001
6 OUT ¥000
7 g 9 10 11 12 13 14 $ 1
o 1 2
o 1 o o o o o o O
0 0-00000X Y X X X Y Y
T J - - u _u。