技术管理工作体系框图
- 格式:docx
- 大小:50.73 KB
- 文档页数:2
工期保证体系框图工期目标是工程建设的一个主要指标,为保证全线及早建成通车,发挥社会效益,项目经理部将采取一切措施确保这一目标的实现。
(1)组织保障:做到领导班子到位、管理人员到位、管理制度到位、现场服务到位、奖惩措施到位。
(2)技术保障:配备足够的技术人员,组成技术攻关组,在每个工序开工前编制详细的施工方案和操作细则,专门研究和解决施工中出现的技术问题。
运用网络技术优化施工设计,积极推广应用新技术、新材料、新工艺,提高劳动生产率。
(3)计划保障:编制切实可行的施工进度计划,并在施工管理的全过程中严格遵照执行,抓好关键项目和关键工序施工进度,根据施工实际进展,及时调整施工计划,确保各项工作始终控制在按计划、有秩序的轨道上。
(4)人员、设备保障:投入充足的人员、施工机械设备、车辆,所有设备车辆按一般负荷所需数量的 110%配备,保证在使用高峰时不会因为某分设备损坏而造成停工。
(5)施工调度保障:合理调配劳动力,根据各工序的需要随时抽调设备与人员,做到停人不停机,提高机械利用率。
(6)资金保障:加强资金调度,保障工程的周转资金,确保工程材料有一定的储备量,供需时使用。
(7)后勤保障:抓好职工生活、医疗、卫生、防病工作,保证职工有充分的精力和体力。
生产、生活物资供应及时,解决职工的后顾之忧。
(8)协调保障:尊重和服从业主、监理工程师的监督、指导,将各项工作做好,同时加强和当地村民和乡村级政府的联系,尽可能避免因为地方矛盾出现的停工。
第四章、工程质量管理体及保证措施一、质量管理体系见下页图:1、质检体系:项目部设有质检部,配备有专职质职员,各施工队和作业班设兼职质检员。
项目部实行分级管理制度,质检工程师配备与其职责相匹配的质检仪器、设备、工具和书籍,为其提供充分的装备。
2、试验体系:项目部设中心试验室,为试验室配备与其相适应的仪器、设备保证工程试验资料的真实准确性,以充分反映结构实体内部质量状况。
3、检测体系:项目部设工程部测量队,配备全站仪、水准仪等,以满足本工程所需,测量组负责本合同段控制测量和施工放样工作。
工程项目组织机构框图施工组织机构图:这是xxx建设工程的现场组织机构图,旨在为该工程实施现场管理提供管理体系模式。
项目经理部包括项目经理和项目总工程师,管辖着工程科、财务科、机料科、XXX和质量控制、测量、合同管理、统计、调度、计划管理、财务、成本、物资管理、机电设备、工程安全、工程文明、工程质量和工程试验等多个部门。
此外,施工区分为第一至第五施工区。
安全责任人分解图:这是一个安全责任人分解图,其中包括文明施工负责人、安全防护用品责任人、国物资负责人、安全第一责任人、现场安全总负责人、安全技术负责、安全协调责任人、安全内业责任人、机电负责人、财务负责人、质检负责人、环保负责人、现场安全负责人、专职安全员和班组安全员等多个职位。
环境保护体系框图:这是一个环境保护体系框图,由环保领导小组、工程科、质检科、机料科、安全科、施工员、技术员、安全员、质检员、试验员和环保监督员等组成。
各工班长的环保目标是保护环境。
文明施工、文物保护体系框图:这是一个文明施工、文物保护体系框图,由领导小组、工程科、质检科、机料科、安全科、施工员、技术员、安全员、质检员、试验员和环保监督员等组成。
各工班长的目标是争创文明施工。
质量保证体系:这是一个质量保证体系,由项目经理、技术负责人、质量教育、质量管理、质量检验、质量监督、质量奖励、规范、学技术监督、强化质量意识、设计文件、技术交底、标准化作业、材质检验、工程实验、施工动态检查、质量动态分析、检测数据分析、质量评定、制定奖罚制度、兑现奖罚标准和落实整改措施等多个方面构成。
总目标是创造优质工程。
安全生产管理保证体系:这是一个安全生产管理保证体系,由项目经理、安全生产领导小组、安全管理、安全教育、安全活动、安全监督、质量制定、制定定期安全计划、定量安全计划、安全保障和安全文明施工竞赛等多个方面构成。
总目标是确保安全生产。
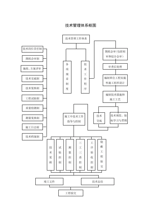
技术管理体系框图技术管理工作体系
各项规章制度技术工作程序
技术岗位责任制
图纸会审制
技术交底制技术复核制工程试验制质量检测制测量复核制施工日志制技术档案制
图纸会审(包括初
审和综合会审)
审查后处理
编制单位工程实施
性施工组织设计
编制技术措施和
施工工艺
技术
交底
技术规范、验
标学习与贯彻施工中技术工作
指导与控制
技
术
复
核
试
验
控
制
测
量
控
制
三
工
三
查
控
制
工
序
验
收
控
制
隐
蔽
工
程
验
交
竣工文件技术总结
工程验交
施组、方案评审。
企业组织结构框图以框图方式表示说明我公司成立于 1999 年,设立合同计划部、工程技术部、行政综合部、财务室,各部门团结协作,自成立以来,以优质的监理服务、严格的内部管理深受各项目业主及施工单位的好评。
目录一、质量管理体系框图 (2)二、授权委托书或法定代表人身份证明 (3)(一)授权委托书 (3)(二)法定代表人身份证明 (5)三、投标保证金 (7)四、资格审查资料 (8)(一)投标人基本情况表 (8)(二)投资参股的关联企业情况表 (25)(三)投标人企业组织机构框图 (26)(四)近年完成的类似项目情况表 (27)(五)投标人的信誉情况表 (84)(六)拟委任的驻地监理工程师资历表 (94)(七)人员离岗承诺函(无) (100)五、技术建议书 (102)第一章、监理大纲 (103)1.工程概况 (103)2.对本项目监理工作范围和任务理解 (105)3.监理大纲和措施 (179)4.监理工作程序 (322)第二章、本工程监理工作的重点与难点分析 (348)第三章、对本工程建议 (442)六、其他资料 (455)现场质量监理工作管理制度一、现场质量管理体系依据1、中华人民共和国建筑法;2、国家标准GB50319-2000《建设监理规范》;3、国务院令[第279号]《建设工程质量管理条例》;4、国家行业标准:各行业标准。
二、现场质量监理工作管理体系概述在建设项目实施阶段,按监理合同规定的范围,被授权处理关于施工中质量监理事宜。
各片总监为公司派驻现场的监理第一负责人。
三、工程质量监理工作管理制度1、设计文件、图纸会审制度监理工程师在收到设计文件、图纸、工程开工前会同施工及设计单位复查图纸时,广泛吸取意见,避免图纸中差错、遗漏。
监理工程师组织设计单位向施工单位对设计意图、施工作业要求、质量标准、技术措施等进行全面交底,并形成书面纪要交设计、施工单位执行。
2、材料、构件检验及复验制度分部工程施工之前,监理人员应审核进场材料和构件出厂证明、材质证明、试验报告,对于主要材料进行抽样,并与业主、施工单位一起去有关部门进行检验。
3.3施工组织机构3.3.1施工组织机构设置如我公司中标,为确保优质、高速、安全、文明地完成本工程,我们将选派管理能力强,具有丰富施工管理经验的人员担任项目经理,选配具有开拓进取精神、精明强干、科学务实的各类业务技术人员和管理人员组建一个强有力的现场项目经理部。
项目经理部共设六个职能管理部门:综合部、材料设备部、工程部、技术部、质量安全部、合约预算部;分别配备各自的专业施工队伍。
组织机构框图详见次页附图。
3.3.2岗位及部门管理职责(1)项目经理:为项目实施期间的公司代表。
主持本标段工程全面管理工作,全面履行项目合同,对工程质量、安全、工期和成本控制全面负责;负责项目经理部内部行政管理工作,包括人员调配、财务管理和对外协调等,主管合约商务部和综合办公室。
(2)项目副经理:主抓施工生产、安全、文明施工、生产进度、资源配置、工程材料、机电设备等物资保障供应和队伍管理,负责组织指挥施工生产、各生产单位的接口协调和内部考核,主管工程部和材料设备部。
(3)商务经理:负责项目的成本管理工作;支票、现金借用以及报销等财务工作的审核;认真研究、分解工程总承包合同中建设单位对产品的质量要求,组织项目人员对项目合同进行学习;领导项目各类经济合同的起草、确定、评审;负责项目商务报价、进度款结算及工程结算,负责编制对建设单位的清款单、供应商的结算单;负责与分包洽谈,为项目提供可靠的分承包方或制造商, 负责材料供应商的报价审核;负责组织编制和办理工程款结算,经济索赔等工作,主管项目合约商务部。
(4)技术负责人:主抓工程技术与质量,主持编制施工组织设计、项目质量计划,审定各分项工程施工方案,并负责与监理单位、设计单位、质检站和业主的协调工作,分管技术部和质量安全部。
(5)技术部(下设测量队和试验室):组织设计文件会审,全面掌握施工图纸、合同技术规范,根据合同要求编制实施性施工组织设计。
负责工程测量、现场检测、试验工作,配合设计和监理的工作。
第一■章总贝U (1)第二章技术管理体系 (6)第三章工程技术部及管理人员职责 (7)第四章设计文件的审核 (10)第五章施工设计管理 (10)第六章技术交底制度 (11)第七章工程日志填写制度 (12)第八章施工(技术)总结编写管理 (13)第九章竣工文件编制管理 (14)第一章总则第一条为加强工程技术管理,使工程技术工作规范化、程序化、标准化,根据郑州城建集团投资有限公司以及河南国基建设集团公司相关技术管理要求,并结合本工程的特点,制定本管理办法。
第二条工程技术管理指导思想:以项目工程质量计划及业主有关规定程序要求为依据,以工程施工为主体,以企业效益和信誉为中心,发挥科技生产力的重要作用,抓好技术指导和技术服务工作。
项目工程概况及特点:工程建设概况工程内容京广路、南三环立交为涡轮型全互通式立交,互通设置了8条迂回匝道,EN匝道为右转匝道,长度较短,主要跨越地面辅道或非机动车道或人行道,跨径受限因素较少,曲线段桥梁采用20〜22m普通钢筋混凝土连续箱梁,直线段和缓和曲线段采用25m预应力钢筋混凝土连续箱梁;WN为左转匝道,匝道长度较长且依次跨越南三环主线并相互跨越,跨径受限因素较多,本匝道曲线段桥梁采用18〜22m普通钢筋混凝土连续箱梁,直线段和缓和曲线段一般采用25m预应力钢筋混凝土连续箱梁,与京广路主线及南三环主线平行的匝道桥部分,匝道平面线形近乎直线,考虑跨越相交路口及配跨的要求,桥梁采用25〜30m 预应力连续箱梁。
EN匝道桥跨布置一览表Wb匝道桥跨布置一览表WN匝道第十、十二联在跨越NE ES匝道时,净空受限,需要降低桥梁建筑高度, 采用全钢箱梁。
工程特点及施工重难点分析第一条工程特点1、工程涉及专业多,施工难度大本工程主要为桥梁工程,涉及专业多、工程设计复杂,桥梁工程上部设计为现浇混凝土预应力斜腹板箱梁、连续钢箱梁、普通混凝土连续箱梁,下部包括钻孔灌注桩、承台、墩柱、横梁等,并且跨径多,桥宽不同,有桥面变宽和箱梁高度变截面段。
pl企业法人项目经理技术咨询专家小组企业法人项目经理:工程项目评审委员会项目总工程师项目副经理总工程师项目副经理工程技术部办公室机电物资部计合同质量控制部职能部门划工质量安全部办公室机电物资部计划合同部财务部部程技术部试验室测量队综合作业队机修队试验室测量队土建工程师开挖质检工程师地质质检工程师填筑质检工程师土石方队砌石作业队砼作业队砼质检工程师作业层各施工工区、作业厂队现场组织管理机构图项目质量管理组织机构框图施工组织设计、设备报检单、开工报告项目经理部审 核监理工程师质量管理目标确定审核结果质量保证体系开工申报(分部分项工程施工方案、材料等)组织保证思想保证技术保证经济保证项 目 经 理 经 理 部检验(施工材料等) 经济责任制 和奖罚制度 建立健全组织机 构和管理制度先进的资源配 置和技术措施提高质量意识试验室不合格检 验 结 果合格清退出场施 工 组 织 设 计 与 方 案 控 制质 施 工 准 备 的 质 量 控 制 机 具 材 料 的 质 量 控 制 施 工 过 程 的 质 量 控 制 计 量 标 准 的 质 量 控 制分部分项工程施工下 道 工 序 就 是 用 户完 量 意 识 及 诚 信 教 育预 防 为 主 的 方 针签 质 量 回 访 服 务制 定 奖 罚 制 度善 计 量 支 付 手 续实 行 优 质 优 价定 经 济 责 任 制工 程 技 术 部 计 划 合 同 部 机 电 物 资 部 试 验 室 质 量安 全部隐蔽工程分部分项工程自检施工工区不合格合格填报(隐蔽工程分部分项工程验收单)项 目经理部现场检查资料核查 改进工作质量提高工作技能提高经济效益保 证项目经理部监理工程师、项目经理部监理工程师、项目经理质量不合格检 查 结 果返 工 合格质量保证体系框图下一个循环签证、计量(质量验收单)监理工程师单位工程竣工验收 监理工程师、项目经理部质量控制流程图检测过程质量保证检测准备确定安全管理目标安全保证体系人员培训考试考核确定检测标准仪器设备 校核率定环境控制参数记录思想体系控制体系 组织体系明确规程 制定细则维护管理 组配检测 仪器设备人员配备上岗文 施 工 、 检 测 设 备 安 全 施 工 过 程 的 安 全 控 制确定试验方法 调整检测环境安 全 管 理 委 员 会安 全 目 标 宣 传 安 全 意 识 教 育全 管 理 制 度 及 措 施 场 设 备 及 人 员 安 全件 与 资 料 的 质 量 控 制爆 破 、 消 防 安 全安 全 记 录执行技术 标准保证人员技术素质保证仪器设备性能保证检测环境保证检 测 质 量 保 证 体 系检测样品取样重新检测 检 测复查数据记录提出处理意见分析原因数据处理检测复核项目部中层各部门申 述检测事故处理检测报告审核签发用 结户束安全管理体系框图检测质量保证程序框图文明施工组织机构框图项目经理:冉鼎初生产经理赵明技术龙光超安全阳星光项目经理部各中层部门负责人和施工队负责人作业厂队技术员、安全员作业厂队文明施工监督员施工作业班组长(文明施工监督员)附件一:主要施工设备表序号 设备名称 开挖及挖装设备 挖掘机型号规格 数量 国别产地 制造年份 额定功率(Kw ) 生产能力 用于施工部位 备注一 1 CAT330B ,1.6m32 4 施工现场 施工现场 施工现场 施工现场 施工现场 施工现场 施工现场施工现场 施工现场 施工现场 施工现场 施工现场 施工现场 施工现场2 挖掘机 PC220,1.0m 33 装载机 3.1m32 4 潜孔钻 YQJ100,φ80~115 YT25,φ42~50 YT28,φ42~502 5 手风钻 12 126 气腿钻 二 1 运输机械 自卸汽车 自卸汽车 自卸汽车 洒水车 CA3320,32t XC3320,15t EQ141,5t 8 16 8 2 3 4 WS-SA,8t 2 5 油罐车 EQ-141J ,8t EQ-155,8t2 6 载重汽车 砼搅拌车 平整设备 推土机3 7 10m 3 10三 1 施工现场 施工现场D85A-18,162kw D8K ,220kw2 12 推土机 四碾压设备施工现场 施工现场 施工现场 施工现场 施工现场 施工现场1 2 振动碾 振动碾 BW217D ,16t BW225D-5,25tBW75S 2 2 2 2 2 23 小型振动碾 夯锤4 5t5 斜面振动碾 斜坡碾牵引机 起重设备 YZ10L6 40t五 1 施工现场 施工现场 施工现场汽车吊 QY8A ,8t QY16A ,16t 25t.m1 1 22 履带吊3 汽车吊 六 1 电力、供风设备 柴油发电机 电动空压机 电动空压机 移动式柴油空压机 给排水设备 潜水泵 施工现场 施工现场 施工现场 施工现场200GFZ ,200kw 2 2 2 22 20m/min33 6m 3m 3 3 /min /min4 七 1 施工现场 施工现场 施工现场6112-3 12 6 2 离心泵 IS100-65-250 IS125-100-2003 离心泵 6八 1 混凝土设备 零星砼搅拌站 砂浆搅拌机施工现场 施工现场400 1主体砼采用商品砼2250L施工现场 施工现场 施工现场 施工现场 施工现场3 4 砂浆搅拌机 平板振捣器 振捣器 350L 2 65 φ80 φ50 φ356 6 振捣器 16 127 软管振捣器 工厂加工设备 钢筋切断机 钢筋弯曲机 钢筋调直机 交流电焊机 木工带锯机 木工刨床 九 1 施工现场 施工现场 施工现场 施工现场 施工现场 施工现场 施工现场 施工现场 施工现场 施工现场GQ-40 GW40 1 1 1 6 1 1 1 1 1 22 3 GT4-14 BX3-160 MJ3110A MB502A MQ431A Z 5140 4 5 6 7 木工多用机床 摇臂钻床 8 9 内圆磨床 M2120 10切割机CNC-4A附件二:拟投入试验和检测仪器设备表序号 1 仪器设备名称 全站仪 型号规格 Ninkon350 DZS3-1 TS4 数量 2 国别产地 中国 中国 中国 中国 中国 中国 中国 中国 中国 中国 中国 中国 中国 中国 制造年份 2014 2014 2014 2015 2014 2013 2013 2013 2013 2013 2015 2015 2015 2015 已使用台时数1500 2000 800 用途 测量 测量 检测 检测 检测 检测 检测 检测 检测 检测 检测 检测 检测 检测 备注2 自动安平水准仪 含水量测定仪 砼回弹仪 434 4 HT-2253 800 5 标准养护箱 砼试模4 800 6 6 2300 2800 2800 2800 800 7 砂浆试模 6 8 土工及砼试验仪器 砼试验仪器 万用表 3 9 3 10 11 12 13 14 3 计算机 P44 800 对讲机 TK378,30-470MHZ fx-4500P ,1024步QCJ-2A 8 800 计算器 3 2300 2800 求积仪 3 15 16 17 18 19 20电子天平 扭力天平 YP6000 1 1 1 1 2 2中国 中国 中国 中国 中国 中国2014 2014 2014 2014 2015 20152800 2800 2800 800 检测 检测 检测 检测 检测 检测4000g/0.01g 大型击实仪 手动击实仪 平整度检测尺 电热干燥箱JZC-3 800 WE-202-3 800附件三:劳动力计划表单位:人按工程施工阶段投入劳动力情况工种普工2017年上半年2017年下半年2018年上半年2018年7-12月合计12015016406063040430 20102机械操作工测量工40 4钻工16164 121244 0 32砼工124 4 44电工 2 14 电焊工 4 4 4 2 14模板工124 8 8 4 32机械维修工技术管理人员其他4 4 2 14 1630208122015012201504 44106080568合计施工进度计划横道图计划开工日期暂定为2016年12月26日(具体按监理人发布的开工令为准),计划完工日期为2018年12月26日,总工期为24个月施工进度计划单 位 数 量 作业 天数项目名称2017年 32017年 2018年 备注2456789101112123456789101112土石方开挖项 项 项 项 项 项 项 项 项 项 项 项 项 项 项 项 项 项 项 项 项 项 项 项 项 项 项 项1 1 1 1 1 1 1 1 1 1 1 1 1 1 1 1 1 1 1 1 1 1 1 1 1 1 1 1125 123 52 防 洪 护 岸 工 程 挡墙砼施工 石渣料回填 砼护面 土石混合料填筑砼框格 52 一 工 区 施 工153 92 种植土及绿化植草 钢筋砼预制栏杆 90 61 挡墙砼施工 123 181 62 市 政 部 分土石混合料填筑砼框格 种植土及绿化植划草 钢筋砼预制栏杆61 92 土石方开挖153 153 61 防 洪 护 岸 工 程挡墙砼施工 石渣料回填 砼护面 土石混合料填筑砼框格 61 151 89 二 工 区 施 工种植土及绿化植划草 钢筋砼预制栏杆92 92 土石方开挖 31 市 政 部 分 挡墙砼施工 89 土石混合料填筑砼框格 92 75 种植土及绿化植划草 钢筋砼预制栏杆 75 92 清场,完善资料,验收102说明:1、本单位将本工程划分为两个大的施工区进行统筹安排施工:一施工区为K0+000.000~K0+512.700段所包含的施工内容,二施工区为K0+512.700~K1+178.000段所包含的施工内容。
技术管理工作体系框图技术管理工作体系
各
项
规章
制度技
术
工作
程序
技术岗位责任制图纸会审制技术交底制技术复核制工程试验制
质量检测制测量复核制施工日志制技术档案制
施工中技术工
作指导与控制
审查后处理
编制单位工程实施
性施工组织设计
图纸会审(包括初
审和综合会审)
编制技术措施
和施工工艺
技术交底
技术规范、验标
学习与贯彻
竣工文件技术总结
工程验交
试
验
控
制
测
量
控
制
三
工
三
查
控
制
工
序
验
收
控
制
隐
蔽
工
程
验
交
技
术
复
核。