证券公司经纪业务科目流程图
- 格式:ppt
- 大小:310.00 KB
- 文档页数:9
证券经纪业务科目
证券经纪业务的科目包括以下四个:
1. 代理买卖证券款:这个科目是负债类科目,主要核算证券公司接受客户的委托,代理客户买卖股票、债券和基金等有价证券,而由客户缴存的款项。
此外,公司代理客户认购新股的款项、代理客户领取的现金股利和债券利息,代客户向证券交易所支付的配股款等也在该科目核算。
2. 代理兑付证券:这个科目是资产类科目,主要核算证券公司接受客户的委托,代理兑付债券的业务收入和相关支出。
3. 结算备付金:这个科目也是资产类科目,主要用于核算证券公司为证券交易的资金清算与交收而存放在指定清算代理机构的款项。
4. 其他应收款:这个科目是资产类科目,主要用于核算证券公司往来性应收款,以及代理买卖证券款项等暂付款项。
如需更多关于“证券经纪业务科目”的信息,建议咨询专业会计师或查阅相关书籍资料。
业务要点:1、投资者应持本人(或本机构)有效身份证明文件、证券账户卡等相关证件至营业部申请办理。
如为授权代理人办理的,营业部经办人员还须对授权代理人对应的有权代理项进行核实确认。
2、投资者申请开立资金帐户,资料无误的,当日办妥。
不收费。
业务要点:1、投资者应持本人(或本机构)有效身份证明文件、证券账户卡等相关证件至营业部申请办理。
如为授权代理人办理的,营业部经办人员还须对授权代理人对应的有权代理项进行核实确认。
2、投资者申请销户的,应当在接受投资者申请并完成其账户交易结算(包括但不限于交易、基金代销、新股申购等业务)后的两个交易日内办理完毕,法律法规、中国证监会及证券交易所、证券登记结算机构另有规定的除外。
3、投资者有以下情况之一的,不能办理资金账户的销户(1)仍有证券库存、场外开放式基金库存、资金余额的;(2)上海证券账户未撤销指定交易的;(3)有未到期的债券回购的;(4)新股申购资金或其它申购资金尚未解冻的;(5)第三方存管银行账户、外币银证转账银行账户、场外开放式基金账户未销户的;(6)处于冻结状态或禁止销户等限制的;(7)存在其他不能办理销户的事项。
4、撤销资金帐户不收费。
5、办理销户前需注意:①基金账户是否销户②投资者账户信息是否完备。
③通过柜台系统销户的步骤:销沪深证券账户→销三方银行→销资金账户。
业务要点:1、投资者应持本人(或本机构)有效身份证明文件、证券账户卡等相关证件至营业部申请办理。
如为授权代理人办理的,营业部经办人员还须对授权代理人对应的有权代理项进行核实确认。
2、投资者申请指定交易业务,投资者资料无误的,当日办妥。
不收费。
3、当日(称为:T日)新开上海证券账户需T+1日方可办理指定交易。
操作流程图:业务要点:1、投资者应持本人(或本机构)有效身份证明文件、证券账户卡等相关证件至营业部申请办理。
如为授权代理人办理的,营业部经办人员还须对授权代理人对应的有权代理项进行核实确认。
一、讲解经纪业务基本流程的目的:目的一:是为了规范经纪业务的操作流程,实现标准化的管理,提高工作效率。
那么什么是经纪业务呢?经纪业务就是证券公司进行筹划、管理、经营业务的统称。
而证券公司是金融机构,是一个高风险的行业。
从事经纪业务必须严格遵守国家的法律、法规,及有关规定,必须遵守公司的各项规章制度,强化风险意识、规范操作,严格执行各项业务中的操作流程。
中国的证券市场发展到现在已经有十几年的历程了,但对中国的金融投资业还是一个较新的领域,从证券公司在金融活动中的各自摸索中得出了必须要有一个统一的标准。
我们通常所说的“标准化”,一般是指企业生产的某种产品的质量、品种、规格的技术标准,我们证券公司所生产的不是有形的产品,而是一种无形的服务与管理,而这种服务与管理我们也必须要规范化。
在这里规范化和标准化是证券公司及其营业部进行安全经营、有效管理、人性化服务的首要提。
目的二:从源头上控制经纪业务经营风险的出现,维护个人、营业部乃至公司的安全。
证券业是一个具有风险性、专业性、技术性等诸多特点的金融行业,它的风险性是其作为金融行业所特有的。
为什么说是特有的,有一句话说得好“金融无小事”,其他行业的风险无非是对个人、和其所在的公司造成一定的影响,而对其所处的行业、国家不会有太大的影响。
而金融行业就并非如此了,举一个简单的例子:原万国证券,由于国债的自营交易不善,不具有风险防范意识,导致其公司亏损、倒闭,而被申银吞并,形成了现在的申银万国证券,而大家都知道,证券业它的注册资金都是由国有企业所注入的,证券公司的亏损就是国有资产的流失,小则影响个人和公司,大则就会影响一个市场、乃至国家。
由此可见,要控制经纪业务风险,就要从源头开始控制,从基础做起、从小节做起、从个人做起。
二、概念:1、证券帐户卡:证券帐户卡是投资者购买股票所必需拥有的帐户凭证。
证券帐户卡又分为:上海A股、上海B股、深圳A股、深圳B股帐户卡(1)上海A股帐户卡是只能买卖上海A股市场股票、封闭式基金的凭证。
证券部工作流程图12证券部工作流程图(一)会议组织过程流程图34证券部工作流程图(二)定期报告编制工作流程图56证券部工作流程图(三)分红派息工作流程图7证券部工作流程图(四)其它事务流程图81董事会的召开和公告的披露1.1由公司董事会提出召开董事会的预案,证券部办理具体事务。
1.2在董事会召开十日前证券事务代表向每位董事、监事、高管人员发出书面会议通知,内容包括召开会议的时间、地点、主持人、议题及不能出席会议的委托和请假要求。
1.3证券部部长对董事会提交的议题逐项草拟具体议案、协议、决9议。
1.4证券部部长协助董事会秘书按时组织召开公司董事会。
证券事务代表负责出席会议的董事、监事、高管人员在签名册上签字,对所议议案有修改时及时修改,做好会议记录。
会议结束后,做好董事在决议及会议记录上的签字工作。
1.5证券部部长根据董事会所审议内容草拟董事会决议公告,由公司董事会秘书、总经理、董事长审核后,交由上海证券交易所上市部监管人员进行初审、复审,复审确认后,交<香港商报>、<上海证券报>在会议召开后两个工作日内发布公告,同时在上海证券交易所网上进行披露。
1.6证券业务员整理会议文字材料和电子文档并存档。
1.7对会议决定事项,应属于哪个部门具体执行,证券业务员将全部文件资料复印后交付该部门执行。
1.8董事会筹备、组织召开整个过程由董事会秘书把关,证券部部长牵头,负责草拟、审核会议材料和与上海证券交易所、报社披露公告的联络工作,由证券事务代表和证券业务员办理具体事项。
2监事会的召开及公告的披露2.1公司监事会提出召开监事会的预案,证券部具体办理。
102.2在监事会召开十日前证券业务员向每位监事发出书面会议通知,内容包括召开会议的时间、地点、主持人、议题及不能出席会议时的委托和请假要求。
2.3证券部部长对监事会所提交的预案逐项草拟具体议案、决议。
2.4证券部部长协助董事会主席按时组织召开公司监事会。
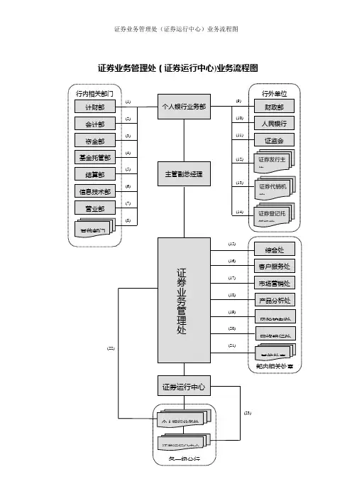
证券业务管理处(证券运行中心)业务流程图说明:(1)证券业务管理处(证券运行中心)负责拟订当年全行证券业务综合经营计划,提出初步的证券业务利润、成本、费用指标,通过个人银行部报计财部,经批准后由证券业务管理处按计划具体组织实施; 提出证券业务新产品开发费用、推广费用预算报计财部审批,以及阶段性费用开支的核批。
(2) 有关证券业务的会计核算制度进行协调。
(3) 证券业务管理处负责拟订当年凭证式国债的分销计划,通过个人银行部与资金部会签,报主管行长批准后下发执行;资金部负责提出记帐式债券的分销额度,通过证券业务系统向投资者销售。
(4) 配合基金托管部与基金管理公司、证券公司合作,开展开放式基金的代理销售业务;负责起草代销方案、代销协议,通过个人银行部与基金托管部会签;具体负责制定基金的发售流程。
(5) 结算部配合个人银行部,进行证券业务的会计柜台交易;负责证券业务会计柜台管理。
(6)通过个人银行部与信息技术部会签证券业务新产品的立项开发,新项目的费用预算;信息技术部对证券业务提供技术支持。
(7) 营业部负责证券运行中心开户及上存资金的核算;与一级分行的证券资金清算;与发行主体、代销机构的资金清算与结算。
(8) 与行内其他部门的工作协调、业务联系。
(9)、(10) 向财政部、人民银行报凭证式国债的承销计划。
(10)、(11)向人民银行、证监会报基金类业务营销方案。
(12)经部领导批准,会同行内相关部门开展与证券发行主体的联系与合作。
(13)经部领导批准,会同行内相关部门与行外机构合作,建立委托关系,使其为我行代理销售证券。
(14)经部领导批准,与证券登记托管机构进行有关证券托管业务联系、工作协调。
(15)证券业务管理处公文流转。
(16)证券业务电话交易系统的经营和管理。
(17)证券业务的市场营销方案的制订。
(18)综合经营计划的申报和执行。
(19)证券业务的风险防范与控制。
(20)证券业务网上银行交易系统的经营和管理。
叙述证券经纪业务的运行流程下载温馨提示:该文档是我店铺精心编制而成,希望大家下载以后,能够帮助大家解决实际的问题。
文档下载后可定制随意修改,请根据实际需要进行相应的调整和使用,谢谢!并且,本店铺为大家提供各种各样类型的实用资料,如教育随笔、日记赏析、句子摘抄、古诗大全、经典美文、话题作文、工作总结、词语解析、文案摘录、其他资料等等,如想了解不同资料格式和写法,敬请关注!Download tips: This document is carefully compiled by theeditor. I hope that after you download them,they can help yousolve practical problems. The document can be customized andmodified after downloading,please adjust and use it according toactual needs, thank you!In addition, our shop provides you with various types ofpractical materials,such as educational essays, diaryappreciation,sentence excerpts,ancient poems,classic articles,topic composition,work summary,word parsing,copy excerpts,other materials and so on,want to know different data formats andwriting methods,please pay attention!证券经纪业务是证券公司最基本的业务之一,主要是指证券公司按照客户的委托,代理其在证券交易所买卖证券的有关业务。
证券经纪业务的一般流程投资银行的大部分经济业务是在证券交易所内进行的,客户委托其代理证券交易的程序一般包括开户、委托、成交、清算、交割、过户和结账。
(一)开户客户在委托交易之前,首先需要证券账户和资金账户。
证券账户是投资者按照法律、法规和相关规定,在证券登记结算机构开立的用于即在投资者所持有证券种类数量以及相应权益变动情况的账户。
投资者通过中国结算上海分公司、深圳分公司以及开户代理机构开立账户。
原则上,一个自然人或法人对于同一类别证券账户,只能开一个,但有特殊规定的除外。
资金账户是投资者在证券公司开立的用于记录资金变动情况和余额的专用账户。
分为现金账户、投资计划账户和保证金账户,通常按银行活期利率计息。
我国目前实行交易结算资金第三方存管制度。
(二)委托开立证券账户和资金账户之后,客户可进行委托交易,委托书上写明以下内容:(1)投资者的证券账号和资金账号;(2)委托交易的方向;(3)委托买卖证券的名称及代码;(4)委托买卖证券的数量;(5)出价方式和价格幅度;(5)委托有效期。
在委托有效期内,如果交易尚未达成,客户有权变更和撤销委托。
委托可按不同的标准分成不同的类型,委托指令当日有效,申报价格有最小变动单位(A 股0.01元,B股0.001美元)。
(三)成交投资银行接受客户委托后,立即通知证券交易所内的场内经纪人。
场内经纪人马上按照投资者指令买入或卖出股票。
代买卖成交后,场内经纪人又立即将交易情况告知投资银行,再转达给客户。
场内经纪人公开申请报价,有口头,书面,电脑竞价三种形式。
价格优先,时间优先。
公开竞价分为集合竞价和连续竞价。
连续竞价投资人委托买入或卖出,只有符合成交条件,交易可在任何时点发生,成交价格随供需涨跌,价格优先,时间优先。
集合竞价市场累计买卖申报后一次竞价成交,以“成交量最大”原则确定成交价格,所有成交以同一成交价格成交。
竞价有三种结果:全部成交、部分成交和不成交。
其中,连续市场又分为委托单驱动市场和报价驱动市场。