襄阳市社会矛盾大调解系统事项分类表
- 格式:doc
- 大小:44.50 KB
- 文档页数:14
排查化解重点社会矛盾纠纷情况登记表(表一)
填报单位:(年月)
说明:1、重点社会矛盾纠纷指辖区内因征地拆迁改造、企业关停倒闭、环境污染等问题,可能引发群体性事件和赴省进京上访的矛
盾纠纷,以及可能转化为刑事案件、容易激化升级的个体性突出矛盾纠纷;
2、基本情况包括发生原因、涉及人数、可能引发的后果和已经采取的措施;
3、本表由全市各镇(街道)司法部门负责统计,在报上级部门的同时送镇(街道)综治办统一汇总上报上级综治办。
4、本表每个月只需登记新排查出的重点社会矛盾纠纷情况,每一起矛盾纠纷占用一个序号,序号依次向后;
排查整治重大突出治安问题情况登记表(表二)填报单位:(年月)
2、本表由公安部门负责统计,在报上级部门的同时送镇(街道)综治办统一汇总上报上级综治办。
高危人群中可能违法犯罪人员情况简登表(表三)
(年月)
说明:本表每个月只需登记新排查出的高危人群中“可能违法犯罪”人员情况,每个人占用一个序号,序号依次向后。
襄阳市矛盾联动化解系统社区操作手册武汉力龙数码信息科技有限公司一、登录在浏览器中输入襄阳市社会管理综合信息平台的登陆地址即可进入襄阳市社会管理综合信息平台的后台登录页面。
输入用户名和密码点击登录按钮登录社区用户管理页面。
该页面中显示了由社区录入的矛盾办件。
“待上报办件”中显示的是待上报的办件,“待签收办件”中显示的是部门签收的办件,“待办理办件”中显示的是待办理的办件,“已办结待评价办件”中显示的是已经办理完成待评价的办件。
您可以点击“待上报办件”、“待签收办件”、“待办理办件”、“已办结待评价办件”进入详细列表查看,也可以直接点击办件的主题信息查看办件详细。
点击左侧社区办件管理下的矛盾收集,即可对市民的矛盾进行录入。
表示办件现在已经超期表示办件将要已经超期表示办件正常二、矛盾收集点击左侧社区办件管理下的矛盾收集进行矛盾收集,该页面显示如下:您可以使用的功能是:1.输入您上报该矛盾办件的“标题”;2.输入该矛盾办件的诉求人的“手机号码”;3.输入该矛盾办件诉求人的“姓名”;4.输入该矛盾办件的有关“内容”;5.上传该矛盾办件有关的附件;6.点击“提交”按钮后,会提示您办件信息录入成功。
您上传的办件信息则进入到“待上报办件”中。
三、待上报办件点击桌面的“待上报办件”或者左侧“社区办件管理》待上报办件“进入详细列表查看,该页面显示如下:您可以是使用的功能:1.勾选“投诉人姓名”,并输入需要查询的办件投诉人姓名,点击查询按钮。
即可按照您输入的办件投诉人姓名对办件进行查询;2.勾选“办件编号”,并选择需要查询的办件编号,点击查询按钮。
即可按照您输入的办件编号对办件进行查询;3.勾选“受理时间”,并选择输入你要查询的受理时间。
即可按照您选择的受理时间范围对办件进行查询;4.勾选“关键字”,并输入您要查询的办件的关键字,点击查询按钮。
即可按照您输入的关键字对办件进行查询;5.在上报列表中点击您需要查看的办件,即可进入办件的详细页面。
矛盾纠纷大排查大化解大治理活动实施方案一、背景与目标近期,我国社会矛盾纠纷呈现出多元化、复杂化的特点,为维护社会稳定、保障人民安居乐业,我们决定开展矛盾纠纷大排查大化解大治理活动。
通过此次活动,旨在全面排查各类矛盾纠纷,切实提高化解能力,确保社会和谐稳定。
二、工作原则1.以人民为中心,关注民生,解决实际问题。
2.突出重点,分类施策,有序推进。
3.落实责任,协同作战,形成合力。
4.注重预防,强化教育,营造和谐氛围。
三、排查范围与内容1.排查范围:涵盖各镇(街道)、各部门、企事业单位和社会组织。
2.排查内容:(1)涉及民生领域的矛盾纠纷,如物业管理、教育、医疗、就业、社会保障等;(2)涉及企业生产经营的矛盾纠纷,如合同纠纷、劳资纠纷、知识产权纠纷等;(3)涉及社会治安的矛盾纠纷,如邻里纠纷、家庭纠纷、土地纠纷等;(4)涉及网络空间的矛盾纠纷,如网络谣言、网络诈骗等。
四、工作措施1.组织发动阶段(1)成立活动领导小组,负责活动的组织、协调和指导;(2)召开动员大会,明确任务分工,确保活动顺利开展。
2.排查摸底阶段(1)开展全面排查,深入了解各类矛盾纠纷;(2)建立矛盾纠纷排查数据库,对排查出的矛盾纠纷进行分类、登记;(3)定期分析排查情况,为化解工作提供依据。
3.化解调处阶段(1)根据矛盾纠纷的性质和特点,采取调解、和解、仲裁等方式进行化解;(2)充分发挥基层组织和社会组织的调解作用,形成多元化化解机制;(3)对化解难度较大的矛盾纠纷,及时上报,争取上级支持和协调。
4.治理巩固阶段(1)对已化解的矛盾纠纷进行跟踪管理,防止反弹;(3)加强法治教育,提高群众法治意识,预防矛盾纠纷的发生。
五、保障措施1.加强组织领导,确保活动落到实处;2.落实工作经费,保障活动顺利进行;3.建立激励机制,鼓励广大干部群众积极参与;六、时间安排1.2023年5月1日至5月31日:组织发动阶段;2.2023年6月1日至6月30日:排查摸底阶段;3.2023年7月1日至7月31日:化解调处阶段;4.2023年8月1日至8月31日:治理巩固阶段。
2024社会矛盾纠纷排查调处工作计划社会矛盾纠纷是当前社会发展过程中不可避免的问题,调处社会矛盾纠纷是维护社会稳定、促进社会和谐的重要任务。
为了做好2024年社会矛盾纠纷排查调处工作,制定以下工作计划。
一、加强组织领导1. 成立专门的社会矛盾纠纷排查调处工作领导小组,负责组织、协调、指导和监督工作。
2. 完善工作机制,健全调处工作的各项制度,确保工作有序开展。
3. 定期召开排查调处工作例会,总结经验,研究解决工作中的问题,提出改进意见。
二、完善矛盾排查机制1. 建立健全矛盾排查台账,全面了解各类矛盾纠纷的情况,为有效调处提供依据。
2. 搭建社会矛盾纠纷排查调处信息平台,实现信息的共享和交流,提高工作效率。
3. 深入社区、企事业单位等基层,开展排查工作,重点关注社会矛盾纠纷的热点问题,做到及时发现并解决问题。
三、加强矛盾调处能力建设1. 加强干部培训,提高干部的法律意识和矛盾调处的专业能力,提高矛盾调处的质量和效果。
2. 建立矛盾调处专家库,邀请专业人士参与矛盾调处工作,提供专业意见和指导。
3. 加强对矛盾调处工作的指导和监督,建立考核评估制度,促进工作的规范化和科学化。
四、加强舆情监测和应对1. 建立健全舆情监测机制,及时掌握社会矛盾纠纷的动态,做到前瞻性、系统性和全面性。
2. 加强对舆情的分析研判,制定合理的应对策略,避免舆情对社会矛盾纠纷的进一步激化。
3. 做好社会矛盾纠纷的宣传工作,加强沟通与引导,增加社会矛盾纠纷的化解力度。
五、优化调处机制,促进矛盾纠纷的化解1. 推动矛盾纠纷多元化解机制的建立,鼓励当事人通过协商、调解等方式解决矛盾纠纷。
2. 强化调处工作的公正性和权威性,确保决策的公正、合法和妥善。
3. 建立健全宣传教育机制,加大宣传教育力度,提高社会公众对矛盾纠纷排查调处工作的认识和理解。
六、加强信息共享和协作1. 推动建立社会矛盾纠纷调处信息系统,实现不同部门间的信息共享和协作。
附件1月份矛盾纠纷排查调处工作情况统计表单位(盖章):年月日小计婚姻家庭邻里经济债务宅基地换届选举土地征用坑农害农民族宗教城市拆迁水库移民退伍军人劳动保障干群关系环境保护涉法涉诉行政执法拖欠工资企业改制集资证券其他当月排查数与上月比(+ -)%调处数与上月比(+ -)%累计1月份以来排查数与去年同期比(+ -)% 1月份以来调处数与去年同期比(+ -)%注:当月调处数包含累计未调处本月调处数;与上月同比=(本月数-上月数)÷上月数;累计同比的计算方法与上月同比相同;本表格上报和留存。
附表2月份矛盾纠纷排查调处分类报表年月日单位婚姻家庭邻里经济债务宅基地换届选举土地征用坑农害农民族宗教城市拆迁水库移民退役军人劳动保障干群关系环境保护涉法涉诉行政执法拖欠工资企业改制其他总数排查调处排查调处排查调处排查调处排查调处排查调处排查调处排查调处排查调处排查调处排查调处排查调处排查调处排查调处排查调处排查调处排查调处排查调处排查调处排查调处附表3月份未化解矛盾纠纷责任分解台帐年月日序号单位类型涉及人数主要问题包案领导及职务责任部门完成时限是否督办注:表中类型填写:婚姻家庭、邻里、经济债务、宅基地、换届选举、土地征用、坑农害农、民族宗教、城市拆迁、退役军人、劳动保障、干群关系、环境保护、涉法涉诉、行政执法、拖欠工资、企业改制、水库移民、集资证卷、其他。
本表格上报和留存。
附表4月份累计未调处本月调处台帐年月日序号单位类型涉及人数主要问题包案领导及职务责任部门完成时限是否督办注:表中类型填写:婚姻家庭、邻里、经济债务、宅基地、换届选举、土地征用、坑农害农、民族宗教、城市拆迁、退役军人、劳动保障、干群关系、环境保护、涉法涉诉、行政执法、拖欠工资、企业改制、水库移民、集资证卷、其他。
本表格上报和留存。
附表5月份矛盾纠纷排查已调处台帐单位: 年月日注:矛盾纠纷类型:婚姻家庭、邻里、经济(债务)、宅基地、换届选举、土地征用、坑农害农、民族宗教、城市拆迁、水库移民、退役军人、劳动保障、干群关系、环境、涉法涉诉、行政执法、拖欠工资、企业改制、集资证券、其他。
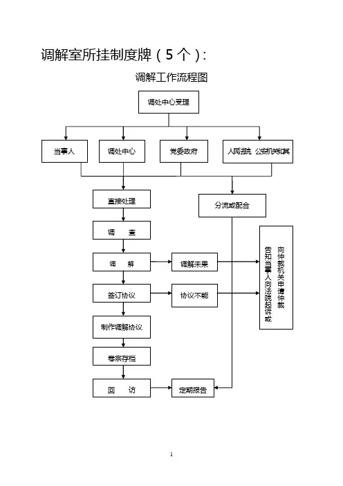
调解室所挂制度牌(5个):调解工作流程图调处中心受理当事人申请受理调处中心主动受理党委政府指定受理直接处理分流或配合有关部门处理调查调解调解未果向仲裁机关申请仲裁告知当事人向法院起诉或签订协议协议不能履行制作调解协议卷宗卷宗存档回访定期报告人民法院、公安机关和其他机关委托受理调解室调解程序一、调解主持人宣布调解庭原则、纪律,和对纠纷当事人身份。
二、调解主持人询问纠纷当事人是否申请调解人员回避。
三、纠纷当事人陈述纠纷发生经过及对纠纷调解的要求和意见。
四、纠纷双方当事人向调解庭提交有关证据或提供证人证言,并由调解主持人当庭质证,证人对自己的证词签字认可。
五、各方当事人、证人就各方陈述、质证、辩论发言记录进行审核后签字认可。
六、调解主持人就已核准的事实依法分析纠纷的性质、焦点、双方当事人的权利、义务和责任,并提出调解协议的初步方案。
七、调解主持人分别做纠纷当事人的说服工作,进一步完善调解协议方案。
八、纠纷当事人各方在调解主持人的主持下,签写调解协议书或由调解主持人宣布调解暂休庭,择日通知再行调解。
九、宣布此次调解结束。
受案范围一、受理范围:调处中心受理的民间纠纷,包括发生在公民与公民之间、公民与法人和其他社会组织之间涉及民事权利义务争议的各种纠纷。
根据纠纷所指向的对象,大致可以划分为以下类型:(一)婚姻家庭纠纷,(二)劳动纠纷,(三)拆迁纠纷,(四)租赁纠纷,(五)伤残、死亡赔偿纠纷,(六)拖欠工程款等经济纠纷(七)宅基地纠纷,(八)物业纠纷等等。
二、下列纠纷不予受理:一是法律、法规规定只能由专门机关管辖处理的、或者法律、法规禁止采用民间调解方式解决的;二是人民法院、公安机关或者其它行政机关已经受理或者解决的。
郯城县矛盾纠纷排查调处中心领导小组组长:刘洪州郯城县政法委副书记、司法局局长副组长:杜文忠郯城县司法局副局长卞伟郯城县司法局副局长禚洪伟郯城县司法局副局长成员:项燕郯城县司法局基层科科长王兰欣郯城县司法局法律援助中心主任丁文生郯城县司法局法律服务管理办主任徐春郯城司法局信访办主任郯城县矛盾纠纷排查调处中心工作人员调解室人员:谭宗慧师郯律师事务所主任胡俊莹师郯律师事务所律师刘浩师郯律师事务所律师吕智郯城司法局科员梁永清郯城司法局科员巡回人员:孔宪军郯城县人民检察院控申科科长主波郯城县人民法院正科级审判员矛盾纠纷排查调处工作办公室所挂制度牌(3个):调处中心工作纪律一、不准以任何形式进行有偿调解服务。
矛盾纠纷多元化解职责清单|矛盾纠纷多元化解职责清单 1、发挥乡镇(街道)、村(社区)党组织在基层矛盾纠纷预防化解中的领导核心作用,引导和组织社会各方面力量积极参与矛盾纠纷化解;党委、政府统筹推进矛盾纠纷多元化解机制建设,健全和落实党政主要领导负总责、分管领导具体负责、其他领导一岗双责的领导机制,督促各有关部门落实号矛盾纠纷多元化解责任,及时研究解决机构人员、经费投入、制度保障、基础建设等方面存在的问题和困难。
加强调查研究、组织协调、督查、考评、总结推广经验等工作,着力督促和协调法院、司法行政部门建立完善矛盾纠纷多元化解机制、制定发展规划、抓好工作落实;定期排查特别是农村地区婚姻家庭、感情、邻里、宅基地、经济债务等民间矛盾纠纷;定期排查影响本地社会稳定的重点领域、重点问题、重点人群;组织开展防范化解专项行动,制定专项行动工作方案。
坚持每半个月开展一次矛盾纠纷排查调处工作协调会议,村(社区)每周召开一次协调会,分析^p 矛盾纠纷总体形势,研究可能引发重大治安问题和群体性事件的隐患苗头,提出解决办法;督办重点案件,明确包案领导、责任单位和责任人。
每次会议形成会议纪要,报告上级平安建设领导小组办公室和同级党委、政府;村级每周报告一次工作情况。
开展预防“民转刑”命案专项行动工作,建立预防“民转刑”命案工作台账,有具体防范化解措施。
(责任单位:各乡镇(街道)。
)2、发挥综治中心矛盾调处室作用,组织开展矛盾纠纷排查化解工作。
每半月召开一次矛排例会,有会议纪要,统一登记矛盾纠纷,工作台帐、调处卷宗规范完整;村级矛调室每周召开一次矛排例会,有会议记录,有矛排台账,有普法宣传教育文件及资料;建成乡级金牌调解室并高效运转,各村(社区)全部建立以个人名字命名的矛盾纠纷调处室。
各乡镇(街道)、各村(社区)要发动网格管理员、平安志愿者、社区工作者、“五老人员”(老党员、老干部、老教师、老知识分子、老政法干警)等开展矛盾纠纷预防化解工作。
襄阳市人民政府办公室关于进一步加强行政调解工作的通知文章属性•【制定机关】襄阳市人民政府(原襄樊市政府)办公室•【公布日期】2016.11.17•【字号】襄政办函〔2016〕59号•【施行日期】2016.11.17•【效力等级】地方规范性文件•【时效性】现行有效•【主题分类】调解正文关于进一步加强行政调解工作的通知襄政办函〔2016〕59号各县(市、区)人民政府,各开发区管委会,市政府各部门:为认真贯彻落实十八届四中全会决定、《法治政府建设实施纲要(2015-2020年)》和中央、省、市关于完善矛盾纠纷多元化解机制有关要求,进一步明确行政调解工作原则、范围,规范行政调解程序,健全行政调解制度,依法有效化解社会矛盾纠纷。
经市政府同意,现就进一步加强行政调解工作有关事项通知如下:一、基本原则(一)自愿原则。
充分尊重当事人的意愿,不得强迫当事人接受调解方式或调解结果。
(二)合法原则。
遵循法律、法规、规章和政策规定,调解方式和结果不得违反法律禁止性规定,不得损害国家利益、公共利益和他人的合法权益。
(三)平等原则。
行政调解机关不得偏向任何一方,尊重争议各方表达意愿和诉求的权利,公正、平等地协商处理争议纠纷。
行政机关作为一方当事人时,与行政管理相对人的地位平等。
(四)便捷原则。
行政调解应当简便、快捷、高效,鼓励采取灵活多样、诚信规范的方式方法化解矛盾,做到“定纷止争、案结事了”。
对不宜调解或调解不成的矛盾纠纷,行政机关应当依法及时做出处理,不得久调不决或久拖不结。
二、行政调解的范围和程序(一)调解范围1、行政机关或法律法规授权的具有管理公共事务职能的组织与公民、法人或其他组织之间产生的法律法规规定可以调解的行政争议。
2、依法应当由行政机关居中裁决、调处的民事纠纷。
行政机关开展行政调解应当依职权重点解决好土地征收、房屋拆迁、山林权属、土地承包、社会保障、劳动争议、医疗卫生、房地产开发、建筑施工、消费者权益保护、产品质量、食品药品安全以及治安管理、物业管理、交通损害赔偿等重点领域的行政争议或民事纠纷。
人民调解综合信息管理系统 -- 调解录入平台(调解员)目录一、登录 (2)二、案件管理 (3)1、纠纷排查 (3)2、书面案件 (5)点击上方菜单栏中的“案件管理”,从中选择“书面案件 (5)3、口头案件 (10)三、知识库管理 (11)1、案件库管理 (11)2、相关法律法规管理 (12)3、常用信息管理 (13)四、信息管理 (15)1、通知公告 (15)2、工作动态 (16)五、退出 (17)一、登录输入用户名、密码登录网站(如图1-1)。
图1-1登录界面进入首页后,即“我的桌面”,可以查看案件数量、未结案案件列表、通知公告、工作动态、案件情况分析图等(如图1-2)。
图1-2首页界面二、案件管理1、纠纷排查点击上方菜单栏中的“案件管理”,从中选择“纠纷排查”(如图2-1)。
图2-1菜单栏进入纠纷排查页面,输入排查内容,点击“查询”按钮,即可查询对应信息(如图2-2)。
图2-2排查内容显示点击“添加”按钮,弹出添加机构对话框,输入排查日期、排查地点、排查内容,点击“确定”按钮,完成机构添加(如图2-3)。
图2-3机构添加界面点击操作列“编辑”按钮可对排查日期、排查案件数、排查地点、排查内容进行修改(如图2-4)。
图2-4编辑界面2、书面案件点击上方菜单栏中的“案件管理”,从中选择“书面案件”(如图2-5)。
图2-5菜单栏进入书面案件页面,输入案件名称、案件状态,点击“查询”按钮,即可查询对应信息(如图2-6)。
图2-6书面案件显示点击“新增案件”按钮,弹出新增案件对话框,选择案件来源(如图2-7),点击“确定”按钮,弹出案件办理流程界面(如图2-8),在调解申请书界面分别输入申请人信息、被申请人信息、案件信息。
新增申请人信息与新增被申请人信息方式相似,以新增申请人信息为例,点击“新增申请人”按钮,弹出申请人信息对话框,连接身份证读取工具,点击“读取身份证信息”按钮读取信息,并同时输入申请人类型、联系电话、职业或职位、住址或单位等,点击“确定”按钮,完成新增操作。
2024社区人民调解工作计划表格(通用3篇) 2024社区人民调解工作计划表格(篇1) 为进一步完善社区人民调解工作机制,提高调解工作的规范化、科学化和法制化水平,预防和化解社区居民矛盾纠纷,维护社区和谐稳定,特制定本计划表格。
确定调解组织与人员分工1.1 成立调解委员会调解委员会由社区居民代表、社区干部、法律顾问等人员组成。
调解委员会下设办公室,负责日常事务的处理。
1.2 人员分工调解委员会主席负责全面工作,组织召开调解会议。
办公室负责日常事务的处理,包括文件归档、资料整理等。
调解员负责具体案件的调解工作,确保调解过程合法、公正。
了解纠纷情况并分类处理2.1 了解纠纷情况通过调查、走访等方式,全面了解纠纷的具体情况。
对纠纷的性质、涉及人员、矛盾焦点等进行深入分析。
2.2 分类处理根据纠纷的性质和实际情况,采取不同的处理方式。
对于涉及法律问题的纠纷,可邀请法律顾问参与调解。
对于涉及多个方面的纠纷,可组织专家进行评估和协调。
加强调解宣传与教育3.1 调解宣传利用社区宣传栏、微信公众号等渠道,宣传调解工作的重要性和意义。
定期组织调解宣传活动,提高居民对调解工作的认知度和信任度。
3.2 教育培训对调解员进行法律法规、调解技巧等方面的培训。
针对不同类型的纠纷,组织专题培训和交流活动,提高调解员的专业水平。
完善调解工作流程与规范4.1 工作流程受理纠纷:接待当事人,了解纠纷情况。
调查分析:对纠纷进行深入调查和分析。
2024社区人民调解工作计划表格(篇2) 为进一步提升社区人民调解工作的效率和规范化水平,预防和化解社区居民的矛盾纠纷,特制定本计划表格。
一、调解案件类型家庭矛盾类:夫妻矛盾、亲子关系、分家析产等;邻里纠纷类:相邻权、公共空间使用等;物业纠纷类:物业费、维修基金、停车位等;经济债务类:借贷、合同违约等;其他类型:土地、房屋拆迁补偿、继承、收养等。
二、调解案件数量根据上一年度调解案件的数量和本年度预计的新增案件数量,合理分配给每位调解员。
附件1:社会矛盾纠纷排查登记表纠纷类型是指:⑴征地拆迁;⑵改革改制;⑶劳动争议;⑷医患关系;⑸环境污染;⑹民族宗教;⑺婚姻家庭;⑻财产继承;⑼合同履行⑽经济赔偿;⑾房屋和宅基地;⑿交通及生产安全;⒀其他。
备注栏中注明纠纷是否是涉法、涉诉、涉军、涉企、涉访纠纷及矛盾纠纷风险预测。
'.附件2:治安突出问题排查登记表'.附件3:重点高危人员排查登记表人员类型包括:⑴可能产生犯罪倾向或有犯罪前科人员;⑵刑释解教人员;⑶社区矫正对象;⑷吸毒人员;⑸邪教人员;⑹社会闲散人员;⑺长期违法缠访闹访人员;⑻涉网重点人员;⑼容易肇事肇祸的精神病人;⑽情绪和行为偏执人员;⑾对社会极端不满人员;⑿其他可能铤而走险的人员。
'.附件4:信访突出问题排查登记表问题类型包括:拆迁安置、征地补偿、企事业改制、劳动保障、城市管理、涉法涉诉及其他类。
'.附件5:安全生产隐患排查登记表填报单位(盖章)填报时间:年月日单位负责人:填表人:注:本表所指安全生产隐患是指危害和整改难度较大,应当全部或局部停产停业,并经过一段时间整改治理方能排除的隐患,或者因外部因数影响致使生产经营单位自身难以排除的隐患。
行业领域:⑴危险化学品、烟花爆竹、建筑施工、民爆器材等工矿行业存在的安全隐患;⑵农机、水利、渔业等领域存在的安全隐患;⑶医院、学校、商场、娱乐场所等人员密集场所存在的安全隐患;⑷锅炉、压力容器等特种设备存在的安全隐患;⑸市场“三合一”火灾隐患等。
'.附件6:其他突出问题排查登记表类别有:⑴涉及面广、时间跨度大、容易引发群体性事件的疑难复杂问题;⑵可能引发个人极端暴力行为的苗头性、倾向性问题。
'.附件7:社会不稳定因素排查统计表'.。
2024年矛盾纠纷大调解工作方案____年矛盾纠纷大调解工作方案一、背景分析随着社会发展和进步,人们的生活水平逐渐提高。
然而,社会矛盾和纠纷也逐渐增长。
矛盾和纠纷的有效调解成为维护社会稳定和谐的重要任务。
为了推动社会矛盾和纠纷的调解工作,保障人民群众的权益,提高社会管理水平,制定本方案,旨在解决____字。
二、目标及原则1.目标:通过本次矛盾纠纷大调解工作,解决并化解一批涉及群众切身利益的矛盾纠纷,推动社会和谐稳定发展。
2.原则:以人民为中心,公正、公平、公开、便捷的原则,注重法治引导,积极主动调解,协调解决。
三、工作内容及措施1.建立完善的调解机制(1)设立专门的矛盾纠纷调解委员会,由各方共同组成,负责统筹安排矛盾纠纷调解工作。
(2)完善矛盾纠纷调解机构设置,加强人员培训和专业能力提升,提高调解的质量和效果。
(3)制定和完善调解规则和程序,明确矛盾纠纷调解的目标、原则和步骤,确保调解工作的科学性和规范性。
(4)加强与司法机关的衔接,积极引导有条件的矛盾纠纷通过调解方式解决,减轻司法资源的压力。
2.加强宣传和教育(1)组织广泛、多层次的宣传活动,向全社会推广矛盾纠纷调解工作的重要性和作用,提高社会公众对调解的认识和理解。
(2)加强矛盾纠纷调解工作的宣传报道,充分展示调解的优势和成效,弘扬正能量,树立正确的调解观念。
(3)开展矛盾纠纷调解知识普及教育活动,提高全社会对矛盾纠纷调解的法律意识和解决能力。
3.便捷化调解渠道(1)通过一对一的调解方式,充分尊重当事人的意愿,减少矛盾纠纷的复杂化和化解难度。
(2)建立网上调解平台,提供在线调解服务,方便当事人随时随地进行调解。
(3)充分发挥社区、村、居委会等基层组织的作用,组织志愿者参与调解工作,增加当事人的参与意识和责任感。
4.加强矛盾纠纷调解队伍建设(1)加大对矛盾纠纷调解工作的培训力度,提高调解员的专业知识和职业素养。
(2)建立调解员考核制度,合理激励调解员的积极性,创造良好的工作环境。
矛盾纠纷排查调处工作分类台账单位(公章):报送人:签收人:年月日类型农村集体土地征用、流转房屋拆迁城乡建设管理土地、山林、水利、资源权属环境保护村务管理劳动社保医疗卫生交通事故排查调处排查调处排查调处排查调处排查调处排查调处排查调处排查调处排查调处本月数量类型学校教育房产物业维权产品质量安全经济合同金融借贷人身损害婚姻家庭邻里关系宅基地纠纷村矿纠纷排查调处排查调处排查调处排查调处排查调处排查调处排查调处排查调处排查调处本月数量类型企业改制行政执法诉前调解涉法涉诉案件管理中心信访事项农资纠纷重特大疑难纠纷其他排查调处排查调处排查调处排查调处排查调处排查调处排查调处排查调处排查调处本月数量备注:1、矛盾纠纷涉及多个因素的,酌情按主要因素归类,不重复统计;2、各级组织如有新的突出矛盾纠纷类型需要单独统计的,可在空格处填写;3、此表电子版及复印件盖章后在每月25日之前报送至新绛县矛盾纠纷调解中心。
发送该表时,主题应当表明单位及表格名称。
矛盾纠纷排查调处登记表
种类
数量
县(市)
排乡(镇街)查
数村(居)
小计
县(市
调乡(镇街)处
数村(居)
小计因国企改革,国企下
因社会集资因土地和因房地产交易因婚姻家
岗职工基本生活费和因农民负
融资不能正电力水利及住房拆迁、建庭、邻里
离退休人员基本养老担过重问
常兑付和金等问题引筑施工等城市等问题引
金发放和城市居民最题引发的
融诈骗引发发的矛盾建设工作引发发的矛盾
低生活保障问题引发矛盾纠纷
的矛盾纠纷纠纷的矛盾纠纷纠纷
的矛盾纠纷
因司法机关
行政执法部因其他因
门执法问题素引发的合计
引发的矛盾矛盾纠纷
纠纷
单位:审核人:填表人:。
襄阳市人民政府办公室关于在我市各级行政机关设立行政调解指导中心、行政调解中心(室)的通知
【法规类别】机关工作综合规定
【发文字号】襄阳政办发[2011]91号
【发布部门】襄阳市人民政府(原襄樊市政府)
【发布日期】2011.08.20
【实施日期】2011.08.20
【时效性】现行有效
【效力级别】地方规范性文件
襄阳市人民政府办公室关于在我市各级行政机关设立行政调解指导中心、行政调解中心
(室)的通知
(襄阳政办发〔2011〕91号)
各县(市)、区人民政府,各开发区管委会,市政府各部门:
为全面构建社会矛盾“大调解”工作体系,加强行政调解与人民调解、司法调解的衔接配合,提高社会矛盾化解效率,促进社会和谐稳定,按照《中共襄阳市委襄阳市人民政府关于襄阳市社会管理创新的实施意见》(襄发[2011]2号)要求,我市市、县两级政府及其部门应成立行政调解指导中心、行政调解中心(室)。
现就有关事项通知如下:
1 / 1。
襄阳市襄州区综合中心行业专业人民调解员工作职责襄阳市襄州区综合中心行业专业人民调解员工作职责作为襄阳市襄州区综合中心行业专业人民调解员,我们肩负着重要的职责和使命。
我们的工作旨在促进社会和谐稳定,解决纠纷和矛盾,维护公平正义。
以下是我们的工作职责:1. 调解纠纷:我们负责处理各类纠纷和矛盾,包括但不限于家庭、邻里、劳动、合同等方面的问题。
我们会通过听取双方当事人的陈述,了解事情的来龙去脉,并运用专业知识和技巧进行调解。
我们将秉持公正、中立、客观的原则,帮助当事人达成互利共赢的协议。
2. 促进沟通:在调解过程中,我们将充当双方当事人之间的桥梁和纽带。
我们会倾听双方的意见和诉求,并帮助他们理解对方的立场。
通过有效沟通,我们将协助当事人找到共同利益点,并引导他们寻求妥协和解决方案。
3. 提供法律咨询:作为专业人民调解员,我们具备扎实的法律知识和专业技能。
在调解过程中,我们将向当事人提供相关的法律咨询和指导,帮助他们了解自己的权益和义务。
我们将依法劝导当事人遵守法律法规,维护社会秩序。
4. 保护隐私:在调解过程中,我们将严格遵守保密原则,保护当事人的隐私权。
我们将确保调解过程的机密性,并不泄露任何与纠纷有关的信息。
这样可以为当事人提供一个安全、放心的环境,使他们能够更加坦诚地表达自己的意见和需求。
5. 持续学习:作为专业人民调解员,我们将不断学习和提升自己的专业知识和技能。
我们会参加相关培训和研讨会,了解最新的法律政策和调解理论。
通过不断学习,我们将更好地适应社会发展变化,并为当事人提供更加优质、高效的服务。
总之,作为襄阳市襄州区综合中心行业专业人民调解员,我们将以高度的责任感和使命感履行我们的工作职责。
我们将秉持公正、中立、客观的原则,通过调解纠纷、促进沟通、提供法律咨询和保护隐私等方式,为当事人提供专业、公正的调解服务,为社会和谐稳定做出积极贡献。
襄阳市社会矛盾大调解系统事项分类表共分11个大项、个小项。
具体情况如下:一、社会治安1、涉嫌从事色情活动(主办单位:县市区公安局,办理时间5小时)2、涉嫌非法制造、买卖、收藏、运输管制刀具、枪支弹药(主办单位:县市区公安局,办理时间5小时)3、涉嫌聚众赌博(主办单位:县市区公安局,办理时间5小时)4、涉嫌制毒、吸毒、运毒、藏毒、贩毒(主办单位:县市区公安局,办理时间5小时)5、涉嫌非法宗教活动(主办单位:县市区民宗局;协办单位:县市区公安局;办理时间1天)6、疑为传销场所(主办单位:县市区工商局;协办单位:县市区公安局;办理时间6小时)7、黑恶势力活动突出(主办单位:县市区公安局;时间1天)8、盗窃等刑事案件突出(主办单位:县市区公安局;时间3天)9、收赃销赃废品收购站(主办单位:县市区公安局;时间1天)10、涉嫌非法交易的“黑市场”(主办单位:县市区公安局;协办单位:县市区工商局;时间1天)11、暴力抗法(主办单位:县市区公安局;时间6小时)12、居住人员昼伏夜出、形迹可疑、寻衅滋事、聚众斗殴、欺行霸市、敲诈勒索、收受保护费(主办单位:县市区公安局;时间6小时)13、存放屠杀国家保护动物(主办单位:县市区林业局;时间1天)14、屋内有大件物品搬入搬出,疑似盗窃物品(主办单位:县市区公安局;时间1天)15、流动人员和出租屋管理问题(主办单位:县市区公安局;时间1天)二、市场监管1、怀疑贩假售假行为(主办单位:县市区公安局;时间3天)2、加工假冒名牌产品(主办单位:县市区公安局;时间3天)3、超范围经营(主办单位:县市区公安局;时间3天)4、工商营业执照和法人不符(主办单位:县市区公安局;时间3天)5、涉嫌生产、加工、储存假冒伪劣产品(主办单位:县市区公安局;时间3天)6、涉嫌复制、销售、出租、储存盗版假冒伪劣产品(主办单位:县市区文旅新局;时间3天)7、非法经营艺术品(主办单位:县市区文旅新局;时间3天)8、非法开展文化艺术培训(主办单位:县市区文旅新局;时间3天)9、持证歌舞娱乐场所违规经营(承办单位:县市区文旅新局;协办单位:公安局;时间3天)10、无证黑网吧(主办单位:县市区工商局,协办单位:县市区公安局;市区主办:市工商局;时间3天)11、有证网吧接纳未成年人等违规行为(主办单位:县市区文旅新局;市区主办单位:市文旅新局;时间3天)12、无证饮食店(主办单位:县市区工商局;协办单位:县市区食药监局;时间3天)13、涉嫌经营假冒伪劣药品、医疗器材、保健食品(主办单位:县市区食药监局;市区主办单位:市食药监局;时间3天)14、违法销售成瘾性处方药(含止咳水)(主办单位:县市区卫生局;时间3天)15、为传销行为提供经营场所、培训场所、货源、保管、仓储等条件(主办单位:县市区工商局;协办单位:县市区公安局;时间3天)16、出租屋业主知道或者应当知道属于假冒伪劣药品而为其提供保管、仓储等便利条件(主办单位:县市区食药监局;市区主办单位:市食药监局;协办单位:县市区公安局;时间3天)17、旅馆、美容院、发廊、卡拉ok等未取得公共场所《卫生许可证》擅自营业(主办单位:县市区卫生局;时间3天)18、无证中介、婚介(主办单位:县市区工商局;时间3天)19、已领取工商营业执照,应领取《工业产品生产许可证》而没领取(主办单位:县市区质监局;时间3天)20、擅自在出租屋内生产加工产品(主办单位:县市区工商局;时间3天)21、未按规定取得许可证而擅自从事生产、经营、储存危险化学品(主办单位:县市区安监局;协办单位:县市区公安局;时间3天)20、无证经营歌舞娱乐场所(主办单位:县市区工商局;协办单位:县市区文旅新局;时间3天)22、无证经营游戏机(不包括赌博机)(主办单位:县市区工商局;协办单位:县市区文旅新局;时间3天)23、无证无照加工厂(主办单位:县市区工商局;时间3天)24、非法食品加工厂(主办单位:县市区食药监局;办协单位:县市区质监局;时间3天)25、无证无照小门店(主办单位:县市区工商局;时间3天)26、无证废品站、煤气站(主办单位:县市区工商局;协办单位:县市区公安局;时间3天)27、无证机动车洗车场(主办单位:县市区工商局;时间3天)28、非法设立集贸市场、商场、超市(主办单位:县市区工商局;时间3天)29、私设屠宰场非法屠宰畜禽(主办单位:县市区农委农业局)30、非法生产、销售、储存烟花爆竹(主办单位:县市区安监局;时间3天)31、未经批准的营业性演出(主办单位:县市区文旅新局;时间3天)32、无证诊所、药店(主办单位:县市区卫生局;时间3天)33、有证药店非法行医(主办单位:县市区卫生局;时间3天)34、非法职介(主办单位:县市区工商局;时间3天)三、交通运输1、非法营运(主办单位:县市和襄州区交通局,市区主办单位:市交通局;时间3天)2、出租车拒载、绕圈、不打表(主办单位:县市和襄州区交通局,市区主办单位:市交通局;时间3天)3、拥堵点(主办单位:县市和襄州区公安局;市区主办单位:市公安局交警支队;时间3天)4、交通设施损毁(主办单位:县市和襄州区公安局;市区主办单位:市公安局交警支队;时间3天)5、违法运输危险品(主办单位:县市区公安局)6、无牌无证、假牌假证、套牌报废车辆(主办单位:县市和襄州区公安局;市区主办单位:市公安局交警支队;时间3天)7、无证无照机动车维修店(主办单位:县市区工商局;时间3天)四、城市管理1、“城市六乱”(乱吐、乱堆放、乱摆卖、乱拉挂、乱张贴、乱停车)。
(主办单位:县市区城管局;时间3天)2、乱倾倒渣土垃圾(主办单位:县市区城管局;时间3天)3、市政公园、道路、桥梁、绿地、照明设施损坏(主办单位:县市区城管局;时间3天)12、环卫设施损坏(主办单位:县市区城管局;时间3天)13、垃圾填埋场安全(主办单位:县市区城管局;时间3天)14、存在安全隐患的户外广告(主办单位:县市区城管局;时间3天)15、违法建筑(含乱搭建)、违法用地(主办单位:县市区城管局;协办单位:县市区国土局;时间3天)16、在马路乱摆卖、乞讨(主办单位:县市区城管局;时间3天)四、消防安全1、安全出口上锁(主办单位:县市区公安局;时间3天)2、遮挡堵塞疏散通道(主办单位:县市区公安局;时间3天)3、门店未按要求配备灭火器材(主办单位:县市区公安局;时间3天)4、出租屋内用火用电不安全(主办单位:县市区公安局)5、违规生产、销售、存储易燃易爆及危险物品(主办单位:县市区安监局;协办单位:县市区公安局;时间3天)6、灶头、煤气瓶与住人在同一间房(主办单位:县市区公安局;时间3天)7、危险化学品使用、管理不规范(主办单位:县市区安监局;时间3天)8、用电不安全(主办单位:县市区公安局;时间3天)9、作业场所环境存在不安全因素(主办单位:县市区安监局;时间3天)10、作业场所危险部位无安全防护、无警示标志(主办单位:县市区安监局;时间3天)11、特种设备未取得检测合格证(主办单位:县市区质监局;时间3天)12、企业安全管理不规范(主办单位:县市区安监局;时间3天)13、废品站缺少消防安全通道及灭火器(主办单位:县市区公安局;时间3天)14、工地存在安全隐患(主办单位:县市区安监局;时间3天)15、设计用途为住房的出租屋存放大量货物(主办单位:县市区公安局;时间3天)五、环保生态1、噪音污染(主办单位:县市区环保局;协办单位:县市区城管局;时间3天)2、废水直排(主办单位:县市区环保局;时间3天)3、油类污染(主办单位:县市区环保局;协办单位:县市区城管局;时间3天)4、冒黑烟(主办单位:县市区环保局;时间3天)5、倾倒危险废弃物(主办单位:县市区环保局;时间3天)6、饮用水源区污染源(主办单位:县市区环保局;时间3天)7、市政设施、环卫设施不整洁(主办单位:县市区城管局;时间5天)8、路面有污浊物(主办单位:县市区城管局;时间5天)9、河沟污染(主办单位:县市区环保局;时间5天)10、利用出租屋从事无牌无证、物污染防治措施的电镀、线路板生产企业(主办单位:县市区环保局;时间5天)11、非法收集、储存、利用、处置危险废物污染环境、影响环境安全(主办单位:县市区环保局;时间5天)六、建设水务1、河道水库边坡危险因素(主办单位:县市区水利局;时间5天)2、居民区附近未采取防护措施低洼水塘(主办单位:县市区水利局;时间5天)3、废弃水井(主办单位:县市区水利局;时间5天)4、危房(主办单位:县市区房管局:协办单位:县市区建委;时间5天)5、危墙(主办单位:县市区房管局:协办单位:县市区建委;时间5天)6、危险水塘、水库(主办单位:县市区水利局;时间5天)7、危险河堤周围建筑(主办单位:县市区水利局;时间5天)8、建筑质量安全(主办单位:县市区建委;时间5天)9、建筑工地隐患(主办单位:县市区建委;时间5天)七、计划生育1、疑似有不明孕妇居住(主办单位:县市区计生委;时间3天)2、未办理《流动人口婚育证明》或《湖北省计划生育服务证》(主办单位:县市区计生委;时间5天)3、多个小孩疑似超生(主办单位:县市区计生委;时间5天)4、新住户、有育龄妇女同住(主办单位:县市区计生委;时间5天)5、计生证件未年审(主办单位:县市区计生委;时间5天)八、教育校园1、校园周边交通设施问题(主办单位:县市和襄州区公安局;市区主办单位:市公安局交警支队;协办单位:县市区城管局;时间5天)2、校园周边治安问题(主办单位:县市区公安局;时间5天)3、职业技能培训(主办单位:县市区人社局;时间5天)4、无证午托班(主办单位:县市区教育局;时间5天)5、校园内安全隐患(主办单位:县市区教育局;市直学校问题的主办单位:市教育局;协办单位:县市区公安局;时间5天)6、校园外小商小贩(主办单位:县市区工商局;时间5天)7、非法培训补习班(主办单位:县市区教育局;时间5天)8、校园周边交通拥堵(主办单位:县市和襄州区公安局;市区主办单位:市公安局交警支队;时间3天)十、民政救助1、弃婴(主办单位:县市区民政局;时间3天)2、受灾人员援助(主办单位:县市区民政局;时间5天)3、老年证问题(主办单位:县市区民政局;时间5天)4、贫困援助(主办单位:县市区民政局;时间7天)5、流浪乞讨(主办单位:县市区民政局;时间3天)6、养老救助(主办单位:县市区民政局;时间5天)7、低保(主办单位:县市区民政局;时间5天)8、困难群体(主办单位:县市区民政局;时间5天)9、贫困救助(主办单位:县市区民政局;时间5天)10、子女学费援助(主办单位:县市区民政局;时间5天)十一、矛盾纠纷1、企业军转干部(主办单位:县市区经信委;市属以上企业的主办单位:市经信委;时间10天)2、退伍伤残军人(主办单位:县市区民政局;时间10天)3、企业改制(主办单位:县市区国企办、国资委;市属以上企业的主办单位:市国企办、国资委;协办单位:县市区经信委;时间10天)5、民族宗教(主办单位:县市区民宗局;时间10天)6、涉法涉诉(主办单位:市、县市区法院;协办单位:市、县市区公安局、检察院;时间10天)7、集资融资(主办单位:市银监局;时间10天)8、学校教师及原民办教师(主办单位:县市区教育局;市属以上学校的主办单位:市教育局;时间10天)9、移民安置(主办单位:县市区民政局;时间10天)10、小区物业管理(主办单位:县市区房管局;时间10天)11、劳动人事争议(主办单位:县市区人社局;时间10天)12、邻里纠纷(主办单位:各社区;10天)。