手袋部制作流程图
- 格式:xlsx
- 大小:14.82 KB
- 文档页数:2
手提袋制作平压平模切版——变形裂变手提袋模切压痕工艺是利用钢刀、钢线等排成的模版,在压力的作用下,将印刷品轧切成型的工艺。
其加工效果是印刷品表面既有变形(压痕),又有裂变(模切)。
手提袋模切版的制作,俗称排刀,是指将钢刀、钢线、衬空材料等按照规定的要求,拼组成模切版的工艺操作过程。
模切版制作的一般过程如下:绘制模切版轮廓图→切割底版→钢刀钢线裁切成型→组合拼版→开连接点→粘贴海绵胶条→试切垫版→制作压痕底摸→试模切、签样一、绘制模切版轮廓图首先应根据要求设计模切版版面,版面设计的任务包括:(1)确定版面的大小,应与所选用设备的规格和工作能力相匹配;(2)确定模切版的种类;(3)选择模切版所用材料及规格。
设计好的版面应满足以下要求,即模切版的格位应与印刷格位相符;工作部分应居于模切版的中央位置;线条、图形的移植要保证产品所要求的精度;版面刀线要对直,纵横刀线互成直角并与模切版侧边平行;断刀、断线要对齐等。
模切版轮廓图是整版产品的展开图,是模切版制作的第一个关键环节。
如果印刷采用的是整页拼版系统,可以在印刷制版工序直接输出模切版轮廓图,可以有效保证印刷版和模切版的统一。
如果印刷采用的是手工软片拼版,就需要根据印样排版的实际尺寸绘制模切版轮廓图。
在绘制过程中,为了保证在制版过程中模切版不散版,要在大面积封闭图形部分留出若干处"过桥",过桥宽度对于小块版可设计成3~6毫米,对于大块版可留出8~9毫米。
为使模切版的钢刀、钢线具有较好的模切适性,产品设计和版面绘图时应注意以下问题:二、切割模版(开槽)模切版常用的衬空材料(底版)有金属衬空材料和非金属材空材料;其中多层胶合板使用最多,胶合板的厚度一般为18~20毫米。
底版(衬空材料)的切割主要有锯床切割、激光切割等方式。
锯床切割是目前中小企业自行加工模切版的主要方法,锯床的工作是利用特制锯条的上下往返运动,在底版上加工出可装钢刀和钢线的窄槽,锯条的厚度等于相应位置钢刀和钢线的厚度。
手袋厂生产流程1 目的为强化生产过程管理,规影响生产进度和过程质量各个因素的控制,使生产在受控状态下进行,提高生产效率,提升产品质量。
2 适用围适用于客户意向锁定后,从订单评审签订开始到成品入库/交付为止整个生产过程控制。
3 职责a) 业务部:订单产品报价成本分析,提供材料(定额)清单,样品制作和确认,签发生产通知单,协调产品发货,销售款项催收结算。
b) 生产部:参与订单评审,审核业务部提交的生产通知单、材料定额,审定工序(工步)流程和工时定额,下达采购指令、生产指令,协调督导采购、车间、设备、检验包装和仓库落实职能工作,按期保质保量完成生产任务。
c) 采购科:根据材料定额和生产部下达的采购指令组织原辅材料的采购,保证质量,按期入库,确保生产用料。
d) 品管科:根据程序执行进料检验、成品检验和出货检验,确保出货产品的品质。
e) 车间:执行生产部下达的周生产进度计划,分解工序,调配生产要素(人员、材料、机台等),组织均衡生产,督导落实制作工艺流程,按期完成生产任务。
f) 仓管组:物料的进库、保管和发放及资材帐务、票证管理。
g) 其他:办公室、财务部按照职能开展工作。
4 业务洽谈和销售合同4.1 业务部销售人员应通过原有的市场网络和电脑网络,多渠道搜集客户需求信息,主动联系,扩大业务触角,争取更多的目标客户。
4.2 客户联络应建立完整记录,对总经理室锁定的目标客户,应保持跟踪联络,及时通报洽谈的进展情况,必要时,应提报总经理室介入洽谈,形成合同意向。
4.3 业务部与客户洽谈合同,应对合同要素(如款式、单价、交货期限、付款办法及质量要等进行认真评审,财务部、生产部应配合成本分析,提供决策依据。
4.4 销售合同应按规定格式拟制,报经总经理室签发。
4.5 合同意向达成(或签订合同)后,业务部应向技术科下达样品制作,并交付客户确认。
确认的主要容包括包袋的结构样式,布料质地和颜色,装饰件及辅料,外观视觉效果及验收标准。
手袋生产工艺流程
手袋生产工艺流程大致可以分为设计、裁剪、缝制、包装四个阶段。
下面我将为您详细介绍每个阶段的工艺流程。
第一阶段:设计
手袋的生产首先需要进行设计,设计师根据市场需求和时尚潮流进行设计,并确定手袋的款式、尺寸、材料、颜色等。
设计师将手袋的设计图纸交给样板师进行制作样品。
第二阶段:裁剪
在裁剪阶段,根据设计图纸和手袋的样品,工人将所需要的材料按照尺寸进行裁剪。
常用的手袋材料有皮革、布料和合成纤维等,工人需要按照设计要求选择合适的材料。
第三阶段:缝制
在缝制阶段,裁剪好的材料将会被送到缝纫车间。
工人将材料用缝纫机进行缝制,制作出手袋的基本形状。
在缝制的过程中,需要注意对工艺细节的处理,如线迹的平整、线迹的均匀等。
第四阶段:包装
手袋缝制完成后,需要进行包装。
包装是保护手袋的重要环节,也是产品最后一个环节。
手袋将会被放入塑料袋中,再塞入纸箱,防止受潮、刮损等。
在包装的过程中,还需要贴上产品标签和质量检测标签。
手袋生产工艺流程可以根据产品的不同而有所差异,以上只是一个基本的流程示意。
在实际生产中,还会涉及到品质把控、
检验、质量控制等环节,以确保生产出的手袋符合标准和客户的要求。
另外,由于手袋的种类繁多,工艺流程也会有所不同,一些高级手袋可能会涉及到更多的工艺环节,如手工绣花、刺绣、珠片镶嵌等。
总之,手袋的生产工艺需要经过多个环节的精心制作,以保证手袋的质量和外观。
手袋厂的生产工艺流程手袋厂的生产工艺流程主要包括设计开发、材料采购、裁剪缝制、组装加工、质量检验和包装出货等步骤。
首先,设计开发是手袋生产的首要步骤。
设计师根据市场需求和潮流趋势,创意出一款款具有吸引力和实用性的手袋样板。
设计师通常会使用电脑辅助设计(CAD)和手绘技术来完成设计图纸和样板。
其次,材料采购是手袋生产的重要环节。
手袋的材质通常包括面料、饰品、拉链、五金配件等。
采购部门负责与供应商联系,确保所采购材料的质量和数量符合要求。
同时,还需要考虑成本和交货时间等因素。
然后,裁剪缝制是手袋生产中的核心环节。
根据设计图纸,裁剪工人将面料按照尺寸和形状进行裁剪。
然后,缝纫工人将各个面料进行缝制和拼接,形成手袋的外观。
这个过程需要精确的尺寸控制和高超的缝纫技术。
接下来,组装加工是手袋生产的重要步骤。
组装工人将缝制好的袋面与内胆、提手、拉链等配件进行组合,完成手袋的基本结构。
这个过程中,需要仔细检查各个组件的质量和尺寸,确保组装的精度和稳定性。
随后,质量检验是手袋生产过程中不可或缺的环节。
质量检验员会对每一批次的手袋进行全面的检查,包括外观、尺寸、结构、拉链拉力等方面。
任何出现的问题都会及时追溯原因,并采取相应的措施进行修复或返工。
最后,包装出货是手袋生产的最后一步。
手袋会根据要求进行个体包装,然后装箱出货。
包装工人会仔细检查每一个包装的手袋,确保外观无瑕疵,并进行标签贴附和箱贴打印等工作。
同时,还需要记录和整理出货清单,确保订单准确无误地发货。
综上所述,手袋厂的生产工艺流程包括设计开发、材料采购、裁剪缝制、组装加工、质量检验和包装出货等步骤。
每一步骤都需要精确的操作和严格的质量控制,以确保生产出高质量的手袋产品。
折边了。
五.包棉芯⼿挽的各种尺⼨1.包车6mm棉芯⼿挽需要1⼨1分宽(这是⼿挽料托杂胶或其它托称后的厚度在1.0-1.3mm内的规格,如果是在1.3-1.8左右的为1⼨两分宽)2.包车7mm棉芯⼿挽需要1⼨2分宽(这是⼿挽料托杂胶或其它托称后的厚度在1.0-1.3mm内的规格,如果是在1.3-1.8左右的为1⼨三分宽)3.包车8mm棉芯⼿挽需要1⼨3分宽(这是⼿挽料托杂胶或其它托称后的厚度在1.0-1.3mm内的规格,如果是在1.3-1.8左右的为1⼨半宽)4.包车9mm棉芯⼿挽需要1⼨半(这是⼿挽料托杂胶或其它托称后的厚度在1.0-1.3mm内的规格,如果是在1.3-1.8左右的为1⼨5分宽)5.包车10mm棉芯⼿芯需要1⼨5分宽(这是⼿挽料托杂胶或其它托称后的厚度在1.0-1.3mm内的规格,如果是在1.3-1.8左右的为1⼨6分宽)(这位置这⾥眼看得花啦花啦了吧?哈哈哈哈)六.洗⽔袋的收缩问题我第⼀次做洗⽔袋时就没注意这样的问题,第⼀个款以为是偶然,第⼆个款还是照样,结果被⽼板⼀顿好说......... 做洗⽔袋,直纹的那边洗完⽔后会收缩的,⼀般⼀只包外⾝都会缩⼩2分⾄半⼨(这由洗⽔的⼒度⽽定,我⼀般在直纹⽅向放2分就⾜够了,但是要在前后幅纸格上⾯注明纹路,),如果你做的客户对尺⼨的要求很⾼的话,请加上缩⽔量,反之,嘿嘿,不⽤我说,你明⽩的对吧?七.钉的位置可以最后才订我们在制作纸格时,经常会碰到钉啊鸡眼及其它五⾦类的定位,对于很有经验的师傅来说,这可能是⼿到擒来,但是对于新⼿师傅来说,这些东西可能是似是⽽⾮,朦朦胧胧,⼀针定下去,以为这位置就是在这⾥,结果差了那么⼀两分位,可就是这么⼀点点,却可以影响到整个袋⼦的效果,所以我经常告诫我所认识的新⼿师傅们,这些位置如果可以最后再定,你就可以等到那个局部出来后你再去定正确位,但是你要提前跟制作的⼈讲明,你还要去跟踪这件事。
这样没有⼈会笑你不⾏,我们讲究的是最后的结果,对吗?还有很多,只是我没有那么多时间来写,哪位⼤侠⼤师有时间再来加点?。
手提袋一体成型工艺流程下载温馨提示:该文档是我店铺精心编制而成,希望大家下载以后,能够帮助大家解决实际的问题。
文档下载后可定制随意修改,请根据实际需要进行相应的调整和使用,谢谢!并且,本店铺为大家提供各种各样类型的实用资料,如教育随笔、日记赏析、句子摘抄、古诗大全、经典美文、话题作文、工作总结、词语解析、文案摘录、其他资料等等,如想了解不同资料格式和写法,敬请关注!Download tips: This document is carefully compiled by theeditor. I hope that after you download them,they can help yousolve practical problems. The document can be customized andmodified after downloading,please adjust and use it according toactual needs, thank you!In addition, our shop provides you with various types ofpractical materials,such as educational essays, diaryappreciation,sentence excerpts,ancient poems,classic articles,topic composition,work summary,word parsing,copy excerpts,other materials and so on,want to know different data formats andwriting methods,please pay attention!手提袋一体成型工艺流程手提袋是我们日常生活中经常使用的一种包装方式,而手提袋一体成型工艺则是手提袋生产过程中的一种重要工艺。
手袋生产工艺流程1. 设计与样品制作手袋的生产过程始于设计阶段。
设计师会根据市场需求和最新时尚趋势,绘制手袋的初始设计草图。
设计师与生产团队合作,选择合适的材料,并制作手袋的样品。
2. 材料准备与裁剪在进入生产阶段之前,制造手袋所需的材料需要提前准备。
根据设计要求,材料可以包括皮革、织物、金属配件等。
接下来,裁剪师傅使用基于设计尺寸的模板,将材料按照需要的形状和尺寸进行裁剪。
这一步骤非常重要,因为一个精确的裁剪过程可以确保手袋最终的外观和尺寸。
3. 缝制与组装在裁剪完成后,裁剪好的材料会交给裁缝团队。
裁缝会根据设计草图,将各个部分缝合在一起。
他们会使用缝纫机、针线和其他工具,确保每一个细节都精确无误。
裁缝还会在适当的位置添加拉链、扣子和其他金属配件,以增加手袋的实用性和美观性。
4. 衬里加工与涂层如果设计中需要,手袋还会进行衬里加工和涂层处理。
衬里加工可以增加手袋的耐用性和舒适度。
涂层处理则可以为手袋提供防水、防污和防刮的特性,使其更加耐用和易于保养。
5. 检验与质检在手袋制作完成后,会进行一系列的检验和质量控制测试。
检验人员会检查手袋的各个部分,确保没有裂缝、断线或其他质量问题。
并且他们还会对手袋的外观、尺寸和功能进行全面检查。
6. 包装与发货通过质检后,手袋会进行包装。
包装可以根据需求使用纸盒、透明塑料袋或布袋等。
包装完成后,手袋被装入运输箱,并通过适当的物流方式进行发货。
7. 售后服务手袋生产过程不仅仅止于制造和发货,良好的售后服务也是重要的一环。
客户如果在使用过程中遇到问题或有其他需要,可以随时与制造商或销售商联系,获得售后支持和解决方案。
以上是手袋生产的基本工艺流程。
每个环节都需要精细的操作和严格的质量控制,以确保最终产品的品质和客户的满意度。
漂亮简单的购物袋图纸与制作过程分享,家里旧衣服再也不用
丢掉了
一直想要一个环保购物袋,样子要过得去,还必须考虑承重采用双层结构做的马甲式购物袋,结实肯定没问题了,
注意布是对折的,参考超市马甲袋剪裁好表布和里布。
表布和里布都缝合一边的提手(正面相对),再把表布和里布摊平,正面相对,缝合红色线,注意止点(中点向两侧各20-25cm)。
注意止点
翻到正面之前,记得凹角剪牙口。
将另一端没有连接的提手部分正面相对缝合,没有缝合的那一侧边正面相对,把另一侧缝好的那边包进去。
缝合侧边,止点位参考之前的步骤。
从这里翻出来。
翻过来缝好,有点样子了。
掀起一侧表布,翻到另一侧。
表布和表布相对,里布和里布相对
留返口,缝合两侧和底部。
从返口翻到正面,整理好熨烫一下。
提手也一样折进去一半。
折叠的提手也车线固定一下。
藏针缝合返口
环保、美观又耐用。
最后,附上样板一张,仅供参考,。
真皮手袋制造工艺流程下载温馨提示:该文档是我店铺精心编制而成,希望大家下载以后,能够帮助大家解决实际的问题。
文档下载后可定制随意修改,请根据实际需要进行相应的调整和使用,谢谢!并且,本店铺为大家提供各种各样类型的实用资料,如教育随笔、日记赏析、句子摘抄、古诗大全、经典美文、话题作文、工作总结、词语解析、文案摘录、其他资料等等,如想了解不同资料格式和写法,敬请关注!Download tips: This document is carefully compiled by theeditor.I hope that after you download them,they can help yousolve practical problems. The document can be customized andmodified after downloading,please adjust and use it according toactual needs, thank you!In addition, our shop provides you with various types ofpractical materials,such as educational essays, diaryappreciation,sentence excerpts,ancient poems,classic articles,topic composition,work summary,word parsing,copy excerpts,other materials and so on,want to know different data formats andwriting methods,please pay attention!揭秘真皮手袋的精致制造工艺流程真皮手袋,以其独特的质感、耐用性和时尚感,一直以来都是人们追求品质生活的象征。
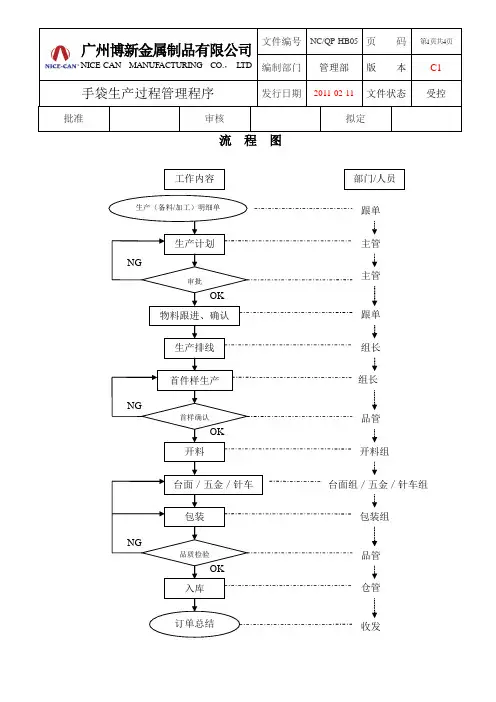
流 程 图为了加强生产管理,提升生产效率,提高产品质量;同时为了防止由于过程的波动影响产品质量和产品交货期,特制定本程序。
2 范围:本程序适用于本公司手袋产品的生产过程。
3 定义:无4 职责:4.1 手袋生产课:负责根据生管组编制的生产计划合理组织各生产组进行生产,监督跟进生产进度,协调处理生产过程中出现的各种问题,采取纠正和预防措施,降低生产不良率,提高生产效率。
4.2 手袋PMC:负责根据生产单编制整体生产计划及进度跟进与协调。
4.2.1PMC主管:负责编制生产计划及生产进度的整体跟进与协调;4.2.2生产跟单:负责根据生产单、包装要求及生产损耗标准编制生产(备料/加工)明细单、包装明细表;4.2.3仓储:负责根据领料单及生产(备料/加工)明细单核对数量后进行物料发放控制。
4.3 手袋品管课:负责生产过程的产品质量检验与质量控制。
5 程序:5.1 生产安排:5.1.1生产课根据生管组放发的的生产(备料/加工)明细单、包装明细表及生产计划,以及纸格、确认样板或参照样板等工作指导文件,组织组长、PMC、品管召开生产产前会,介绍产品的质量要求和可能存在的生产难点或容易出现质量问题的注意点,并要求生产组长严格按工作指导文件执行。
5.1.2生产课主管依据物料交期异动情况,及时知会各生产组长调配生产内部工作安排。
5.1.3如生产出现异常,产生停工工时,各主管应及时进行处理,并每月进行原因分析。
5.2 生产前准备及排线作业:5.2.1 生产主管将生产(备料/加工)明细单、生产计划、纸格、样版等各组所需相关资料发放给各生产组长,由各生产组长做好本组产前准备及排线工作。
5.2.2收发员依据生产计划及生产(备料/加工)明细单在生产前一日开立领料单至仓库领料生产。
5.3 首件样制作:5.3.1 生产各组排好线后,由各组组长进行大货首件样生产。
5.3.2 首样生产完成,由生产组长填写《首检记录表》交生产主管确认后转品管确认。
prod↙←↗→→→→→→→↓→↓←↓↓→↓←←←←←←→↓→↓↓↓↓←↓↓↓↓手袋厂的生产运作流程为:SAMPL EHOUSE 根据客户样板或图稿打样板>认结构样并下订单>采购部根据客人订单要求确认各物料供应商提供的物料打样色卡>业务部根据客人的要求编写发放生产制单给工厂各部门>采购部根据最新客资讯和物料打样色卡下大货订单给各物料供应商>物料到仓库后,仓库开检测通知书给来料检查部(IQC )>IQC检查合格入仓,不良品拒收或经QC经理和采购经理共同签名后特采,仓库根据大货物料色卡和最新生产制单发放物料给生产部>车间产前试办,检查大货刀模,与结构批办,客人评语,生产制单要求是否吻合,在递交QA 部确认>主持产前会议,对生产流程和手工要求提出建议和预防措施>裁床严格按大货物料色卡,生产制单,QA 部评语和确认样开料,女包更要留意手挽,盖头物料的纹路要求,有色差的物料严格配纹,配色,配套开裁。
裁片QC按公司内部要求全检,抽检裁片,合格裁片上车间>大货上线到女包油边部,胶水部,手工部,五金部,车缝部,进行首件确认,确认OK,大量生产>线上巡检(IPQC ),抽检,特别部件全检,督促车间各部门物料的摆放(6S)工作,不良品返工并采取改善措施>合格品流入下一工序,填写IPQC 检查报告>第一成品确认,确认OK >成品全检(FQC ,finshed product full checking),隔离不良品并返工或报废并填写全查结果统计分析,合格品转交包装部>第一包装成品确认,包装方式,颜色搭配,内唛及挂牌资料,胶袋外箱资料核对。
> OQC(outgoing quality control )按AQL标准抽检,不合格则退回生产部返工,填写OQC报表>合格品入成品仓。
品质保证部总结分析研讨提升此单的品质问题原因,以求类似产品避免再发生类似的问题,完善品质保障体系。
手袋的工艺流程下载温馨提示:该文档是我店铺精心编制而成,希望大家下载以后,能够帮助大家解决实际的问题。
文档下载后可定制随意修改,请根据实际需要进行相应的调整和使用,谢谢!并且,本店铺为大家提供各种各样类型的实用资料,如教育随笔、日记赏析、句子摘抄、古诗大全、经典美文、话题作文、工作总结、词语解析、文案摘录、其他资料等等,如想了解不同资料格式和写法,敬请关注!Download tips: This document is carefully compiled by theeditor. I hope that after you download them,they can help yousolve practical problems. The document can be customized andmodified after downloading,please adjust and use it according toactual needs, thank you!In addition, our shop provides you with various types ofpractical materials,such as educational essays, diaryappreciation,sentence excerpts,ancient poems,classic articles,topic composition,work summary,word parsing,copy excerpts,other materials and so on,want to know different data formats andwriting methods,please pay attention!制作手袋的工艺流程一、设计与选材阶段在手袋制作的第一步,需要进行设计和选材工作。
真皮手袋工艺流程下载温馨提示:该文档是我店铺精心编制而成,希望大家下载以后,能够帮助大家解决实际的问题。
文档下载后可定制随意修改,请根据实际需要进行相应的调整和使用,谢谢!并且,本店铺为大家提供各种各样类型的实用资料,如教育随笔、日记赏析、句子摘抄、古诗大全、经典美文、话题作文、工作总结、词语解析、文案摘录、其他资料等等,如想了解不同资料格式和写法,敬请关注!Download tips: This document is carefully compiled by theeditor. I hope that after you download them,they can help yousolve practical problems. The document can be customized andmodified after downloading,please adjust and use it according toactual needs, thank you!In addition, our shop provides you with various types ofpractical materials,such as educational essays, diaryappreciation,sentence excerpts,ancient poems,classic articles,topic composition,work summary,word parsing,copy excerpts,other materials and so on,want to know different data formats andwriting methods,please pay attention!真皮手袋工艺流程一、准备工作阶段在进行真皮手袋的制作之前,需要进行一系列准备工作。
手袋厂生产流程1 目的为强化生产过程管理,规范影响生产进度和过程质量各个因素的控制,使生产在受控状态下进行,提高生产效率,提升产品质量。
2 适用范围适用于客户意向锁定后,从订单评审签订开始到成品入库/交付为止整个生产过程控制。
3 职责a) 业务部:订单产品报价成本分析,提供材料(定额)清单,样品制作和确认,签发生产通知单,协调产品发货,销售款项催收结算。
b) 生产部:参与订单评审,审核业务部提交的生产通知单、材料定额,审定工序(工步)流程和工时定额,下达采购指令、生产指令,协调督导采购、车间、设备、检验包装和仓库落实职能工作,按期保质保量完成生产任务.c)采购科:根据材料定额和生产部下达的采购指令组织原辅材料的采购,保证质量,按期入库,确保生产用料.d) 品管科:根据程序执行进料检验、成品检验和出货检验,确保出货产品的品质.e) 车间:执行生产部下达的周生产进度计划,分解工序,调配生产要素(人员、材料、机台等),组织均衡生产,督导落实制作工艺流程,按期完成生产任务。
f)仓管组:物料的进库、保管和发放及资材帐务、票证管理.g) 其他:办公室、财务部按照职能开展工作。
4 业务洽谈和销售合同4.1 业务部销售人员应通过原有的市场网络和电脑网络,多渠道搜集客户需求信息,主动联系,扩大业务触角,争取更多的目标客户。
4.2 客户联络应建立完整记录,对总经理室锁定的目标客户,应保持跟踪联络,及时通报洽谈的进展情况,必要时,应提报总经理室介入洽谈,形成合同意向。
4.3 业务部与客户洽谈合同,应对合同要素(如款式、单价、交货期限、付款办法及质量要等进行认真评审,财务部、生产部应配合成本分析,提供决策依据.4。
4 销售合同应按规定格式拟制,报经总经理室签发。
4。
5 合同意向达成(或签订合同)后,业务部应向技术科下达样品制作,并交付客户确认。
确认的主要内容包括包袋的结构样式,布料质地和颜色,装饰件及辅料,外观视觉效果及验收标准。
手袋生产常用工艺详解1 反车指把两张物料面对面合起来边与边对齐,按要求的子口宽度把两张料车在一起。
2 反车压线反车后把两张料分开,在物料的正面缝合位的两边车线,一般距缝合位0.75分。
3 车边线一般是指在物料油边或折边之后,也有散口的。
在距边约0.75分处车线。
4 车双线一般是在前袋口或盖头或手挽等地方,主要起装饰作用,要求两条线要平行。
5 打角一般是指在袋底两头和前袋下角处反车。
也有袋口两头夹手挽打角的做法。
很多里袋也采用打角的做法。
台面打角是指盖头或手挽料托其他辅料后沿辅料边缘折边,做转角处称为打角。
6 襟线一般是指在面料车线,有时也车穿里布,多为装饰作用。
7 车链窗把穿好拉头的拉链和吊里车在开好窗的物料或里布上,有时候也可以让台面先用胶水粘好再车。
8 埋里袋把前后里反车起来,有时候还包括夹中格和打角。
根据需要有时需留口,以翻袋。
9 落骨也叫拉骨,将包好的边骨固定在前后幅或袋底或横头或袋顶上。
10 包边把物料的边缘用包边料包起来。
包边有外包边和内包边,除了普通的包边方式外,还有单回口,双回口和反包边等方式。
一般要用高车才能完成。
11 埋袋一般是指把前后幅和围,或把大身和横头以反车的方式缝合起来。
也有埋袋底,埋袋顶,多用高车和小嘴高车完成。
12 套袋口把外袋和里袋的袋口边缘对其,再将其车在一起。
有时候要求台面先用胶水或双面胶粘好再车。
一般用高车和小嘴高车。
13 包手挽也叫包棉芯。
用手挽料包好棉芯再合车。
一般用高车,也有用柱车的。
14 搭侧片也叫搭横头。
是指把大身放在侧片上以半明缝的方式车缝合。
一般用柱车才能完成。
15 搭袋底有一些比较特别的袋子,需要先做好袋口再做袋底,要在柱车才能完成。
16 折边在物料的边缘刷上胶水或拉上双面胶,然后内折,有时为了好折或物料太软通常会在折边位加托其他的辅料。
17 修边一般在包边之前,如果车假线子口太宽或物料有毛边时,用剪刀剪去一些,以便包边时包住假线。
18 过胶在一张料需要完全刷上胶水的时候,就用胶机过胶。