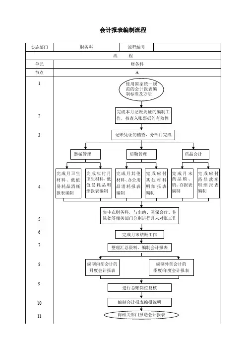
财务部会计报表编制流程
- 格式:ppt
- 大小:130.50 KB
- 文档页数:2
会计报表的编制与报送流程在现代商业运营中,会计报表的编制和报送是一项非常重要的工作。
会计报表是企业向内外部利益相关方提供财务信息的主要渠道,对于企业的经营决策和风险评估具有重要意义。
本文将介绍会计报表的编制和报送流程,以帮助读者更好地了解这一关键环节。
一、会计报表的编制流程1. 收集原始凭证:会计报表的编制是基于企业的经济业务数据,首先需要从各个部门或者业务单位收集原始凭证,包括采购、销售、收款、付款等。
2. 记账:将收集到的原始凭证通过会计科目分类,按照会计准则和规定进行会计分录的录入。
记账过程需要确保凭证的准确性和完整性。
3. 制作账务分类表和总账:根据记账情况,制作账务分类表和总账。
账务分类表反映了企业在一定时期内的会计科目发生额和余额情况,总账则将这些科目按照财务会计原则进行分类总结。
4. 编制试算平衡表:根据总账的数据,编制试算平衡表,检验记账是否准确无误。
试算平衡表的编制是核对会计账簿中借贷发生额的平衡情况。
5. 生成财务报表:根据试算平衡表的数据,生成各类财务报表,包括资产负债表、利润表、现金流量表等。
这些报表是反映企业在一定时期内财务状况和经营成果的重要工具。
二、会计报表的报送流程1. 审核:在会计报表编制完成后,需要进行内部审核,以确保财务信息的准确性和合规性。
内部审核可以由内部审计部门或者独立审计师进行,对会计报表中的数据和财务指标进行审查和核实。
2. 审计:内部审核完成后,有些企业还需要进行外部审计。
外部审计由独立的注册会计师事务所或者审计机关进行,对会计报表进行全面的审查和核实。
审计报告是外部审计的最终产出,用于向利益相关方提供关于财务信息真实性和合规性的陈述。
3. 报送:经过内部审核和外部审计后,会计报表将会被报送给相关利益相关方,如股东、监管机构、债权人等。
报送方式可以采用纸质报表或者电子报表,视具体情况而定。
总结:会计报表的编制和报送流程是一个复杂且关键的工作。
准确编制和及时报送会计报表能够为企业提供有效的财务信息,帮助经营决策和风险评估。
记账实操-财务报表编制流程编制财务报表,可按照以下步骤进行第一步:整理原始单据,根据原始单据做记账凭证原始单据是在经济业务发生或完成时取得或填制的,用以记录、证明经济业务已经发生或完成的原始凭证,是进行会计核算的原始资料。
首先会计人员应整理原始单据(包括外来原始单据、内部原始单据),编制对应的记账凭证。
第二步:根据记账凭证编制各类账本整理记账凭证相关数据,编制各类账本,主要有出纳账、现金日记账、银行存款日记账、进销存日记账、存货日记账、管理费用明细账、总分类账、固定资产明细账、应收单据明细账、无形资产明细账、十七栏明细账、实收资本明细账等账本。
第三步:编制科目汇总表对账本上科目的期末余额以及发生额进行核算,编制科目汇总表。
4、根据科目汇总表出具相关的财务报表:由于财务报表上的数据是根据科目之间的勾稽关系所核算的,因此编制好科目汇总表后,则可以根据相关科目计算并编制相关的财务报表。
财务报表是反映企业或预算单位一定时期资金、利润状况的会计报表。
财务报表包括资产负债表、损益表、现金流量表或财务状况变动表、附表和附注。
财务报表是财务报告的主要部分,不包括董事报告、管理分析及财务情况说明书等列入财务报告或年度报告的资料。
财务报表的分析方法有哪些?1.结构分析方法结构分析方法又称为垂直分析法、纵向分析法或者共同比分析法。
2.趋势分析法趋势分析法称为水平分析法或者横向分析法。
3.比较分析方法比较分析方法是通过比较不同的数据,发现规律性的东西并找出预备比较对象差别的一种分析法。
4.比率分析法比率分析法是会计报表内两个或两个以上项目之间关系的分析,它用相对数来表示,因而又称为财务比率。
财务报表包括哪些?完整的财务报表包括资产负债表、损益表、现金流量表或财务状况变动表、附表和附注。
财务报表是财务报告的主要部分,不包括董事报告、管理分析及财务情况说明书等列入财务报告或年度报告的资料。
财务报表是反映企业或预算单位一定时期资金、利润状况的会计报表。
财务报告编制流程简介说明财务报告是企业对其财务状况和经营成果的一份全面、真实反映。
编制准确、及时的财务报告对于企业的经营决策、投资者的决策以及监管机构的监管都具有重要意义。
本文将介绍财务报告的编制流程,以及其中的几个关键步骤。
一、收集会计数据财务报告的编制首先需要收集会计数据。
这些数据包括企业的资产、负债、所有者权益、收入、成本、费用等。
收集数据的方式主要是通过会计账务记录、凭证、银行对账单、发票、合同等相关凭证和文件。
二、分类和登记在收集到会计数据之后,需要对这些数据进行分类和登记。
主要是将会计数据按照其性质和科目分类,以便于后续的处理和分析。
通过会计科目的设置和账务的登记,将业务交易和经济事件的发生记录下来。
三、核算与汇总核算与汇总是财务报告编制的关键步骤之一。
在这个阶段,会计人员需要将各个账户的数据进行汇总,并进行核算。
核算包括借贷记账、余额调节、结转损益等。
通过这一步骤,可以得到包括资产负债表、利润表、现金流量表等财务报表中所需的各项数据。
四、财务报表的编制将核算和汇总的数据进行财务报表的编制。
财务报表主要包括资产负债表、利润表、现金流量表和股东权益变动表等。
编制财务报表的时候,需要遵循相关的会计准则和规定。
确保报表的准确性、可比性和完整性。
五、财务分析与报告编制财务报表之后,需要进行财务分析和报告。
财务分析是对财务报表中的数据进行解读和分析,以了解企业的财务状况和经营成果。
报告是对财务分析结果的总结和说明,以便于内部管理者和外部利益相关方进行决策和评估。
六、审计与披露最后一步是财务报告的审计与披露。
财务报告的审计是由独立的第三方机构对企业的财务报告进行审查和验证。
审计结果的公正和可靠性对于报告的披露和传递给利益相关方具有重要作用。
披露是指将财务报告通过适当的渠道向相关的利益相关方公开,确保信息的透明和公正。
在整个财务报告编制流程中,严格遵循相关的会计准则和规定、规范的数据收集、准确的核算和汇总以及财务分析和审计的结果的准确性和可靠性都起着至关重要的作用。
财务报表编制流程与规范财务报表是企业向外界提供财务信息的重要途径,是反映企业财务状况、经营成果和现金流量的重要工具。
为了确保财务报表的准确性和可靠性,需要遵循一定的编制流程和规范。
本文将介绍财务报表的编制流程和一些相关的规范。
一、财务报表编制流程财务报表的编制流程主要包括以下几个环节:1. 数据收集:首先,财务部门需要从企业各个部门收集相关的财务数据,包括资产、负债、所有者权益、收入、费用、成本等信息。
2. 数据处理:在数据收集完成后,需要进行数据处理工作,包括核对数据的准确性、计算一些衍生指标和比率,例如资产负债率、流动比率等。
3. 报表编制:在数据处理完成后,根据会计准则和相关法规要求,编制财务报表。
常见的财务报表包括资产负债表、利润表、现金流量表和所有者权益变动表。
4. 审核审计:编制完成后,需要对财务报表进行审核和审计。
内部审计部门或外部专业机构可以参与这一环节,确保财务报表的真实性和可靠性。
5. 报送发布:经过审核和审计后,财务报表可以向内外部相关方报送和发布,包括股东、投资者、银行、监管机构等。
报表发布后需要及时更新相关数据,以保持报表的时效性。
二、财务报表编制规范为了确保财务报表的准确性和可比性,需要遵守一些编制规范,包括以下几个方面:1. 会计准则遵循:财务报表的编制应基于相关的会计准则,例如国际财务报告准则(IFRS)或中国企业会计准则(CAS)。
遵循会计准则可以保证财务报表的一致性和可比性。
2. 公允价值计量:资产和负债应按照公允价值计量,即基于市场价格或者基于可观察数据进行估值。
这可以确保财务报表反映企业真实的财务状况。
3. 资料完整性:财务报表编制应基于完整的、真实的和准确的财务数据。
编制过程中,需要保证数据的完整性和准确性,确保所有财务信息都得到充分的体现。
4. 相关方披露:财务报表应当及时、准确地向内外部相关方披露重要的财务信息。
披露内容应包括企业的财务状况、经营成果、现金流量、重大风险和不确定性等。
财务报表编制流程
1. 确定报表编制周期
- 确定报表编制的时间周期,例如每月、每季度或每年。
2. 收集财务数据
- 收集相关财务数据,包括会计凭证、银行对账单、销售收入记录等。
3. 核对数据准确性
- 对收集到的财务数据进行核对,确保准确性和完整性。
4. 录入数据
- 将核对无误的财务数据录入到财务系统中,包括科目凭证录入、收入支出记录等。
5. 分析和调整
- 根据录入的财务数据进行财务分析,发现问题并进行相应的调整。
6. 编制报表
- 根据财务数据和相关财务指标,编制财务报表,包括资产负债表、利润表和现金流量表等。
7. 审核和审计
- 对编制好的财务报表进行审核和审计,确保报表的准确性和合规性。
8. 发布报表
- 将审核完毕的财务报表发布,供内部管理和外部利益相关方查阅。
9. 分析和解读
- 对发布的财务报表进行分析和解读,为管理层和利益相关方提供财务决策的依据。
10. 存档和备份
- 将编制好的财务报表存档,并定期进行备份,以便后续查询和审查。
以上是财务报表编制的一般流程,具体流程可能会根据不同的组织和行业有所差异,但核心步骤大致相同。
财务报表编制完整流程财务报表是企业向内外部用户提供的关于企业财务状况和经营成果的重要信息。
编制财务报表需要遵循一系列的流程,以确保报表的准确性和可靠性。
以下是财务报表编制的完整流程:1. 收集和整理会计数据:通过对企业的日常会计记录进行收集和整理,确保数据的完整性和准确性。
这包括从各个部门收集原始凭证,如、收据等,并将其分类归档。
2. 会计调整:对收集到的会计数据进行调整,以符合会计准则和规定。
常见的调整项目包括计提折旧、坏账准备、预付款、应收款等。
3. 编制资产负债表:根据收集到的会计数据,编制资产负债表。
资产负债表反映企业在特定时间点上的资产、负债和所有者权益情况。
4. 编制利润表:根据收集到的会计数据,编制利润表。
利润表反映企业在特定时期内的收入、成本和利润情况。
5. 编制现金流量表:根据收集到的会计数据,编制现金流量表。
现金流量表反映企业在特定时期内的现金流入和流出情况,包括经营活动、投资活动和筹资活动。
6. 编制股东权益变动表:根据收集到的会计数据,编制股东权益变动表。
股东权益变动表反映企业在特定时期内股东权益的变动情况,包括利润分配、新股发行、股份回购等。
7. 审核和校对:对编制好的财务报表进行内部审核和校对,确保报表的准确性和完整性。
8. 报送和披露:按照相关法律法规的要求,将编制好的财务报表报送给相关部门,并进行披露给外部用户,如股东、投资者、监管机构等。
9. 分析和解读:对编制好的财务报表进行分析和解读,以提供对企业财务状况和经营成果的深入理解,为企业决策提供依据。
财务报表编制流程的完整性和准确性对于企业的决策和监管非常重要。
只有在严格遵循这一流程的基础上,才能确保财务报表的可信度和可比性,为相关方提供有用的财务信息。
请注意,以上内容仅用于提供一般性的参考。
具体的财务报表编制流程可能会根据企业的规模和行业特点有所差异。
财务报表编制流程财务报表是企业财务状况和经营成果的重要反映,对于企业管理者、投资者、债权人等利益相关者来说,具有重要的决策参考价值。
那么,财务报表是如何编制出来的呢?下面,让我们详细了解一下财务报表的编制流程。
一、前期准备工作在编制财务报表之前,需要进行一系列的准备工作,以确保数据的准确性和完整性。
1、会计凭证的整理与审核首先,要对企业在一定时期内发生的经济业务所产生的会计凭证进行整理和审核。
确保每一笔业务都有合法、有效的凭证支持,并且凭证的内容准确无误,符合会计准则和企业内部的财务制度。
2、账目的核对与调整对各类账目进行核对,包括总账与明细账、明细账与记账凭证等之间的核对。
如果发现账账不符、账实不符等情况,要及时进行调整,确保账目的准确性。
3、清查资产和负债对企业的资产和负债进行清查,包括现金、银行存款、存货、固定资产、应收账款、应付账款等。
核实资产的数量、价值和状态,确认负债的金额和到期日。
4、确定会计政策和会计估计根据企业的实际情况和会计准则的要求,确定适用的会计政策和会计估计,如固定资产的折旧方法、存货的计价方法、坏账准备的计提比例等。
二、编制财务报表在完成前期准备工作后,就可以开始编制财务报表了。
1、资产负债表的编制资产负债表反映了企业在特定日期的财务状况,包括资产、负债和所有者权益三个部分。
(1)资产项目的填列按照流动资产和非流动资产的分类,分别将货币资金、应收账款、存货、固定资产等项目的余额填列到资产负债表中。
资产的金额通常根据相关账户的期末余额填列,有些资产项目需要经过计算或调整,如存货需要根据存货计价方法计算期末价值。
(2)负债项目的填列负债分为流动负债和非流动负债,将短期借款、应付账款、长期借款等项目的余额填列到负债栏中。
负债的金额也通常根据相关账户的期末余额填列。
(3)所有者权益项目的填列所有者权益包括实收资本、资本公积、盈余公积和未分配利润等项目。
其中,实收资本和资本公积一般根据相关账户的余额直接填列,盈余公积和未分配利润则需要根据利润分配的情况进行计算填列。
做财务报表的步骤和教程财务报表是公司或组织向外界提供财务信息的重要工具,它展示了公司的财务状况和业绩。
正确编制财务报表对于管理者和投资者来说都是至关重要的。
下面将介绍编制财务报表的步骤和相关教程。
一、财务报表的步骤1. 收集会计凭证:首先,需要收集和整理公司的会计凭证,包括收据、发票、银行对账单、付款凭证等。
这些凭证是编制财务报表的基础。
2. 分类和登记凭证:将收集到的凭证按照不同的科目进行分类,如资产、负债、所有者权益、收入和费用等。
然后,根据会计准则的规定,将凭证的金额登记到相应的账户中。
3. 编制试算表:在编制财务报表之前,可以先编制一张试算表,对账户的借贷方向和余额进行核对,确保凭证的登记准确无误。
4. 编制资产负债表:资产负债表反映了公司在特定日期的资产、负债和所有者权益的状况。
根据试算表的数据,按照固定的格式编制资产负债表。
5. 编制利润表:利润表反映了公司在一定期间内的收入、费用和净利润的情况。
根据试算表和其他相关信息,按照规定的格式编制利润表。
6. 编制现金流量表:现金流量表展示了公司在一定期间内的现金流入和流出情况。
可以通过对比期初和期末的现金余额,以及现金流入和流出的具体项目,编制现金流量表。
7. 编制股东权益变动表:股东权益变动表展示了公司在一定期间内的股东权益变动情况,包括股东投资、利润分配、资本公积等。
根据相关信息,编制股东权益变动表。
8. 审核和校对:在编制完成财务报表后,需要进行审核和校对,确保报表的准确性和一致性。
可以请专业的会计师或财务人员进行审核,发现错误或遗漏并进行修正。
9. 报送和公布:最后,将审核后的财务报表报送给相关部门或机构,如税务局、证券监管机构等。
同时,也可以公布财务报表给股东、投资者和其他利益相关方。
二、财务报表的教程1. 学习会计基础知识:了解会计的基本概念、原则和规则,学习会计凭证的分类和登记方法,掌握财务报表的基本要素和结构。
2. 熟悉会计软件:掌握使用专业的会计软件进行财务报表的编制和处理,熟悉软件的各种功能和操作方法。
财务报表编制流程(顺序)1. 收集财务信息- 收集公司的财务信息,包括资产、负债、收入、成本和费用等数据。
- 从各个部门和相关人员获取财务信息,如会计部门、财务经理等。
- 确保财务信息的准确性和完整性,避免遗漏或错误。
2. 分类和登记财务信息- 根据国际财务报告准则(IFRS)或相关会计准则的要求,将财务信息进行分类和登记。
- 将资产、负债、所有者权益、收入、成本和费用等进行适当的分类,以便日后的汇总和分析。
3. 核对和调整财务信息- 审查财务信息,确保其准确性和一致性。
- 如有必要,进行调整以反映实际发生的财务事项,如未计提的费用或已收到但尚未确认的收入等。
- 确保财务信息符合会计原则和法规的要求。
4. 编制财务报表- 根据财务信息和相关会计准则,编制财务报表,如资产负债表、利润表和现金流量表等。
- 确保财务报表的准确性和完整性,避免遗漏或错误。
- 可以使用电子表格软件或专业财务软件来辅助编制财务报表。
5. 审阅和审计财务报表- 对编制好的财务报表进行审阅和审计,确保其准确性和可靠性。
- 可由内部财务团队或外部注册会计师进行审阅和审计。
- 对财务报表中的重要事项进行专项审计,如重大交易、会计估计和财务风险等。
6. 报送财务报表- 根据法律、法规和公司的要求,将审阅和审计后的财务报表报送相关部门。
- 通常是向公司管理层、董事会、股东等报送财务报表。
- 确保财务报表的及时性和准确性,以满足用户的需求和期望。
7. 公布财务报表- 将报送的财务报表公布给公司的相关利益相关方,如投资者、债权人、分析师等。
- 通过定期披露和公开透明的方式,提供财务信息给利益相关方。
- 确保财务报表的可理解性和可比性,以便利益相关方做出决策。
以上是财务报表编制的顺序流程,按照这个流程进行操作可以确保财务报表的准确性和遵守相关会计准则的要求。
在每个步骤中,都需要谨慎严谨地处理财务信息,以便为公司和利益相关方提供可靠的财务报表。
生产与财务部门生产成本核算与财务报表编制流程在企业的日常运营中,生产与财务部门扮演着非常重要的角色。
生产部门负责产品的生产和成本核算,而财务部门负责编制财务报表。
生产成本核算与财务报表编制是两个密切相关的流程,下面将详细介绍这个流程以及各个环节的具体操作。
一、生产成本核算流程生产成本核算是指通过对原材料、人工成本、制造费用等各项费用进行明确计算,计算出产品的成本,以便于企业判断产品的盈亏情况和合理定价。
下面是生产成本核算的流程:1.1 原材料成本核算首先,生产部门需要对原材料进行出入库管理,并记录相关的采购和销售数据。
每当从供应商处购买原材料时,需要记录采购日期、数量、单价等信息。
而当产品出库时,则需要记录销售日期、数量、单价等信息。
通过对这些数据进行统计和分析,生产部门可以计算出原材料成本。
1.2 人工成本核算生产部门还需要对人工成本进行核算。
这包括直接人工成本和间接人工成本。
直接人工成本是指与产品直接相关的人工成本,例如工人的工资。
而间接人工成本是指与产品间接相关的人工成本,例如管理人员的工资。
生产部门需要记录并计算这些人工成本,以便于最终计算出产品的总人工成本。
1.3 制造费用核算除了原材料成本和人工成本,制造费用也是计算生产成本的一个重要因素。
制造费用包括生产设备的折旧、电费、维修费用等。
生产部门需要对这些制造费用进行核算,以便于计算出产品的总制造费用。
1.4 总成本核算最后,生产部门需要将原材料成本、人工成本和制造费用加总,计算出产品的总成本。
这个总成本是企业判断产品盈亏情况的重要指标,也是后续财务报表编制的基础。
二、财务报表编制流程财务报表编制是财务部门的主要职责之一。
财务报表是向内部管理人员和外部投资者提供公司财务状况和经营情况的重要工具。
下面是财务报表编制的流程:2.1 会计凭证的录入财务部门首先需要将会计凭证进行录入。
会计凭证是企业的财务交易记录,包括收入、支出、借款、还款等。
财务部工作流程财务部是一家企业最为重要的部门之一,主要负责公司财务管理、预算编制、会计核算、税务筹划等工作。
财务部的工作涉及到企业的财务状况、资产负债表、利润表、现金流量表等信息,直接关系到企业的发展和生产经营。
在此,本文将详述财务部的工作流程,以帮助读者更好了解财务部的工作内容,提高财务部的工作效率。
一、预算编制工作流程1、预算起草:通过了解公司的业务和发展战略,财务部初步确定年度预算,包括收入、成本、费用以及利润等指标。
2、预算审批:依据公司制定的管理制度和审批程序,财务部向公司管理层提出预算申请,经过审批后确定年度预算。
3、预算执行:财务部根据预算计划,组织预算执行,对部门预算执行情况进行监控与控制。
4、预算调整:根据公司业务变动情况,财务部进行适时的预算调整,确保企业发展的稳健性。
二、财务报表编制工作流程1、收集数据:财务部从各个部门收集有关财务信息,包括销售额、成本、费用、资产负债表等核算数据。
2、核算和确认:核算收集到的数据,确认各项数据的准确性、完整性。
3、编制报表:依据公司制定的财务报表规范,财务部对收集到的数据进行分类统计汇总,生成资产负债表、利润表、现金流量表等财务报表。
4、审核和审批:对生成的财务报表进行审核和审批,确保数据的真实性和完整性。
5、披露和分析:将财务报表公布给公司内部及外部,通过分析报表数据帮助管理层做出正确的业务决策。
三、预决算管理工作流程1、预决算起草:在预算编制过程结束后,财务部根据制定的预算和实际情况编制预决算表。
2、预决算执行:在每个月结束后,根据每个部门提交的实际数据,财务部核算和汇总数据,并与预算进行对比分析。
3、预决算调整:根据企业业务发展变化,财务部根据预算和实际情况进行适时的预决算调整。
四、费用控制工作流程1、费用审核:企业每个月结束后,财务部对各部门费用进行审核,确保费用符合企业规定。
2、费用统计:对审核通过的费用进行分类统计,确定费用归属部门。
财务报告编制管理制度范本[公司名称]一、编制目的为规范和规定公司财务报告编制的程序和规范,保证公司财务报告的真实性、准确性和完整性,提高财务信息的可比性和可靠性,建立健全公司内部财务管理制度,促进公司财务健康发展。
二、适用范围本制度适用于公司所有部门和项目,包括但不限于财务部门、项目部门等。
三、编制责任财务部门为负责公司财务报告的编制工作,并负责相关业务流程的监督和管理。
各部门主管负责部门财务信息的汇总和整理,并及时提供给财务部门。
四、报表编制流程1. 财务部门根据公司和相关法律法规要求,确定财务报告的编制流程和时限。
2. 各部门主管根据财务部门的要求,及时准确提供部门的财务信息给财务部门。
3. 财务部门根据部门提供的财务信息,进行财务报表的编制。
4. 财务部门对编制的财务报表进行质量检验,确保报表的准确性和完整性。
5. 财务报表审查流程,由财务部门对报表进行审查,并报告给公司高层。
6. 公司高层对财务报表进行审核,并进行决策和调整。
五、报表编制规范1. 财务报表编制要遵循相关会计准则和法规,确保报表的准确性和真实性。
2. 公司财务报表应按照会计周期准时编制,确保报表的及时性。
3. 财务报表应包含资产负债表、利润表、现金流量表和所有者权益变动表,确保报表的完整性。
4. 财务报表应具备可比性,相同项目应按照相同的会计政策进行计量和披露。
5. 财务报表应由公司高层对报表进行审核,确保报表的合规性和可靠性。
六、其他事项1. 公司应建立相关的内部控制机制,包括但不限于财务审计和内部审计等,确保财务报告的真实性和完整性。
2. 公司应建立完善的财务信息系统,提高财务报告的编制效率和质量。
3. 公司应建立健全的风险管理制度,及时发现和解决财务报告编制过程中的风险和问题。
本制度自颁布之日起执行,如有需要修改或补充,应征得公司高层同意并进行相应的备案。
[公司名称]日期:________签字:________财务报告编制管理制度范本(二)一、编制目的1.为了监督和管理企业的财务状况,及时提供准确、真实、全面的财务信息,提供决策依据。
财务报表的编制与报送流程在一个组织或企业中,财务报表起到了关键的作用,它们提供了对组织财务状况和业绩的全面了解。
财务报表的编制和报送流程是一个复杂的过程,需要遵循一定的准则和规范。
本文将重点讨论财务报表的编制和报送流程,并介绍其中的一些关键步骤。
一、财务报表编制的基本步骤1. 收集会计信息:财务报表的编制需要收集一定的会计信息,包括资产、负债、所有者权益、收入和费用等。
这些信息通常来源于组织的会计记录和相关凭证。
2. 会计处理:在收集到会计信息后,需要进行会计处理,包括分录、分类、计算、调整等。
这些处理确保了财务报表中的数据准确和可靠。
3. 编制财务报表:在会计处理完成后,需要按照财务报表的要求,编制资产负债表、利润表、现金流量表等报表。
这些报表展示了组织在一定时期内的财务状况和经营成果。
4. 审核和复核:编制完成的财务报表需要经过内部或外部的审计师进行审核,确保报表的真实性和可靠性。
在审核通过后,报表需要由负责人或财务负责人进行复核。
5. 报送财务报表:编制完成且经过审核复核的财务报表需要按照相关规定报送给相关部门、监管机构或股东。
报送的形式可以是纸质报表或电子报表。
二、财务报表报送流程财务报表报送的流程通常因组织的性质和规模而有所不同,下面是一个典型的报送流程示例:1. 内部审核:在报送之前,组织往往会进行内部审核,以确保财务报表的准确性和完整性。
内部审核可以由财务内部控制部门或独立的审计部门进行。
2. 报送给监管机构:一些组织需要将财务报表报送给所在国家或地区的监管机构,例如税务机关、证券监管机构等。
报送的形式可以是纸质报表或电子报表,具体的报送要求可以根据相关法规和规定进行。
3. 报送给股东:股东是组织的所有者,他们需要了解公司的财务状况和业绩。
因此,组织通常需要将财务报表报送给股东,例如股东大会或定期报告。
报送给股东的财务报表需要按照相关法规和规定进行披露。
4. 报送给其他利益相关方:除了监管机构和股东,组织还可能需要将财务报表报送给其他利益相关方,例如债权人、供应商、员工等。
财务报表编制流程及注意事项1.引言财务报表是企业财务状况的重要衡量指标,对投资者、股东、债权人等各方具有重要的决策意义。
编制财务报表需要遵循一定的流程,并注意一些重要的细节事项,以确保报表的准确性和可靠性。
2.财务报表编制流程下面是编制财务报表的一般流程:2.1 收集会计数据在编制财务报表之前,需要收集企业的会计数据,包括日记账、总账、资产负债表、损益表等。
这些数据应当经过审计和调整后再进行后续的报表编制工作。
2.2 确定报表类型根据企业的需求和要求,确定所需的财务报表类型,例如资产负债表、损益表和现金流量表等。
不同类型的报表有不同的编制要求和格式。
2.3 整理会计数据根据确定的报表类型,整理会计数据,包括计算和填写各项指标和数据。
需要注意的是,数据应当准确无误,并符合会计准则和报表要求。
2.4 审核校对完成数据的整理后,进行内部的审核和校对工作。
这包括核对数据的准确性、完整性和一致性,确保没有错误或遗漏。
2.5 编制报表根据整理完成的数据和审核校对的结果,按照财务报表的格式和规定,编制最终的报表。
报表需要清晰、简洁,并能反映真实的财务状况。
2.6 审计和复核编制完成后,进行审计和复核工作,以确保报表的可靠性和准确性。
审计机构或内部审计人员会对报表进行详细的审查和确认。
2.7 报送和公布经过审计和复核后,将报表进行报送给相关方,比如股东、监管机构等。
同时,根据法律和规定,将报表公布于合适的渠道,向社会公众提供财务信息。
3.注意事项在财务报表的编制过程中,需要注意以下几个重要事项:3.1 准确性编制财务报表时,数据的准确性是最基本的要求。
会计人员应确保所使用的数据有充分的依据,并且计算和填写无误。
3.2 完整性财务报表应当反映企业财务状况的全貌,包括所有重要的财务数据和指标。
会计人员应确保报表的完整性,不遗漏重要信息。
3.3 一致性报表应当在一致的原则下编制,即同一会计期间、同一会计政策下的数据应当一致。
财务报告编制制度范文【公司名称】财务报告编制制度一、目的和适用范围1.1 目的:为规范财务报告的编制工作,确保财务信息的准确、完整和及时性,提高财务报告的质量。
1.2 适用范围:适用于【公司名称】所有部门和岗位。
二、编制责任2.1 财务部门负责财务报告的编制工作,并向公司高层提供相关财务信息。
2.2 各部门根据业务情况提供相关资料和数据,配合财务部门完成财务报告的编制。
三、报告编制流程3.1 收集数据:财务部门将通过各部门提供的相关资料和数据,收集所需的财务信息。
3.2 整理数据:财务部门将收集到的数据进行整理和分类,确保数据的准确性和完整性。
3.3 分析数据:财务部门将对整理好的数据进行分析和核对,确保数据的合理性和可靠性。
3.4 编制报告:根据收集到的数据和分析结果,财务部门将编制财务报告,包括资产负债表、利润表和现金流量表等。
3.5 审核报告:财务部门将编制好的财务报告提交给审计部门进行审核,并根据审计结果对报告进行修正和完善。
3.6 定期报送:财务部门将审核完毕的财务报告报送给公司高层,并按照规定的时间表向相关部门和机构提交报告副本。
四、报告编制要求4.1 准确性:财务报告应准确反映公司的财务状况、经营成果和现金流量。
4.2 完整性:财务报告应包括完整的资产负债表、利润表和现金流量表,以及必要的附注和补充信息。
4.3 及时性:财务报告应在规定的时间内完成,并及时提交给公司高层和相关部门。
4.4 规范性:财务报告应按照法律法规和会计准则的要求进行编制,确保报告的合法合规。
五、报告编制监督5.1 内部监督:公司高层对财务报告的编制工作进行监督和检查,确保财务报告的质量。
5.2 外部监督:公司委托的审计机构对财务报告进行独立审计,确保财务报告的可靠性。
5.3 违规处理:对于故意提供虚假财务信息或违反编报规定的行为,将严肃处理,并追究相关责任人的法律责任。
六、附则6.1 本制度的解释权和修改权归公司财务部门所有。