草原征占用审批操作规范及行政审批流程图
- 格式:docx
- 大小:22.58 KB
- 文档页数:14
(一)行政审批项目流程图
林业植物检疫证书核发(林业部分)流程图
昆明市占用征收林地办理工作流程
(试行)
程 序 内 容
行政审批项目流程图
昆明市林业局征占用林地审核流程图
5个工作日
在中心办理部份反馈窗口在单位办理部份审批材料定期存档
建立固定狩猎场所审批行政审批流程图
昆明市林业局《野生动物经营许可证》办理流程图
材料不齐
出售、收购国家二级和本省珍贵树木、野生植物及其制品审批行
政审批流程图
出售、收购、利用国家和省级重点保护陆生野生动物及其产品审
核、审批行政审批流程图
采集林业部门管理的国家保护野生植物行政审批流程图
昆明市木材检查站(市林政稽查支队)查处林业行政违法
案件办案流程图
行政审批项目流程图
行政给付流程图(昆明市林业局分类办)
16 / 19
因城市建设、绿化和科研教学需要移植野生树木审批工作流程
(三)行政处罚流程图
林业简易程序流程图
(四)行政强制措施流程图。
五、草原征占用审批——临时占用草原的审核一、行政审批项目名称、性质:(一)名称:临时占用草原审核(二)性质:行政许可20022002日起施行的条件:(一)临时占用草原不改变草原性质,即草原的农用地属性不变,符合国家的产业政策,国家明令禁止的项目不得征占用草原;临时占用草原无需办理农用地转让手续;(二)临时占用草原不改变草原权属,即草原的所有权和使用权不变,临时占用草原的单位或个人须经县级以上草原行政主管部门审核同意。
并签定临时占用草原合同。
(三)临时占用草原只是临时改变草原用途,临时占用期落后,用地单位应及时归还并恢复草原原由用途。
还。
(五)与草原所有权者、使用者或承包经营者签订的草原补偿费等补偿协议。
以上材料按顺序装订成册,一式三份。
七、办结时限:(一)法定办结时限:20个工作日(二)承诺办结时限:11个工作日八、行政审批数量无数量限制九、行政审批收费《中华人民共和国行政许可法》第五十八条行政许可法规定,行政机关实施许可和对行政许可事项进行监督检查,不得收取任何费用。
但是,欢迎共阅草原征占用审批--在草原上修建直接为草原保护和畜牧业生产服务的工程设施使用草原一、行政审批项目名称、性质(一)名称:草原上修建直接为草原保护和畜牧业生产服务(二)牲畜圈舍、配种点、剪毛点、药浴池、人畜饮水设施;(三)科研、试验、示范基地;(四)草原防火和灌溉设施。
三、实施权限和主体根据《草原征占用审核审批管理办法》第八条:(一)使用草原超过七十公顷的,由农业部审核;(二)使用草原七十公顷及其以下的,由县级以上地方人民政府草原行政主管部门依据省、自治区、直辖市确定的审批权限审批。
四、行政审批条件用草原的审核项目的申请,相关工作也未能开展。
)五、实施对象和范围在草原上修建直接为草原保护和畜牧业生产服务的工程设施,需要使用草原的单位或个人六、申请材料(一)《草原征占用申请表》;(二)项目批准文件;(三)草原权属证明材料;(四)与草原所有权者、使用者或承包经营者签订的草原补偿费和安置补助费等补偿协议。
五、草原征占用审批——临时占用草原的审核一、行政审批项目名称、性质:(一)名称:临时占用草原审核(二)性质:行政许可二、设定依据:1985年6月18日第六届全国人民代表大会常务委员会第11次会议通过,2002年12月28日第九届全国人民代表大会常务委员会第31次会议修订,2002年12月28日中华人民国主席令第82号公布,2003年3月1日起施行的《中华人民国草原法》第四十条第一款规定,需要临时占用草原的,应当经县级以上地方人民政府草原行政主管部门审核同意。
三、实施权限和实施主体根据《中华人民国草原法》第四十条“需要临时占用草原的,应当经县级以上地方人民政府草原行政主管部门审核同意”的规定,县级草原行政主管部门负责临时占用草原的审核。
市辖区未设立草原行政主管部门的,由地级市草原行政主管部门核发。
四、行政审批条件根据《草原征占用审核审批管理办法》第九条草原征占用应当符合下列条件:(一)临时占用草原不改变草原性质,即草原的农用地属性不变,符合国家的产业政策,国家明令禁止的项目不得征占用草原;临时占用草原无需办理农用地转让手续;(二)临时占用草原不改变草原权属,即草原的所有权和使用权不变,临时占用草原的单位或个人须经县级以上草原行政主管部门审核同意。
并签定临时占用草原合同。
(三)临时占用草原只是临时改变草原用途,临时占用期落后,用地单位应及时归还并恢复草原原由用途。
(四)临时占用草原的期限上不得超过二年,并不得在临时占用草原上修建永久性建筑物、构筑物;占用期满,用地单位必须恢复草原植被,并及时退还。
(截止目前为止,贺州市尚未有因矿藏开采和工程建设征用、使用草原的审核项目的申请,相关工作也未能开展。
)五、实施对象和围因建设需要征用、使用草原、临时占用草原的单位或个人六、申请材料(一)《草原征占用申请表》;(二)草原权属证明材料;(三)有资质的设计单位做出的包含环境影响评价容的项目使用草原可行性报告;(四)草原植被恢复方案(五)与草原所有权者、使用者或承包经营者签订的草原补偿费等补偿协议。
草原征占用审核审批管理办法文章属性•【制定机关】农业部(已撤销)•【公布日期】2006.01.27•【文号】农业部令第58号•【施行日期】2006.03.01•【效力等级】部门规章•【时效性】失效•【主题分类】种植业正文农业部令(第58号)《草原征占用审核审批管理办法》已经2006年1月16日农业部第3次常务会议审议通过,现予公布,自2006年3月1日起施行。
部长:杜青林二00六年一月二十七日草原征占用审核审批管理办法第一条为了加强草原征占用的监督管理,规范草原征占用的审核审批,保护草原资源和环境,维护农牧民的合法权益,根据《中华人民共和国草原法》的规定,制定本办法。
第二条本办法适用于下列情形:(一)矿藏开采和工程建设等需要征用、使用草原的审核;(二)临时占用草原的审核;(三)在草原上修建直接为草原保护和畜牧业生产服务的工程设施使用草原的审批。
第三条县级以上人民政府草原行政主管部门负责草原征占用的审核审批工作。
县级以上人民政府草原行政主管部门的草原监督管理机构承担相关具体工作。
第四条草原是重要的战略资源。
国家保护草原资源,实行基本草原保护制度,严格控制草原转为其他用地。
第五条矿藏开采、工程建设和修建工程设施应当不占或少占草原。
除国家重点工程项目外,不得占用基本草原。
第六条矿藏开采和工程建设确需征用或使用草原的,依照下列规定的权限办理:(一)征用、使用草原超过七十公顷的,由农业部审核;(二)征用、使用草原七十公顷及其以下的,由省级人民政府草原行政主管部门审核。
第七条工程建设、勘查、旅游等确需临时占用草原的,由县级以上地方人民政府草原行政主管部门依据所在省、自治区、直辖市确定的权限分级审核。
临时占用草原的期限不得超过二年,并不得在临时占用的草原上修建永久性建筑物、构筑物;占用期满,使用草原的单位或个人应当恢复草原植被并及时退还。
第八条在草原上修建直接为草原保护和畜牧业生产服务的工程设施确需使用草原的,依照下列规定的权限办理:(一)使用草原超过七十公顷的,由农业部审批;(二)使用草原七十公顷及其以下的,由县级以上地方人民政府草原行政主管部门依据所在省、自治区、直辖市确定的审批权限审批。
草原征占用审核审批管理规范第一条为了加强草原征占用的监督管理,规范草原征占用的审核审批,保护草原资源和生态环境,维护农牧民的合法权益,根据《中华人民共和国草原法》的规定,制定本规范。
第二条本规范适用于下列情形:(一)矿藏开采和工程建设等需要征收、征用或者使用草原的审核;(二)临时占用草原的审批;(三)在草原上修建为草原保护和畜牧业生产服务的工程设施使用草原的审批。
第三条县级以上林业和草原主管部门负责草原征占用的审核审批工作。
第四条草原是重要的战略资源。
国家保护草原资源,实行基本草原保护制度,严格控制草原转为其他用地。
第五条矿藏开采、工程建设和修建工程设施应当不占或者少占草原。
严格执行生态保护红线管理有关规定,原则上不得占用生态保护红线内的草原。
除国务院批准同意的建设项目,国务院有关部门、省级人民政府及其有关部门批准同意的基础设施、公共事业、民生建设项目和国防、外交建设项目外,不得占用基本草原。
第六条矿藏开采和工程建设确需征收、征用或者使用草原的,依照下列规定的权限办理:(一)征收、征用或者使用草原超过七十公顷的,由国家林业和草原局审核;(二)征收、征用或者使用草原七十公顷及其以下的,由省级林业和草原主管部门审核。
第七条工程建设、勘查、旅游等确需临时占用草原的,由县级以上地方林业和草原主管部门依据所在省、自治区、直辖市确定的权限分级审批。
临时占用草原的期限不得超过二年,并不得在临时占用的草原上修建永久性建筑物、构筑物;占用期满,使用草原的单位或者个人应当恢复草原植被并及时退还。
第八条在草原上修建直接为草原保护和畜牧业生产服务的工程设施确需使用草原的,依照下列规定的权限办理:(一)使用草原超过七十公顷的,由省级林业和草原主管部门审批;(二)使用草原七十公顷及其以下的,由县级以上地方林业和草原主管部门依据所在省、自治区、直辖市确定的审批权限审批。
修建其他工程,需要将草原转为非畜牧业生产用地的,应当依照本规范第六条的规定办理。
草原征占用审批操作规范及行政审批流程图要点草原征占用审批操作规范及行政审批流程图要点随着城市化和工业化的进程,草原的征占用问题成为了一个越来越重要的问题。
政府部门需要对草原征占用进行审批,确保草原资源的合理利用和环境的保护。
本文将介绍草原征占用审批操作规范及行政审批流程图要点。
一、草原征占用审批的操作规范草原征占用审批的操作规范包括征占用申请、审批机关、审批程序、审批结果等方面。
具体如下:(一)征占用申请1. 征占用申请应提交真实、准确的申请材料,包括使用草原的目的、征占用的范围和面积、环境影响评价报告等。
2. 征占用申请人应提供草原保护与合理利用的方案,明确草原生态保护和恢复措施,确保草原的可持续利用。
(二)审批机关1. 草原征占用审批机关应当具备相关的草原保护和环境评估等方面的专业知识。
2. 草原征占用审批机关应当严格遵守草原保护法、环境保护法等相关法律规定,保障草原资源的合理利用和生态环境的保护。
(三)审批程序1. 草原征占用审批应当按照申请材料的真实性、合法性等因素,进行全面、科学、合理的审批。
2. 草原征占用审批应当严格遵守法定程序,确保审批环节的透明公开,保障公众的知情权和参与权。
(四)审批结果1. 草原征占用审批的结果应当是合法、公正、合理的。
2. 如有需要,草原征占用审批机关可以加入监管措施,确保征占用实施后的环境保护和草原恢复。
二、行政审批流程图要点草原征占用的审批流程图主要包括以下要点:(一)征占用申请提交与受理1. 征占用申请人应当将申请材料递交到征占用审批机关,等待受理。
2. 征占用审批机关应当在收到申请材料的5个工作日内受理,并告知审批流程和期限。
(二)环境评价报告审查1. 征占用审批机关应根据审批对象的情况,赋予环境保护部门和草原管理部门发表意见的权利。
2. 环境保护部门和草原管理部门应在收到申请材料后30个工作日内出具环境评价报告审查意见。
(三)审批决策1. 征占用审批机关应当根据环评报告和相关部门的意见,决定是否批准征占用申请。
五、草原征占用审批——临时占用草原的审核一、行政审批项目名称、性质:(一)名称:临时占用草原审核(二)性质:行政许可20022002日起施行的条件:(一)临时占用草原不改变草原性质,即草原的农用地属性不变,符合国家的产业政策,国家明令禁止的项目不得征占用草原;临时占用草原无需办理农用地转让手续;(二)临时占用草原不改变草原权属,即草原的所有权和使用权不变,临时占用草原的单位或个人须经县级以上草原行政主管部门审核同意。
并签定临时占用草原合同。
(三)临时占用草原只是临时改变草原用途,临时占用期落后,用地单位应及时归还并恢复草原原由用途。
还。
(五)与草原所有权者、使用者或承包经营者签订的草原补偿费等补偿协议。
以上材料按顺序装订成册,一式三份。
七、办结时限:(一)法定办结时限:20个工作日(二)承诺办结时限:11个工作日八、行政审批数量无数量限制九、行政审批收费《中华人民共和国行政许可法》第五十八条行政许可法规定,行政机关实施许可和对行政许可事项进行监督检查,不得收取任何费用。
但是,欢迎共阅草原征占用审批--在草原上修建直接为草原保护和畜牧业生产服务的工程设施使用草原一、行政审批项目名称、性质(一)名称:草原上修建直接为草原保护和畜牧业生产服务(二)牲畜圈舍、配种点、剪毛点、药浴池、人畜饮水设施;(三)科研、试验、示范基地;(四)草原防火和灌溉设施。
三、实施权限和主体根据《草原征占用审核审批管理办法》第八条:(一)使用草原超过七十公顷的,由农业部审核;(二)使用草原七十公顷及其以下的,由县级以上地方人民政府草原行政主管部门依据省、自治区、直辖市确定的审批权限审批。
四、行政审批条件用草原的审核项目的申请,相关工作也未能开展。
)五、实施对象和范围在草原上修建直接为草原保护和畜牧业生产服务的工程设施,需要使用草原的单位或个人六、申请材料(一)《草原征占用申请表》;(二)项目批准文件;(三)草原权属证明材料;(四)与草原所有权者、使用者或承包经营者签订的草原补偿费和安置补助费等补偿协议。
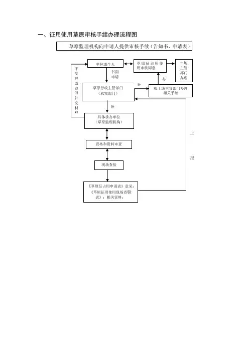
一、征用使用草原审核手续办理流程图草原监理机构向申请人提供审核手续(告知书、申请表)单位或个人草原行政主管部门 (农牧部门)具体承办单位 (草原监理机构)资格和资料审查现场查验《草原征占用申请表》意见; 《草原征用使用现场查验表》;相关资料;草原征占用使用审核同意书面 申请不受理 或退回补充材料批上 报报上级主管部门办理相关手续批办土地主管部门办理相关二、临时占用草原许可证办理流程图草原监理机构向申请人提供审核手续(告知书、申请表)单位或个人草原行政主管部门 (农牧部门)具体承办单位 (草原监理机构)资格和资料审查现场查验《草原征占用申请表》意见; 《草原征用使用现场查验表》; 相关资料;《草原临时使用许可证》或审核审批文件。
书面 申请不 受理 或退回补充材料批转上 报申请者向草原监理机构交纳植被恢复费批准办理三、车辆离路通行草原的审批四、在草原上修建直接为草原保护和畜牧业生产服务工程设施使用草原的审核` 草原监理机构向申请人提供审核手续(告知书、申请表)单位或个人草原行政主管部门(农牧部门)具体承办单位(草原监理机构)资格和资料审查现场查验《草原征占用申请表》意见;《草原征用使用现场查验表》;相关资料;《草原临时使用许可证》或审核审批文件。
书面申请不受理或退回补充材料批转上报申请者向草原监理机构交纳植被恢复费批准办理五、防火期草原上野外生产性用火的批准单位或个人草原行政主管部门 (农牧部门)具体承办单位 (草原监理机构)资格和资料审查现场查验《草原临时使用许可证》或审核审批文件。
书面 申请不 受理 或退回补充材料批转上 报申请者向草原监理机构交纳植被恢复费批准办理。
征、占用林地审核、审批权力运行流程图申请申请人提交审批申请及有关材料2天市林业局收件3个工作日内审查不符合要求的符合要求的5个工作日内现场勘察提交现场勘验调查报告审核转报省林业厅审批依法处理5个工作日内审核不符合要求的符合要求的申请人补充材料后林木种苗生产、经营许可证核发运行流程图申请申请人提交审批申请及有关材料1天市林业局收件1个工作日内审查不符合要求的符合要求的5个工作日内现场勘察提交现场勘验调查报告审核核发《林木种苗生产、经营许可证》防范措施:坚持公开、公平、公正的原则,严格操作规程。
依法处理2个工作日内审核不符合要求的符合要求的1个工作日发证申请人补充材料后森林经营单位修筑直接为林业生产服务工程设施占用林地权力运行流程图申请申请人提交审批申请及有关材料1天市林业局收件1个工作日内审查不符合要求的符合要求的5个工作日内现场勘察提交现场勘验调查报告审核下发审批文件依法处理3个工作日内审核不符合要求的符合要求的申请人补充材料后森林植物及其产品和其他繁殖材料调用检疫审批权力运行流程图申请申请人提交审批申请及有关材料1天市林业局收件1个工作日内审查不符合要求的符合要求的5个工作日内现场检疫提交现场勘验调查报告审核核发《森林植物及其产品和其他繁殖材料检疫证》依法处理2个工作日内审核不符合要求的符合要求的1个工作日发证申请人补充材料后省重点保护野生动物、国家“三有”动物狩猎证核发权力运行流程图申请申请人提交审批申请及有关材料1天市林业局收件1个工作日内审查不符合要求的符合要求的5个工作日内现场勘察提交现场勘验调查报告审核转报省林业厅审核批复依法处理2个工作日内审核不符合要求的符合要求的1个工作日转报申请人补充材料后省重点保护野生动物驯养繁殖许可证核发权力运行流程图申请申请人提交审批申请及有关材料1天市林业局收件1个工作日内审查不符合要求的符合要求的5个工作日内现场勘察提交现场勘验调查报告审核转报或核发《野生动物驯养繁殖许可证许可证》依法处理2个工作日内审核不符合要求的符合要求的1个工作日发证或转报申请人补充材料后临时占用林地审批权力运行流程图申请申请人提交审批申请及有关材料1天市林业局收件1个工作日内审查不符合要求的符合要求的5个工作日内现场勘察提交现场勘验调查报告审核转报省林业厅或下发审批文件依法处理2个工作日内审核不符合要求的符合要求的1个工作日发证或转报申请人补充材料后出省木材运输证的核发权力运行流程图备注:1.权力运行流程图和权力运行流程图是配套的,一个权力运行流程图对应一个权力运行流程图。
内农牧规发〔〕号内蒙古自治区征占用草原审核审批程序规定内农牧规发〔2015〕1号关于印发《内蒙古自治区征占用草原审核审批程序规定》的通知465 各盟市农牧业局:为了进一步加强征占用草原管理工作,规范征占用草原审核审批程序,根据《中华人民共和国草原法》、农业部《草原征占用审核审批管理办法》(第58号令)等有关规定,结合我区征占用草原管理实际,我厅制定了《内蒙古自治区征占用草原审核审批程序规定》(内蒙古自治区人民政府法制办公室备案号:NMYF-2015-0001),现印发给你们,请遵照执行。
内蒙古自治区农牧业厅2015年1月16日_______________________________________________________________________________内蒙古自治区农牧业厅办公室2015年1月16日印发______________________________________________________________________________内蒙古自治区征占用草原审核审批程序规定第一条为了规范草原征占用审核审批管理,根据《中华人民共和国土地管理法》、《中华人民共和国草原法》、《农业部草原征占用审核审批管理办法》等相关规定,结合我区征占用草原管理实际,制定本规定。
第二条本规定适用于下列情形:(一)矿藏开采和工程建设等需要征收征用或者使用草原的审核;(二)临时占用草原的审批;(三)在草原上修建直接为草原保护和畜牧业生产服务的工程设施使用草原的审批。
第三条旗县级以上人民政府草原行政主管部门负责征占用草原的审核审批工作。
旗县级以上人民政府草原行政主管部门的草原监督管理机构承担相关具体工作。
第四条征收征用或者使用草原的,应当提供以下材料:(一)草原征占用申请表(70公顷以上4份、70公顷及以下3份);(二)单位营业执照、法人证明或者个人身份证复印件;(三)批准文件;(四)可行性研究报告;(五)环境影响评价相关批复;(六)拟征收征用或者使用草原的权属证书及相关证明材料;(七)草原补偿、安置补助协议;(八)拟征收征用或者使用草原的区域坐标图;(九)使用草原可行性报告;(十)征收征用草原自然保护区草原的,提交有关部门同意的批文或意见;(十一)其他需要补充的材料。
五、草原征占用审批——临时占用草原的审核一、行政审批项目名称、性质:(一)名称:临时占用草原审核(二)性质:行政许可二、设定依据:1985年6月18日第六届全国人民代表大会常务委员会第11次会议通过,2002年12月28日第九届全国人民代表大会常务委员会第31次会议修订,2002年12月28日中华人民共和国主席令第82号公布, 2003年3月1日起施行的《中华人民共和国草原法》第四十条第一款规定,需要临时占用草原的,应当经县级以上地方人民政府草原行政主管部门审核同意。
三、实施权限和实施主体根据《中华人民共和国草原法》第四十条“需要临时占用草原的,应当经县级以上地方人民政府草原行政主管部门审核同意”的规定,县级草原行政主管部门负责临时占用草原的审核。
市辖区未设立草原行政主管部门的,由地级市草原行政主管部门核发。
四、行政审批条件根据《草原征占用审核审批管理办法》第九条草原征占用应当符合下列条件:(一)临时占用草原不改变草原性质,即草原的农用地属性不变,符合国家的产业政策,国家明令禁止的项目不得征占用草原;临时占用草原无需办理农用地转让手续;(二)临时占用草原不改变草原权属,即草原的所有权和使用权不变,临时占用草原的单位或个人须经县级以上草原行政主管部门审核同意。
并签定临时占用草原合同。
(三)临时占用草原只是临时改变草原用途,临时占用期落后,用地单位应及时归还并恢复草原原由用途。
(四)临时占用草原的期限上不得超过二年,并不得在临时占用草原上修建永久性建筑物、构筑物;占用期满,用地单位必须恢复草原植被,并及时退还。
(截止目前为止,贺州市尚未有因矿藏开采和工程建设征用、使用草原的审核项目的申请,相关工作也未能开展。
)五、实施对象和范围因建设需要征用、使用草原、临时占用草原的单位或个人六、申请材料(一)《草原征占用申请表》;(二)草原权属证明材料;(三)有资质的设计单位做出的包含环境影响评价内容的项目使用草原可行性报告;(四)草原植被恢复方案(五)与草原所有权者、使用者或承包经营者签订的草原补偿费等补偿协议。
以上材料按顺序装订成册,一式三份。
七、办结时限:(一)法定办结时限:20个工作日(二)承诺办结时限:11个工作日八、行政审批数量无数量限制九、行政审批收费《中华人民共和国行政许可法》第五十八条行政许可法规定,行政机关实施许可和对行政许可事项进行监督检查,不得收取任何费用。
但是,法律、行政法规另有规定,依照其规定。
据此,国务院决定、地方性法规和省级人民政府规章设定的行政许可能否收费,要看有没有法律、行政法规的依据。
《中华人民共和国草原法》第三十九条,因建设征用集体所有的草原的,应当依照《中华人民共和国土地管理法》的规定给予补偿;因建设使用国家所有的草原的,应当依照国务院有关规定对草原承包经营者给予补偿。
因建设征用或者使用草原的,应当交纳草原植被恢复费。
草原植被恢复费专款专用,由草原行政主管部门按照规定用于恢复草原植被。
草原植被恢复费的征收、使用的管理办法,由国务院价格主管部门和国务院财政部门会同国务院草原行政主管部门制定。
附件临时占用草原审核流程图11个工作日)草原征占用审批--在草原上修建直接为草原保护和畜牧业生产服务的工程设施使用草原一、行政审批项目名称、性质(一)名称:草原上修建直接为草原保护和畜牧业生产服务的工程建设使用草原的批准(二)性质:行政许可二、设定依据1985年6月18日第六届全国人民代表大会常务委员会第11次会议通过, 2002年12月28日第九届全国人民代表大会常务委员会第31次会议修订,2002年12月28日中华人民共和国主席令第82号公布, 2003年3月1日起施行的《中华人民共和国草原法》第四十一条规定,在草原上修建直接为草原保护和畜牧业生产服务的工程设施,需要使用草原的,由县级以上人民政府草原行政主管部门批准;修筑其他工程,需要将草原转为非畜牧业生产用地的,必须依法办理建设用地审批手续。
前款所称直接为草原保护和畜牧业生产服务的工程设施,是指:(一)生产、贮存草种和饲草饲料的设施;(二)牲畜圈舍、配种点、剪毛点、药浴池、人畜饮水设施;(三)科研、试验、示范基地;(四)草原防火和灌溉设施。
三、实施权限和主体根据《草原征占用审核审批管理办法》第八条:(一)使用草原超过七十公顷的,由农业部审核;(二)使用草原七十公顷及其以下的,由县级以上地方人民政府草原行政主管部门依据省、自治区、直辖市确定的审批权限审批。
四、行政审批条件根据《草原征占用审核审批管理办法》第九条规定,在草原上修建直接为草原保护和畜牧业生产服务的工程设施使用草原的应当符合下列条件:(一)符合国家的产业政策,国家明令禁止的项目不得征占用草原;(二)符合所在地县级草原保护建设利用规划,有明确的使用面积或临时占用期限;(三)对所在地生态环境、畜牧业生产和农牧民生活不会产生重大不利影响;(四)征占用草原应当征得所有者或使用者的同意;征占用已承包经营草原的,还应当与草原承包经营者达成补偿协议;(五)临时占用草原的,应当具有恢复草原植被的方案;(六)申请材料齐全、真实。
(截止目前为止,贺州市尚未有因矿藏开采和工程建设征用、使用草原的审核项目的申请,相关工作也未能开展。
)五、实施对象和范围在草原上修建直接为草原保护和畜牧业生产服务的工程设施,需要使用草原的单位或个人六、申请材料(一)《草原征占用申请表》;(二)项目批准文件;(三)草原权属证明材料;(四)与草原所有权者、使用者或承包经营者签订的草原补偿费和安置补助费等补偿协议。
以上材料按顺序装订成册,一式三份。
七、办结时限(一)法定办结时限:20个工作日。
(二)承诺办结时限:11个工作日八、行政审批数量无数量限制九、行政审批收费《中华人民共和国草原法》第三十九条因建设征用集体所有的草原的,应当依照《中华人民共和国土地管理法》的规定给予补偿;因建设使用国家所有的草原的,应当依照国务院有关规定对草原承包经营者给予补偿。
因建设征用或者使用草原的,应当交纳草原植被恢复费。
草原植被恢复费专款专用,由草原行政主管部门按照规定用于恢复草原植被。
草原植被恢复费的征收、使用的管理办法,由国务院价格主管部门和国务院财政部门会同国务院草原行政主管部门制定。
(广西壮族自治区因建设征用集体所有的草原的行政审批收费目前尚未开始,此项收费相关文件尚未申请。
)十.咨询、投诉电话昭平县水产畜牧兽医局的咨询、投诉电话:咨询电话:投诉电话:附件:行政审批流程图附件 :在草原上修建直接为草原保护和畜牧业生产服务的工程设施使用草原七十公顷及其以下的行政审批流程图11个工作日)草原征占用审批——在草原上从事采土、采砂、采石等作业活动的批准一、行政审批项目名称、性质(一)名称:在草原上从事采土、采砂、采石等作业活动批准(二)性质:行政许可二、设定依据根据1985年6月18日第六届全国人民代表大会常务委员会第11次会议通过, 2002年12月28日第九届全国人民代表大会常务委员会第31次会议修订,2002年12月28日中华人民共和国主席令第82号公布, 2003年3月1日起施行的《中华人民共和国草原法》第五十条第一款规定,在草原上从事采土、采砂、采石等作业活动,应当报县级人民政府草原行政主管部门批准;开采矿产资源的,并应当依法办理有关手续。
三、实施权限和实施主体根据《中华人民共和国草原法》第五十条第一款规定,县级人民政府草原行政主管部门负责在草原上从事采土、采砂、采石等作业活动的审批。
市辖区未设立草原主管部门的,由地级市草原主管部门核发。
四、行政审批条件根据2006年1月16日农业部第3次常务会议审议通过,2006年3月1日起施行的《草原征占用审核审批管理办法》第九条规定,在草原上从事采土、采砂、采石等作业活动的应当符合下列条件:(一)符合国家的产业政策,国家明令禁止的项目不得征占用草原;(二)符合所在地县级草原保护建设利用规划,有明确的使用面积或临时占用期限;(三)对所在地生态环境、畜牧业生产和农牧民生活不会产生重大不利影响;(四)征占用草原应当征得草原所有者或使用者的同意;征占用已承包经营草原的,还应当与草原承包经营者达成补偿协议;(五)临时占用草原的,应当具有恢复草原植被的方案;(六)申请材料齐全、真实。
(截止目前为止,广西尚未有因矿藏开采和工程建设征用、使用草原的审核项目的申请,相关工作也未开展。
)五、实施对象和范围在草原上从事采土、采砂、采石等作业活动的单位或个人。
六、申请材料(一)《草原征占用申请表》;(二)草原权属证明材料;(三)有资质的设计单位做出的包含环境影响评价内容的项目使用草原可行性报告;(四)草原植被恢复方案;(五)与草原所有权者、使用者或承包经营者签订的草原补偿费等补偿协议。
以上材料按顺序装订成册,一式三份。
被申请征用、使用草原的摄像或照片资料和地上建筑、基础设建设的视听资料,可以作《草原征用使用现场查验表》的附属材料。
七、办结时限:(一)法定办结时限:20个工作日。
(二)承诺办结时限:11个工作日。
八、行政审批数无数量限制。
九、行政审批收费、《中华人民共和国草原法》第三十九条规定,因建设征用集体所有的草原的,应当依照《中华人民共和国土地管理法》的规定给予补偿;因建设使用国家所有的草原的,应当依照国务院有关规定对草原承包经营者给予补偿。
因建设征用或者使用草原的,应当交纳草原植被恢复费。
草原植被恢复费专款专用,由草原行政主管部门按照规定用于恢复草原植被。
草原植被恢复费的征收、使用的管理办法,由国务院价格主管部门和国务院财政部门会同国务院草原行政主管部门制定。
(截止目前为止,广西此项审批项目无人申请,收费亦未开始。
)十、咨询、投诉电话昭平县水产畜牧兽医局的咨询、投诉电话:咨询电话:投诉电话:附件:行政审批流程图附件在草原上从事采土、采砂、采石等作业活动的批准流程图(法定办结时限20个工作日,承诺办结时限11个工作日)。