法兰标准尺寸表
- 格式:doc
- 大小:713.00 KB
- 文档页数:39
中国JB标准法兰尺寸1.凸面整体铸钢管法兰(JB/T79.1-94)
图1凸面整体铸钢管法兰表28 PN1.6MPa mm
表29 PN2.5MPa mm
注:表28〜30中系列1法兰连接尺寸与国标及德国法兰标准尺寸互换;系列2尺寸与原机标准法兰尺寸互换;新产品设计应优先采用系列1尺寸。
2.凹凸面整体铸钢管法兰(JB/T79.2-94)
图2凹凸面整体铸钢管法兰mm
表31 PN4.0MPa mm
表32 PN6.3MPa mm
表34 PN16.0MPa mm
注:表31〜35中系列1法兰连接尺寸与国标及德国法兰标准尺寸互换,系列2尺寸与原机标法兰尺寸互换;新产品设计优先采用系列1尺寸。
3、榫槽面整体铸钢管法兰(JB/T79.3-94)
图3榫槽面整体铸钢管法兰表36 PN4.0MPa mm
表37 PN6.3MPa mm
表38 PN10.0MPa mm
注:表36〜38中系列1法兰连接尺寸与国标及德国法兰标准尺寸互换;系列2尺寸与原机标法兰尺寸互换;新产品设计应优先采用系列1尺寸。
常用法兰规格尺寸表
法兰作为管道系统中重要的连接部件,其规格尺寸十分重要。
下面我们将介绍常用法兰规格尺寸表。
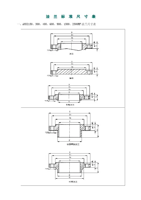
1. 美标法兰 ANSI Flange
美标法兰分为:150#, 300#, 400#, 600#, 900#, 1500#,2500#等级,其中150#是常用的法兰标准,其他等级则多用于高压和特殊场合。
规格尺寸表如下:
2. 日标法兰 JIS Flange
日标法兰有5K、10K、16K、20K、30K等等级,其中10K 是常用的法兰标准。
规格尺寸表如下:
3. 德标法兰 DIN Flange
德标法兰分为PN6、PN10、PN16、PN25、PN40等级,其中PN16是常用的法兰标准。
规格尺寸表如下:
以上是三种常用的法兰规格尺寸表,需要注意的是,在实际应用中,不同的国家和行业可能会有一些特殊的法兰规格尺寸。
此外,在选择法兰时,还需要考虑管道的压力、温度和介质等因素,以确保法兰连接的安全性和可靠性。
法兰标准尺寸表三、JIS 10K、16K、20K、30K、40K、63K、RF、FF 法兰尺寸表表14 JIS 10K、RF、FF mm表 15 JIS 16K、RF、FF mm表16 JIS 20K、RF、FF mm*t值中较小值为钢及可锻铸铁法兰;较大值为铸铁法兰。
表 17 JIS 30K、RF、FF mm表 18 JIS 40K、RF、FF表 19 JIS 63K、RF、FF mm四、JPI 150、300、600RF、RJ法兰尺寸表表 20 JPI 150RF mm表 21 JPI 300RF mm表 22 JPI 600RF mm表 23 JPI 150RJ mm表24 JPI 300RJ mm表 25 JPI 600RJ mm五、德国DIN标准法兰尺寸表 26 PN16(1.6MPa) mm表 27 PN40(4..0MPa) mm六、中国JB标准法兰尺寸(JB/T79.1-94)1.凸面整体铸钢管法兰表28 PN1.6MPa mm表29 PN2.5MPa mm表 30 PN4.0MPa mm注:表28~30中系列1法兰连接尺寸与国标及德国法兰标准尺寸互换;系列2尺寸与原机标准法兰尺寸互换;新产品设计应优先采用系列1尺寸。
2.凹凸面整体铸钢管法兰(JB/T79.2-94)图 2 凹凸面整体铸钢管法兰 mm 表 31 PN4.0MPa mm表 32 PN6.3MPa mm表 33 PN10.0MPa mm表 34 PN16.0MPa mm表 35 PN20.0MPa mm注:表31~35中系列1法兰连接尺寸与国标及德国法兰标准尺寸互换,系列2尺寸与原机标法兰尺寸互换;新产品设计优先采用系列1尺寸。
(JB/T79.3-94)3、榫槽面整体铸钢管法兰表 36 PN4.0MPa mm表 37 PN6.3MPa mm表38 PN10.0MPa mm注:表36~38中系列1法兰连接尺寸与国标及德国法兰标准尺寸互换;系列2尺寸与原机标法兰尺寸互换;新产品设计应优先采用系列1尺寸。
法兰标准尺寸表三、JIS 10K、16K、20K、30K、40K、63K、RF、FF 法兰尺寸表表14 JIS 10K、RF、FF mm表 15 JIS 16K、RF、FF mm表16 JIS 20K、RF、FF mm*t值中较小值为钢及可锻铸铁法兰;较大值为铸铁法兰。
表 17 JIS 30K、RF、FF mm表 18 JIS 40K、RF、FF表 19 JIS 63K、RF、FF mm四、JPI 150、300、600RF、RJ法兰尺寸表表 20 JPI 150RF mm表 21 JPI 300RF mm表 22 JPI 600RF mm表 23 JPI 150RJ mm表24 JPI 300RJ mm表 25 JPI 600RJ mm五、德国DIN标准法兰尺寸表 26 PN16(1.6MPa) mm表 27 PN40(4..0MPa) mm六、中国JB标准法兰尺寸1.凸面整体铸钢管法兰(JB/T79.1-94)图 1 凸面整体铸钢管法兰表28 PN1.6MPa mm表29 PN2.5MPa mm表 30 PN4.0MPa mm注:表28~30中系列1法兰连接尺寸与国标及德国法兰标准尺寸互换;系列2尺寸与原机标准法兰尺寸互换;新产品设计应优先采用系列1尺寸。
2.凹凸面整体铸钢管法兰(JB/T79.2-94)图 2 凹凸面整体铸钢管法兰 mm 表 31 PN4.0MPa mm表 32 PN6.3MPa mm表 33 PN10.0MPa mm表 34 PN16.0MPa mm表 35 PN20.0MPa mm注:表31~35中系列1法兰连接尺寸与国标及德国法兰标准尺寸互换,系列2尺寸与原机标法兰尺寸互换;新产品设计优先采用系列1尺寸。
3、榫槽面整体铸钢管法兰(JB/T79.3-94)图 3 榫槽面整体铸钢管法兰表 36 PN4.0MPa mm表 37 PN6.3MPa mm表38 PN10.0MPa mm注:表36~38中系列1法兰连接尺寸与国标及德国法兰标准尺寸互换;系列2尺寸与原机标法兰尺寸互换;新产品设计应优先采用系列1尺寸。
法兰标准尺寸表三、JIS 10K、16K、20K、30K、40K、63K、RF、FF 法兰尺寸表表14 JIS 10K、RF、FF mm公称通径外径螺栓孔中心圆直径连接凸出部分直径内径法兰厚度连接部分凸出高度螺栓孔数量与直径螺栓直径DN D D1D2D3t* f n-d M20 100 75 58 19 14 18 1 4-15 1225 125 90 70 25 14 18 1 4-19 1640 140 105 85 38 16 20 2 4-19 1650 155 120 100 51 16 20 2 4-19 1665 175 140 120 61 18 22 2 4-19 1680 185 150 130 76 18 22 2 8-19 16100 210 175 155 102 18 24 2 8-19 16 125 250 210 185 125 20 24 2 8-23 20 150 280 240 215 152 22 26 2 8-23 20 200 330 290 265 204 22 26 2 8-23 20 250 400 355 325 254 24 30 2 12-25 22 300 415 400 375 305 24 32 3 16-25 22表 15 JIS 16K、RF、FF mm公称通径外径螺栓孔中心圆直径连接凸出部分直径内径法兰厚度连接部分凸出高度螺栓孔数量与直径螺栓直径DN D D1D2D3t* f n-d M 20 100 75 58 19 14 18 1 4-15 12 25 125 60 70 25 14 18 1 4-19 16 40 140 105 85 38 16 20 2 4-19 16 50 155 120 100 51 16 20 2 8-19 16 65 175 140 120 64 18 22 2 8-19 16 80 200 160 135 76 20 24 2 8-23 20 100 225 185 160 102 22 26 2 8-23 20 125 270 225 195 125 22 26 2 12-25 22 150 305 260 230 152 24 28 2 12-25 22 200 350 305 275 204 26 30 2 12-25 22250 430 380 345 254 28 34 2 12-27 24 300 480 430 395 305 30 36 3 16-27 24表16 JIS 20K、RF、FF mm公称通径外径螺栓孔中心圆直径连接凸出部分直径内径法兰厚度连接部分凸出高度螺栓孔数量与直径螺栓直径DN D D1D2D3t* f n-d M20 100 75 58 19 16 18 1 4-15 1225 125 90 70 25 16 20 1 4-19 1640 140 105 85 38 18 22 2 4-19 1650 155 120 100 51 18 22 2 8-19 1665 175 140 120 64 20 24 2 8-19 1680 200 160 135 76 22 26 2 8-23 20100 225 185 160 102 24 28 2 8-23 20 125 270 225 195 125 26 30 2 12-25 22 150 305 260 230 152 28 32 2 12-25 22 200 350 305 275 204 30 34 2 12-25 22 250 430 380 345 254 34 38 2 12-27 24 300 480 430 395 305 36 40 3 16-27 24 *t值中较小值为钢及可锻铸铁法兰;较大值为铸铁法兰。
法兰尺寸表文稿归稿存档编号:[KKUY-KKIO69-OTM243-OLUI129-G00I-FDQS58-法兰标准尺寸表三、JIS10K、16K、20K、30K、40K、63K、RF、FF法兰尺寸表表14JIS10K、RF、FF?mm表15JIS16K、RF、FFmm表16JIS20K、RF、FF?mm*t值中较小值为钢及可锻铸铁法兰;较大值为铸铁法兰。
表17JIS30K、RF、FF?mm表18JIS40K、RF、FF表19JIS63K、RF、FF?mm四、JPI150、300、600RF、RJ法兰尺寸表表20JPI150RF?mm表21JPI300RF?mm表22JPI600RF?mm表23JPI150RJ?mm表24JPI300RJ?mm表25JPI600RJ?mm五、德国DIN标准法兰尺寸表26PN16(1.6MPa)mm表27PN40(4..0MPa)mm六、中国JB标准法兰尺寸1.凸面整体铸钢管法兰(JB/T79.1-94)图1凸面整体铸钢管法兰表28PN1.6MPa?mm表29PN2.5MPa?mm表30PN4.0MPamm注:表28~30中系列1法兰连接尺寸与国标及德国法兰标准尺寸互换;系列2尺寸与原机标准法兰尺寸互换;新产品设计应优先采用系列1尺寸。
2.凹凸面整体铸钢管法兰(JB/T79.2-94)图2凹凸面整体铸钢管法兰?mm表31PN4.0MPa?mm表32PN6.3MPamm表33PN10.0MPamm表34PN16.0MPamm表35PN20.0MPamm注:表31~35中系列1法兰连接尺寸与国标及德国法兰标准尺寸互换,系列2尺寸与原机标法兰尺寸互换;新产品设计优先采用系列1尺寸。
3、榫槽面整体铸钢管法兰(JB/T79.3-94)图3榫槽面整体铸钢管法兰表36PN4.0MPa?mm表37PN6.3MPamm表38PN10.0MPamm注:表36~38中系列1法兰连接尺寸与国标及德国法兰标准尺寸互换;系列2尺寸与原机标法兰尺寸互换;新产品设计应优先采用系列1尺寸。
法兰标准尺寸表三、JIS 10K、16K、20K、30K、40K、63K、RF、FF 法兰尺寸表表14 JIS 10K、RF、FF mm公称通径外径螺栓孔中心圆直径连接凸出部分直径内径法兰厚度连接部分凸出高度螺栓孔数量与直径螺栓直径DN D D1D2D3t* f n-d M20 100 75 58 19 14 18 1 4-15 1225 125 90 70 25 14 18 1 4-19 1640 140 105 85 38 16 20 2 4-19 1650 155 120 100 51 16 20 2 4-19 1665 175 140 120 61 18 22 2 4-19 1680 185 150 130 76 18 22 2 8-19 16100 210 175 155 102 18 24 2 8-19 16 125 250 210 185 125 20 24 2 8-23 20 150 280 240 215 152 22 26 2 8-23 20 200 330 290 265 204 22 26 2 8-23 20 250 400 355 325 254 24 30 2 12-25 22 300 415 400 375 305 24 32 3 16-25 22表 15 JIS 16K、RF、FF mm公称通径外径螺栓孔中心圆直径连接凸出部分直径内径法兰厚度连接部分凸出高度螺栓孔数量与直径螺栓直径DN D D1D2D3t* f n-d M 20 100 75 58 19 14 18 1 4-15 12 25 125 60 70 25 14 18 1 4-19 16 40 140 105 85 38 16 20 2 4-19 16 50 155 120 100 51 16 20 2 8-19 16 65 175 140 120 64 18 22 2 8-19 16 80 200 160 135 76 20 24 2 8-23 20 100 225 185 160 102 22 26 2 8-23 20 125 270 225 195 125 22 26 2 12-25 22 150 305 260 230 152 24 28 2 12-25 22 200 350 305 275 204 26 30 2 12-25 22250 430 380 345 254 28 34 2 12-27 24 300 480 430 395 305 30 36 3 16-27 24表16 JIS 20K、RF、FF mm公称通径外径螺栓孔中心圆直径连接凸出部分直径内径法兰厚度连接部分凸出高度螺栓孔数量与直径螺栓直径DN D D1D2D3t* f n-d M20 100 75 58 19 16 18 1 4-15 1225 125 90 70 25 16 20 1 4-19 1640 140 105 85 38 18 22 2 4-19 1650 155 120 100 51 18 22 2 8-19 1665 175 140 120 64 20 24 2 8-19 1680 200 160 135 76 22 26 2 8-23 20100 225 185 160 102 24 28 2 8-23 20 125 270 225 195 125 26 30 2 12-25 22 150 305 260 230 152 28 32 2 12-25 22 200 350 305 275 204 30 34 2 12-25 22 250 430 380 345 254 34 38 2 12-27 24 300 480 430 395 305 36 40 3 16-27 24 *t值中较小值为钢及可锻铸铁法兰;较大值为铸铁法兰。
国标法兰尺寸表 1.0MPa-2.5MPa 凸面平焊钢制管法兰PN1.0MPa(10bar)MM公称通径DN 管子外径A连接尺寸密封尺寸法兰厚度C法兰内径B法兰理论重量kg 法兰管径D系列1/系列2螺栓孔中心圆直径K螺栓孔直径L系列1/系列2螺栓、螺柱d f数量n螺纹Th.系列1/系列210149060144M1240212150.46 151********M1245212190.51 202510575144M1255214260.75 253211585144M1265214330.89 3238140/135100184M167821639 1.40 4045150/145110184M168531846 1.71 5057165/160125184M1610031859 2.09 6573185/180145184M1612032075 2.84 8089200/195160184M1613532091 3.24 100108220/215180188M16155322110 4.01125133250/245210188<,/TD>M16185324135 5.40150159285/280240238M20210324161 6.67 175194310270238M202403241967.44 200219340/335295238M202653242228.24 225245365325238M202953242489.30 250273395/3903502312M2032032627610.70 300325445/4404002312M2036842832812.90 350377505/5004602316M2042842838016.90 40042656551526/2516M24/M2248243043021.80 45048061556526/2520M24/M2253243048424.40 50053067062026/2520M24/M2258543253427.70 6006307807253020M2768553663439.40 7007208958403024M27800536715,53 8008201015/10109503424M3090553881767 9009201115/111010503428M30100553891876参考100010201230/1220116036/3428M33/M301115538102090参考11001120134012703628M331222540125参考120012201455/1450138039/4132M3613255441223143参考凸面平焊钢制管法兰PN1.6MPa(16bar)MM公称通径DN 管子外径A连接尺寸密封尺寸法兰厚度C法兰内径B法兰理论重量kg 法兰管径D系列1/系列2螺栓孔中心圆直径K螺栓孔直径L系列1/系列2螺栓、螺柱d f数量n螺纹Th.系列1/系列210149060144M1240214150.55 151********M1245214190.71 202510575144M1255216260.87 253211585144M126521833 1.18 3238140/135100184M167821839 1.60 4045150/145110184M168532046 2.00 5057165/160125184M1610032259 2.61 6573185/180145184M1612032475 3.45 8089200/195160188M1613532491 3.71 100108220/215180188M16155326110 4.80 125133250/245210188M16185328135 6.47 150159285/280240238M202103281617.92 175194310270238M202403281968.81 200219340/3352952312M2026533022210.10 2252453653252312M2029533024811.70 25027340535526/2512M24/M2232033227615.70 30032546041026/2512M24/M2237543232818.10 350,37752047026/2516M24/M2243543438023.30 4004265805253016M2748543843031.00 4504806405853020M2754544248440.20 500530715/7056503420M3060844853455.70 60063084077036/4120M33/M3671855063480.8070072091084036/4124M33/M36788550724106.2 8008201025/102095039/4124M36898552824130.5 9009201125/1120105039/4128M3699854492491参考100010201255117042/4828M39/M4211105461024127参考11001120137012804228M3912225501124160参考120012201485139048/5432M45/M4813255521224186参考凸面平焊钢制管法兰PN2.5MPa(25bar)MM公称通径DN 管子外径A连接尺寸密封尺寸法兰厚度C法兰内径B法兰理论重量kg 法兰管径D系列1/系列2螺栓孔中心圆直径K螺栓孔直径L系列1/系列2螺栓、螺柱d f数量n螺纹Th.系列1/系列210149060144M1240216150.64 151********M1245216190.80 202510575144M1255218260.99 253211585144M126521833 1.18 3238140/135100184M167822039 1.96 4045150/145110184M168532246 2.60 5057165/160125184M1610032459 2.71 6573185/180145188M1612032475 3.22 8089200/195160188M1613532691 4.06 100108235/230190238M20160328110 6.00 12513327022026/258M24/M221883301358.26 15015930025026/258M24/M2221833016110.40 17519433028026/2512M24/M2224833219611.90 20021936031026/2512M24/M2227833222214.50 2252453953403012M2730233424817.00 2502734253703012M2733233427618.90 3003254854303016M2739043632826.80 350377555/5504904016M3044844238034.35 400426620/61055036/3416M33/M3050544443044.90 450480670/66060036/3420M33/M3055544848451.92 50053073066036/3420M33/M3661045253467.30 600630845/8407704120M3671855663495.20700720960/95587542/4824M39/M42815560724116 8008201085/10709904824M45/M42930564824150.2 9009201185/1180109048/5428M45/M481025558924160参考100010201320/1305121055/5828M5211405621024210参考11001124142513155528M5212455661124260参考120012201530/1525142055/5832M5213505701224300参考。
法 兰 标 准 尺 寸 表一、ANSI150、300、400、600、900、1500、2500RF法兰尺寸表外法兰径厚度DN D D1D2AB C E FG J L1L2L3L d n M 20140984328202751388649 6.42342025159108513525345757419554 6.4254223218413063.543324273734510259 6.430427402031467350404879795111867 6.43343050235171.59262506095955713376 6.430827652671971057565731141146414986 6.43383080305228.51279180891331337317598 6.43683310035627315711610011416516583197114 6.44283912541932418614412514120320398235137 6.448845150483368.5216171150168235235114279159 6.455852200552438270221200219305305133324184 6.4551252311∫3007626193813273003244414411914702605146.4751272公称通径螺栓孔中心圆直径连接凸出部分直径内径焊接处颈部直径颈根部直径375焊接法兰长度连接凸出部分高度螺栓孔直径螺栓直径数量6712按用户要求235311276250273375250673539.532464172426235 6.4公称通径DN D D1D2D3t f L E F n-d M 2510879.563.52520.7 6.447.6 6.48.74-151********.582.63823.9 6.465.1 6.48.74-151250152120.5101.65125.5 6.482.6 6.48.74-191665178139.5120.66428.7 6.4101.6 6.48.74-191680190152.5133.47630.3 6.4114.3 6.48.74-1916100229190.5171.410230.3 6.4149.2 6.48.78-1916125254216193.712730.3 6.4171.5 6.48.78-2320150279241.5219.115231.8 6.4193.6 6.48.78-2320200343298.527320335 6.4247.7 6.48.78-2320250406362330.225436.6 6.4304.8 6.48.712-2522300483432406.430538.26.43816.48.712-2522表8 ANSI 150RJ mm外径螺栓孔中心圆直径连接凸出部分直径梯形槽深度梯形槽宽度螺栓孔数量与直径螺栓直径内径法兰厚度连接凸出部分高度梯形槽中心圆直径二、ANSI 150、300、600、900、1500、2500RJ法兰尺寸表表11 ANSI 900RJ mm表12 ANSI 1500RJ mm表13 ANSI 2500RJ mm公称通径外径螺栓孔中心圆直径连接凸出部分直径内径法兰厚度连接凸出部分高度螺栓孔数量与直径螺栓直径DN D D1D2D3t﹡f n-d M 2010075581914/ 1814-15122512590702514 /1814-191640140105853816 /2024-1916501551201005116/ 2024-1916651751401206118/ 2224-1916801851501307618 /2228-191610021017515510218/ 2428-191612525021018512520/ 2428-232015028024021515222 / 2628-232020033029026520422/ 2628-232025040035532525424/ 30212-252230041540037030524/ 32316-2522表14 JIS 10K、RF、FF mm三、JIS 10K、16K、20K、30K、40K、63K、RF、FF法兰尺寸表20040534529020050212-3330250475440355247.556212-3330300540470440298.560316-3936公称通径外径螺栓孔中心圆直径连接凸出部分直径内径法兰厚度连接凸出部分高度螺栓孔数量与直径螺栓直径DN D D1D2D3t f n-d M 25140100702227140-23204017513090353224月25日2250185145105483428月23日2065220175130573828月25日2280230185140734028月25日22100270220165994428月27日241253252652001215028-333015036530524014652212-333020042536029019058212-333025050043035523868212-393630056048541028377316-3936RJ法兰表19 JIS 63K、RF、FF mm四、JPI 150、300、600RF、RJ法兰尺寸表公称通径外径螺栓孔中心圆直径连接凸出部分直径内径法兰厚度连接凸出部分高度螺栓孔数量与直径螺栓直径DN D D1D2D3t f n-d M 209870431912.7 1.64-1512 2510879.5512514.3 1.64-1512 4012798.5733817.5 1.64-1512 50152120.5925119.1 1.64-1916 65178139.51056422.3 1.64-1916 80190152.51277623.9 1.64-1916 100229190.515710223.9 1.68-1916 12525421618612523.9 1.68-2220 150279241.521615225.4 1.68-2220 200343298.527020428.6 1.68-2220 25040636232425430.2 1.612-2522 30048343238130531.8 1.612-2522公称通径外径螺栓孔中心圆直径连接凸出部分直径内径法兰厚度连接凸出部分高度螺栓孔数量与直径螺栓直径DN D D1D2D3t f n-d M 2011782.5431915.9 1.64-1916 2512489512517.5 1.64-1916 40156114.5733820.7 1.64-2220 50165127925122.3 1.68-1916 651901491056425.4 1.68-2220 802101681277628.6 1.68-2220 10025420015710231.8 1.68-2220 12527923518612535 1.68-2220 15031827021615236.6 1.612-2220 20038133027020441.3 1.612-2522200419349301.6200269.87511.906862812-3230250508432355.6247.5323.8511.906869.9816-3533300559489412.8298.538111.906873.1820-3533PN16PN40公称通径外径螺栓孔中心圆直径连接凸出部分直径连接凸出部分高度法兰厚度螺栓孔数量与直径螺栓直径DN D D1D2f H n-d M 159565452144-14122010575582164-14122511585682164-141232140100782184-181640150110882184-1816501651251023204-1816651851451223204-1816802001601383228-18161002201801583248-18161252502101883268-18161502852402123268-2220五、德国DIN标准法兰尺寸2003402952683308-22202504053553203328-2624公称通径外径螺栓孔中心圆直径连接凸出部分直径连接凸出部分高度法兰厚度螺栓孔数量与直径螺栓直径DN D D1D2f H n-d M 159565452164-14122010575582184-14122511585682184-141232140100782184-181640150110882184-1816501651251023204-1816651851451223228-1816802001601383248-18161002351901623248-22201252702201883268-26241503002502183288-262420037532028533412-302725045038534533812-3330六、中国JB标准法兰尺寸 1、凸面整体钢管法兰(JB/T79.1-94)法兰厚度法兰外径螺栓孔中心圆直径螺栓孔直径CD K L螺纹Th系列1/系列2系列1/系列2.系列1/系列2159565144M1245214391242010575144M1255214441242511585144M12652144912432140/135100184M16782165612440150/145110184M16853166412450165/160125184M161003167412565185/180145184M161203189515580200/195160188M16135320110155100220/215180188M16155320130155125250/245210188M16185322161186150285/280240238M20210324186186-175310270238M20240326215206200340/3352952312M20265326240206-2253653252312M2029532626922625040535526/2512M24/M2232033029824830046041026/2512M24/M22375430348248法 兰 颈连 接 尺 寸密封面尺寸螺栓、螺柱dfNmax图1 凸面整体铸钢管法兰表28 PN1.6MPa 公称通径 DNSmaxR数量n表29 PN2.5MPa 注:表28—表30中系列1法兰连接尺寸与国标及德国法兰标准尺寸互换;系列2尺寸与原机标法兰尺寸互换;新产品设计应优先采用系列1尺寸。
法兰标准尺寸表三、JIS 10K、16K、20K、30K、40K、63K、RF、FF 法兰尺寸表表14 JIS 10K、RF、FF mm公称通径外径螺栓孔中心圆直径连接凸出部分直径内径法兰厚度连接部分凸出高度螺栓孔数量与直径螺栓直径DN D D1D2D3t* f n-d M20 100 75 58 19 14 18 1 4-15 1225 125 90 70 25 14 18 1 4-19 1640 140 105 85 38 16 20 2 4-19 1650 155 120 100 51 16 20 2 4-19 1665 175 140 120 61 18 22 2 4-19 1680 185 150 130 76 18 22 2 8-19 16100 210 175 155 102 18 24 2 8-19 16 125 250 210 185 125 20 24 2 8-23 20 150 280 240 215 152 22 26 2 8-23 20 200 330 290 265 204 22 26 2 8-23 20 250 400 355 325 254 24 30 2 12-25 22 300 415 400 375 305 24 32 3 16-25 22表15 JIS 16K、RF、FF mm公称通径外径螺栓孔中心圆直径连接凸出部分直径内径法兰厚度连接部分凸出高度螺栓孔数量与直径螺栓直径DN D D1D2D3t* f n-d M 20 100 75 58 19 14 18 1 4-15 12 25 125 60 70 25 14 18 1 4-19 16 40 140 105 85 38 16 20 2 4-19 16表16 JIS 20K、RF、FF mm*t值中较小值为钢及可锻铸铁法兰;较大值为铸铁法兰。
表17 JIS 30K、RF、FF mm表18 JIS 40K、RF、FF50 165 130 105 51 26 2 8-19 1665 200 160 130 64 30 2 8-23 2080 210 170 140 76 32 2 8-23 20100 250 205 165 102 36 2 8-25 22 125 300 250 200 125 40 2 8-27 24 150 355 295 240 152 44 2 12-33 30 200 405 345 290 200 50 2 12-33 30 250 475 440 355 247.5 56 2 12-33 30 300 540 470 440 298.5 60 3 16-39 36表19 JIS 63K、RF、FF mm公称通径外径螺栓孔中心圆直径连接凸出部分直径内径法兰厚度连接部分凸出高度螺栓孔数量与直径螺栓直径DN D D1D2D3t f n-d M25 140 100 70 22 27 1 40-23 2040 175 130 90 35 32 2 4-25 2250 185 145 105 48 34 2 8-23 2065 220 175 130 57 38 2 8-25 2280 230 185 140 73 40 2 8-25 22100 270 220 165 99 44 2 8-27 24 125 325 265 200 121 50 2 8-33 30 150 365 305 240 146 52 2 12-33 30 200 425 360 290 190 58 2 12-33 30 250 500 430 355 238 68 2 12-39 36 300 560 485 410 283 77 3 16-39 36四、JPI 150、300、600RF、RJ法兰尺寸表表20 JPI 150RF mm表21 JPI 300RF mm表22 JPI 600RF mm表23 JPI 150RJ mm表24 JPI 300RJ mm表25 JPI 600RJ mm40 156 114.5 90.5 38 68.262 8.731 6.4 28.7 6.4 4-22 2050 165 127.0 108.0 51 82.550 11.906 8.0 31.8 8.0 8-19 1665 190 149.0 127.0 64 101.600 11.906 8.0 35.0 8.0 8-22 2080 210 168.0 146.0 76 123.825 11.906 8.0 38.2 8.0 8-22 20 100 270 216.0 174.6 102 149.225 11.906 8.0 44.5 8.0 8-25 22 125 330 266.5 209.6 125 180.975 11.906 8.0 50.9 8.0 8-29 27 150 356 292 241.3 152 211.138 11.906 8.0 54.1 8.0 12-29 27 200 419 349 301.6 200 269.875 11.906 8.0 62.0 8.0 12-32 30 250 508 432 355.6 247.5 323.850 11.906 8.0 69.9 8.0 16-35 33 300 559 489 412.8 298.5 381.000 11.906 8.0 73.1 8.0 20-35 33五、德国DIN标准法兰尺寸表26 PN16(1.6MPa) mm公称通径外径螺栓孔中心圆直径连接凸出部分直径连接凸出部分高度法兰厚度螺栓孔数量与直径螺栓直径DN D D1D2 f H n-d M 15 95 65 45 2 14 4-14 12 20 105 75 58 2 16 4-14 12 25 115 85 68 2 16 4-14 12 32 140 100 78 2 18 4-18 16 40 150 110 88 2 18 4-18 16 50 165 125 102 3 20 4-18 16 65 185 145 122 3 20 4-18 16 80 200 160 138 3 22 8-18 16 100 220 180 158 3 24 8-18 16 125 250 210 188 3 26 8-18 16 150 285 240 212 3 26 8-22 20 200 340 295 268 3 30 8-22 20 250 405 355 320 3 32 8-26 24表27 PN40(4..0MPa) mm15 95 65 45 2 16 4-14 1220 105 75 58 2 18 4-14 1225 115 85 68 2 18 4-14 1232 140 100 78 2 18 4-18 1640 150 110 88 2 18 4-18 1650 165 125 102 3 20 4-18 1665 185 145 122 3 22 8-18 1680 200 160 138 3 24 8-18 16100 235 190 162 3 24 8-22 20 125 270 220 188 3 26 8-26 24 150 300 250 218 3 28 8-26 24 200 375 320 285 3 34 12-30 27 250 450 385 345 3 38 12-33 30六、中国JB标准法兰尺寸1.凸面整体铸钢管法兰(JB/T79.1-94)图1 凸面整体铸钢管法兰表28 PN1.6MPa mm公称通径DN连接尺寸密封面尺寸法兰厚度C法兰颈法兰外径D系列1/系列2螺栓孔中心圆直径K螺栓孔直径L系列1/系列2双头螺柱d f Nmax Smax R数量n螺纹Th.系列1/系列215 95 65 14 4 M12 45 2 14 39 12 4表29 PN2.5MPa mm表30 PN4.0MPa mm50 165/160 125 18 4 M16 100 3 20 80 15 565 185/180 145 18 8 M16 120 3 22 101 18 680 200/195 160 18 8 M16 135 3 22 116 18 6100 235/230 190 23 8 M20 160 3 24 140 20 6 125 270 220 26/25 8 M24/M22 188 3 28 169 22 8 150 300 250 26/25 8 M24/M22 218 3 30 198 24 8 (175) 350 295 30 12 M27 258 3 34 231 28 10 200 375 320 30 12 M27 282 3 38 256 28 10 (225) 415 355 34 12 M30 315 3 40 285 30 10 250 450/445 385 34 12 M30 345 3 42 314 32 10 300 515/510 450 34 16 M30 408 4 46 368 34 12注:表28~30中系列1法兰连接尺寸与国标及德国法兰标准尺寸互换;系列2尺寸与原机标准法兰尺寸互换;新产品设计应优先采用系列1尺寸。
2.凹凸面整体铸钢管法兰(JB/T79.2-94)图2 凹凸面整体铸钢管法兰mm表31 PN4.0MPa mm表32 PN6.3MPa mm表33 PN10.0MPa mm表34 PN16.0MPa mm表35 PN20.0MPa mm注:表31~35中系列1法兰连接尺寸与国标及德国法兰标准尺寸互换,系列2尺寸与原机标法兰尺寸互换;新产品设计优先采用系列1尺寸。
3、榫槽面整体铸钢管法兰(JB/T79.3-94)图3 榫槽面整体铸钢管法兰表36 PN4.0MPa mm公称通径DN连接尺寸密封面尺寸法兰厚度C法兰颈法兰外径D系列1/系列2螺栓孔中心圆直径K螺栓孔直径L系列1/系列2双头螺柱dW系列1/系列2X系列1/系列2Y系列1/系列2Z系列1/系列2f f1、f2Nmax Smax R数量n螺纹Th.系列1/系列215 95 65 14 4 M12 45 29 39 40 28 2 4 16 39 12 4 20 105 75 14 4 M12 55 36 50 51 35 2 4 16 44 12 5 25 115 85 14 4 M12 65 43 57 58 42 2 4 16 49 12 5 32 140/135 100 18 4 M16 78 51 65 66 50 2 4 18 62 15 5 40 150/145 110 18 4 M16 85 61 75 76 60 3 4 18 70 15 5 50 165/160 125 18 4 M16 100 73 87 88 72 3 4 20 80 15 5 65 185/180 145 18 8 M16 120 95 109 110 94 3 4 22 101 18 6 80 200/195 160 18 8 M16 135 106 120 121 105 3 4 22 116 18 6 100 235/230 190 23 8 M20 160 129 149 150 128 3 4.5 24 140 20 6 125 270 220 26/25 8 M24/M22 188 155 175 176 154 3 4.5 28 169 22 8表37 PN6.3MPa mm表38 PN10.0MPa mm注:表36~38中系列1法兰连接尺寸与国标及德国法兰标准尺寸互换;系列2尺寸与原机标法兰尺寸互换;新产品设计应优先采用系列1尺寸。