打桩及桩基础施工流程及图片
- 格式:doc
- 大小:242.50 KB
- 文档页数:5
桩基础施工工艺大全(图文并茂)桩基础施工工艺大全(图文并茂)常用的桩基础通常可分为沉入桩基础和灌注桩基础,按成桩施工方法又可分为:沉入桩、钻孔灌注桩、人工挖孔桩;本条文简要介绍施工方法及其机械设备选择要点。
一、沉入桩基础常用的沉入桩有钢筋混凝土桩、预应力混凝土桩和钢管桩。
注:什么是沉入桩?沉入桩,是靠桩锤的冲击能量将预制桩打(压)入土中,使土被压挤密实,以达到加固地基的作用。
沉入桩所用的基桩主要为预制的钢筋混凝土桩和预应力混凝土桩。
沉入桩的施工方法主要有:锤击沉桩、振动沉桩、射水沉桩、静力压桩以及钻孔埋置桩等。
■(一)准备工作1.沉桩前应掌握工程地质钻探资料、水文资料和打桩资料。
2.沉桩前必须处理地上(下)障碍物,平整场地,并应满足沉桩所需的地面承载力。
3.应根据现场环境状况采取降噪声措施;城区、居民区等人员密集的场所不应进行沉桩施工。
4.对地质复杂的大桥、特大桥,为检验桩的承载能力和确定沉桩工艺应进行试桩。
5.贯人度应通过试桩或做沉桩试验后会同监理及设计单位研究确定。
6.用于地下水有侵蚀性的地区或腐蚀性土层的钢桩应按照设计要求做好防腐处理。
(二)施工技术要点1.预制桩的接桩可采用焊接、法兰连接或机械连接,接桩材料工艺应符合规范要求。
2.沉桩时,桩帽或送桩帽与桩周围间隙应为5~lOmm;桩锤、桩帽或送桩帽应和桩身在同一中心线上;桩身垂直度偏差不得超过0.5%。
3.沉桩顺序:对于密集桩群,自中间向两个方向或四周对称施打;根据基础的设计标高,宜先深后浅;根据桩的规格,宜先大后小,先长后短。
锤击过程应采用重锤低击。
4.施工中若锤击有困难时,可在管内助沉。
5.桩终止锤击的控制应以控制桩端设计标高为主,贯人度为辅。
6.沉桩过程中应加强邻近建筑物、地下管线等的观测、监护。
注:什么是桩帽?桩帽是为了防止打入桩桩头被打坏而使用的一种施工设施,不属于建筑结构范围。
在桩基施工时为了保护桩不被打坏安装上桩帽主要起保护作用。
桩基础施工全流程一、桩基础施工前准备工作在进行桩基础施工之前,需要进行一系列的准备工作。
首先是对施工现场进行勘测,确定桩基础的位置和布置。
然后根据设计要求,确定桩的类型和规格。
接下来是进行桩基础的设计计算,包括桩的数量、桩的直径和长度等参数的确定。
最后是准备施工所需的材料和设备,包括钢筋、混凝土、桩机等。
二、桩基础施工的钢筋加工在进行桩基础施工之前,需要对钢筋进行加工。
首先是对钢筋进行验收,检查其质量和规格是否符合要求。
然后根据设计要求,对钢筋进行剪切、弯曲等加工,制作成所需的形状和尺寸。
三、桩基础施工的桩机安装在进行桩基础施工之前,需要安装桩机。
首先是选择合适的桩机型号,根据设计要求确定其参数和性能。
然后是对桩机进行安装和调试,确保其正常工作。
四、桩基础施工的桩孔开挖在进行桩基础施工之前,需要进行桩孔的开挖。
首先是确定桩孔的位置和尺寸,然后使用挖掘机等设备进行开挖。
在开挖过程中,需要注意保持桩孔的垂直度和平整度,以及避免对周围环境和结构物的影响。
五、桩基础施工的钢筋安装在进行桩基础施工之前,需要进行钢筋的安装。
首先是根据设计要求,在桩孔内部安装预埋钢筋。
然后根据桩的类型和要求,进行钢筋的加固和连接。
在安装过程中,需要注意保持钢筋的位置和间距,以及钢筋与桩身的贴合度。
六、桩基础施工的灌注混凝土在进行桩基础施工之前,需要进行灌注混凝土。
首先是根据设计要求,确定混凝土的配合比和施工工艺。
然后进行混凝土的搅拌和运输,将其倒入桩孔中。
在灌注过程中,需要注意控制混凝土的浇筑速度和均匀度,以及排除混凝土中的气泡。
七、桩基础施工的养护措施在进行桩基础施工之后,需要进行养护措施。
首先是对桩基础进行湿润养护,以保持混凝土的强度和稳定性。
然后是对桩基础进行覆盖保护,避免外界因素对其造成损害。
在养护过程中,需要注意定期检查和维护,及时处理出现的问题。
八、桩基础施工的验收与监测在进行桩基础施工之后,需要进行验收与监测工作。
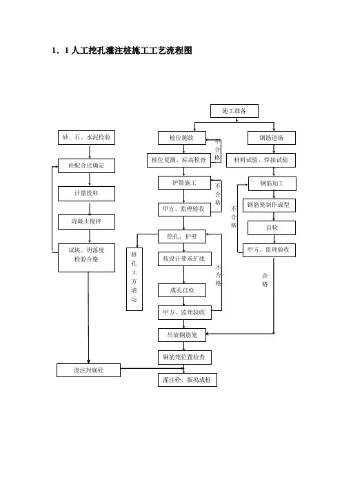
1.1人工挖孔灌注桩施工工艺流程图
2.钻孔灌注桩
2.1回转钻成孔正循环清孔工艺流程图
2.2回转钻成孔反循环清孔工艺流程图
2.3冲击成孔正循环清孔工艺流程图
2.4旋挖桩
旋挖钻进成孔工艺:旋挖成孔首先是通过底部带有活门的桶式钻头回转破碎岩土,并直接将其装入钻斗内,然后再由钻机提升装置和伸缩钻杆将钻斗提出孔外卸土,这样循环往复,不断地取土卸土,直至钻至设计深度。
对粘结性好的岩土层,可采用干式或清水钻进工艺,无需泥浆护壁。
而对于松散易坍塌地层,或有地下水分布,孔壁不稳定,必须采用静态泥
浆护壁钻进工艺,向孔内投入护壁泥浆或稳定液进行护壁。
其工艺流程图如下:
旋挖桩施工工艺流程图
3. 沉管灌注桩
3.1沉管灌注桩施工工艺流程图
3.2引孔沉管灌注桩施工工艺流程图
否
4.长螺旋压力灌注桩
4.1长螺旋压灌砼桩施工工艺
4.2长螺旋压浆桩施工工艺
5. 预制桩
5.1预制桩锤击沉桩法施工工艺
5.2预制桩静压法施工工艺流程
6.预压
6.1真空预压工艺流程图
7.搅拌桩
7.1喷浆搅拌桩施工工艺流程图
8.挤密桩
8.1振动沉管挤密碎石桩施工工艺流程图
8.2振冲挤密碎石桩施工工艺流程图。
14种桩基施工流程图
桩基按照施工方式可分为预制桩和灌注桩。
预制桩:通过打桩机将预制的钢筋混凝土桩打入地下。
优点是材料省,强度高,适用于较高要求的建筑,缺点是施工难度高,受机械数量限制施工时间长。
灌注桩:首先在施工场地上钻孔,当达到所需深度后将钢筋放入浇灌混凝土.优点是施工难度低,尤其是人工挖孔桩,可以不受机械数量的限制,所有桩基同时进行施工,大大节省时间,缺点是承载力低,费材料。
桩基从功能上可划分为作为桩基础和地基处理两种,今日分享14中桩基施工工艺流程!。
桩基及地基处理工艺流程图(14种)
14种桩基及地基处理工艺流程图
①人工挖孔灌注桩施工工艺流程图
②回转钻成孔正循环清孔工艺流程图
③回转钻成孔反循环清孔工艺流程图
④冲击成孔正循环清孔工艺流程图
⑤沉管灌注桩施工工艺流程图
⑥引孔沉管灌注桩施工工艺流程图
⑦长螺旋压灌砼桩施工工艺流程图
⑧长螺旋压浆桩施工工艺
⑨预制桩锤击沉桩法施工工艺流程图
⑩预制桩静压法施工工艺流程图
⑪真空预压工艺流程图
⑫喷浆搅拌桩施工工艺流程图
⑬振动沉管挤密碎石桩施工工艺流程图
⑭振冲挤密碎石桩施工工艺流程图。
史上最详细的管桩施工流程,图文并茂!一、桩基的基础知识1、桩基础桩基础是深基础中应用最多的一种基础形式,它由若干个沉入土中的桩和连接桩顶的承台或承台梁组成。
2、桩的作用桩的作用是将上部建筑物的荷载传递到深处承载力较强的土层上,或将软弱土层挤密实以提高地基土的承载能力和密实度。
3、桩的分类(1)按受力情况分类端承桩:是穿过软弱土层而达到坚硬土层或岩层上的桩,上部结构荷载主要由岩层阻力承受;施工时以控制贯入度为主,桩尖进入持力层深度或桩尖标高可作参考 .摩擦桩:完全设置在软弱土层中,将软弱土层挤密实,以提高土的密实度和承载能力,上部结构的荷载由桩尖阻力和桩身侧面与地基土之间的摩擦阻力共同承受,施工时以控制桩尖设计标高为主,贯入度可作参考(2)按施工方法分类预制桩:根据沉入土中的方法,可分打入桩、水冲沉桩、振动沉桩和静力压桩等。
灌注桩:是在桩位处成孔,然后放入钢筋骨架,再浇筑混凝土而成的桩。
灌注桩按成孔方法不同,有钻孔灌注桩、挖孔灌注桩、冲孔灌注桩、沉管灌注桩等。
二、预应力管桩预应力混凝土管桩生产流程滚管式打桩机导杆式打桩机步履式打桩机三点支撑履带式打桩机柴油锤液压锤特大型液压锤(带消音罩)1、管桩的适用范围(1)预应力高强混凝土管桩(代号PHC)、预应力混凝土管桩(代号PC)适用于工业与民用建筑的基础。
铁路、公路与桥梁、港口、水利、市政、构筑物等工程的基础设计也可使用。
(2)预应力混凝土薄壁管桩(代号PTC)适用于工业与民用建筑的基础。
(3)PHC桩、PC桩适用于抗震设防烈度不大于7度的地区;若使用于抗震设防烈度较高的地区,则需另行验算。
(4)PTC桩适用于抗震设防烈度小于7度的地区, 抗震设防烈度为7度的地区需另行验算;PTC桩不得用于抗震设防烈度大于7度的地区。
(5)当基础工程的环境、地质条件对管桩有侵蚀性时,应采取有效的技术措施。
(6)管桩主要考虑承受竖向荷载。
2、管桩基础的主要施工方法(1)锤击法:柴油锤、液压锤;(2)静压法:抱压式液压压桩机;顶压式液压压桩机抱压顶压联合式液压压桩机抱压振动液压压桩机(3)引孔打(压)法;(4)钻孔植桩法;(5)中掘法(直径≥600)。
桥梁承台桩基础施工流程一、前期准备。
要说这前期准备啊,那可老重要了。
施工场地得先平整好,就像咱们要在平地上搭积木似的,坑坑洼洼的可不行。
然后呢,测量放线得整得明明白白的。
这就好比给施工画个地图,告诉大家在哪打桩,可不能瞎整。
各种施工设备也得准备齐全,像钻机这种关键家伙,就跟战士上战场的枪一样,少了可不行。
还有材料方面,钢筋、混凝土这些材料得保证质量,就像咱们做饭得用新鲜食材一样,材料不好,这桩基础可就不结实啦。
二、钻孔。
接下来就到钻孔这一步啦。
钻机启动的时候,那动静可不小,嗡嗡嗡的,就像一个大力士在干活。
在钻孔的过程中,得时刻注意孔的垂直度,要是孔打歪了,那这桩可就成了歪脖子树,一点都不稳固。
而且啊,钻孔的时候还得控制好速度,不能太快也不能太慢。
太快了呢,可能会把孔壁搞坏,太慢了又会耽误工期。
这个时候啊,操作人员就像一个超级细心的艺术家,一点点地雕琢着这个孔。
在钻孔的过程中,还得把钻出来的土渣及时清理出去,不然它们在孔里捣乱,也会影响施工质量的。
三、清孔。
钻完孔之后啊,孔里肯定有不少残渣,这时候就得清孔啦。
清孔就像是给孔来个大扫除,把那些乱七八糟的东西都清理出去。
可以用一些专门的设备,像泥浆泵之类的。
清孔的时候得特别小心,要把孔底的沉渣清理干净,但又不能把孔壁给破坏了。
这就好比咱们擦窗户,要把脏东西擦掉,还不能把玻璃刮花了,是不是还挺有难度的呢?四、钢筋笼的制作与安放。
再说说钢筋笼。
钢筋笼就像是桩基础的骨架一样,可重要了。
制作钢筋笼的时候,那钢筋得按照规定的尺寸和间距来摆放,就像我们排队一样,整整齐齐的。
钢筋之间的连接也要牢固,不能松松垮垮的,不然这骨架可就散架了。
制作好钢筋笼之后,就得把它安放到孔里去。
放的时候要轻拿轻放,可不能把孔壁给碰坏了,就像把一个珍贵的宝贝小心翼翼地放进盒子里一样。
五、灌注混凝土。
最后就是灌注混凝土这一步啦。
混凝土可是桩基础的血肉啊。
灌注的时候要保证混凝土的质量,要按照规定的配合比来搅拌。
桩基础施工全流程一、前期准备阶段在进行桩基础施工前,需要进行一系列的前期准备工作。
首先,需要对工程现场进行勘测和测量,确定桩基础的位置和布置。
其次,根据设计要求和工程地质条件,选择合适的桩型和桩径,并确定桩的数量和间距。
同时,还需要进行土壤力学试验和岩石力学试验,以确定桩身和桩端的承载力。
最后,根据设计要求编制桩基础施工方案和施工图纸。
二、桩基础施工准备阶段在正式进行桩基础施工前,需要进行施工场地的平整和清理工作,确保施工现场的安全和整洁。
同时,需要准备好施工所需的各种设备和材料,包括挖掘机、钢筋、混凝土等。
另外,还需要组织施工人员进行安全培训,并配备必要的安全防护设施。
三、桩基础施工过程1. 桩基础的打入通过挖掘机或人工的方式开挖桩基坑,并清理坑底。
然后,将桩机或打桩机安装到基坑中,通过调整桩机的位置和角度,使其与设计要求相符。
接下来,利用桩机或打桩机将桩体逐段打入地下,直至达到设计要求的桩长。
在打桩的过程中,需要根据实际情况进行水平和垂直的调整,以保证桩的位置和姿态的准确性。
2. 桩基础的加固在桩打入地下后,需要进行桩基础的加固工作。
首先,根据设计要求,在桩顶和桩底分别焊接钢筋笼。
然后,将钢筋笼置入桩孔中,并利用振动器和混凝土泵进行混凝土的浇筑。
在浇筑混凝土的过程中,需要逐层进行夯实,以确保混凝土的密实性和质量。
最后,将桩顶修整至设计要求的标高,并进行必要的养护。
四、桩基础施工结束阶段在桩基础施工完成后,需要进行一系列的收尾工作。
首先,对施工现场进行清理,清除施工过程中产生的杂物和残渣。
其次,对桩基础进行检查和验收,确保其符合设计要求和施工规范。
最后,编制桩基础施工记录和验收报告,并进行归档保存。
总结:桩基础施工是土木工程中的重要环节,其施工全流程包括前期准备、施工准备、施工过程和施工结束四个阶段。
在施工过程中,需要进行桩基础的打入和加固工作,以确保桩基础的稳定和承载力。
最后,在施工结束后,需要进行收尾工作和验收,以保证桩基础的质量和安全。
桩基挡土墙施工方法与技术措施1、桩基施工工艺桩基的施工工艺框图见表5-3。
桩基施工工艺流程图图5-32、桩基挡土墙施工方法A、桩基施工方法(1)整平孔口地面,作好桩区地表截、排水及防渗工作,在雨季施工时,孔口应搭设雨棚。
孔口地面以下0.5米应先做好加强衬砌。
孔口地面上加筑适当高度的锁口。
(2)准备好各项工序的机具器材和孔内排水通风照明设施。
(3)设置对滑坡变形、移动的观测,作好井下作业和撤出人员的安全防护技术措施。
(4)应分节开挖,每节高度宜为0.6-2.0m,挖一节立即支护一节。
围岩较松软、破碎或有水时,分节不宜过长,不得在土石层变化处和滑面处分节。
(5)挖孔要就地灌注不小于15cm厚的砼护壁。
在滑动面处的护壁应加强。
承受推力较大的护壁和孔口要加强衬砌,并要配置钢筋。
(6)在开挖过程中遇到孤石或基岩,需进行放炮,在滑动面以下土质坚硬的地方,为加快施工进度,也需爆破,爆破时要特别注意眼孔的布置和装药量,认真选择参数严格按规范施工。
(7)钢筋加工要严格按照设计要求进行,其操作要求见桥梁挖孔桩钢筋加工。
(8)灌注桩身时,需连续进行灌注。
B、承台施工方法(1)测量放样基坑开挖前测放出其平面位置及原地面标高,确定开挖范围和放坡坡度,基坑开挖边坡视边坡地质情况及基顶周围有无动静载确定。
一般采用1:0.75~1:1,坑底开挖尺寸应比设计多出50-100cm。
(2)基坑开挖采用人工配合挖掘机进行开挖,当开挖距基底标高30cm左右时,应停止机械开挖,改为人工开挖,以保证基底不被扰动。
基坑内若有水,排不采用基底四周设排水沟和集水井的办法。
开挖过程中应不间断抽水。
抽水能力应为渗水量1.5~2倍。
抽出的水应防止回流到基坑。
同时注意基坑开挖时间不可延续过长,应不间断施工。
(3)凿除桩头采用风镐和人工将多余桩头凿除至基桩顶部,进行无破损检测,必要时钻蕊取样,将桩身钢筋按设计要求整修成型。
(4)基底处理基坑开挖至比设计基底标高低5-10cm后,清除积水杂物和松散土质,做到基底清洁、平整,然后5-10cm素砼或碎石垫层(水泥砂浆抹面)作为承台,钢筋及砼施工的底模。
打桩施工流程
打桩施工是土木工程中常见的一项施工工艺,它在建筑基础工
程中起着非常重要的作用。
下面将详细介绍打桩施工的流程。
首先,进行场地准备工作。
在进行打桩施工前,需要对施工场
地进行准备,包括清理场地、确定施工范围、布置施工设备等。
清
理场地是为了保证施工过程中不受外部环境的影响,确定施工范围
是为了确保施工的准确性,布置施工设备是为了方便后续的施工操作。
其次,进行桩基定位。
在场地准备工作完成后,需要对桩基进
行定位。
桩基的定位需要根据设计要求和现场情况进行合理确定,
以确保桩基的位置准确无误。
接着,进行桩基预处理。
在进行桩基预处理时,需要根据实际
情况选择合适的预处理方式,包括清理桩基表面、修整桩基顶部等。
预处理的目的是为了确保桩基与地基之间的联系牢固,提高桩基的
承载能力。
然后,进行桩基施工。
桩基施工是整个打桩工程的核心环节,
需要根据设计要求选择合适的施工方法和施工设备,进行桩基的钻孔、灌浆、浇筑等工序,以确保桩基的质量和稳定性。
最后,进行桩基验收。
在桩基施工完成后,需要进行桩基的验
收工作,包括对桩基的外观质量、尺寸精度、承载能力等进行检查,以确保桩基符合设计要求和施工标准。
总的来说,打桩施工流程包括场地准备、桩基定位、桩基预处理、桩基施工和桩基验收等环节。
只有严格按照这些流程进行施工,才能确保打桩工程的质量和安全。
1.1人工挖孔灌注桩施工工艺流程图
2.钻孔灌注桩
2.1回转钻成孔正循环清孔工艺流程图
2.2回转钻成孔反循环清孔工艺流程图
2.3冲击成孔正循环清孔工艺流程图
2.4旋挖桩
旋挖钻进成孔工艺:旋挖成孔首先是通过底部带有活门的桶式钻头回转破碎岩土,并直接将其装入钻斗内,然后再由钻机提升装置和伸缩钻杆将钻斗提出孔外卸土,这样循环往复,不断地取土卸土,直至钻至设计深度。
对粘结性好的岩土层,可采用干式或清水钻进工艺,无需泥浆护壁。
而对于松散易坍塌地层,或有地下水分布,孔壁不稳定,必须采用静态泥
3
3.2引孔沉管灌注桩施工工艺流程图
4.长螺旋压力灌注桩
4.1长螺旋压灌砼桩施工工艺4.2长螺旋压浆桩施工工艺
5.2预制桩静压法施工工艺流程
7.搅拌桩
7.1喷浆搅拌桩施工工艺流程图
8.挤密桩。
桩基础施工全流程一、前期准备桩基础施工前需要进行充分的前期准备工作。
首先是进行地质勘察,确定地下的土层情况,包括土层的类型、厚度、稳定性等。
然后根据勘察结果进行桩基础设计,确定桩的类型、直径、长度等参数。
接下来是进行施工方案的制定,包括施工工艺、施工方法、施工顺序等。
二、桩基础施工准备在正式施工之前,需要进行一系列的施工准备工作。
首先是清理施工场地,将场地上的杂物清除干净,保持整洁。
然后是搭建施工场地的临时设施,包括办公室、工棚、仓库等。
接着是准备施工所需的设备和材料,如挖掘机、打桩机、钢筋、混凝土等。
三、桩基础施工过程1. 桩基础开挖:根据设计要求,在场地上用挖掘机进行桩基础的开挖。
开挖的深度和直径要符合设计要求,并保持垂直度和平整度。
2. 桩基础清理:将开挖的基坑清理干净,去除松软土层和其他杂物,确保桩基础底部的土层坚实。
3. 桩基础处理:对于需要加固的土层,可以进行桩基础处理。
常见的处理方法有灌注桩、钻孔灌注桩等,通过注入水泥浆或混凝土来加固土层。
4. 桩基础施工:根据设计要求和施工方案,使用打桩机将桩体打入地下。
打桩时要保证桩体的垂直度和稳定性,桩顶要与地面平齐。
5. 桩基础质量检测:在桩基础施工过程中,需要进行质量检测。
常用的检测方法有超声波检测、钻孔取样等,通过检测桩体的质量来确保桩基础的稳定性和承载力。
6. 桩基础灌注:在桩体打入地下后,需要进行桩基础灌注。
首先是在桩孔中灌注排水材料,用来防止地下水的渗透。
然后是用混凝土灌注桩孔,填充桩孔的空隙,增加桩基础的强度和稳定性。
7. 桩基础养护:桩基础灌注完成后,需要进行养护。
养护的目的是保持混凝土的湿度,促使其充分硬化和强化。
养护时间一般为7-14天,期间需进行浇水养护,防止混凝土开裂和变形。
四、桩基础验收和后期工作桩基础施工完成后,需要进行验收。
验收的内容包括桩基础的尺寸、形状、质量等,以及桩基础与上部结构的连接情况。
只有通过验收,桩基础才能正式投入使用。
预应力管桩施工过程一、预应力管桩施工操作工艺按照以下顺序施工1、测量放线:(1)、在打桩施工区域附近设置控制桩与水准点不少于2个,其位置以不受打桩影响为原则(距离操作地点40m以外)。
轴线控制桩应设置在距外墙桩5~10m处,以控制桩基轴线和标高。
(2)、桩基的轴线和标高均已测量完毕,经过检查复核并应办理预检手续,归档备查。
2、测放桩位根据控制点设定建筑物轴线及角桩,按桩位布置图测放桩位,并在桩位中心用钢筋或竹签作好标记,桩位测放后应经监理单位复核后方能施工。
为防止桩机就位时桩机自重挤压土体使已测放桩位移位,在桩机就位后正式压桩前应复核正确,桩定位偏差控制在20mm以内。
3、竖桩与插桩根据已设定的控制点用直角坐标法对桩位进行二次复核,正确后下放首节桩,首节桩桩尖的中心点与桩位的偏差控制在20mm以内。
4、垂直度控制当桩尖进入土层500mm后,用经纬仪调整桩机桩架处于垂直位置,然后再调整首节桩的垂直度(经纬仪一般架设在距桩机15m以外),使桩架与桩身保持平行,其精度误差小于桩长的1%(首节管桩插入地面时的垂直度偏差不得超过0.5%),即可压桩,并在压桩过程中进行跟踪监测,指挥桩架保持其精度。
如果超差,必须及时调整,但需保证桩身不裂,必要时拔出重插应尽可能拔出桩身,查明原因,排除故障,以沙土回填后再进行施工,不允许采取强扳的方法进行快速纠偏,而将桩身拉裂、折断。
5、打桩(1)、打桩(锤击施工)用桩架的导滑夹具或桩箍将桩嵌固在桩架两导注中,垂直对准桩中心,缓缓放下插入土中,待桩位置及垂直度校正后即可将锤连同桩帽压在桩上,同时应在桩的侧面或架上设置标尺。
并做好记录,始可击桩,如桩头不平时,用麻袋或厚纸板垫平,亦可先环氧砂浆补抹平整。
开始打桩应起锤轻压或轻击数锤,观察桩身,桩架,桩锤等垂直一致后,即可转入正常施打,开始打桩时,落距应较小,入地一定深度待桩稳定后,再按需求的落距进行施打。
沉桩应用适合桩头尺寸的桩帽和弹性衬垫,以缓和打桩时的冲击和使打桩应力均匀分布,延长撞击的持续时间以利桩的贯入。
一、离心管桩接桩施工工艺
1、桩定位、及送桩
2、接桩对位,工人用撬杆调整
3、焊接
4、刷防锈漆
套管成孔灌注桩
套管成孔灌注桩是目前采用最为广泛的一种灌注桩。
它有锤击沉管灌注桩、振动沉管灌注桩和套管夯打灌注桩三种。
利用锤击沉桩设备沉管、拔管时,称为锤击沉管灌注桩;利用激振器振动沉管、拔管时,称为振动沉管灌注桩。
图4.2.3为沉管灌注桩施工过程示意图。
(1)锤击沉管灌注桩。
锤击沉管灌注桩是利用锤击打桩机,将带有活瓣式桩靴或设置钢筋混凝土预制桩尖的钢套管锤击沉入土中,然后边浇筑混凝土边用卷扬机拔桩管成桩。
施工开始时,将桩管对准预先埋设在桩位上的预制钢筋混凝土桩靴上,校正桩管的垂直度后,即可用锤打击桩管。
当桩管打至要求的贯入度或标高后,检查管内无泥浆或水进入,即可灌注混凝土。
待混凝土灌满桩管后,开始拔管,拔管时要使速度均匀,同时使管内混凝土保持略高于地面,这样一直到桩管全部拔出地面为止。
源:中华考试网
上面所述工艺过程,属于单打灌注桩的施工。
为了提高桩的质量和承载力,还可以采用复打扩大灌注桩。
其施工方法是在第一次打完并将混凝土灌注到桩顶设计标高、拔出桩管后,清除管外壁上的污泥和桩孔周围地面上的浮土,在原桩位上第二次安放桩靴做第二次沉管,使未凝固的混凝土向四周挤压扩大桩径,然
后再第二次灌注混凝土。
桩管在第二次打入时,应与第一次的轴线重合,并必须在第一次灌注的混凝土初凝之前完成扩大灌注第二次混凝土工作。