喇叭来料检验规范C
- 格式:docx
- 大小:101.98 KB
- 文档页数:5
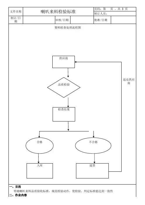
文件编号:喇叭网检验规范适用于:全机种修改履历:审核:确认:编成:文件编号:一、目的:明确产品检验标准,确保产品质量满足公司和客户要求。
二、范围:适用于本公司所有烤漆抽类喇叭网。
三、相关文件:参照公司发行的相关产品资料。
四、定义:4.1缺陷定义:4.1.1 CR(Critical):致命缺陷,对产品使用、维修或有关人员身造成危害或不安全的缺陷,抵触安全规格要求的,或妨碍到某些主要的功能的缺陷;4.1.2.MAJ(Major):主要缺陷,即不构成致命的,但可能造成故障,或对单位产品预定的目的使用性能会有严重的降低的缺陷;4.1.3. MIN(Minor):次要缺陷,只对产品的有效使用或使用性能有轻微的影响的,一般为外观或机构组装之差异。
五、检验所需仪器和设备:刀片、磁铁、3M胶、Nacl、蒸馏水、容器、电子称、烤箱、1H、2H、3H、6H……等铅笔。
六、检验水准:按照MIL-STD-105E一般检验Ⅱ级水准及主要AQL水平进行抽验,允收标准:严重缺陷AQL为:CR=0 ;主要缺陷AQL为:MA=0.65;次要缺陷AQL为:MI=1.5。
七、检验项目:7.1包装检验:外包装以能承受搬运振动的纸箱为主,不允许有受潮或破损现象,每个包装袋须有清晰明显的标贴,标贴内容应包括:供应商、品名规格、包装数量、物料编号、生产日期或批号以便于追溯。
7.2外观检验项目定义:砂点:由于被喷涂面不清洁,使经喷后表面产生细小颗粒状凸点。
文件编号:砂眼;经喷涂后表面产生细小的凹坑。
杂色:喷涂环境不稳定(如温度或工具不清洁,使喷出的颜色部分有差异)。
聚油:喷漆后由于油漆的流动导致边缘处聚集部分油漆。
哑色:喷涂层颜色不光亮,有发“木”感或呈雾气状。
漏喷:应该喷涂的部分未喷到位。
薄油:喷涂层厚度不足以至隐约显出工件底色。
气泡:喷涂时空气进入漆膜,形成细小气泡。
堵孔:喷涂时由于油漆将喇叭网孔堵住。
弯脚:喇叭网定位脚弯曲,在装配时容易断掉。
来料检验规范编号:受控状态:分发号:来料检验规范修改页目的:对IQC品检人员的作业方法及流程进行规范,提高IQC检验作业水平,控制来料不良,提高品质。
1、实用范围:来料进料检验2、质检步骤(1)来料暂收(2)来料检查(3)物料入库3、质检要点及规范(1)来料暂收:仓管收到供应商的送货单后根据送货单核对来料:数量,种类及标签内容等无误后送交IQC 检验,予以暂收,并签回货单给来料厂商。
(2)来料检查:IQC品检人员收到进料验收单后,依验收单和采购单核对来料与标签内容是否相符,来料规格,种类;是否相符,如不符拒检验,并通知仓管、采购及生管,如符合,则进行下一步检验。
一般先抽查来料的一定比例(以仓库来料质检标准),查看品质情况,再决定入库全检,还是退料。
(3)检查内容:(1)外观:自然光或日光灯下,距离样品30CM目视;(2)尺寸规格:用卡尺/钢尺测量,厚度用卡尺/外径千分尺测量;(3)检贴验合格后,填写《物料检验表》并通知仓库入库,仓库要按材料类型及种类分开放置标示清楚,(4)物料入库:检查完毕,要提交《原材料进库验货》交上级处理,并对合格暂收物料进行入库登记。
异常物料特《不良品评审单》评审后,按批示处理。
4、注意事项(1)要保持物料的整洁。
(2)贵重物品及特殊要求物料要逐一检查。
(3)新的物料需要给技质部确认。
5、异常处理办法物料在检验过程中发现异常,即时向采购及品管主管反映,录求解决方法,尽快处理。
6、不合格品的处理:(1)IQC判定为不合格时,在产品包装外贴上不良品标识,把产品转移到不合格/退货区域,并开出不良品评审单,送采购/仓库/生产/业务签名后发到供应商,如果产生扣罚还需要通知财务。
供应商未在2个工作日内回复的报仓库直接作退货处理;如为急料,经品质主管与采购,生产,业务协商后,呈总经理审批,按评审意见办理;(2)跟据供应商提供的改善方案,IQC品管员对下批来料改善效果进行确认,并记录结果。
FILE. NO 文件编号WIQC-M-019REVISION修订号V1.0WORKING PROCEDURE工作程序TITLE标题手机FPC通用检验标准Rev. 修订Eff. Date实施日Amendment Details修订细节Prepared by修订人Dept部门Distribution List分发记录Departments部门Qty数量Departments部门Qty数量BU1 事业一部【1 】Purchasing 采购部【1 】BU2 事业二部【1 】DE 工程部【1 】BU3 事业三部【1 】P&D 产品规划部【1 】BU4事业四部【1 】Q&A品质部【1 】Approved by 批准人Signature签名Controlled Copy StampDepartment Head部门负责人_________________FILE. NO 文件编号WIQC-M-019REVISION修订号V1.0WORKING PROCEDURE工作程序TITLE标题手机FPC通用检验标准1.目的1.1适应本公司FPC物料的来料检验需要。
2. 范围2.1适用于本公司所有FPC喇叭来料检验。
3.定义3.1 抽样方案:ISO2859-1:1999 class II级一般抽样方案。
合格质量水平:B类=0.4、C类=1.0。
3.2 致命缺陷(Critical Defect):产品存在对使用者的人身及财产安全构成威胁的缺陷或造成不能使用的缺陷或严重影响主要性能指标、功能不能实现的缺陷,A类。
3.3 严重缺陷(Major Defect):功能缺陷影响正常使用,性能参数超出规格标准;漏元件、配件或主要标识,多出无关标识及其他可能影响产品性能的物品;包装存在可能危及产品形象的缺陷,导致最终客户拒绝购买的结构及外观缺陷,B类。
3.4 次要缺陷(Minor Defect):影响外观的缺陷,不影响产品使用,最终客户有可能愿意让步接受的缺陷,C类。
深圳市昶宇电子有限公司文件版次:A/O制定日期:2012-2-8文件标题:喇叭来料检验规范制定部门:品质部页次:1/3 目的:确定检验作业条件,确定抽样水准,明确检验方法,建立判定标准,以确保产品品质。
.适用范围:本检验规范适用我司喇叭检验作业。
权责单位:本检验规范由品质部制定,管理者代表核准后发行; 所制定之规格,如有修改时,须经原制定单位同意后修改之应用文件:国家标准GB/一般检查水平II)、工程图纸、工程样板。
检验标准:5.1.1国家标准GB/一般检查水平II,正常检验、单次抽样计划,AQL订定为CRI=0 、MAJ= 、MIN=5.1.2相关抽样标准或判定标准,可视品质状况或客户要求等做修正。
定义缺点分类:6.1.1.严重缺陷(CRI):可能对机器或装备的操作者造成伤害;潜在危险性的效应,会导致与安全有关的失效或不符合政府法规;影响机械或电气性能,产品在组装后或在客户使用时会发生重大品质事件的。
深圳市昶宇电子有限公司文件版次:A/O制定日期:2012-2-8文件标题:喇叭来料检验规范制定部门:品质部页次:2/3 6.1.2主要缺陷(MAJ):性能不能达到预期的目标,但不至于引起危险或不安全现象;导致最终影响产品使用性能和装配;客户很难接受或存在客户抱怨风险的产品6.1.3 .次要缺陷(MIN):不满足规定的要求但不会影响产品使用功能的;客户不易发现,发现后通过沟通能使客户接受的。
检验项目检验项目检验标准检验工具及方法缺陷界定CRI MAJ MIN外观尺寸规格符合样品尺寸,并在公差范围内。
卡尺样品√音圈阻抗符合样品,阻抗在公差范围内万用表√磁铁比对样品,符合磁铁材质,颜色,尺寸规格卡尺√外观音膜尺寸比对样品,符合音膜尺寸厚度,条纹方向目视游标卡尺√极性标识用记号标识正极性焊接点目视√PCB 锡点饱满光滑,焊接3秒内焊盘不脱落目视√包装用吸塑包装,无铜丝等杂物目视√文件编号:WI-PZ-037。
来料检验标准来料检验是为检验生产用物料质量是否符合工程技术要求,严格控制不合格品流程,确保产品质量。
一、来料检验方法:1)外观检测:一般用目视、手感、样品进行验证;2)尺寸检测:一般用卡尺、千分尺、卷尺、直尺、百分表、塞规和平台等量具验证;3)结构检测:一般用拉力器、扭力器、压力器验证;4)特性检测:如电气的、物理的、化学的、机械的特性,一般采用检测仪器和特定方法来验证。
二、来料检验方式的选择:1)全检:适用于来料数量少、价值高、不允许有不合格品物料或工厂指定进行全检的物料。
2)抽检:适用于平均数量较多,经常性使用的物料。
三、来料检验的程序:1)品质工程师制定检验和试验的标准、作业指导书,由经理批准后发放至检验人员执行。
检验和试验的标准包括材料名称、检验工程、标准、方法、记录要求。
2)采购部根据到货日期、到货品种、规格、数量等,通知库房和品质部准备来验收和检验工作。
3)检验员接到检验通知后,按检验标准进行检验,并填写检验记录和检验日报。
4)检验完毕后,对合格的来料贴上合格标识,通知采购与库房人员办理入库手续。
5)如果是生产急需的来料,在来不及检验和试验时,须按紧急放行规定的程序执行。
6)检测中不合格的来料应及时填写?产品检验不合格品单?,由品质工程师确认并给出参考意见,提交经理作出处理;重大问题必须提交品质部经理与工程部、生产部审核后再作出处理;不合格的来料不允许入库,并进行相应标识,将移入不合格品库〔区〕隔离,采购部按处理意见办理相关事宜;保证不合格的零件、成品不装配,不合格的产品不出厂。
7)来料检验和试验的记录由品质部文员每日收取,做好数据统计汇总后,整理成册存档备查,按规定期限妥善保存。
8)检验时,如来料检验员无法判定是否合格,应立即请品质工程师或经理会同验收来判定是否合格,会同验收的参与人员必须在检验记录表内签字。
9)回馈来料检验情况,并将来料供给商的交货质量情况及检验处理情况记录,每月汇总于供给商的交货质量月报内。
有限公司扬声器来料检验标准文件编号: SCT/JY 8.2-62 版本: A.0 生效日期: 2011-7-19 拟制:审核:批准:目录封面 (1)目录 (2)修订履历 (3)1.目的 (4)2.适用范围 (4)3.职责 (4)4.引用文件 (4)5.检验仪器设备 (4)6.抽样标准 (4)7. 定义 (4)7.1 缺陷分类 (4)7.2 不合格品分类 (4)8. 检验条件 (4)9. 检验内容 (5)9.1 物料包装检验 (5)9.2 核对来料是否与样板相符 (5)9.3 外观检查 (5)9.4 尺寸检测 (5)9.5 型合性组装检查 (5)9.6 性能测试 (5)9.7 可靠性检查 (6)9.8 RoHS (6)10. 缺陷分类 (6)11. 相关文件 (7)12. 记录要求 (7)13. 注意事项 (7)修订履历序号日期修改内容概述状态修改人审核人批准人2011.7.19 制定新标准 A.0 邓少云莫冬秋王海波1. 目的制定本标准在于规范扬声器来料品质检验,确保提供的产品符合客户的要求。
2. 适用范围适用于有限公司扬声器来料检验。
3. 职责本检验标准由品管部制定和修订升版,由品管部IQC负责执行。
4. 引用文件GB2828-2003 II抽样计划表、工程图纸、工程样板。
5. 检验仪器设备数显卡尺、影像测绘仪、万用表、扫频测试仪、跌落试验机、烙铁。
6. 抽样标准:6.1 正常检验:外观依据GB/T 2828.1-2003 正常检检一次抽样方案,AQL订定为CRITICAL 0 ,MAJOR 0.25 及MINOR1.0,尺寸每批抽测5PCS,每种电性能、可靠性测试每批抽测3PCS,RoHS每批抽测1PCS.6.2 加严检验:外观依据GB/T 2828.1-2003 加严检检一次抽样方案,AQL订定为CRITICAL 0 ,MAJOR 0.25 及MINOR1.0,尺寸每批抽测5PCS,每种电性能、可靠性测试每批抽测3PCS,RoHS每批抽测1PCS.6.3 呆滞料:外观依据GB/T 2828.1-2003 正常检检一次抽样方案,CRITICAL:0 ;MAJOR:0.15;MINOR:0.65。
喇叭检验规范
项目检验项目验收标准使用设备及
检验方法
记录内容
判定分类
CR MAJ MIN
外观标识
标识完备、准确、无错误,型号规格符
合物料清单的规定
目视
合格则在检验报
告中注明合格,不
合格写明不合格
数量、项目。
√
标识附着力
标识清晰,用浸酒精的棉球擦拭三次后
无变化。
√外观检查
无变形、无破损、无污迹,引脚无氧化、
锈蚀、弯曲、断缺等现象。
√
包装
包装良好, 随附出厂时间及检验合格证
(零散物料除外)
√
尺寸体积体积与样品要求一致。
接插
试验
√
成形状况在PCB板上试插容易。
√
特性◆可焊性
温度260±10℃,时间2S ,渗锡表面光滑,
无起珠和波纹状。
恒温烙铁√◆声响
给蜂鸣器/喇叭安装在相应合格成品上,
蜂鸣器应发声响亮且无杂音,喇叭还应
按照产品标准要求测试输出声响分贝。
合格成品
声级计
记录检测具体方
法、数量及结果。
√
注:1、对于测试值记录,把所有抽样记录分为6组,每组记录一个范围,分别填写在来料检验报告特性表格中。
来料检验规范来料检验是为确保产品质量,检验生产用物料是否符合工程技术要求,严格控制不合格品流程。
来料检验方法包括外观检测、尺寸检测、结构检测和特性检测。
来料检验方式的选择包括全检和抽检。
来料检验的程序包括品质工程师制定检验和试验规范、采购部通知库房和品质部准备来验收和检验工作、检验员按规范进行检验并填写记录、对合格的来料贴上合格标识并办理入库手续、不合格品移入不合格品库隔离等。
来料检验的结果是检验合格,来料检验员应在检验合格证上签名并通知采购与库房收货。
在部装过程中,要对部件的装配质量进行检查,确保装配质量符合要求。
具体的检查内容包括以下几个方面:1)装配顺序和方法要正确,要按照工艺文件的要求进行装配。
2)零件的配合间隙要符合要求,不得有过紧或过松的现象。
3)螺纹连接件要按照规定的扭矩进行拧紧,确保连接牢固。
4)液压、气动管路的连接要检查是否密封,防止漏油、漏气。
5)电气连接要检查是否接触良好,防止出现接触不良的情况。
6)装配后要进行功能测试,确保产品的各项功能正常。
7)装配过程中要注意防止划伤、碰撞等情况的发生,保证零件表面的完整性。
8)装配完成后要进行清洗、除尘等工作,保持产品的清洁度。
二、总装的检验将部装好的组(部)件按工艺规程装配成完整的产品的过程称为总装。
总装检验的依据:标准、图纸、工艺文件(作业指导书)。
总装检验的内容包括以下几个方面:1)总装过程中要注意各部件之间的配合,确保装配质量符合要求。
2)总装完成后要进行功能测试,确保产品的各项功能正常。
3)总装后要进行清洗、除尘等工作,保持产品的清洁度。
4)总装完成后要进行外观检查,确保产品的外观质量符合要求。
5)总装完成后要进行质量记录,包括检验记录、处理记录等。
检验人员应按照规范要求,使用巡回方法对每个装配工位进行监督检查,确保工人遵守装配工艺规程,检查是否存在错装和漏装的零件。
装配完毕后,应按规定对产品进行全面检查,并做完整的记录备查。
来料检验规范来料检验是为检验生产用物料质量是否合乎工程技术要求,严格控制不合格品流程,确保产品质量。
一、来料检验方法:1)外观检测:一般用目视、手感、样品进行验证;2)尺寸检测:一般用卡尺、千分尺、卷尺、直尺、百分表、塞规和平台等量具验证;3)结构检测:一般用拉力器、扭力器、压力器验证;4)特性检测:如电气的、物理的、化学的、机械的特性,一般采用检测仪器和特定方法来验证。
二、来料检验方式的选择:1)全检:适用于来料数量少、价值高、不允许有不合格品物料或工厂指定进行全检的物料。
2)抽检:适用于平均数量较多,经常性使用的物料。
三、来料检验的程序:1)品质工程师制定检验和试验的规范、作业指导书,由经理批准后发放至检验人员执行。
检验和试验的规范包括材料名称、检验项目、标准、方法、记录要求。
2)采购部根据到货日期、到货品种、规格、数量等,通知库房和品质部准备来验收和检验工作。
3)检验员接到检验通知后,按检验规范进行检验,并填写检验记录和检验日报。
4)检验完毕后,对合格的来料贴上合格标识,通知采购与库房人员办理入库手续。
5)如果是生产急需的来料,在来不及检验和试验时,须按紧急放行规定的程序执行。
6)检测中不合格的来料应及时填写《产品检验不合格品单》,由品质工程师确认并给出参考意见,提交经理作出处理;重大问题必须提交品质部经理与工程部、生产部审核后再作出处理;不合格的来料不允许入库,并进行相应标识,将移入不合格品库(区)隔离,采购部按处理意见办理相关事宜;保证不合格的零件、成品不装配,不合格的产品不出厂。
7)来料检验和试验的记录由品质部文员每日收取,做好数据统计汇总后,整理成册存档备查,按规定期限妥善保存。
8)检验时,如来料检验员无法判定是否合格,应立即请品质工程师或经理会同验收来判定是否合格,会同验收的参与人员必须在检验记录表内签字。
9)回馈来料检验情况,并将来料供应商的交货质量情况及检验处理情况记录,每月汇总于供应商的交货质量月报内。