物资采购、领取流程图
- 格式:doc
- 大小:45.00 KB
- 文档页数:2
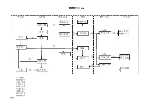
业务流程图1、车间填写领料单到仓库领料,库长根据用料计划审批领料单,未批准的领料单退回车间。
库工收到已批准的领料单后,首先查阅库存帐,若有货,则通知车间前来领取所需物料,并登记用料流水账,否则通知采购员缺货。
采购员根据缺料通知,查阅订货合同单,若已定货,则向供货单位发出催货请求,否则就临时申请补充订货。
供货单位发出货物后,立即向订货单位发出提货通知。
采购员收到提货通知单后,就可办理入库手续。
接着是库工验收入库,并通知车间领料。
此外,仓库库工还要根据库存帐和用料流水账定期生成库存的报表,呈送有关部门。
2、试根据以下业务过程画出领料业务流程图:车间填写领料单给仓库要求领料,库长根据用料计划审批领料单,未经批准的领料单退回车间,已批准的领料单被送给仓库管理员,仓库管理员查阅库存账,若有货,通知车间领料,也就是把领料通知单发给车间,否则,将缺货通知单通知供应科。
数据流程图1、银行计算机储蓄系统的工作过程大致如下:储户填写的存款单或取款单由业务员键入系统,如果是存款单系统记录存款人姓名、住址(或电话号码)、身份证号码、存款类型、存款日期、到期日期、利率及密码(可选)等信息,并印出存款存单给储户;如果是取款而且存款时留有密码,则系统首先核对储户密码,若密码正确或存款时未留密码,则系统计算利息并打印出利息清单给储户。
请用数据流图描绘本系统的功能,并用实体-联系图描绘系统中的数据对象。
2、目前住院病人主要由护士护理,这样做不仅需要大量护士,而且由于不能随时观察危重病人的病情变化,还会延误抢救时机。
某医院打算开发一个以计算机为中心的患者监护系统,清分层次地画出描述本系统功能的数据流图。
医院对患者监护系统的基本要求是随时接受每个病人的生理信号(脉搏、体温、血压、心电图等),定时记录病人情况以形成患者日志,当某个病人的生理信号超出医生规定的安全范围时向值班护士发出警告信息,此外,护士在需要时还可以要求系统输出某个指定病人的病情报告。
A-0-21-1A-0-21-1 (1)分供方评价和选择业务流程图 (2)物资计划工作业务流程图(1) (3)(周转计划业务) (3)物资计划工作业务流程图(2) (4)(进货计划业务) (4)物资招标采购业务流程图(业务室) (5)物资订货业务流程图(业务室) (6)物资采购业务流程图(业务室) (7)物资采购付款业务流程图(业务室) (8)物资保管业务流程图 (9)物资发放业务流程图(业务室) (11)物资销售业务流程图 (12)物资盘盈盘亏业务流程图 (13)物资数量调整业务流程图 (14)物资价格调整业务流程图 (15)物资统计业务流程图(手工统计) (16)物资核算业务流程图(手工统计) (17)物资报损业务流程图 (18)进口材料(设备)通关及核销业务流程 (20)修船(改装)工程物资出口报关业务流程图 (21)废旧物资回收业务流程图 (22)废旧物资销售业务流程 (23)分供方评价和选择业务流程图否A-0-21-2物资计划工作业务流程图(1)(周转计划业务)A-0-21-3 物资计划工作业务流程图(2)(进货计划业务)购A-0-19-4物资招标采购业务流程图(业务室)招标采购程序 是否议商务谈判 新制部 技术部 物资处订货程序否 是决定供应商注:虚线部分为外部业务A-0-21-5物资订货业务流程图(业务室)决定供应商10万元以上合同根据批准的进货计划选择供货单位并进行联系 进行业务恰谈 合同文本的起草 处长和业务室主任对合同文本进行审查 审查是否 调查供货单位的资信情况 评标小组开标 评标资料归档 交监察处备案A-0-21-6 物资采购业务流程图(业务室)A-0-19-8 物资采购付款业务流程图(业务室)A-0-21-9 物资保管业务流程图A-0-21-10物资发放业务流程图(业务室)无A-0-21-11 物资销售业务流程图A-0-21-12 物资盘盈盘亏业务流程图A-0-21-13物资数量调整业务流程图A-0-21-14 物资价格调整业务流程图物资统计业务流程图(手工统计)物资核算业务流程图(手工统计)A-0-21-17 物资报损业务流程图A-0-21-18进口材料(设备)通关及核销业务流程注:虚线部分为外部业务A-0-21-19修船(改装)工程物资出口报关业务流程图A-0-21-20 废旧物资回收业务流程图A-0-21-21 废旧物资销售业务流程领11 导签字。
固定资产及办公用品的采购和领用(010)1.流程的发起人是使用人或部门经理。
2.部门经理负责审批领用的合理性。
3.行政部判断是否有库存,有库存的办公用品可直接领用。
4.行政部经理负责审批采购的合理性。
5.财务部负责审批采购金额的合理性,公司资金是否可以支付。
6.总经理助理负责全局把控。
对公支付流程(011)1.有对应销售合同的采购合同款项支付,发起人为技术部指派专人负责。
需要在支付凭证后附立项表,合同正本。
2.技术部经理负责审批付款申请的真实性。
3.销售部经理负责确认可以付款。
4.商务部经理负责确认所付款项与立项表一致。
5.财务部确认是否有资金可以按时支付。
6.总经理助理总体把控。
7.采购合同的对公支付执行人为商务专员。
1.其他对公支付发起人为付款经办人,(付款凭证后附正是合同或协议及购买说明)2.部门经理负责审核付款的真实性3.财务部负责确认是否有资金可以按时支付。
4.总经理助理总体把控。
立项流程(012)1.立项流程的发起人是也业务员,执行人是商务专员。
2.销售部负责审批流程的真实性,落实销售金额与成本金额。
3.技术部经理负责审核技术可行性。
4.商务部经理负责审核业务可实施性,例如交货日期,到款日期,到货日期,到岗日期;核实人员成本等。
5.财务部负责审核财务风险,例如资金情况,税负比例,利润点等。
6.总经理负责审核立项表整体情况。
销售合同盖章流程(013)1.销售合同盖章的发起人为业务员,执行人为业务员。
2.销售合同盖章需要填写合同盖章申请单,后附立项表,合同正本。
3.销售部负责审批初步审核合同中商务条款的可行性,落实销售金额与成本金额。
4.技术部经理负责审核技术可行性。
5.商务部经理负责从商务角度审核合同的风险,例如交货日期,到款日期,到货日期,到岗日期;核实人员成本等,并填写立项编号及合同编号。
6.财务部负责审核财务风险,例如资金情况,税负比例,利润点等。
7.总经理负责审核合同的整体情况。