最全最精典大型公司全套流程图
- 格式:ppt
- 大小:4.80 MB
- 文档页数:157
157页完整版,大型公司全套流程图(全面清晰),果断收藏为职场精英打造个人知识体系,升职加薪!
大型公司全套流程图
人事行政作业
组织机构图计划编制报批程序
定岗定编计划报批程序
定编外用人需求申请程序
定编内用人需求申请程序
新进人员录用及薪酬确定程序
干部竞聘录用程序
绩效考核运行程序
决策性人事调动程序
部门间非干部调动申请程序
员工辞职报批程序
员工辞退开除报批程序
员工年度、半年度培训计划报批程序
送外培训实施程序
内部培训实施程序
工人请假申请程序
职员及干部请假申请程序
员工请假核决权限表
工人出差申请程序
职员出差申请程序
一级子公司出差核决权限表(国内)
行政部分
收文传阅
发文签审程序
发文用印程序
ISO 质量体系文件
ISO受控文件更改流程
廉洁物资上缴流程
印章使用程序
印章、证照外借程序
证照复印使用程序
出门证管理程序
外来参观接待程序
复印管理
涉外宣传及企业文化活动流程
广告宣传含印刷品工作流程
常住员工入住公寓流程
常住员工退房流程
客人入住流程
客餐管理流程。
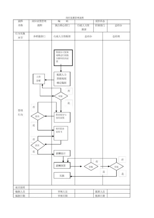
岗位设置管理流程•人员编制管理流程・用人申请流程•公司内部招聘流程•公司外部招聘流程流程公司外部招聘编码受控状态新员工入职流程・劳动合同管理流程流程劳动合同管理受控状态iii新员工试用期满i鬲受控状态岗位轮换流程流程岗位轮换编码受控状态名称行为实施环节流程执行核心部门行政人力资源部控制部门总经办员工原工作部门负责人公司员工行政人力资源部接收部门负责人■-根据员工职业生涯规戈L编制轮换计划.■对轮换提出意见->■1d对轮换提出意见管理行为相关说明编制人员编制日期办理手续审核人员审核日期批准人员批准日期流程员工工作调动编码受控状态员工工作调动流程职务任命流程流程职务任命编码受控状态提请任管、财务负责人任命除财务负责人之外.的部门级管理人员任命权限根据《公司法》而定。
此处任命范围,不包括股东会、董事会选举人员批准人员 批准日期考勤管理流程流程 考勤管理 编码受控状态名称 行为实施 环节 管理 行为流程 各职能部门 提出任命名单 (部门负责人以下职位)执行核心部门 行政人力资源部制定晋升制度及各级人员任职资格行政人力资源部总经理办一公会议控制部门 总经理 总经办董事会下发任命通知审议相关说明 编制人员 编制日期审核人员 审核日期・员工请假管理流程・员工出差管理流程・绩效管理工作流程绩效管理工作流编码受控状态・员工绩效考核流程流程名称员工绩效考核流程编码受控状态行为实施环节・薪酬方案审批流程流程 薪酬方案审批编码受控状态名称流程执行核心部门控制部门总经办管理 行为相关说明 编制人员 编制日期根据通知精神,填写考核表,进行部门内考核审核人员 审核日期批准人员 批准日期流程名称工资发放流程流程编码受控状态执行核心部门「行政人力资源部控制部门总经办・工资发放流程•员工奖励流程流程员工奖励编码受控状态行为实施球节各职能部门行政人力资源部分管主管总经理财务部呈报奖励名单和事由,提出奖励方案发放 奖金档案记录相关说明 编制人员 审核人员 批准人员编制日期 审核日期 批准日期员工申诉流程流程员工申诉 编码 受控状态名称 流程 执行核心部门 行政人力资源部 控制部门 总经办理为实施奖励同流程培训管理总体编码受控状态控制部门总经办名称流程执行核心部门行政人力资源部•培训计划流程流程名称培训计划流程编码受控状态执行核心部门行政人力资源部控制部门总经办流程培训方案制定编码受控状态控制部门总经办名称流程执行核心部门行政人力资源部流程外派培训管理编码受控状态名称流程执行核心部门行政人力资源控制部门总经办部流程员工辞职审批编码受控状态名称流程执行核心部门控制部门总经办行政人力资源部■员工辞退审批流程流程名称编码受控状态执行核心部门行政人力资源部控制部门总经办员工辞退审批流程流程名称 员工离职交接流程 编码 受控状态 执行核心部门 各职能部门 控制部门 总经办■员工离职交接流程。