模拟时钟的VB程序
- 格式:doc
- 大小:188.00 KB
- 文档页数:16
首先打开vb6.0,新建一个工程,在窗体中放一个imagebox控件然后在其中放一个timer控件再就是一个直线控件数组注意要把imagebox中的stretch属性改为true,直线控件数组是14个,要注意下面是我和程序代码,有一些注解的希望能对大家有帮助Private Sub Form_Load() '设置窗体和计时器参数Timer1.Interval = 100 '设置计时器事件间隔是1/10秒Width = 4000Height = 4000Left = Screen.Width \ 2 2000Top = (Screen.Height Height) \ 2End SubPrivate Sub Form_Resize() '启动时和改变窗体时设置刻度和指针Dim i, angleFor i = 0 To 13Line1(i).Visible = TrueLine1(i).BorderWidth = 4If i = 0 Or i > 12 ThenLine1(i).BorderColor = RGB(0, 0, 128)ElseLine1(i).BorderColor = RGB(0, 128, 0)End IfNext iLine1(12).BorderColor = RGB(128, 256, 128)Line1(9).BorderColor = RGB(256, 128, 128)Line1(6).BorderColor = RGB(128, 0, 256)Line1(3).BorderColor = RGB(0, 0, 255)Line1(13).BorderColor = RGB(255, 0, 255)Line1(0).BorderWidth = 5 '时针的粗细Line1(14).BorderWidth = 2 '分针的粗细Line1(i).BorderColor = RGB(256, 0, 0)For i = 0 To 14Scale (1, 1)(1, 1) '画出表盘12个点和时,分.秒15条线angle = i * 2 * Atn(1) / 3Line1(i).X1 = 0.9 * Cos(angle)Line1(i).Y1 = 0.9 * Sin(angle)Line1(i).X2 = Cos(angle)Line1(i).Y2 = Sin(angle)Next iEnd SubPrivate Sub Timer1_Timer()Const hh = 0Const mh = 13Const sh = 14Dim angleStatic lsIf Second(Now) = ls Then Exit Sub '机器时钟停止程序退出ls = Second(Now)angle = 0.5236 * (15 (Hour(Now) + Minute(Now) / 60)) '时钟转动设置Line1(hh).X1 = 0Line1(hh).Y1 = 0Line1(hh).X2 = 0.3 * Cos(angle)Line1(hh).Y2 = 0.3 * Sin(angle)angle = 0.1047 * (75 (Minute(Now) + Second(Now) / 60)) '分钟转动设置Line1(mh).X1 = 0Line1(mh).Y1 = 0Line1(mh).X2 = 0.7 * Cos(angle)Line1(mh).Y2 = 0.7 * Sin(angle)angle = 0.5236 * (75 Second(Now) / 5) '秒钟转动设置Line1(sh).X1 = 0Line1(sh).Y1 = 0Line1(sh).X2 = 0.8 * Cos(angle)Line1(sh).Y2 = 0.8 * Sin(angle)Form1.Caption = Str(Now()) '窗口显示日期和时间End Sub。
利用VB实现动态时钟的算法分析
动态时钟是指一个数字时钟能够自动更新时间,在计算
机程序中,可以使用VB来实现动态时钟。
具体实现的算法
如下:
1. 在VB中,需要创建一个窗体(Form)来展示动态时钟。
在窗体的Load事件中,可以初始化时钟的显示格式。
2. 在窗体的Timer事件中,需要更新时钟的时间。
可
以使用VB的内置函数Now()来获取当前时间。
同时,可以
使用Format函数将时间格式化为小时、分钟和秒。
3. 将格式化后的时间赋值给时钟控件的Text属性,以
更新显示的时间。
4. 为了使时钟能够动态更新,需要将Timer控件的Enabled属性设置为True。
同时,在窗体的Unload事件中,需要将Timer控件的Enabled属性设置为False,以避免程
序内存泄漏。
5. 可以通过调整Timer控件的Interval属性,来控制
时钟更新的频率。
通常,将Interval设置为1000(毫秒)即
可实现每秒钟更新一次。
6. 如果需要增加其他功能,如设置闹钟、倒计时等,
可以在时钟更新的方法中增加相应的代码实现。
综上,通过VB内置函数的使用以及时钟控件的更新,
就可以轻松地实现动态时钟的功能。
只需要根据实际需求,添加相应的代码实现即可。
VB时钟(精选多篇)第一篇:VB时钟二零零九年五月目录摘要...............................................................................i 第1章概述. (1)1.1 引言..........................................................................1 1.2 设计平台......................................................................1 第2章开发工具简介 (2)2.1 VisualBasic6.0简介............................................................2 2.2 运用的控件和主要对象..........................................................2 第3章设计实现 (6)3.1画时钟表盘上的所有直线元素 (6)3.2修改时针的形状.................................................................6 3.3计时器的Interval(间距)属性设置................................................6 3.4软件代码.......................................................................7 第4章总结.. (16)4.1 结论.........................................................................16 4.2 心得体会.....................................................................16 参考文献.. (17)-i第1章概述1.1 引言visual basic继承了basic语言易学易用的特点,特别适合于初学者学习windows系统编程。
vb时钟模拟课程设计一、课程目标知识目标:1. 学生理解时钟的基本原理和VBA中计时器的使用方法;2. 学生掌握运用VBA编程实现简单的时钟模拟程序;3. 学生了解时间格式处理及界面设计的基本方法。
技能目标:1. 学生能够运用VBA编程语言,独立编写一个具有基本计时功能的时钟模拟程序;2. 学生能够通过调试程序,解决编程过程中遇到的问题;3. 学生能够设计并优化用户界面,提高用户体验。
情感态度价值观目标:1. 培养学生对编程的兴趣和热情,激发学生主动探索的精神;2. 培养学生面对问题的耐心和毅力,提高解决问题的自信心;3. 培养学生的团队协作意识,让学生在合作中共同进步。
本课程针对的是有一定编程基础的学生,通过vb时钟模拟课程设计,使学生将所学知识应用于实际项目中,提高学生的编程能力和实践操作能力。
同时,注重培养学生的情感态度价值观,激发学生的学习兴趣,为学生的未来发展奠定基础。
在教学过程中,注重学生个体差异,关注学生实际操作,将课程目标分解为具体可衡量的学习成果,以便进行有效的教学设计和评估。
二、教学内容1. 时钟原理讲解:介绍时钟的基本构成和计时原理,使学生理解时间计算的基础知识。
2. VBA编程基础:回顾VBA编程的基本语法,强调变量定义、数据类型、运算符、控制结构等知识点。
3. 计时器使用:讲解VBA中Timer控件的使用方法,包括计时器事件处理、时间更新等。
- 教材章节:第五章第三节“VBA中的控件使用”4. 编写时钟模拟程序:指导学生运用所学知识,编写具有基本计时功能的时钟模拟程序。
- 教材章节:第四章“VBA编程基础”及第五章“VBA控件应用”5. 时间格式处理:介绍时间格式处理方法,使学生能够将时间以直观的方式显示在界面上。
- 教材章节:第六章第二节“字符串函数和时间日期函数”6. 界面设计:讲解简单界面设计原则,引导学生优化时钟模拟程序的用户界面。
- 教材章节:第五章第二节“用户界面设计”在教学过程中,按照以上教学内容安排和进度,结合教材相关章节,确保学生系统、科学地掌握vb时钟模拟的相关知识。
用VB制作一个动态时钟(转载)[原理]使用了LINE控件用来表示指针,根据粗细不同,分别为时、分、秒针,每个LINE都有2个点的坐标,一个点是原点,也就是表盘的最中心点,另一个点根据当前的时间计算从而决定。
然后通过TIMER控件,每隔1秒计算一次进行刷新,即可以实现。
[实现]一、新建立一个工程,在默认的窗体上添加以下三个LINE控件和一个TIMER控件,添加以下界面如下:二、在代码最上面建立全局变量,用于保存时钟原点:Dim x0 As SingleDim y0 As Single三、在窗体的FORM_LOAD事件中添加如下代码:Private Sub Form_Load()With Form1.Width = 3000.Height = 3100.BackColor = vbBlack.Caption = '动态时钟'End Withx0 = 1430y0 = 1290With Line1.X1 = x0.Y1 = y0End WithWith Line2.X1 = x0.Y1 = y0End WithWith Line3.X1 = x0.Y1 = y0End WithLine1.Visible = FalseLine2.Visible = FalseLine3.Visible = FalseLine1.BorderColor = vbRedLine2.BorderColor = vbRedLine3.BorderColor = vbRedEnd Sub四、在Timer的Timer事件中添加如下代码Private Sub Timer1_Timer()Text1.Text = DateLine1.Visible = TrueLine2.Visible = TrueLine3.Visible = TrueDim R0 As IntegerR0 = 1200R1 = 1000: R2 = 850: R3 = 600'画12个大圈子For i = 1 To 12X1 = x0 + R0 * Sin((i * 30) * 3.1415926 / 180)Y1 = y0 + R0 * Cos((i * 30) * 3.1415926 / 180)Circle (X1, Y1), 30, vbBlueNext i'画60个小圈子For i = 1 To 60X1 = x0 + R0 * Sin((i * 6) * 3.1415926 / 180)Y1 = y0 + R0 * Cos((i * 6) * 3.1415926 / 180)Circle (X1, Y1), 10, vbBlueNext i'秒针With Line1.X2 = x0 - R3 * Sin(-(Hour(Now) * 30 + Minute(Now) * 0.5) * 3.1415926 / 180).Y2 = y0 - R3 * Cos(-(Hour(Now) * 30 + Minute(Now) * 0.5) * 3.1415926 / 180)End With'分针With Line2.X2 = x0 - R2 * Sin(-(Minute(Now) * 6) * 3.1415926 / 180).Y2 = y0 - R2 * Cos(-(Minute(Now) * 6) * 3.1415926 / 180)End With'时针With Line3.X2 = x0 - R1 * Sin(-(Second(Now) * 6) * 3.1415926 / 180) .Y2 = y0 - R1 * Cos(-(Second(Now) * 6) * 3.1415926 / 180) End WithCircle (x0, y0), 20, vbWhiteEnd SubOK,至此大功告成,点击F5,就可以看到运行结果了。
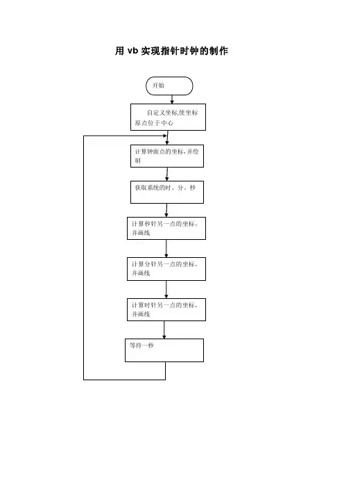
用vb实现指针时钟的制作1、自定义坐标,让坐标原点在中心位置。
2、获取系统时间,使用函数time获取当前系统时间,而时、分、秒分别用以下函数Hour(Time)Minute(Time)Second(Time)可以用h,m,s三个变量分别存储系统当前的时、分、秒3、钟面的绘制,钟面上任意一点A的坐标A点坐标如下:X=ρcos(α)Y=ρsin(α)绘制钟面上的点3、指针的另一点的的x,y坐标的计算分析:若指针在第一象限,则B点坐标如下:X=ρcos(α)Y=ρsin(α)∵α+θ=π/2∴α=π/2 -θ∴x=ρCos(α)= ρcos(π/2 -θ)y=ρsin(α) =ρsin(π/2 -θ)若指针在第四象限,则有:∵α+θ=π/2+2π∴α=π/2+2π-θ又∵设α为任意角,终边相同的角的同一三角函数的值相等:sin(2kπ+α)= sinαcos(2kπ+α)= cosα∴x=ρcos(α)= ρcos(π/2+2π-θ)= ρcos(π/2 -θ) y=ρsin(α)= ρsin(π/2+2π-θ)= ρsin(π/2 -θ)同理,可以证明指针端点的坐标在二、三象限上也存在以下的关系:x=ρcos(π/2 -θ)y=ρsin(π/2 -θ)即对于时刻的指针端点的坐标均符合以下的表达式x=ρcos(π/2 -θ)y=ρsin(π/2 -θ)又∵秒针转动的角度值:θ=π/30*s∴秒针端点的坐标为x=ρcos(π/2 -π/30*s)y=ρsin(π/2 -π/30*s)同理,分针端点的坐标为x=ρcos(π/2 -π/30*m)y=ρsin(π/2 -π/30*m)同理,时针端点的坐标为x=ρcos(π/2 -π/6*s)y=ρsin(π/2 -π/6*s)。
沈阳航空航天大学课程设计学号2009040301055班级94030102姓名李超指导教师刘学平2010 年3 月15 日沈阳航空航天大学课程设计任务书学院:航空宇航工程学院专业:飞行器制造班级:94030102学号:2009040301055 题目:模拟时钟一、课程设计时间2011年3月7日~11日(第1周),共计1周。
二、课程设计内容在窗体上演示一个正在工作的有时、分、秒指针的时钟,要求:可以对时钟的时间进行手工修正。
用户界面中的菜单(或命令按钮)至少应包括“运行时钟”、“修改时间”、“退出”3项。
三、课程设计要求程序质量:✧贯彻事件驱动的程序设计思想。
✧用户界面友好,功能明确,操作方便;可以增加其它功能或修饰。
✧代码应适当缩进,并给出必要的注释,以增强程序的可读性。
课程设计说明书:✧课设结束后,上交课程设计说明书和源程序。
课程设计说明书的内容参见提供的模板。
四、指导教师和学生签字指导教师:________ 学生签名:________五、成绩六、教师评语目录一、需求分析 (4)二、设计分析 (5)三、关键技术 (7)四、总结 (12)五、完整的源程序 (14)六、参考文献 (16)一、需求分析“模拟时钟”软件。
在窗体上演示一个正在工作的有时、分、秒指针的时钟,要求:可以对时钟的时间进行手工修正。
用户界面中的菜单(或命令按钮)至少应包括“运行时钟”、“修改时间”、“退出”3项。
①在VB窗体Form1中设计模拟时钟表盘,设计四个按钮:运行时钟、修改时间、应用、退出。
在窗体Form2中设计填输入时间的位置和两个按钮:重新输入、确定。
②用运行时钟按钮使时钟从零点开始运行。
③利用修改时间按钮在Form2中输入合理时间,单击确定后单击应用使模拟时钟按所需时间开始运行。
④Form2中重新输入按钮可以使所有Text控件清空,可以进行时间的重新输入。
⑤程序可以实现时钟指针的转动。
二、设计分析(1)基本原理:设计表盘,利用勾股定理实现时钟的转动,通过两个窗体的配合实现修改时间的功能,使模拟时钟能像正常时钟一样运行。
目录摘要 (iii)第1章概述 (1)1.1 引言 (1)1.2 设计平台 (1)第2章开发工具简介 (2)2.1 VisualBasic6.0简介 (2)2.2 运用的控件和主要对象 (3)3.1主窗体 (4)Private Sub qiyong_Click() (5)3.2时钟窗体 (6)3.3屏幕保护窗体 (10)第4章结束语 (12)参考文献 (13)摘要Visual Basic(VB)是一种由微软公司开发的包含协助开发环境的事件驱动编程语言,从任何标准来说,VB都是世界上使用人数最多的语言。
它是一种面向对象的可视化程序设计语言,提供了集界面设计、编写代码和程序调试等于一体的集成开发环境。
VB拥有图形用户界面(GUI)和快速应用程序开发(RAD)系统,可以轻易的使用DAO、RDO、ADO连接数据库,或者轻松的创建ActiveX控件。
程序员可以轻松的使用VB提供的组件快速建立一个应用程序。
本文通过动画式时钟的设计与实现,,同时说明了在VB环境下开发应用程序的思路和步骤。
关键词:程序设计;时钟;Visual Basic6.0;界面第1章概述1.1 引言visual basic继承了basic语言易学易用的特点,特别适合于初学者学习windows系统编程。
随着21世纪信息社会的到来,计算机在人们的工作和生活中的深入,要求我们越来越多地与计算机打交道,为了用户更加方便的,更加有舒适的心情,设计出一个比较舒心的时钟显示。
1.2 设计平台VB全称Visual Basic,它是以Basic语言作为其基本语言的一种可视化编程工具。
它继承了basic语言易学易用的特点,特别适合于初学者学习windows系统编程。
随着21世纪信息社会的到来,计算机在人们的工作和生活中的深入,要求我们越来越多地与计算机打交道,为了使用户更加地使用舒心。
第2章开发工具简介2.1 VisualBasic6.0简介Visual Basic 是一种可视化的、面向对象和采用事件驱动方式的结构化高级程序设计语言,可用于开发 Windows 环境下的各类应用程序。
1、打开VB,VB为你添加了一个窗体。
(一般新建的工程都会有一个窗体,不用添加)主要属性为:Caption:钟表controlBox:False width:4800 height:5800 startUpPosition:2-屏幕中心2、再在窗体上放一个图形控件。
Height:2940 left:600 top:375 width:3400 borderwidth:3 shape:3-circleFillstyle:0-Solid fillcolor:选一个你喜欢的颜色。
3、再在窗体上添加三条直线,直线的起点放在图形的图心上。
主要属性如下:(三条线都如下设置)x1:2300 Y1:1845 X2 与Y2可以任意设置,BorderColor:选一个你喜欢的色BorderWidth:34、添加四个标签,分别修改其Caption为“3”、“6”、“9”、“12”,同时修改这四个标签的BackStyle属性为0-Transparent,并且把这四个标签移动到圆的最右,最下,最左,最上四个位置。
5、添加一个文本框。
主要属性为:Left:900 height:555 top:4215 width:3240至此,我们的钟表程序界面设置完成。
如下图7、现在让表的指针动起来。
在窗体上添加一个时间控件。
修改其interval属性为100,注:这个数值的单位是毫秒,单位很小,1000毫秒才等于1秒。
但是在VB中这不足以用来记时,时为程序在运行的时候影响了记时的准确性。
所以,我们要准确的表达时间的话,要用到系统时间,这要做用一个函数,就是NOW()。
这个函数的返回值就是当前的系统时间。
8、让指针动起来,就是要在时间变化的时候修改指针不在圆心点的坐标。
我们先来分析秒针:我们知道,一周角为360度,表示60秒,那么每一秒需要用6度来表示,那么,当时间走到S秒的时候,秒针走过6*S度也就是:6*S*3.1415926/180弧度(注,一周角为2*3.14159弧度)。
Private Sub Check1_Click()WindowsMediaPlayer1.Controls.pauseEnd SubPrivate Sub Check2_Click()WindowsMediaPlayer1.Controls.playEnd SubPrivate Sub Check3_Click()WindowsMediaPlayer1.Controls.stopEnd SubPrivate Sub Command1_Click()Timer1.Interval = 1000Timer1.Enabled = TrueEnd SubPrivate Sub Command2_Click()Timer2.Enabled = TrueTimer2.Interval = 1000End SubPrivate Sub Form_Load()Picture1.Picture = LoadPicture(App.Path & "\images\" & "tp1.jpg") End SubPrivate Sub Timer1_Timer()Static X!, Y!, Z!, a%, b%, c%, q%, w%, E%Const n = 3.141592653Command1.Visible = FalsePicture1.ClsPicture1.Scale (-1000, 1000)-(1000, -1000)Picture1.Circle (0, 0), 900Dim l As DoubleDim r As DoubleFor i = 0 To 60l = (1 - Sin(i / 60 * 2 * 3.1415926)) * 900 - 900r = (1 - Cos(i / 60 * 2 * 3.1415926)) * 900 - 900Picture1.DrawWidth = 3Picture1.PSet (l, r)Picture1.DrawWidth = 4Next iPicture1.PSet (0, 0)Picture1.CurrentX = -100: Picture1.CurrentY = 850Picture1.FontSize = 25Picture1.Print "12"Picture1.CurrentX = -40: Picture1.CurrentY = -690Picture1.Print "6"Picture1.CurrentX = -850: Picture1.CurrentY = 80Picture1.Print "9"Picture1.CurrentX = 700: Picture1.CurrentY = 100Picture1.Print "3"Picture1.FontSize = 18Picture1.CurrentX = 360: Picture1.CurrentY = 740Picture1.Print "1"Picture1.CurrentX = 650: Picture1.CurrentY = 450Picture1.Print "2"Picture1.CurrentX = 630: Picture1.CurrentY = -320Picture1.Print "4"Picture1.CurrentX = 360: Picture1.CurrentY = -600Picture1.Print "5"Picture1.CurrentX = -430: Picture1.CurrentY = 740Picture1.Print "11"Picture1.CurrentX = -750: Picture1.CurrentY = 440Picture1.Print "10"Picture1.CurrentX = -700: Picture1.CurrentY = -360Picture1.Print "8"Picture1.CurrentX = -370: Picture1.CurrentY = -610Picture1.Print "7"Picture1.DrawWidth = 1X = Second(Time) * 2 * n / 60Y = Minute(Time) * 2 * n / 60Z = Hour(Time) * 2 * n / 12Picture1.Line (0, 0)-(800 * Sin(X), 800 * Cos(X))Picture1.Circle (700 * Sin(X), 700 * Cos(X)), 50Picture1.Line (0, 0)-(600 * Sin(Y), 600 * Cos(Y)), QBColor(5)Picture1.Line (0, 0)-(400 * Sin(Z), 400 * Cos(Z)), QBColor(12)h = Year(Now)i = Month(Now)j = Day(Now)k = Hour(Now)l = Minute(Now)m = Second(Now)Label10.Caption = h & "-" & i & "-" & jLabel11.Caption = k & ":" & l & ":" & mu = Weekday(Now)Select Case uCase 1Label8.Caption = "一"Case 2Label8.Caption = "二"Case 3Label8.Caption = "三"Case 4Label8.Caption = "四"Case 5Label8.Caption = "五"Case 6Label8.Caption = "六"Case 7Label8.Caption = "日"End SelectEnd SubPrivate Sub Timer2_Timer()Dim z1, z2, z3, z4, z5, z6, z7, z8, z9, z10%z1 = V al(Text1.Text)z2 = V al(Text2.Text)z3 = V al(Text3.Text)z4 = V al(Text4.Text)z5 = V al(Text5.Text)z6 = V al(Text6.Text)date1 = DateSerial(z1, z2, z3)date2 = DateSerial(Year(Now), Month(Now), Day(Now))z7 = DateDiff("d", date2, date1)time1 = TimeSerial(z4, z5, z6)time2 = TimeSerial(Hour(Now), Minute(Now), Second(Now)) z8 = DateDiff("h", time2, time1)z9 = DateDiff("n", time2, time1) - z8 * 60z10 = DateDiff("s", time2, time1) - z9 * 60 - z8 * 3600If z2 > 12 Or z3 > 31 Or z4 > 23 Or z5 > 59 Or z6 > 59 Then q = MsgBox("输入有误,请重新输入", , "出错")Print qEnd IfIf z10 < 0 Thenz9 = z9 - 1z10 = 60 + z10End IfIf z9 < 0 Thenz8 = z8 - 1z9 = 60 + z9End IfIf z8 < 0 Thenz7 = z7 - 1z8 = 24 + z8End IfLabel14.Caption = z7 & "天" & z8 & "小时" & z9 & "分" & z10 & "秒"If z7 = 0 And z8 = 0 And z9 = 0 And z10 = 0 ThenMsgBox "时间到", , "倒计时"WindowsMediaPlayer1.URL = App.Path & "\music\" & "dd.mp3" Timer2.Enabled = FalseEnd IfEnd SubPrivate Sub tp1_Click()Picture1.Picture = LoadPicture(App.Path & "\images\" & "tp6.jpg") End SubPrivate Sub tp2_Click()Picture1.Picture = LoadPicture(App.Path & "\images\" & "tp2.jpg") End SubPrivate Sub tp3_Click()Picture1.Picture = LoadPicture(App.Path & "\images\" & "tp3.jpg") End SubPrivate Sub tp4_Click()Picture1.Picture = LoadPicture(App.Path & "\images\" & "tp4.jpg") End SubPrivate Sub tp5_Click()Picture1.Picture = LoadPicture(App.Path & "\images\" & "tp5.jpg") End SubPrivate Sub yy1_Click()WindowsMediaPlayer1.URL = App.Path & "\music\" & "He's a Pirate.mp3" End SubPrivate Sub yy2_Click()WindowsMediaPlayer1.URL = App.Path & "\music\" & "apologize.mp3" End SubPrivate Sub yy3_Click()WindowsMediaPlayer1.URL = App.Path & "\music\" & "Heartbeats.mp3" End Sub。
沈阳航空航天大学课程设计任务书学院:航空宇航工程学院专业:飞行器制造班级:94030102学号:2009040301055 题目:模拟时钟一、课程设计时间2011年3月7日~11日(第1周),共计1周。
二、课程设计内容在窗体上演示一个正在工作的有时、分、秒指针的时钟,要求:可以对时钟的时间进行手工修正。
用户界面中的菜单(或命令按钮)至少应包括“运行时钟”、“修改时间”、“退出”3项.三、课程设计要求程序质量:✧贯彻事件驱动的程序设计思想。
✧用户界面友好,功能明确,操作方便;可以增加其它功能或修饰。
✧代码应适当缩进,并给出必要的注释,以增强程序的可读性。
课程设计说明书:✧课设结束后,上交课程设计说明书和源程序.课程设计说明书的内容参见提供的模板。
四、指导教师和学生签字指导教师:________ 学生签名:________五、成绩六、教师评语目录一、需求分析 (4)二、设计分析 (5)三、关键技术 (7)四、总结 (12)五、完整的源程序 (14)六、参考文献 (16)一、需求分析“模拟时钟”软件。
在窗体上演示一个正在工作的有时、分、秒指针的时钟,要求:可以对时钟的时间进行手工修正。
用户界面中的菜单(或命令按钮)至少应包括“运行时钟"、“修改时间”、“退出”3项.①在VB窗体Form1中设计模拟时钟表盘,设计四个按钮:运行时钟、修改时间、应用、退出。
在窗体Form2中设计填输入时间的位置和两个按钮:重新输入、确定。
②用运行时钟按钮使时钟从零点开始运行。
③利用修改时间按钮在Form2中输入合理时间,单击确定后单击应用使模拟时钟按所需时间开始运行。
④Form2中重新输入按钮可以使所有Text控件清空,可以进行时间的重新输入。
⑤程序可以实现时钟指针的转动。
二、设计分析(1)基本原理:设计表盘,利用勾股定理实现时钟的转动,通过两个窗体的配合实现修改时间的功能,使模拟时钟能像正常时钟一样运行。
(2)总体设计:图1 总体设计(3)详细设计:图2 详细设计(4)表盘设计:图3 表格三、关键技术1实现指针的转动Private Sub Timer1_Timer()Static s!, m!,h!s = s + 1m = s / 60h = m / 60LineS。
首先打开vb6.0,新建一个工程,在窗体中放一个imagebox控件然后在其中放一个timer控件再就是一个直线控件数组注意要把imagebox中的stretch属性改为true,直线控件数组是14个,要注意下面是我和程序代码,有一些注解的希望能对大家有帮助Private Sub Form_Load() '设置窗体和计时器参数Timer1.Interval = 100 '设置计时器事件间隔是1/10秒Width = 4000Height = 4000Left = Screen.Width \ 2 - 2000Top = (Screen.Height - Height) \ 2End SubPrivate Sub Form_Resize() '启动时和改变窗体时设置刻度和指针Dim i, angleFor i = 0 To 13Line1(i).Visible = TrueLine1(i).BorderWidth = 4If i = 0 Or i > 12 ThenLine1(i).BorderColor = RGB(0, 0, 128)ElseLine1(i).BorderColor = RGB(0, 128, 0)End IfNext iLine1(12).BorderColor = RGB(128, 256, 128)Line1(9).BorderColor = RGB(256, 128, 128)Line1(6).BorderColor = RGB(128, 0, 256)Line1(3).BorderColor = RGB(0, 0, 255)Line1(13).BorderColor = RGB(255, 0, 255)Line1(0).BorderWidth = 5 '时针的粗细Line1(14).BorderWidth = 2 '分针的粗细Line1(i).BorderColor = RGB(256, 0, 0)For i = 0 To 14Scale (-1, 1)-(1, -1) '画出表盘12个点和时,分.秒15条线angle = i * 2 * Atn(1) / 3Line1(i).X1 = 0.9 * Cos(angle)Line1(i).Y1 = 0.9 * Sin(angle)Line1(i).X2 = Cos(angle)Line1(i).Y2 = Sin(angle)Next iEnd SubPrivate Sub Timer1_Timer()Const hh = 0Const mh = 13Const sh = 14Dim angleStatic lsIf Second(Now) = ls Then Exit Sub '机器时钟停止程序退出ls = Second(Now)angle = 0.5236 * (15 - (Hour(Now) + Minute(Now) / 60)) '时钟转动设置Line1(hh).X1 = 0Line1(hh).Y1 = 0Line1(hh).X2 = 0.3 * Cos(angle)Line1(hh).Y2 = 0.3 * Sin(angle)angle = 0.1047 * (75 - (Minute(Now) + Second(Now) / 60)) '分钟转动设置Line1(mh).X1 = 0Line1(mh).Y1 = 0Line1(mh).X2 = 0.7 * Cos(angle)Line1(mh).Y2 = 0.7 * Sin(angle)angle = 0.5236 * (75 - Second(Now) / 5) '秒钟转动设置Line1(sh).X1 = 0Line1(sh).Y1 = 0Line1(sh).X2 = 0.8 * Cos(angle)Line1(sh).Y2 = 0.8 * Sin(angle)Form1.Caption = Str(Now()) '窗口显示日期和时间End Sub。
VB小闹钟今天,我们将制作可以实现“计划任务管理器”功能的应用程序。
当到达指定时间时,程序能够自动出现提示信息和播放背景音乐。
程序运行结果如图所示。
运行结果技术要点●Time函数●使用MMControl控件●使用CommonDialog控件实现过程■新建项目打开Visual ,选择“新建项目”,在项目类型窗口中选择“Visual Basic项目”,在模板窗口中选择“Windows应用程序”,在名称域中输入“SimpleClock”,然后选择保存路径。
单击“确认”。
■添加控件向窗体添加三个Label控件,三个TextBox控件,三个Button控件,一个MMControl 控件、一个CommonDialog控件和一个Timer控件。
■设置属性根据运行时的界面,将Label控件和Button控件的Text属性改为和界面一致。
其余见下表。
窗体各控件的属性值■添加代码Private Sub Button1_Click(ByVal eventSender As System.Object, ByVal eventArgs AsSystem.EventArgs) Handles Button1.ClickMe.WindowState = System.Windows.Forms.FormWindowState.MinimizedEnd SubPrivate Sub Button3_Click(ByVal eventSender As System.Object, ByVal eventArgs AsSystem.EventArgs) Handles Button3.Click'打开要播放的声音文件AXCommonDialog1.ShowOpen()Text3.Text = AXCommonDialog1.FileNameEnd SubPrivate Sub Timer1_Tick(ByVal eventSender As System.Object, ByVal eventArgs AsSystem.EventArgs) Handles Timer1.TickDim temptime As String'将前12个小时和后12个小时分开If Hour(TimeOfDay) > 12 Thentemptime = VB.Left(CStr(TimeOfDay), 5)Elsetemptime = VB.Left(CStr(TimeOfDay), 4)End If'如果时间相同,则显示提示信息If Text1.Text = temptime ThenMMControl1.FileName = Text3.Textmand = "open"mand = "play"Timer1.Enabled = FalseMsgBox(Text2.Text, , "小闹钟")End IfEnd Sub■运行程序单击菜单“调试|启动”或单击图标运行程序。
'申明变量---------PrivateSubCommand1_Click()Calldialog'调用dialog子程序EndSub--------PrivateSubCommand2_Click()AlarmTime=InputBox(“请输入你想设定的时间,例如(19:12:00)",“小闹钟")IfAlarmTime=“"ThenExitSubIfNotIsDate(AlarmTime)ThenMsgBox“你所输入的不是时间格式,请重试!",,“Wrong"ElseAlarmTime=CDate(AlarmTime)EndIf'判断输入的是否可转换成time格式'isdate函数是判断输入的是否可转换成date格式EndSub--------------PrivateSubCommand3_Click()Calldeng'调用deng子程序EndSub---------------PrivateSubForm_Click()frmAbout.Show'显示关于对话框EndSub-------------PrivateSubForm_Load()Command3.Enabled=0AlarmTime=“"'初始化时command3为不可用的EndSub---------------PrivateSubForm_Resize()IfWindowState=1Thenmintimeelsecaption=“小闹钟"EndIf'如果窗口被最小化,则调用mintime程序EndSub---------------PrivateSubmintime()Caption=Format(Time,“longTime")'使用长时间格式来显示时间EndSub---------------PrivateSubTimer1_Timer()IflblTime.Caption<>CStr(Time)ThenlblTime.Caption=TimeEndIf'显示时间每秒钟的变化IfTime>=AlarmTimeThenCalldengEndIf'判断如果现在的时间超过了设定的时间,则调用deng子程序IfWindowState=1ThenIfMinute(CDate(Caption))<>Minute(Time)ThenmintimeEndIfEndIf'最小化时显示时间每分钟的变化EndSub-------------Subdialog()CommonDialog1.Flags=cdlCFBothCommonDialog1.ShowOpenLabel1.Caption=CommonDialog1.filenameIfLabel1<>“"ThenCommand3.Enabled=-1ElseExitSubEndIf'把打开的文件名给于label1'如果label1不为空时,则command3即可用EndSub--------------Subdeng()Dimssss=Shell(Label1.Caption,1)End'启动指定的文件,并且结束小闹钟程序EndSub最后在about对话框中要提的是:在form_load中app.title表示你的应用程序的名字;app.major、minor、revision是关于应用程序的版本信息;lblDescription.Caption用于对本程序的一些说明描述之类的话;lblDisclaimer.Caption用于版权信息或警告等。
首先打开vb6.0,新建一个工程,在窗体中放一个imagebox控件欧阳歌谷(2021.02.01)然后在其中放一个timer控件再就是一个直线控件数组注意要把imagebox中的stretch属性改为true,直线控件数组是14个,要注意下面是我和程序代码,有一些注解的希望能对大家有帮助Private Sub Form_Load() '设置窗体和计时器参数Timer1.Interval = 100 '设置计时器事件间隔是1/10秒Width = 4000Height = 4000Left = Screen.Width \ 2 2000Top = (Screen.Height Height) \ 2End SubPrivate Sub Form_Resize() '启动时和改变窗体时设置刻度和指针Dim i, angleFor i = 0 To 13Line1(i).Visible = TrueLine1(i).BorderWidth = 4If i = 0 Or i > 12 ThenLine1(i).BorderColor = RGB(0, 0, 128)ElseLine1(i).BorderColor = RGB(0, 128, 0)End IfNext iLine1(12).BorderColor = RGB(128, 256, 128)Line1(9).BorderColor = RGB(256, 128, 128)Line1(6).BorderColor = RGB(128, 0, 256)Line1(3).BorderColor = RGB(0, 0, 255)Line1(13).BorderColor = RGB(255, 0, 255)Line1(0).BorderWidth = 5 '时针的粗细Line1(14).BorderWidth = 2 '分针的粗细Line1(i).BorderColor = RGB(256, 0, 0)For i = 0 To 14Scale (1, 1)(1, 1) '画出表盘12个点和时,分.秒15条线angle = i * 2 * Atn(1) / 3Line1(i).X1 = 0.9 * Cos(angle)Line1(i).Y1 = 0.9 * Sin(angle)Line1(i).X2 = Cos(angle)Line1(i).Y2 = Sin(angle)Next iEnd SubPrivate Sub Timer1_Timer()Const hh = 0Const mh = 13Const sh = 14Dim angleStatic lsIf Second(Now) = ls Then Exit Sub '机器时钟停止程序退出ls = Second(Now)angle = 0.5236 * (15 (Hour(Now) + Minute(Now) / 60)) '时钟转动设置Line1(hh).X1 = 0Line1(hh).Y1 = 0Line1(hh).X2 = 0.3 * Cos(angle)Line1(hh).Y2 = 0.3 * Sin(angle)angle = 0.1047 * (75 (Minute(Now) + Second(Now) / 60)) '分钟转动设置Line1(mh).X1 = 0Line1(mh).Y1 = 0Line1(mh).X2 = 0.7 * Cos(angle)Line1(mh).Y2 = 0.7 * Sin(angle)angle = 0.5236 * (75 Second(Now) / 5) '秒钟转动设置Line1(sh).X1 = 0Line1(sh).Y1 = 0Line1(sh).X2 = 0.8 * Cos(angle)Line1(sh).Y2 = 0.8 * Sin(angle)Form1.Caption = Str(Now()) '窗口显示日期和时间End Sub。
沈阳航空航天大学课程设计任务书学院:航空宇航工程学院专业:飞行器制造班级:94030102学号:2009040301055 题目:模拟时钟一、课程设计时间2011年3月7日~11日(第1周),共计1周。
二、课程设计内容在窗体上演示一个正在工作的有时、分、秒指针的时钟,要求:可以对时钟的时间进行手工修正。
用户界面中的菜单(或命令按钮)至少应包括“运行时钟”、“修改时间”、“退出”3项。
三、课程设计要求程序质量:✧贯彻事件驱动的程序设计思想。
✧用户界面友好,功能明确,操作方便;可以增加其它功能或修饰。
✧代码应适当缩进,并给出必要的注释,以增强程序的可读性。
课程设计说明书:✧课设结束后,上交课程设计说明书和源程序。
课程设计说明书的内容参见提供的模板。
四、指导教师和学生签字指导教师:________ 学生签名:________五、成绩六、教师评语目录一、需求分析 (4)二、设计分析 (5)三、关键技术 (7)四、总结 (12)五、完整的源程序 (14)六、参考文献 (16)一、需求分析“模拟时钟”软件。
在窗体上演示一个正在工作的有时、分、秒指针的时钟,要求:可以对时钟的时间进行手工修正。
用户界面中的菜单(或命令按钮)至少应包括“运行时钟”、“修改时间”、“退出”3项。
①在VB窗体Form1中设计模拟时钟表盘,设计四个按钮:运行时钟、修改时间、应用、退出。
在窗体Form2中设计填输入时间的位置和两个按钮:重新输入、确定。
②用运行时钟按钮使时钟从零点开始运行。
③利用修改时间按钮在Form2中输入合理时间,单击确定后单击应用使模拟时钟按所需时间开始运行。
④Form2中重新输入按钮可以使所有Text控件清空,可以进行时间的重新输入。
⑤程序可以实现时钟指针的转动。
二、设计分析(1)基本原理:设计表盘,利用勾股定理实现时钟的转动,通过两个窗体的配合实现修改时间的功能,使模拟时钟能像正常时钟一样运行。
(2)总体设计:图1 总体设计(3)详细设计:图2 详细设计(4)表盘设计:图3 表格三、关键技术1实现指针的转动Private Sub Timer1_Timer()Static s!, m!, h!s = s + 1m = s / 60h = m / 60LineS.X2 = LineS.X1 + a * Sin(s * 6 * pai / 180)LineS.Y2 = LineS.Y1 - a * Cos(s * 6 * pai / 180)LineM.X2 = LineM.X1 + b * Sin(m * 6 * pai / 180) LineM.Y2 = LineM.Y1 - b * Cos(m * 6 * pai / 180)LineH.X2 = LineH.X1 + c * Sin(h * 30 * pai / 180)LineH.Y2 = LineH.Y1 - c * Cos(h * 30 * pai / 180)End Sub '使时钟从初始位置开始工作图42 Form1与Form2的连接(1)显示Form2Private Sub Command2_Click()Timer2.Interval = 0Timer1.Interval = 0Form2.Show '关闭定时器1、定时器2,对时间进行手工修改End Sub图5(2)Form2隐藏Private Sub Command1_Click()If Val(Text1.Text) > 24 Or Val(Text1.Text) < 0 Or Val(Text2.Text) > 60 Or Val(Text2.Text) < 0 Or Val(Text3.Text) > 60 Or Val(Text3.Text) < 0 Then MsgBox "请输入合理时间": Text1.Text = "": Text2.Text = "": Text3.Text = "" '数据不合理时弹出提示ElseForm1.ShowForm2.Hide '读取到修改后的时间数据并关闭窗体2 End IfEnd Sub注:输入的时间不合理会弹出提示,输入时间为空时也会弹出提示图6 图73.修改的时间数据的读取与运行Private Sub Command4_Click()If Form2.Text1.Text = "" Or Form2.Text2.Text = "" Or Form2.Text3.Text = "" ThenMsgBox "请输入准确时间": Form2.Show '提示用户输入准确时间ElseTimer2.Interval = 1000: s = Form2.Text3.Text - 1 '激活定时器2 End IfEnd SubPrivate Sub Timer2_Timer()s = s + 1m = Form2.Text2.Text + s / 60h = Form2.Text1.Text + m / 60LineS.X2 = LineS.X1 + a * Sin(s * 6 * pai / 180)LineS.Y2 = LineS.Y1 - a * Cos(s * 6 * pai / 180)LineM.X2 = LineM.X1 + b * Sin(m * 6 * pai / 180)LineM.Y2 = LineM.Y1 - b * Cos(m * 6 * pai / 180)LineH.X2 = LineH.X1 + c * Sin(h * 30 * pai / 180)LineH.Y2 = LineH.Y1 - c * Cos(h * 30 * pai / 180)End Sub '使时钟在修改时间后开始四、总结本次课程设计我的任务是运用VB设计一个模拟时钟,包含运行时钟、修改时间、应用、退出等功能。
程序需要两个窗体、两个Timer控件以及四个按钮控件:运行时钟、修改时间、应用、退出。
可实现与正常时钟相同的运行速度。
可以进行手动的修改、运行时钟。
还可以对用户输入的时间数据进行判断。
在此次课设过程中,设计界面使我了解到手工绘图方面的一些控件,现在可以进行熟练的运用。
Timer控件的运行方法让我用尽了心思,对于指针的初始位置的设置,我运用到了控件的尺寸,指针的长度设置我运用到了勾股定理,为了美观和人性化处理对各个功能之间的显示与切换我下个很大功夫。
VB的设计过程让我深刻认识到知识的有用之处,这是一个即动手又动脑的一次实习。
让我意识到VB的魅力所在,它使我们能形象的了解到生活中的一些具体事物,使我们锻炼了自己的动手能力,发挥了自己的智慧。
让我们发现自己的不足,认识到更多我们所没有触及的知识。
虽然这次设计出现很多困难的,但是在老师和学生的帮助下我终于做出来了,我感到很开心,毕竟是自己的劳动成果。
很高兴可以完成这次课设,它让我懂得只有努力才有收获。
五、完整的源程序Private Sub Command3_Click()End '结束程序End SubPrivate Sub Command4_Click()If Form2.Text1.Text = "" Or Form2.Text2.Text = "" Or Form2.Text3.Text = "" ThenMsgBox "请输入准确时间": Form2.Show '提示用户输入准确时间ElseTimer2.Interval = 1000: s = Form2.Text3.Text - 1 '激活定时器2 End IfEnd SubPrivate Sub Form_Load()LineS.X1 = Shape1.Left + Shape1.Width / 2LineS.Y1 = Shape1.Top + Shape1.Height / 2LineS.X2 = LineS.X1LineS.Y2 = Shape1.Top + 150 '设置秒针初始位置LineM.X1 = LineS.X1LineM.Y1 = LineS.Y1LineM.X2 = LineM.X1LineM.Y2 = Shape1.Top + 260 '设置分针初始位置LineH.X1 = LineS.X1LineH.Y1 = LineS.Y1LineH.X2 = LineH.X1LineH.Y2 = Shape1.Top + 500 '设置时针初始位置a = Sqr((LineS.X1 - LineS.X2) ^ 2 + (LineS.Y1 - LineS.Y2) ^ 2)b = Sqr((LineM.X1 - LineM.X2) ^ 2 + (LineM.Y1 - LineM.Y2) ^ 2)c = Sqr((LineH.X1 - LineH.X2) ^ 2 + (LineH.Y1 - LineH.Y2) ^ 2) '设置指针长度LineS.BorderColor = vbBlackLineS.BorderWidth = 1LineM.BorderColor = vbBlueLineM.BorderWidth = 2LineH.BorderColor = vbRedLineH.BorderWidth = 3 '设置指针的颜色和粗细End SubPrivate Sub Timer1_Timer()Static s!, m!, h!s = s + 1m = s / 60h = m / 60LineS.X2 = LineS.X1 + a * Sin(s * 6 * pai / 180)LineS.Y2 = LineS.Y1 - a * Cos(s * 6 * pai / 180)LineM.X2 = LineM.X1 + b * Sin(m * 6 * pai / 180)LineM.Y2 = LineM.Y1 - b * Cos(m * 6 * pai / 180)LineH.X2 = LineH.X1 + c * Sin(h * 30 * pai / 180)LineH.Y2 = LineH.Y1 - c * Cos(h * 30 * pai / 180)End Sub '使时钟从初始位置开始工作Private Sub Timer2_Timer()s = s + 1m = Form2.Text2.Text + s / 60h = Form2.Text1.Text + m / 60LineS.X2 = LineS.X1 + a * Sin(s * 6 * pai / 180)LineS.Y2 = LineS.Y1 - a * Cos(s * 6 * pai / 180)LineM.X2 = LineM.X1 + b * Sin(m * 6 * pai / 180)LineM.Y2 = LineM.Y1 - b * Cos(m * 6 * pai / 180)LineH.X2 = LineH.X1 + c * Sin(h * 30 * pai / 180)LineH.Y2 = LineH.Y1 - c * Cos(h * 30 * pai / 180)End Sub '使时钟在修改时间后开始工作六、参考文献[1] 刘瑞新.《Visual Basic程序设计教程》.北京:机械工业出版社,2003[2] 龚沛增.《Visual Basic程序设计教程》.清华大学出版社,2004[3]吴凤翔.《Visual Basic程序设计教程》.中国林业出版社,2002-11。