物业应急预案(含流程图)
- 格式:doc
- 大小:57.00 KB
- 文档页数:16
物业应急预案在生活、工作和学习中,难免会面对无法预料的突发事件,为了可以第一时间作出应急响应,常常需要预先准备应急预案。
应急预案要怎么编制呢?以下是小编为大家收集的物业应急预案范文(精选5篇),希望对大家有所帮助。
物业应急预案1根据集团公司下发通知与要求,为扎实做好公司及各项目汛期预防工作,保障公司和业主财产及人身安全,特制定应急预案。
一、组织机构及职责(一)、成立防汛领导小组组长:副组长:成员:职责:负责物业管理有限公司和各项目排水设施设备检查维护工作,保证排水系统完好有效;加强各项目的巡视检查,及时查找漏点,避免因漏雨导致的电路短路、设备损坏问题的发生,特别是各项目的高配间,必须保证正常供电;负责各项目避雷设施设备的检修工作,负责储备必要的防汛、救灾物资;一旦发生洪涝灾害,按照本防汛救灾预案组织维护和抢险工作。
(二)、在防汛领导小组的指挥下成立四个工作组1、成立防汛抢险组组长:成员:职责:在防汛领导组的指挥下进行防汛抢险工作,各项目经理组织抢险人员对各管理区域进行全面检查,确定积水区域事故发生原因,制定局部应急措施,组织人员进行处理。
2、成立设备保障组组长:成员:职责:在防汛领导组的指挥下进行防汛抢险(用水泵进行排水)工作。
各项目根据项目实际情况,合理组织人员利用排水泵等设备对积水严重区域进行排水,保障各管理区域正常。
3、后勤保障组组长:成员:职责:在防汛领导小组的指挥下进行抢险通讯、统计、后勤保障工作。
在发生汛情时,做好公司内部信息的传递和后勤保障工作,在汛情后,统计汇总由于汛情造成的损失情况。
4、应急救援组组长:成员:职责:在防汛领导小组的指挥下进行汛情援助工作。
当某项目发生重大险情时,及时抽调人员进行救援。
二、防汛物资:雨鞋、雨衣、铁锨、编织袋、手电筒、铁丝、排水泵、托线盘等,并设专人负责,确保防汛物资24小时可领用。
三、各项目经理为各区域防汛责任人;加强防汛意识培训,对重点部位要检查到位,发现险情及时上报部门或公司领导,并采取积极措施,避免险情扩大。
物业应急预案目录第一节应急疏散预案 (4)第二节火警处理应急预案 (9)第三节水浸/跑水应急预案 (16)第四节突发停电应急处理预案 (21)第五节停水应急预案 (26)第六节燃气泄漏应急预案 (31)第七节电梯困人应急预案 (35)第八节高空坠物应急预案 (39)第九节地震应急处理预案 (44)第十节防疫应急处理预案 (49)第十一节防汛(暴雨)防强风应急处理预案 (54)第十二节扫雪除冰应急预案 (59)第十三节触电应急处理预案 (62)第十四节游泳馆溺水事故应急处理预案 (67)第十五节食物中毒应急处理预案 (70)第十六节有限空间事故应急预案 (75)第十七节噪音污染应急处理预案 (80)第十八节停车收费系统故障应急处理预案 (83)第十九节门禁道闸系统使用异常应急处理预案 (86)第二十节交通意外应急处理预案 (90)第二十一节发现可疑物品、爆炸物品应急处理预案 (94)第二十二节发生盗窃、抢劫事件应急处理预案 (98)第二十三节发生打架、斗殴、寻衅滋扰事件应急处理预案 (101)第二十四节爆炸恐吓应急处理预案 (106)第二十五节发生自杀或企图自杀应急处理预案 (111)第二十六节发生精神病人、醉酒滋事应急处理预案 (115)第二十七节集体上访、示威、静坐应急方案 (119)第二十八节对散发反动传单、宣传品应急处理预案 (123)第二十九节重大活动安全保卫应急方案 (126)物业应急预案第一节应急疏散预案一、制定应急疏散预案的目的为了及时、妥善地处置可能突发的重大灾害事故,建立“信息畅通、反应快捷、处置有效、责任明确”的应急机制,使辖区内全体人员了解突发事件时的有关防护及紧急疏散的方法,提高紧急避险、自救自护和应变能力,保障全体人员生命、财产安全,保障辖区正常生活、工作秩序,特制定本应急疏散预案。
二、应急预案管理主体及职责(一)公司主管职能部门负责应急预案的编制、审定,指导、监督各项目部做好相关事故的预防工作,定期检查应急预案培训、演练的实施情况。
物业服务有限企业应急方案汇编人身损害处理应急方案1目的规范各种突发人身损害事件的处理工作,全力控制局势发展、影响。
2合用范围合用于各种人身损害事件的处理。
3职责管理处经理为突发事件处理总指挥,公布突发事件处理中的决定、命令。
管理员、各部门负责人为副组长,依据职责率领职工对事件现场进行处理。
各岗位人员为突发事件处理成员,踊跃参加突发事件的处理。
4工作程序处理要求发现人身损害事件或接到人身损害事件的报告,应立刻向管理处报告。
管理处应组织人员对事件进行实时、有效的处理,控制局势的发展及影响。
对事件处理应有有关记录,并妥当保留。
各种人身损害事件的处理人员坠楼的处理发现人员坠楼或接到人员坠楼的事件报告,应立刻向管理处报告。
监控中心立刻将摄像机调至事发现场,进行追踪录像,并实时向上司报告现场状况。
安保队长、巡逻岗安保员立刻赶赴现场,查察人员的伤亡状况,拨打 120 急救电话。
安排安保岗位保护事故现场次序,对进入事故现场的道路、通道进行封闭,劝离围观的人员;对事故现场进行保护,严禁没关人员进入事故现场。
派专人至门岗接引 120 急救车辆。
监控中心对各种突发事件的现场录像资料予以保留。
配合公安机关对事情的办理。
高空坠物伤人事件的处理发现高空坠物伤人或接到高空坠物伤人事件报告,应立刻向管理处报告。
监控将摄像机调至事故现场,对现场进行追踪拍摄;并查察事发楼宇周边的监控录像,看能否有坠物根源的录像记录,如发现坠物根源的应立刻向管理处报告。
安保队长、巡逻岗安保员赶往现场保护次序,劝离围观人员,保护好现场及人证。
人身损害处理应急方案查察当事人伤势状况,并拨打120 急救电话,派专人至门岗策应120 急救车辆。
对事发楼宇通道进行控制,严禁人员进入楼宇,对出楼宇的人员进行咨询或记录。
配合公安机关对事件进行检查。
监控中心对各种突发事件的现场录像资料予以保留。
触电事故的处理发现有人触电或接到有人触电的报告,应立刻向管理处报告。
监控将摄像机调至事发现场,对现场状况进行录像。
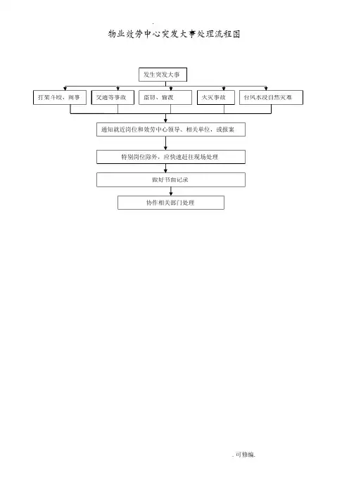
物业效劳中心突发大事处理流程图发生突发大事打架斗殴、闹事交通等事故盗窃、偷渡火灾事故台风水浸自然灾难通知就近岗位和效劳中心领导、相关单位,或报案特别岗位除外,应快速赶往现场处理做好书面记录协作相关部门处理物业效劳中心突发大事处理预案一、台风、暴雨应急预案〔1〕各岗位责任分工①平安保卫部认真做好暴风雨紧急状况时的信息传递、资源调配及有关后勤保障工作。
②工程修理部门负责给排水、供电、供空调、电梯等机电设备的故障及应急处理。
③平安保卫部负责“三防〞及平安保卫、义务消防等状况应急处理,同时负责抗灾救灾工作。
④保洁绿化部门负责绿化、环境的抗灾保护和灾后恢复工作。
〔2〕防台风防洪水及应急处理①效劳中心接到台风或暴雨警报信号通知后,应马上紧急发动,各部门处于备战状态,同时成立效劳中心主任任总指挥,各部门主管为成员的三防临时指挥部,效劳中心领导及相关人员应实行24 小时值班制度,作好防洪防汛救灾预备工作。
②在台风或暴雨降落前,应做好各项防风、防水浸措施,如:紧急做好防风、防水浸工作、关闭公共门窗,检查清理排洪设备、设施、广告招牌、花盆等。
③检查全部门窗,特别双开玻璃门是否有足够保护及稳固。
④结实全部简洁松脱物件,尤其是位于天台及露台等地方,对于一些较易吹倒的物件如花盆等应搬至室或将其绑紧。
⑤检查全部下水道、沙井、雨水渠等,并去除可能引致淤塞的垃圾、泥沙及杂物。
⑥确保全部应急用具可以随时应用,如沙包、雨衣、头盔、水靴、绳索、后备照明、方木〔用于固定玻璃门〕等。
⑦检查排水泵系统是否正常通畅。
⑧检查发电系统及其供油装置正常与否,并按规程试运行发电机组。
⑨关闭霓虹灯电源。
⑩智能化系统设备是否正常运行。
⑾检查完毕,觉察问题准时解决,如有处理不了的问题,应马上向领导报告。
⑿在发生台风、暴雨时,值班保安员对防风、防水浸关键区域和部位加强巡察,检查门窗状况,如觉察有窗户玻璃裂开,以最快速度赶至现场,并用板材临时封堵。
工程修理部修理人员集中待命,各层治理效劳人员坚守岗位,假设有设备故障投诉以及觉察事故隐患应实行紧急措施,准时予以解决。
物业突发事件应急预案(集锦篇)目的及时保质保量的完成铲冰扫雪任务,确保管理范围道路畅通、行人安全。
职责管理部办公室、客户服务中心、工程维修部、安全事务部共同负责铲冰扫雪工作。
工作程序1.项目管理部管辖区域的扫雪工作,要进行区域划分、明确具体负责人;2.提前准备各种清扫工具,工作要彻底保证积雪不造成新的障碍;3.下雪天要及时组织人员清扫,工作要彻底,保证积雪不造成新的障碍;4.严格按照市政府要求落实扫雪铲冰工作;1)白天雪后"2小时融通,4小时打透"及时清扫,保证道路畅通;2)夜间降雪,次日10时之前将路面积雪清扫干净;5.项目管理部执总、助理和各部门专业经理必须到达管理区域组织和调配人员开展扫雪铲冰工作;6.遇节假日降雪,各项目管理部应提前布置,确保道路畅通,公司行政管理部和各项目值班负责人要积极做好协调、沟通工作;7.公司行政管理部要对各项目管理部扫雪铲冰工作进行抽查,对未能及时完成或不配合工作的部门和个人进行通报批评并按公司相关规定进行处理;8.为了避免破坏环境,扫雪铲冰主要以人工清扫为主,避免、少用各类融雪剂,更不得将含有融雪剂的雪直接倾倒于辖区绿化带内,或直接在绿化带内倾倒融雪剂。
人员安排1.安排保洁绿化人员清扫各单元门前积雪:1)1号楼--4号楼2人2)5号楼--9号楼2人3)10号楼--12号楼2人4)16号楼--15号楼2人2.安排保洁绿化人员清扫主路:主路安排4人清扫。
3.安排保洁绿化人员清扫幼儿园及中心花园:1)幼儿园安排1人清扫。
2)中心花园安排2人清扫。
4.清扫园区外围路面堆放的积雪:安排3辆三轮车,6人清扫园区外围积雪。
5.客户服务部、安全事务部、工程维修部协助清扫。
一、指导思想为有效预防、及时控制和消除小区重大突发事件的危害,保障小区的公共秩序,维护业主生命安全不受侵犯做好防范,全面提高应对恐怖和暴力能力,根据我物业实际情况特制定小区反恐防暴应急预案。
应急预案流程图1. 引言应急预案是为了应对突发事件或紧急情况而制定的一种操作指南,旨在确保组织内部人员在面临危机时能够迅速、有效地采取行动。
本文将介绍应急预案的流程图及说明,方便组织在应急情况下能够按照流程有序地做出反应。
2. 流程图st=>start: 突发事件发生e=>end: 事态得到控制op1=>operation: 通知相关人员op2=>operation: 收集相关信息op3=>operation: 分析情况op4=>operation: 制定应对策略op5=>operation: 行动执行op6=>operation: 进行事后总结st->op1->op2->op3->op4->op5->op6->eop1(right)->op2op2(right)->op3op3(right)->op4op4(right)->op5op5(right)->op63. 流程图说明3.1 突发事件发生流程的起点是突发事件的发生。
突发事件可能包括自然灾害、事故、网络安全漏洞等。
当突发事件发生时,应急预案流程启动。
3.2 通知相关人员在突发事件发生后,第一步是通知相关人员。
这些人员可能包括应急小组成员、负责人、关键岗位人员等。
通过及时通知,可以让相关人员了解情况并做好准备。
3.3 收集相关信息在通知相关人员后,需要立即收集与突发事件相关的信息。
这些信息可能包括事件的性质、地点、时间、影响范围等。
收集信息的目的是为了更好地分析情况并制定应对策略。
3.4 分析情况收集到相关信息后,需要对情况进行分析。
这包括对事件的原因、危害程度、应对措施等方面进行分析,以便更好地评估事件的紧急程度和应对方法。
3.5 制定应对策略在分析情况后,需要根据情况制定应对策略。
这些策略应包括具体的行动步骤、责任分工、资源调配等内容,以确保应对工作的有序进行。
应急预案流程图应急预案流程图目录1.治安事件处理规程 31.4.1. 财务被盗窃的应急处理程序 41.4.2. 打架斗殴案件的应急程序 51.4.3. 对醉酒闹事或精神病人的应急处理程序 61.4.4. 对发生急症人员的应急处理程序 71.4.5. 对发生突然死亡事件的应急程序 81.4.6. 非法闯入报警处理程序 91.4.7 爆炸及可疑爆炸物的紧急处理方案 101.4.8. 邪教宣传的紧急处理方案 111.4.9. 发生抢劫紧急处理程序 121.4.10. 接到控吓处理流程 131.4.11. 高空坠物处理流程 141.4.12. 商场租户/顾客受伤及意外应急处理流程 151.4.13 出入口刷卡报警及撞杆报警处理程序 161.4.14 车场闲杂人员的处理 171.4.15 停车区域显现车辆漏油现象的处理程序 181.4.16 车辆撞坏车场设备设施处理程序 291.4.17 车祸处理程序 201.4.18 车辆发生盗窃 212.工程遇险处理规程222.1 对发生水浸事件的应急处理程序 232.2 对购物中心停电的应急处理序 242.3 燃气报警处理程序 252.4 电梯报警处理程序 262.5 喷淋头爆裂处理流程 272.6 暴雨超过正常排水量、车库进水283.火灾应急预案29-324.地震应急预案 33自然灾难应急预案344.1 商场遇雷暴及八级大风预案 355.其它应急预案365.1 噪音/异味等污染处理程序 375.2 大厦拾获财务的处理流程 385.3 迷路儿童的处理流程 391.4.9.商场发生抢劫处理流程1.4.10.接到恐吓处理流程1.4.12.商场租户/顾客受伤及意外应急处理流程2.工程遇险处理规程2.5.喷淋头爆裂处理流程3.火灾应急预案3.1.目的:保证在发生火情时,各部门能迅速有效地进行抢险和救援。
3.2.范畴:购物中心内所有公共区域、办公区域及业户租赁区域。
3.3. 职责:灭火总指挥负责,全体购物中心职员具体实施。
物业服务有限公司应急预案汇编人身伤害处置应急预案1目的规范各类突发人身伤害事件的处置工作,尽力控制事态发展、影响。
2适用范围适用于各类人身伤害事件的处置。
3职责3.1管理处经理为突发事件处置总指挥,发布突发事件处置中的决定、命令。
3.2管理员、各部门负责人为副组长,按照职责带领员工对事件现场进行处置。
3.3各岗位人员为突发事件处置成员,积极参与突发事件的处置。
4工作程序4.1处置要求4.1.1发现人身伤害事件或接到人身伤害事件的报告,应立即向管理处报告。
4.1.2管理处应组织人员对事件进行及时、有效的处置,控制事态的发展及影响。
4.1.3对事件处置应有相关记录,并妥善保存。
4.2各类人身伤害事件的处置4.2.1人员坠楼的处置4.2.1.1发现人员坠楼或接到人员坠楼的事件报告,应立即向管理处报告。
4.2.1.2监控中心立即将摄像机调至事发现场,进行跟踪录像,并及时向上级报告现场情况。
4.2.1.3安保队长、巡逻岗安保员立即赶赴现场,查看人员的伤亡情况,拨打120急救电话。
4.2.1.4安排安保岗位维护事故现场秩序,对进入事故现场的道路、通道进行封锁,劝离围观的人员;对事故现场进行保护,禁止无关人员进入事故现场。
4.2.1.5派专人至门岗接引120急救车辆。
4.2.1.6监控中心对各类突发事件的现场录像资料予以保存。
4.2.1.7配合公安机关对事情的处理。
4.2.2高空坠物伤人事件的处置4.2.2.1发现高空坠物伤人或接到高空坠物伤人事件报告,应立即向管理处报告。
4.2.2.2监控将摄像机调至事故现场,对现场进行跟踪拍摄;并查看事发楼宇周边的监控录像,看是否有坠物来源的录像记录,如发现坠物来源的应立即向管理处报告。
4.2.2.3安保队长、巡逻岗安保员赶往现场维护秩序,劝离围观人员,保护好现场及物证。
人身伤害处置应急预案4.2.2.4查看当事人伤势情况,并拨打120急救电话,派专人至门岗接应120急救车辆。
物业管理平安应急预案为科学有效应对物业管理区域可能出现的突发事件,标准应急处置工作,实在消除我市物业管理区域平安隐患,保障物业管理区域内的公共平安,下面是物业消防平安应急预案,欢迎参考阅读!对于“颐园世家”(以下简称“颐园世家”)的开发建立,我公司保持了长期的关注,与此同时我们对工程客户对物业管理的需求进展了初步调研,将本工程的调研归纳如下:一、地理位置:“颐园世家”合肥高新技术开发区,东临怀宁路,南依习友路,是政务新区的真正核心地带。
二、经济技术指标:“颐园世家”总占地面积7.9万平方米,总建筑面积18.2万平方米,其中多层约6000平方米;小高层127000平方米;商业32000平方米;地下停车场面积为21000平方米。
容积率为2.03,绿化率35%。
电梯数量57部,车位数量671辆(地面:125个,地下:546个)三、交通组织与智能化配置:小区设两个出入口,一期一个,车位充足。
公共区域机动车泊车位集中在小区周围和地下停车场,主干道旁划定零星临时泊车位。
根本远离住宅楼,减少了对居民的影响,组团区道路设计同时亦充分考虑无障碍设计。
“颐园世家”实行智能化配套联网,按星级配置,设:联网式彩色可视对讲、进口带云台监控、红外线防越报警、电子巡更、小区背景音乐。
四、休闲小区设有多功能休闲会所,会所内设有体育健身中心,医疗室,儿童游戏场所,老人活动中心、景观水池等。
每个组团有充足的活动场地,中央长廊与水系贯穿小区的中央,方便了业主的日常与休闲。
五、商办楼:规划总建筑面积为32000㎡的休闲商办楼,与住宅完全分隔又完美配套,与街景容为一体,使住户的生活便利无忧。
六、周遍配套政务新区是合肥较为成熟的新兴高档居住区,周遍公共配套齐全,宜商宜住,“颐园世家”周围学校、医疗、、餐饮、超市、农贸及生活效劳等配套设施一应具全,最大程度了满足了业主的生活需求。
七、物业管理重点和难点根底性效劳提供与差异性效劳提供对小区内部实行封闭式管理小区平安性、便利性、舒适性高度共融要成功到达“颐园世家”的管理目的,需要管理者具备优秀的管理效劳体系。
应急措施及流程一.业户自用部位、小区物业管理范围内突然断水、断电、无煤气的应急措施无论是业主、使用人自用部位或小区物业管理范围发生无煤气的情况,小区物业应通知业主和业主、使用人等立即将所有煤气形状置于“关”的位置,于此同时,通知煤气公司抢修队伍到场检修,其它非煤气公司人员均不得拆装煤气管线设备。
二.小区物业管理范围内突然断水、断电、无煤气的应急措施三.业主与业主、使用人自用部位排水设施阻塞的应急措施四.雨、污水管及排水管阻塞的应急措施首先,要判明故障原因,尽可能地缩小故障范围,尽可能避免和减少对业主和业主、使用人影响,在必要时要调用临时排水泵解决,同时加紧排除故障,以尽快恢复设施的正常功能。
五.电梯、水泵等大型机电设备突然停转或机电故障的应急措施(一)电梯故障,乘客被困处理程序(二)机电设备故障停转处理程序1.市政工程引起机电设备故障1)物业客服人员应及时向供电局了解情况,掌握停电时间,并将情况通知工程维修人员。
2)物业客服人员负责稳定住户的情绪,并向客人解释情况。
3)秩序维护人员负责维持小区内的交通秩序。
4)巡逻秩序维护员应立即至电梯、地下车库等处查看,如有情况及时处理。
5)设备修复后,物业主管负责通知业户。
2.自身设备故障引起机电设施停转处理程序1)物业客服人员负责稳定业户的情绪,并向客人解释情况。
2)工程维修人员进行抢修,随时将情况报客户服务中心经理。
3)秩序维护员负责维持小区内的交通秩序。
4)巡逻秩序维护员应立即至电梯、地下车库等处查看,如有情况及时处理。
六.发生火警时的应急措施(一)发生火警要保持镇定,及时通知监控中心确认(二)如果是小火,可以用消防水带灭火器等进行扑救,如果火势不能控制立即退出,通知监控中心并及时报警,等候消防人员处理(三)疏散人员,停止使用电梯;(四)将危险品及贵重财产转移至安全处;(五)配合消防人员灭火,告知有关情况;(六)记录火警时间、地点、火势、受损情况和受到影响业户的情况。
人身伤害处置应急预案一、目的规范各类突发人身伤害事件的处置工作,尽力控制事态发展、影响。
二、适用范围适用于各类人身伤害事件的处置。
三、职责1、物业总经理为突发事件处置总指挥,发布突发事件处置中的决定、命令。
2、管理员、各部门负责人为副组长,按照职责带领员工对事件现场进行处置。
3、各岗位人员为突发事件处置成员,积极参与突发事件的处置。
四、工作程序1、处置要求A、发现人身伤害事件或接到人身伤害事件的报告,应立即向管理处、资产处报告。
B、物业公司应组织人员对事件进行及时、有效的处置,控制事态的发展及影响。
C、对事件处置应有相关记录,并妥善保存。
2、各类人身伤害事件的处置A、人员坠楼的处置1.发现人员坠楼或接到人员坠楼的事件报告,应立即向管理处、资产处报告。
2.监控中心立即将摄像机调至事发现场,进行跟踪录像,并及时向上级报告现场情况。
3.安保领班、巡逻岗安保员立即赶赴现场,查看人员的伤亡情况,拨打120急救电话。
4.安排安保岗位维护事故现场秩序,对进入事故现场的道路、通道进行封锁,劝离围观的业主;对事故现场进行保护,禁止无关人员进入事故现场。
5.派专人至门岗接引120急救车辆。
6.监控中心对各类突发事件的现场录像资料予以保存。
7.配合公安机关对事情的处理。
B、高空坠物伤人事件的处置1.发现高空坠物伤人或接到高空坠物伤人事件报告,应立即向管理处、资产处报告。
2.监控将摄像机调至事故现场,对现场进行跟踪拍摄;并查看事发楼宇周边的监控录像,看是否有坠物来源的录像记录,如发现坠物来源的应立即向总经理报告。
3.安保领班、巡逻岗安保员赶往现场维护秩序,劝离围观业主,保护好现场及物证。
4.查看当事人伤势情况,并拨打120急救电话,派专人至门岗接应120急救车辆。
5.对事发楼宇通道进行控制,禁止人员进入楼宇,对出楼宇的人员进行询问或记录。
6.配合公安机关对事件进行调查。
7.监控中心对各类突发事件的现场录像资料予以保存。
C、触电事故的处置1.发现有人触电或接到有人触电的报告,应立即向总经理报告。
2.监控将摄像机调至事发现场,对现场情况进行录像。
3.安保领班、巡逻岗安保员、工程人员赶往事发现场。
4.至现场后,工程人员根据现场情况,关闭区域电源,用绝缘竿把电源线挑开。
5.拨打120急救电话,并派专人至门岗接应急救车。
6.触电人员脱离电源后,立即进行急救。
7.封闭通往现场的通道,禁止无关人员进入现场,并对事故现场进行保护。
8.配合公安机关或安监工作人员做好调查工作。
9.监控中心对各类突发事件的现场录像资料予以保存。
页次:1/3设备突发事故处置应急预案一、目的规范设备突发事故的处置工作,尽力控制事态发展、影响。
二、适用范围适用于设备突发事故的处置。
三、职责1、管理处经理为突发事件处置总指挥,发布突发事件处置中的决定、命令。
2、管理员、各部门负责人为副组长,按照职责带领员工对事件现场进行处置。
3、各岗位人员为突发事件处置成员,积极参与突发事件的处置。
四、工作程序1、处置要求A、发现设备突发事故或接到设备突发事故的报告,应立即向管理处及资产处报告。
B、管理处应组织人员对事件进行及时、有效的处置,控制事态的发展及影响。
C、各岗位人员为突发事件处置成员。
2、各类设备突发事故的处置A、停电处置1.有停电通知的停电。
2.接到上级或供电部门的停电通知,立即以书面的形式告知此次停电范围内受影响的师生。
3.对此次停电可能产生影响的设施、设备进行统计,并做好处置措施。
4.停电前五分钟关闭各类公共设备电源,关闭前对设施的适用情况进行检查(例如:电梯是否有人乘用等)。
5.停电期间加强安全巡查,防止偷盗事故的发生。
B、突发停电1.发现或接到突发停电的报告,立即向管理处报告,并通知当值工程人员。
2.安保领班、巡逻岗安保员立即赶赴现场,利用看、闻、问等手段了解断电情况。
3.查看电梯内是否关人,如电梯内关人的立即启动电梯困人应急处置预案。
4.告诉师生不要惊慌,并做好人员的安抚工作;如发生其他紧急情况需要紧急疏散时,立即引导师生从安全通道向室外疏散。
5.加强辖区内的安全巡逻,防止偷盗事件的发生。
页次:2/36.配合工程人员查清停电原因,做好工作记录。
C、煤气泄漏事故处置1.发现煤气泄漏或接到煤气泄漏的报告,应立即向管理处及资产处报告。
2.设法寻找漏气源,并对气味较浓的区域进行封锁,防止无关人员进入。
3.若发现有人中毒的立即拨打120急救电话,并派专人至门岗接引救护车。
4.发生在室内的应立即疏散室内人员,关闭入室煤气总管阀门,并开门、开窗进行通风。
5.禁止区域内使用明火或对电气设备进行操作。
6.如煤气达到一定浓度而又无法找到泄漏源的,应根据指令拨到119求援。
7.安排安保岗位,对区域进行警戒,直到煤气味散去。
D、水淹事件处置1.发现水淹事件或接到水淹事件的报告,应立即向管理处及资产处报告。
2.通知工程人员赶到现场,对水是否带电进行测试;如带电的应立即切断电源开关,再次进行测试,直至安全为止。
3.监控值班人员将附近摄像机调制现场,对事件进行录像记录。
4.对现场进行控制,禁止无关人员进入现场。
5.查找泄漏水源,设法进行关闭或控制。
6.成立救援小组进行现场处置。
7.一组对水淹现场的财物进行抢救,立即搬离现场。
8.二组用潜水泵或其它工具进行排水。
9.三组对所抢救的财物进行清点、整理。
10.安保领班对事件进行记录,监控值班安保保存现场录像资料。
E、水管爆裂事件处置1.发现水管爆裂或接到水管爆裂的报告,应立即向管理处及资产处报告。
2.立即用沙袋对电梯厅、通道楼梯口,房间门口进行封堵,防止水流到电梯内、其它楼层及房间内。
3.寻找所爆裂管道的阀门,并将阀门关闭。
4.监控值班员将附近摄像机调至事发现场,进行录像记录。
5.如喷淋管爆裂的用消防水带把出水口套住,用水带把水引致室外或卫生间。
6.用工具对积水进行排除。
7.如房间内进水,房间教师不在,要立即进行联系。
8.通知工程人员至现场抢修。
F、电梯困人处置1.发现电梯困人或接到电梯困人的报告,应立即向管理处报告,并立拨打电梯维保人员电话。
2.监控人员通过电梯对讲系统,了解电梯内关闭人员的数量、精神状况,有无老人、小孩或伤病人员,并对被困人员进行安抚。
3.监控人员告知被困人员切勿在电梯内跳动或用手扒开电梯轿厢门等行为。
4.领班、巡逻岗安保员立即赶赴现场,对电梯轿厢在那个楼层发生了故障进行确认。
5.机动岗立即对首层电梯厅进行封闭,对等待乘坐电梯的人员进行耐心解释。
6.楼层确认后,询问被困人员身体情况,如被困人身体不适或要求要救护的话,立即拨打120急救电话,并派出专人至门岗接引救护车。
7.电梯维保人员到场后,配合维保人员营救被困人员,并做好人员受伤或突发疾病的救护工作。
8.人员营救出来后,询问人员身体状况,并进行记录。
火警处置应急预案一、目的规范火警的处置工作,提高对火灾工作的扑救、组织能力和处置能力。
二、适用范围适用于火警的处置工作。
三、职责A、管理处经理为突发事件处置总指挥,发布突发事件处置中的决定、命令。
B、管理员、各部门负责人为副组长,按照职责带领员工对事件现场进行处置。
C、各岗位员工为消防义务队员,全力参与火灾的扑救。
四、工作程序A、处置要求1、发现火警或接到火警的报告,应立即向管理处、资产处报告,并组织人员至现场对初起火灾进行扑救。
2、管理处应组织人员对事件进行及时、有效的处置,控制事态的发展及影响。
3、参加人员全力进行火灾的扑救工作,把损失控制在最小的范围,B、处置程序1、救援工作小组1.灭火行动组a)义务消防队员由全体安保组成。
b)配合公安消防人员进行火灾的扑救工作。
2.通讯联络组a)通讯联络由办公室人员全面负责。
b)保持与资产处的沟通工作c)向公司汇报现场情况。
d)联络外界救援力量。
3.疏散引导组a)由义务消防队员组成,负责人员的疏导及财务的抢救。
b)要求以最短的时间将人员疏导到规定的集合点。
c)在保证自身安全的情况下尽力抢救贵重资料、物品。
d)将外来救援队伍引导至现场。
4.安全救护组a)由办公室人员组成,负责受伤人员的救护工作。
b)120到达现场后,协助、配合医务人员进行救护工作。
2、接警的处置1.消防监控室收到消防报警讯号,立即通知该区域巡逻人员至现场核实,巡逻人员核实后及时将现场的火情情况反馈给监控。
初起火灾应立即利用附近灭火器材将火苗扑灭,并向上级报告。
2.通过通讯工具报警的,应问清楚火情发生的地点、火势情况、周边是否堆放有易燃、危险物品;问清楚报警人的姓名、所属部门、联系电话等,了解清楚现场情况后,立即向上级报告;如是初起火情的,应引导报警人进行扑救。
3、应急处置1.人员的召集a)确认火情属实后,安保领班立即召集各部门义务消防队员尽快赶到现场。
b)调整现场安保岗位,参加火灾现场的秩序维护工作。
c)管理处经理到场,指挥义务消防队员进行灭火及援救工作。
d)根据火场总指挥命令,消防控制中心启动消防警铃及消防广播。
2.疏散a)引导人员向安全区疏散,护送行为不便者撤离险境,检查是否有人员留在房间内,安置好疏散至安全区的人员,并安抚、稳定其情绪。
b)疏散次序:先从着火层开始疏散,再从着火层以上楼层人员的疏散,最后从着火层以下楼层疏散,疏散时应组织好,避免发生混乱。
c)通过消防广播或组织人员引导火灾区域的人员进行疏散。
d)在保证自身安全的情况下,抢救重要物资、物品。
3.灭火a)启动消防水泵,满足着火楼宇的消防用水,铺设好水带做好灭火准备。
b)关闭防火分区的防火门及防火卷帘门。
c)携带灭火工具到着火区域相邻的地方,检查是否有火势蔓延的可能,及时扑灭蔓延的火势。
d)针对不同的燃烧,采用不同的灭火方式。
e)火情无法控制的,根据总指挥命令拨打119火警求救。
4.安全警戒a)安保警戒人员清除着火楼宇外部路障,疏导车辆、人员离开现场。
b)阻止无关人员及车辆进入火灾现场,维护好周边的安全秩序。
c)防止不法分子趁机进行破坏性活动。
5.医疗救护a)在疏散安全区域设立临时救护站,配备所需的医疗药品及器材。
b)对受伤人员进行救护,协助120做好救护及伤、病员的转移工作。
4、后期处理1.火灾扑救完毕后,保护好现场,等待公安机关的勘察。
2.保洁人员协助校方清理火灾现场。
治安事件处置应急预案一、目的规范治安事件的处置工作,控制事态发展及影响。
二、适用范围适用于各类治安事件的处置工作。
三、职责1、管理处经理为突发事件处置总指挥,发布突发事件处置中的决定、命令。
2、管理员、各部门负责人为副组长,按照职责带领员工对事件现场进行处置。
3、各岗位人员为突发事件处置成员,积极参与突发事件的处置。
四、工作程序1、处置要求A、发现治安事件或接到治安事件的报告,应立即向管理处及资产处报告。
B、管理处经理应组织人员对事件进行及时、有效的处置,控制事态的发展及影响。