免抵退申报流程
- 格式:doc
- 大小:65.50 KB
- 文档页数:26
“免、抵、退”税申报流程及注意事项(2008)二、明确出口货物免抵退税的申报期限(重点)(一)单证齐全申报期限。
根据《国家税务总局关于出口货物退(免)税管理有关问题的通知》(国税发[2004]64号)第三条和《国家税务总局关于出口货物退(免)税管理有关问题的补充通知》(国税发[2004]113号)第二条的规定,生产企业的出口货物应在货物报关出口之日(以出口货物报关单﹤出口退税专用﹥上注明的出口日期为准)起90日内向主管税务机关退税部门申报免抵退税,如果其到期之日超过了当月的免抵退税申报期限,生产企业应在次月的免抵退税申报期内申报免抵退税,如仍未申报,税务机关应当视同内销货物予以征税。
举例说明:如2008-03-17出口的货物,90日后的到期之日是2008-06-15,申报所属期为200805的免抵退税申报期限为2008-06-15(节假日顺延),由于到期之日未超过所属期200805的免抵退税申报期限,因此,2008-03-17出口的货物应在2008-06-18前申报免抵退税,则最迟应在所属期200805申报单证齐全。
如2008-03-21出口的货物,90日后的到期之日是2008-06-19,所属期200805的免抵退税申报期限为2008-06-15(节假日顺延),由于到期之日已经超过所属期200805的免抵退税申报期限,企业可在次月的免抵退税申报期限2008-07-15前申报,因此,2008-03-21出口的货物可在2008-07-15前申报免抵退税,则最迟可在所属期200806申报单证齐全。
(二)出口货物收汇核销期限。
根据《国家税务总局关于出口货物退(免)税管理有关问题的通知》(国税发[2004]64号)第二条的规定:1、该条规定所列举的六类出口企业,在出口货物申报单证齐全时必须提供出口收汇核销单。
2、除该条规定所列举的六类企业以外的出口企业应在货物报关出口之日(以出口货物报关单﹤出口退税专用﹥上注明的出口日期为准)起180天内向税务机关提供出口收汇核销单。
生产企业出口货物免抵退税申报系统操作说明一、系统登录1.打开电脑,进入系统登录界面。
2.输入企业账号和密码,并点击登录按钮进入系统。
二、货物信息录入1.在系统主界面上方找到货物信息录入入口,点击进入。
2.在货物信息录入页面,按照提示依次填写货物的相关信息,包括货物种类、货物数量、货物价值等。
3.点击保存按钮,将货物信息保存至系统中。
三、申报信息填写1.在系统主界面上方找到申报信息填写入口,点击进入。
2.在申报信息填写页面,按照提示依次填写相关信息,包括企业信息、出口国家、进出口合同号等。
3.点击保存按钮,将申报信息保存至系统中。
四、退税申请1.在系统主界面上方找到退税申请入口,点击进入。
2.在退税申请页面,选择需要申请退税的货物信息,并填写退税申请金额。
3.点击申请按钮,系统将自动进行退税计算,并生成退税申请表格。
5.将打印好的退税申请表格提交至相关部门。
五、退税审核1.在系统主界面上方找到退税审核入口,点击进入。
2.在退税审核页面,选择需要审核的退税申请表格,并填写审核结果和审核意见。
3.审核通过的退税申请将自动进行退税操作,审核不通过的退税申请将被驳回。
六、退税查询1.在系统主界面上方找到退税查询入口,点击进入。
2.在退税查询页面,输入退税申请的相关信息,如退税申请号或企业名称等。
3.点击查询按钮,系统将显示相应的退税申请结果。
七、退税记录导出1.在系统主界面上方找到退税记录导出入口,点击进入。
2.在退税记录导出页面,选择需要导出的退税记录的时间范围。
3. 点击导出按钮,系统将自动将选择的退税记录导出为Excel或PDF文件。
八、系统退出1.在系统主界面上方找到系统退出入口,点击进入。
2.在系统退出页面,点击退出按钮,系统将自动退出当前登录状态。
问:生产企业从事进料加工贸易,在手册登记、申报、核销上有哪些时限规定?答:从事进料加工业务的生产企业,应于取得海关核发的《进料加工登记手册》后的下一个增值税纳税申报期内向主管税务机关办理《生产企业进料加工登记申报表》;于发生进口料件的当月向主管税务机关申报办理《生产企业进料加工进口料件申报明细表》;并于取得主管海关核销证明后的下一个增值税纳税申报期内向主管税务机关申报办理核销手续。
逾期未申报办理的,税务机关在比照《中华人民共和国税收征收管理法》第六十二条有关规定进行处罚后再办理相关手续。
生产企业免抵退申报流程目录:一、软件下载 (1)二、系统初始化及初始设置…………………………………………………1-7三、“免、抵、退”税明细数据采集……………………………………………7-21四、免税货物明细数据采集…………………………………………………21-22五、“免、抵、退”税预申报…………………………………………………22-25六、办理预申报 (25)七、预审核反馈疑点调整………………………………………………25-28八、重新生成明细申报数据 (28)九、模拟出具进料加工贸易免税证明………………………………………29-30十、纳税申报表采集………………………………………………………30-31十一、“免、抵、退”税汇总表录入……………………………………………31-35十二、“免、抵、退”税正式申报………………………………………………35-37十三、打印申报报表…………………………………………………………37-41十四、生成出口货物冲减明细………………………………………………41-44一、软件下载生产企业的出口退税申报系统是在国家税务总局进出口税收管理司及信息中心统一领导下设计开发,供出口企业及税务机关免费使用,不需要任何费用,现使用的版本为“生产企业出口退税申报系统7.0版”,纳税人可以在中国出口退税咨询网,网址是或者在佛山市南海区国家税务局网,网址是直接下载使用(“申报系统”的下载以当时最新的版本为准)。
生产企业免抵退税申报系统操作流程第一步:登录系统打开电脑,进入操作界面,输入企业的用户名和密码,点击登录按钮进入系统。
第二步:选择申报类型在系统首页中选择申报类型,通常分为一般纳税人、小规模纳税人和免抵退税三种类型,根据企业的纳税资质选择相应的类型。
第三步:填写基本信息在申报类型选择完之后,系统会弹出填写基本信息的页面。
在该页面中,需要填写企业的注册信息、单位备案信息、信用评级等基本信息,并且需要上传相关证件的扫描件。
第四步:填写申报表填写基本信息之后,系统会根据企业的纳税类型自动显示相应的申报表,企业需要填写相应的表格。
表格的内容通常包括销售收入、进项税额、进口环节增值税等信息。
第五步:检查数据准确性在填写完申报表之后,系统会自动进行数据的校验,企业需要仔细检查数据的准确性,确保填写的信息无误。
如果有错误或者遗漏,可以进行修改或者补充。
第六步:确认申报表确认申报表之前,系统会再次提醒企业检查数据的准确性,确保申报表中的信息无误。
确认无误后,可以点击确认按钮提交申报表。
第七步:核对后提交企业提交申报表后,系统会自动进行数据的核对,比对申报表中的数据与系统中的数据是否一致。
如果数据一致,系统会生成退税申报表。
第八步:打印退税申报表在系统生成退税申报表之后,企业可以点击打印按钮,将退税申报表打印出来。
同时,系统也会自动生成电子版的退税申报表。
第九步:备份申报数据打印退税申报表之后,企业需要将申报数据进行备份,以备后续的查阅和审查。
第十步:提交申报表企业需要将打印好的退税申报表和备份的申报数据一起,通过邮寄、快递等方式提交给相关税务机关。
总结:。
生产企业免抵退申报的一般步骤:新办企业安装申报系统后,首先应进行系统维护,一般企业申报流程:第一步明细数据采集;第二步免抵退税预申报;第三步预审反馈疑点调整;第四步模拟出具进料加工免税证明;第五步纳税申报;第六步纳税申报表数据采集;第七步免抵退汇总表数据采集;第八步免抵退正式申报。
新用户或对相关业务不是很熟悉可通过“申报系统操作向导”逐步完成当月退税申报。
(一)系统维护初次运行系统,需以系统管理员身份sa(小写)进入系统,不要输入密码。
首先进行系统维护,系统维护是出口退税申报系统的基础工作,对于新安装申报系统的用户首先应进行系统维护,之后才能进行出口业务的录入申报。
新安装用户进入系统必须进行系统初始化、系统配置设置与修改、系统口令设置与修改三个菜单操作。
1、系统初始化系统初始化是在系统第一次使用时或在特定条件下需要清空所有数据记录时,可选择此项操作,清除标准代码表以外的所有实用数据。
由于该项操作涉及到系统的全部实用数据,所以只有管理员有此操作权限,其他用户没有此操作权限。
2、系统配置设置与修改。
是将出口企业的相关信息,企业代码、纳税人识别号、用户名称、纳税人类别、计税计算方法等内容录入系统,进料加工计算方法选“2”购进扣税法,不按月计算退税的新办出口企业计税方法为选“4”免抵,按月计算免抵退税的企业计税方法为选“1”免抵退,分类管理代码选“C”。
3、系统参数设置与修改,设置系统备份路径(建议备份到有E盘或其他盘)、网络数据路径、申报地址等申报报参数。
4、系统口令设置与修改。
该菜单可以增加新的操作人和修改、删除原操作人及口令。
增加新用户必须以管理员身分(sa)进入系统,用户名:进入系统时要求输入的用户名,可以是英文字母或数字、汉字、最长为8个字符。
操作人姓名:录入对应操作人的真实姓名;操作人级别,0为系统管理员,1为主管负责人,2为一般操作人。
日常操作中用要求以一般用户身分登录。
用户口令设置:以“管理员身份”进入该模块后,可以看到所有用户,也可以添加修改用户资料,一般用户只能对口令进行修改。
免抵退操作指引一、进料加工手册登记录入。
(向导第一步)所属期当月有新的通关手册时才录入。
输入单据:通关手册录入方法:1、通关手册中的“进料登记册号”“进口总值”、“出口总值”、“出口币别”、“合同有效期限”在手册登记的相应项目中准确录入。
2、“复出商品码”和“复出商品名称”选择该手册出口成品中总价最大的商品代码录入。
3、“征税税率”和“退税率”根据输入复出商品码自动生成。
4、“进料登记册号”以“C”字母开头共12位数。
二、进口料件明细申报录入。
(向导第一步)企业在每月纳税申报前、将上月收到的进口报关单在“进口料件明细申报录入”窗口中全部录入。
输入单据:1、对“贸易方式”为“进料对口”、“进料深加工”等进口报关单,以正数录入。
2、对“贸易方式”为“进料余料结转”、“进料料件内销”和“进料边角料内销”“进料料件退换”、“进料料件复出”等出口报关单以负数录入。
3、对“贸易方式”为“一般贸易”的进口报关单,不能录入。
录入方法“1、“所属期”:输入当前申报的年月。
2、“序号”:可以由小到大输入4位数的流水号,也可以先任意录入。
每月都以0001开始。
3、“进料登记册号”:根据进口报关单上的备案号,一般是以“C”字母开头共12位数。
4、“报关单号”:根据进口报关单右上角的“海关编号”+“0”+“项号”录入。
如:有一张报关单的海关编号是123456789,该报关单共两行商品、第一行商品的项号为“01”,第二行的项号为“02”,则录放该进口报关单第一行商品时,其进口报关单号应录为“123456789001”5、“代理证明号”:不是代理就为空无须录入。
6、“进口商品代码”:根据进口报关单对应行的商品编码录入,如果企业之前设置好“自用代码”的,可以点击该的下拉式菜单,再选择该商品代码即可完成商品代码录入工作,否则必须人手录入。
7、“进口商品名称”和“计量单位”:录入“进口商品代码”后,这两栏电脑会自动提供,不管出现的商品名称和计量单位是否与真实情况一致,企业都不必理会。
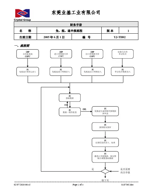
一、流程图承上页说明:1、在基础数据录入是需要以下纸质资料1)进口报关单复印件2)出口报关单复印件及相对应出口发票原件(国税局留存联)3)若当月有做前期单证收齐,则有出口报关单(出口退税专用联)原件及相对应出口收汇核销单(出口退税专用联)原件4)若当月有做新手册录入,则有手册复印件、合同备案表5)若当月有做手册核销入,则应有海关合同核销结案清单(复印件),相对应手册复印件(整本)注:以上资料都需做好封面并装订成册报税局2、系统生成的报表1)进料加工登记申报表2)进料加工料件申报明细表3)出口货物免、抵、退税申报明细表4)进料加工海关登记手册核销申请表5)进料加工贸易免税证明6)出口货物免、抵、退税申报汇总表注:报表1)-5)需一式二份,报表6)需一式三份。
3、需要自行整理的报表1)增值税纳税申报表主表及附表一,附表二2)销售收入明细表3)综合进项分配表 -(如果有转厂则需做,8月开始如没有转厂就不用做)注:以上报表1)和2)需一式一份,报表3)需一式两份报税局二、步骤1、收到船务部E-mail的新手册,在免抵退系统中向导的步骤1-1:进料加工手册登记录入2、日常收到船务部E-mail的进出口报关单,将进出口报关单各打印一式三份(税局、HK、留底各一份),其中HK那份需打印出每张报关单所附进出口发票及装箱清单。
3、将进出口报关单内容分别录入免抵退系统向导中步骤1-2:进口料件明细申报录入步骤1-3:出口货物明细申报录入4、月底结束后录完本月所有进出口报关单,在向导中步骤3:生成预申报盘报送税局预审。
5、预审反馈后,可接着按向导中步骤 4:预审核反馈疑点调整—税务机关反馈信息读入—税务机关反馈信息处理—税务机关反馈信息查询查询反馈信息无疑点后按步骤6:模拟出具进料免税证明—生成进料加工贸易免税证明。
6、步骤8:纳税申报数据采集,即本期增值税申报表数据。
7、步骤9:免抵退汇总数据采集。
8、步骤10:生成汇总申报盘并打印申报表。
免抵退税申报流程1.免抵税预申报1、免抵退税预申报时间:本月免抵退税正式申报之前资料:本月免抵退税明细申报电子数据。
后续处理:到税务机关进行预审后,将预审反馈信息读入出口退税申报系统,并根据反馈疑点调整申报数据。
2、增值税纳税申报时间:法定的增值税纳税申报期内资料:⑴《增值税纳税申报表》及其附表⑵ 上期的《生产企业出口货物退(免)税申报汇总表》(经退税部门签字盖章)⑶ 税务机关要求的其他资料后续处理:将税务机关审核确认的增值税纳税申报表中的数据录入到出口退税申报系统中,然后填报《生产企业出口货物退(免)税申报汇总表》。
3、免抵退税正式申报时间:次月1日至15日,逢节假日顺延。
资料:⑴ 免抵退税申报电子数据⑵ 外汇核销单(退税专用联)或远期收汇证明单⑶ 出口报关单(退税专用联)⑷ 代理出口证明⑸ 出口发票⑹《生产企业出口货物退(免)税申报明细表》⑺《生产企业出口货物退(免)税申报汇总表》⑻《增值税纳税申报表》(经征税部门签字盖章)有来料加工或进料加工业务的,还须报送以下资料:⑼ 新办的来料加工海关登记手册原件⑽ 新办的或要核销的进料加工海关登记手册原件⑾《生产企业进料加工海关登记手册申报明细表》⑿《生产企业进料加工进口料件申报明细表》⒀《生产企业进料加工贸易免税申请表》⒁《生产企业进料加工海关登记手册核销申会计新手,如何做账(一)、到新成立的公司从事财务工作第一个月必须会处理的10个专业问题1、到新成立的公司会计人员要考虑的第一件事是什么?答:首先要考虑建立健全各项财务规章制度;然后,考虑新公司采用的会计制度、核算方法和涉及的税种;最后,开始建账。
2、新成立的公司要做的第一张记账凭证是什么?答:企业一设立的第一张记账凭证肯定是:借:银存存款/固定资产/存货/无形资产/等贷:实收资本。
3、第一个月作账必须解决的税种问题?答:一、增值税税额计算;二、计提地税税金:按照税法要求,企业在计算出缴纳增值税的同时,还应计提缴纳部分地税税金,主要包括:城市维护建设税和教育费附加,按应缴纳的增值税为基数三、其他税种计算及缴纳:正常月份,企业只需考虑计算增值税及计提的地税税金,但个别月份如季度、年末结束应计算缴纳所得税;根据税务机关要求按季度或半年缴纳印花税、房产税、土地使用税等4、组织机构代码证、国税、地税的税务登记证应到哪儿办理?办理的程序是什么?答:(一)有限公司应当办理证件:1、工商营业执照(正、副)本2、组织机构代码证(正、副)本3、国税、地税登记证(正、副)本4、公章、财务专用章、法人代表名章各一枚5、验资报告(企业留存)6、公司章程一份(二)有限公司费用1、核名费用30元(市局有,区局办没有)2、验资费用1000元(此为50万下,验资按注册资本收取)3、工商注册费0.08%(按注册资本0.08%收取)4、代码证费108元5、国、地税100元6、刻章600元(各地区有差异)(三)有限公司办理程序:1. 当地工商行政管理局申请名称预先核准;2. 银行开立验资临时帐户存钱验资;3. 当地工商行政管理局办理工商营业执照;4. 刻章公司刻章;(公安局批准的企业)5. 当地技术质量检验局办理组织机构代码证;6. 当地地方税务局办理地税登记;7. 当地国家税务局办理国税登记;8. 银行申请设立基本户;5、如果公司只涉及地税税种,还要不要办理国税税务登记?答:按照《税收征管法》的规定,新办企业必须在领取工商执照起30天内办理税务登记。
生产企业免抵退申报流程备注:第一步适用所有的企业,无进料加工业务的企业完成第一步操作后,按照原来的申报录入规则进行申报,第二步及后续步骤适用于有进料加工业务的企业。
需要注意的是,在202206期以前申报过进料加工业务,但现已无进料加工业务的企业也需要在系统参数设置时选择有进料加工业务,参照所有步骤。
(二)系统配置的设置与修改。
“系统维护”“系统配置”“系统配置设置与修改”,进入系统配置界面,点击“修改”按钮,修改系统配置信息,填写企业的实际信息。
除分类管理代码需根据原系统里的代码填写外,其他系统已默认的数据不用修改。
系统未显示需要手工录入的数据参照旧系统。
(三)系统参数设置与修改。
“系统维护”“系统配置”“系统参数设置与修改”“业务方式”,选择有无“进料加工业务”,有海关登记备案手册的选择“有”,无海关手册选择“无”;将“18位报关单执行日期”改为“2022.07.01”。
(四)修改完成后,导入备份的数据。
“系统维护”系统备份数据导入,选择导入路径,点击“导入”。
二、生成年度计划分配率备案数据(一)在录入计划分配率备案表前,企业需确定计划分配率,按以下原则:1、纸质手册和电子化手册计划分配率的确定(1)企业在2022年1月1日至2022年7月31日已启用进料加工贸易手册并已申报办理免抵退税的,其2022年度进料加工计划分配率为最近启用手册的计划进口总额/计划出口总额某100%。
(2)企业在2022年1月1日至2022年7月31日未启用过进料加工贸易手册的,其2022年度进料加工计划分配率为新启用手册的计划进口总额/计划出口总额某100%。
2、电子账册计划分配率的确定。
(1)企业在2022年1月1日至2022年7月31日已启用电子账册的,其2022年度进料加工计划分配率为上一个海关已核销报核周期的进口总额/出口总额某100%。
若电子账册尚未报核过,则2022年度进料加工计划分配率为最近期已核销手册的进口总额/出口总额某100%。
免抵退申报流程免抵退(换退货)是指消费者在购买商品后,在商品质量出现问题时,可以凭购物凭证和相关证明材料到商家进行换货或退货的一种消费者权益保护措施。
免抵退的申报流程主要包括以下几个步骤:第一步:发现商品质量问题当消费者购买的商品出现质量问题时,首先应及时发现并意识到问题的存在。
消费者可以根据商品的性质和品质要求来判断是否存在质量问题,比如商品是否有破损、是否符合产品说明书上的描述等。
第二步:查看购物凭证和收据如果消费者对购买的商品存在质量问题,首先需要找到购物凭证和收据,这是证明购买关系和商品真实性的重要凭证。
消费者可以检查购物凭证上的相关信息,如购买日期、商品名称、价格等。
第三步:咨询商家关于免抵退政策在购买商品时,商家通常会为消费者提供免抵退服务,以保障消费者的权益。
消费者可以通过电话、官网、微信公众号等途径咨询商家关于免抵退政策的具体要求和流程。
第四步:准备相关证明材料根据商家要求,消费者需要准备相关的证明材料,以便申请免抵退。
常见的证明材料包括购物凭证、商品照片、质检报告等。
消费者应确保这些材料真实有效,以方便商家对申请进行审核。
第五步:联系商家并提交申请在准备好相关证明材料后,消费者需要联系商家,并向商家提交申请。
可以通过电话、邮件、在线客服等方式与商家进行沟通,向商家说明问题并提供相关证明材料。
第六步:商家审核申请商家在收到消费者的申请后,会对申请进行审核。
商家会对相关证明材料进行核对,并可能要求消费者提供进一步的证据来支持申请。
第七步:商家处理申请在审核申请后,商家会根据具体情况进行处理。
如果质量问题确实存在,并且符合免抵退的政策要求,商家会同意换货或退货,并按约定的时间和方式进行处理。
以上是免抵退申报的流程,消费者在申请免抵退时需要注意以下几点:1. 注意保存购物凭证和收据,这是申请的重要凭证。
2. 提前了解商家的免抵退政策,确保自己的申请符合政策要求。
3. 准备完整的证明材料,并确保材料的真实有效。
免抵退税申报流程广东最新下载温馨提示:该文档是我店铺精心编制而成,希望大家下载以后,能够帮助大家解决实际的问题。
文档下载后可定制随意修改,请根据实际需要进行相应的调整和使用,谢谢!并且,本店铺为大家提供各种各样类型的实用资料,如教育随笔、日记赏析、句子摘抄、古诗大全、经典美文、话题作文、工作总结、词语解析、文案摘录、其他资料等等,如想了解不同资料格式和写法,敬请关注!Download tips: This document is carefully compiled by theeditor. I hope that after you download them,they can help yousolve practical problems. The document can be customized andmodified after downloading,please adjust and use it according toactual needs, thank you!In addition, our shop provides you with various types ofpractical materials,such as educational essays, diaryappreciation,sentence excerpts,ancient poems,classic articles,topic composition,work summary,word parsing,copy excerpts,other materials and so on,want to know different data formats andwriting methods,please pay attention!一、了解政策首先,需要了解免抵退税政策的具体内容和实施条件。
免抵退申报流程
免抵退申报是指在符合一定条件的情况下,可以免除抵扣环节直接退税的一种
税收政策。
下面将详细介绍免抵退申报的具体流程。
首先,申请人需要准备好相关的材料,包括但不限于营业执照、纳税人识别号、申报表格等。
确保这些材料的真实性和完整性,以便顺利进行后续的申报流程。
接下来,申请人需要登录税务局官方网站,进入免抵退申报系统。
在系统中填
写相关的申报信息,包括企业基本信息、纳税申报信息等。
在填报过程中,要特别注意填写的准确性和完整性,避免因填写错误导致申报失败或延误。
完成填报后,申请人需要将相关的申报材料提交至税务局。
在提交材料时,要
按照要求准备好纸质版和电子版的申报材料,确保提交的材料齐全、清晰、真实有效。
税务局在接收到申报材料后,将进行审核和核实。
在审核过程中,申请人需要
及时配合税务局的工作人员,如实提供相关的证明材料和解释说明,确保审核工作的顺利进行。
最后,经过税务局的审核确认后,如果符合免抵退的条件,申请人将可以直接
获得退税款项。
在获得退税款项后,要及时进行资金的管理和使用,确保资金的安全和合理利用。
总之,免抵退申报流程需要申请人提前准备好相关的材料,认真填报申报信息,配合税务局的审核工作,最终获得退税款项。
希望本文对您了解免抵退申报流程有所帮助。
生产企业免抵退申报流程一、生产企业免抵退申报流程:(一)、出口货物退(免)税认定1、外经贸部门备案登记,取得《对外贸易经营者备案登记表》;2、自外经贸部门备案登记30日内办理出口退(免)税认定手续;3、安装《出口免抵退税管理系统》(企业端)和《出口退税申报系统》二期网络版申报软件;4、首笔出口业务发生后,按财务会计制度规定离岸价(FOB价)登记出口销售帐;5、取得纸质报关单后在《海关电子口岸执法系统》中,将出口电子信息与纸质报关内容进行核对,核对无误后确认提交报关单信息;6、税务机关对企业首笔出口时间认定,企业根据税务机关首笔出口认定时间在《出口免抵退税管理系统》“代码维护--出口企业维护”栏,调整出口认定时间。
(二)、出口货物预免预抵申报1、出口企业每月10日前纳税申报后(遇节假日的顺延),根据当月财务入帐出口销售和增值税纳税申报表相关数据逐笔登录《出口免抵退税管理系统》(企业端),生成免抵退税明细表、月报表进行网上申报;2、税务机关根据企业预免预抵申报数据与企业相关纳税申报数据进行核对,确认免抵额和应退税额,建立预免预抵台帐;3、当月预免预抵申报有应退税额的出口企业,应在次月财务中将应退税额从留抵税额转入“应收出口退税”帐户;(三)免抵退税出口货物单证申报1、出口企业收集回笼出口退税申报凭证(报关单、外汇核销单、外销发票);2、根据回笼出口凭证中实际成交方式出口数量、出口额与原帐面销售记录进行比对,及时进行帐面调整,使财务与单证记载相一致;3、对收齐的退税申报凭证进行配单,相关退税数据登录《出口退税申报系统》生成预申报数据进行网上预审;4、根据网上预审反馈信息调整申报数据,生成正式申报软盘并打印出纸质汇总申报表和明细申报表,同时将相关申报内容在《出口免抵退税管理系统》的“免抵退税正式申报”栏中生成《免抵退税(单证齐全)正式申报表》,并进行网上发送申报;5、出口企业在货物报关出口之日起90日内,把生成正式申报的退税凭证(报关单、核销单、外销发票)和申报电子数据(软盘)向税务机关正式申报。
如何办理出口企业免抵退税申报办理出口企业免抵退税申报是指企业在出口产品时,按照国家相关规定,可以申请将已交的进口环节增值税、消费税等退还给企业,从而减轻企业经营成本和提升竞争力。
以下是办理出口企业免抵退税申报的步骤和注意事项。
一、准备工作1.了解相关政策:了解国家有关出口退税政策的具体规定,包括退税率、退税品种、退税条件等。
2.确保企业资质:具备出口权,必须具备一般纳税人资格,同时在海关、税务、外汇和商务等部门注册并获得相应资质。
3.整理相关材料:准备好企业的申报资料,包括合同、发票、报关单等。
二、办理出口退税申报1.填写申报表:根据海关和税务部门要求,填写退税申报表,确保真实、准确地填写相关信息。
2.提交申报材料:将填好的申报表以及其他相关申报材料(如合同、票据等)提交给海关和税务部门。
3.审核申报材料:海关和税务部门会对申报材料进行审核,并在规定的时间内给予答复。
4.缴纳保证金:如需缴纳保证金,按照规定的比例缴纳,并取得相关证明文件。
5.退税手续:海关和税务部门审核通过后,会将退税款项直接退回企业所指定的银行账户。
三、注意事项1.遵守法律法规:在申报过程中,企业需严格遵守国家相关法律法规,保证申报内容的真实性和合法性。
2.规范管理财务:企业在申报过程中需要做好财务管理,确保账目清晰可查,避免因财务记录不完善而耽误退税。
3.及时更新政策:因为政策随时可能改变,企业需要及时了解和更新出口退税的政策,确保符合最新要求并及时申报。
总结:办理出口企业免抵退税申报需要企业具备出口权、纳税人资格等条件,同时要准备好相关申报资料。
在办理过程中,企业需要遵守法律法规,规范管理财务,及时了解和更新政策。
只有做好准备工作并按照相关规定办理,才能顺利获得退税款项,减轻经营负担,提升企业竞争力。
免抵退税流程免抵退税是指境外旅客在中国购买境内商品后,按照规定程序向相关部门申请,可以获得退还部分或全部的增值税。
免抵退税流程相对复杂,但只要按照规定步骤进行操作,就能够顺利完成退税申请。
下面将为您详细介绍免抵退税的流程。
首先,境外旅客在购买商品时需要选择具有“免税购物”标识的商店,并在购物时向商家索要“免税申请表”。
在填写“免税申请表”时,需要提供个人的基本信息、护照信息以及购买商品的详细清单。
同时,购买的商品必须符合退税政策规定的范围,例如单张发票金额不低于500元人民币,且购物日期距离离境日期不得超过90天。
其次,当境外旅客准备离开中国时,需要携带购物时所获得的发票、商品、护照、“免税申请表”等相关资料前往机场的退税窗口进行办理。
在窗口办理退税手续时,需要向工作人员出示购物所得的发票和商品,并填写《中国海关旅客退税申报单》。
工作人员会对所提供的资料进行审核,并在确认无误后,将相关退税金额退还给旅客。
最后,境外旅客需要在办理完退税手续后,将购物所得的商品和填写好的《中国海关旅客退税申报单》一并交给海关进行验货。
海关人员会对商品进行核实,并在确认无误后,盖章确认。
随后,境外旅客即可顺利出境,完成整个免抵退税流程。
需要注意的是,境外旅客在填写退税申请表和退税申报单时,务必如实填写个人信息和购物清单,并确保所购商品符合退税政策规定。
同时,在办理退税手续时,需要随时保持与工作人员的沟通,配合完成相关手续。
最后,在出境前,务必确保所购商品和退税单的完整性,以免影响退税流程。
总的来说,免抵退税流程虽然相对繁琐,但只要按照规定步骤进行操作,境外旅客就能够顺利完成退税申请。
希望以上介绍能够帮助您更好地了解免抵退税的流程,为您的境外购物提供便利。
祝您旅途愉快!。
生产企业免抵退税申报操作流程一、了解政策和资格要求生产企业在申报免抵退税之前,首先需要了解相关政策和资格要求。
这包括政府发布的免抵退税政策文件,要求企业具备的生产条件、销售情况、税收纳税情况等。
二、准备相关材料企业需要准备相关的申报材料,包括企业基本情况、生产条件、销售情况、纳税情况等证明文件。
这些文件需要经过企业内部核准和签字,并按照规定的格式和要求进行整理。
三、填写申报表格企业需要根据相关政策和要求,填写免抵退税申报表格。
申报表格一般包括企业基本信息、生产情况、销售情况、税收情况等内容。
在填写表格时,企业需要准确、全面地提供相关信息,并保证信息的真实性和合法性。
四、提交申报材料企业填写完申报表格后,需要将申报材料按要求提交给相关部门。
一般情况下,提交的方式可以是邮寄、传真、电子邮件等。
在提交申报材料时,企业需要注意相关时间要求,并保留好相关证明材料的复印件和传递记录。
五、等待审核相关部门在收到申报材料后,将对企业的申报材料进行审核。
审核内容包括企业的生产条件、销售情况、纳税情况等。
审核过程中,相关部门会对企业的资质、数据真实性等进行调查和核实。
六、领取免抵退税七、保留相关记录企业在申报免抵退税后,需要保留好相关的申报记录和材料。
这些记录和材料可以作为以后税务检查的依据,也可以作为企业自身的管理和参考。
总结起来,生产企业免抵退税申报操作流程包括了解政策和资格要求、准备相关材料、填写申报表格、提交申报材料、等待审核、领取免抵退税以及保留相关记录等步骤。
企业在进行免抵退税申报时,应当遵循相关政策和要求,准确、全面地提供相关信息,确保申报顺利进行。
同时,企业也应保留好相关的申报记录和材料,以备日后需要。
出口免抵退申报流程
想当年我刚开始接触这玩意的时候,那叫一个头大呀!啥都不懂,到处碰壁。
不过慢慢摸索着,也算是搞明白了些门道。
咱先说这第一步哈,您得把那些出口的相关单据啥的准备齐全喽,像报关单、发票啥的。
这可千万别马虎,我就曾经因为少了一张发票,折腾了好几天,唉!
然后呢,到网上去填那些申报的表格。
我跟您说,这网上的系统有时候还挺难搞的,时不时就卡一下,真让人恼火!
对了,这里面有个数据核算的环节,可重要了!我记得好像是这样,不过也可能记错喽,您得把销售额、进项税额啥的算清楚。
要是算错了,那可就麻烦大啦!
说到这,我想起有一次我算错了,被领导好一顿批,那滋味,别提多难受了。
不过吃一堑长一智,从那以后我就再也没犯过这种错!
还有啊,申报的时候要注意各种期限,错过了可就不好办喽。
嗯...我听说隔壁公司有个同事就因为错过了申报期限,损失了不少钱呢。
我这又扯远啦!接着说咱们的流程。
申报完了之后,您就等着审核吧。
这审核有时候快,有时候慢,您可得有点耐心。
要是审核通过了,哇,那感觉,就像大热天吃了根冰棍,爽!要是没通过,也别着急,按照要求改改就行。
反正这整个流程啊,说简单也不简单,说难也不难。
就看您够不够细心,够不够有耐心。
朋友,您要是在操作过程中有啥问题,随时来问我哈。
我这经验虽说不是百分百准确,但也能给您点参考。
祝您申报顺利哟!。
问:生产企业从事进料加工贸易,在手册登记、申报、核销上有哪些时限规定?答:从事进料加工业务的生产企业,应于取得海关核发的《进料加工登记手册》后的下一个增值税纳税申报期内向主管税务机关办理《生产企业进料加工登记申报表》;于发生进口料件的当月向主管税务机关申报办理《生产企业进料加工进口料件申报明细表》;并于取得主管海关核销证明后的下一个增值税纳税申报期内向主管税务机关申报办理核销手续。
逾期未申报办理的,税务机关在比照《》第六十二条有关规定进行处罚后再办理相关手续。
生产企业免抵退申报流程目录:一、软件下载 (1)二、系统初始化及初始设置…………………………………………………1-7三、“免、抵、退”税明细数据采集……………………………………………7-21四、免税货物明细数据采集…………………………………………………21-22五、“免、抵、退”税预申报…………………………………………………22-25六、办理预申报 (25)七、预审核反馈疑点调整………………………………………………25-28八、重新生成明细申报数据 (28)九、模拟出具进料加工贸易免税证明………………………………………29-30十、纳税申报表采集………………………………………………………30-31十一、“免、抵、退”税汇总表录入……………………………………………31-35十二、“免、抵、退”税正式申报………………………………………………35-37十三、打印申报报表…………………………………………………………37-41十四、生成出口货物冲减明细………………………………………………41-44一、软件下载生产企业的出口退税申报系统是在国家税务总局进出口税收管理司及信息中心统一领导下设计开发,供出口企业及税务机关免费使用,不需要任何费用,现使用的版本为“生产企业出口退税申报系统7.0版”,纳税人可以在中国出口退税咨询网,网址是或者在佛山市南海区国家税务局网,网址是直接下载使用(“申报系统”的下载以当时最新的版本为准)。
下载方法详见《外贸企业退税申报系统9.0版和生产企业退税申报系统7.0版的安装流程》(详见附件十三)。
二、系统初始化及初始设置1、系统登录用户双击桌面申报系统的快捷方式后会自动弹出一个欢迎界面要求输入用户名和密码,如(图3-1)所示:(图3-1)如果是初次使用,在上图中用户名一栏输入小写字母“sa”,密码为空,进入系统后,可将用户名和密码进行修改。
以后使用时,录入修改后的用户名和密码,点击“确定”键,显示如(图3-2)所示画面:(图3-2)在此画面上输入“当前所属期”,按“确定”键即可进入系统。
进入后的主界面如(图3-3)所示:(图3-3)2、系统初始化系统第一次使用时,先进行“系统初始化”,选择菜单中的“系统维护—系统初始化”命令,系统会弹出初始化窗口,如(图3-4)所示,在编辑框中输入“YES”,点击“确定”开始初始化,初始化完成后系统要重新进入。
(图3-4)“初始化”将清空数据库(代码库和系统配置库除外)中所有的申报数据,该步骤只是在第一次使用时操作,平常操作时请用户要谨慎。
3、设置企业信息系统正式使用前,需要进行系统配置,选择主菜单下的“系统维护—系统配置—系统配置与修改”,点击“修改”键进行企业信息的设置,如(图3-5)所示:(图3-5)企业按税务登记情况如实填写相应信息,确认无误后点击“保存”按钮,如要放弃修改,点击“放弃”。
修改完成后,按“退出”按钮,系统要求重新进入,点击“是”,重新进入系统。
注意:(1)只有在系统重入后更改才能生效。
(2)在设置信息时,有几点须特别注意的,不能选错,否则,将会影响企业的申报结果。
A、计税计算方法:选“1”,即“免、抵、退”。
B、进料计算方法:选“1”,即“实耗法”。
(系统提供了两个选项:1:实耗法、2:购进法。
南海区管辖下免抵退税企业选择“实耗法”。
)C、分类管理代码:选“C”。
4、系统参数设置与修改选择主菜单下的“系统维护—系统配置—系统参数设置与修改”进行系统参数的设置操作(该模块已设置好,企业如无特殊情况,不要修改),如(图3-6)所示:(图3-6)5、系统口令设置与修改选择主菜单下“系统维护—系统配置—系统口令设置与修改”可以增加新的操作人和修改、删除原操作人及口令,如(图3-7)所示:(图3-7)系统默认三个用户,分别是sa、user、manager,其中sa是系统管理员,可以对系统任何地方进行删除和修改;user是一般操作人,负责数据录入;manager是业务主管,对录入员录入的数据进行复核。
在企业第一次进入系统时,以sa进入,因为只有sa才能进行系统的初始设置。
用户以sa登陆后,可以将其他用户删除,但不能删除自己;亦可以添加新用户及修改口令。
三、“免、抵、退”税明细数据采集根据进料加工手册、进口报关单、出口报关单、出口发票等采集各种明细数据。
系统中可通过两种方式进行免抵退税申报操作:a、通过系统的主菜单进行数据采集、退税申报、反馈处理、系统维护等;b、如果企业刚接触或对相关业务不是很熟悉可通过“申报系统操作向导”来逐步完成当月的免抵退税申报。
如(图3-8)所示:(图3-8)*下面详细介绍进行免抵退税申报的具体步骤:1、进料加工手册登记(对无发生进料业务的企业,不需录入该模块)“海关手册登记”是办理进料加工业务的第一步,用户每录入一笔进出口信息时,系统首先检测该笔业务所对应的海关手册是否已经登记,若已经登记,则用户可以继续录入其它信息,否则系统将拒绝接受其它数据的录入。
手册登记的内容为进料加工手册合同备案情况,企业需将合同备案情况按要求录入“申报系统”,在取得海关核发的《进料加工登记手册》后的下一个免抵退税申报期内报送到税务机关。
主菜单的操作步骤为:选择“基础数据采集—进料加工手册登记录入”(退税申报向导为第一步)进入该模块后,点击“增加”键激活编辑窗口,按要求录入该手册的相关数据,如(图3-9)所示。
(图3-9)数据项目说明:【所属期】申报年月,由4位年份码+2位月份码构成,例如:200701:【序号】:由4位流水号构成,如“0001”、“0002”、“0003”……;【进料登记册号】进料加工海关登记册号码;【原币代码】手册合同中使用的币别代码;【原币币别】手册合同中使用的币别;【计划进口总值】手册合同规定的进口总值;【计划出口总值】手册合同规定的出口总值;【计划分配率】计划分配率=计划进口总值÷计划出口总值×100%;【复出口商品码】手册合同规定的主要复出口商品的商品代码;【复出口商品名】手册合同规定的主要复出口商品的商品名称;【征税税率】手册合同规定的主要复出口商品的征税税率;【退税率】手册合同规定的主要复出口商品的退税率;【手册有效期】手册合同中规定的“有效期限”;【申报标志】空:未申报;“R”:已审核通过;【审核标志】空:未审核通过;“R”:已审核通过;【核销标志】空:未核销;“R”:已核销未审核通过;“H”:已核销并审核通过。
录入完上述各项内容后击“保存”键进行保存,如果有错误可以按照提示进行修改。
依上述操作可以录入多个手册。
录完后为避免错误,建议企业进行一次“序号重排”。
注意:(1)若出现一本手册同时出口几种商品代码的货物时,“复出口商品码”栏输入主要的一种即可。
(2)从事进料加工业务的生产企业,应于取得海关核发的《进料加工登记手册》后的下一个免抵退税申报期内向主管税务机关办理《生产企业进料加工登记申报表》,若当月没有新手册登记的,不需录入申报。
2、进口料件明细申报(对无发生进料业务的企业,不需录入该模块)有进料加工业务的企业,当月有发生进料业务的,根据进口报关单上的信息逐笔录入“申报系统”,录入时,系统将自动检测进料加工手册是否已经登记,若已经登记,则可以录入其他字段的内容,否则不能继续录入操作。
主菜单的操作步骤为:选择“基础数据采集—进口料件明细申报录入”(退税申报向导为第一步)进入该模块后,点击“增加”键激活编辑窗口录入进口报关单相关数据,如(图3-10)所示:(图3-10)数据项目说明:【所属期】申报年月,由4位年份码+2位月份码构成,例如200501;【序号】由4位流水号构成,如“0001”、“0002”、“0003”……;【进料登记册号】进料加工海关登记册号码;【进口报关单号】后9位“海关编号”+“0”+2位“项号”,如“123456789001”“123456789002”……;【代理证明号】代理进口货物的“代理证明”编号;【进口商品代码】进口报关单上的商品编码;【进口商品名称】进口报关单上的商品名称;【计量单位】进口报关单上注明的该商品的海关标准计量单位;【进口数量】进口报关单上注明的实际进口数量。
但应注意所采用的计量单位同海关标准计量单位保持一致;【原币代码】进口报关单上注明的币别代码;【原币币别】进口报关单上注明的币别;【原币到岸价】原币CIF或C&F价;【原币汇率】100外币兑人民币汇率;【人民币到岸价】人民币到岸价=原币到岸价×原币汇率;【美元汇率】100美元兑人民币汇率;【美元到岸价】美元到岸价=人民币到岸价÷美元汇率;【海关实征税额】海关实征关税和消费税;【组成计税价格】组成计税价格人民币到岸价+海关实征税额;【申报标志】空:未申报;“R”:已申报;【审核标志】空:未审核通过;“R”:已审核通过;录入完上述各项内容后点击“保存”键进行保存,重复上述操作将当月取得的进口报关单录入此模块。
但在退出该模块前,记得按下“序号重排”键,进行序号重排以免出错。
注意:(1)对贸易方式为“进料余料结转”、“进料料件复出”等出口报关单,企业需冲减当月进料,即在取得出口报关单的当月按报关单上的金额录入负数记录。
(2)进口料件明细申报应于发生进口料件的当月向主管税务机关申报办理《生产企业进料加工进口料件申报明细表》,若当月没有发生进口料件,不需录入申报。
3、出口货物明细申报将企业当月的的货物出口数据录入“申报系统”,包括一般贸易出口和进料加工贸易出口,根据出口报关单上的信息逐笔录入。
企业当月发生出口业务并且在财务上做销售收入账务处理后,不管是否取得报关单出口退税联,都需要在当月的“出口货物明细申报录入”模块中录入并进行申报。
主菜单的操作步骤为:选择“基础数据采集—出口货物明细申报录入”(退税申报向导为第一步)进入该模块后,点击“增加”键激活编辑窗口录入该出口报关单相关数据,如(图3-11)所示:(图3-11)数据项目说明:【所属期】申报年月,由4位年份码+2位月份码构成,例如200501:【序号】由4位流水号构成,如“0001”、“0002”、“0003”……;【记销售日期】记出口销售帐日期;【进料登记册号】属于进料加工业务的填写进料加工海关登记册号码(出口报关备案号),属于一般贸易的此栏为空;【出口报关单号】后9位“海关编号”+“0”+2位“项号如”,如“123456789001”、“123456789002”……;【出口日期】出口报关单右上角的“出口日期”;【外汇核销单号】出口收汇核销单编号,即报关单上的“批准文号”;【代理证明号】代理出口货物的“代理证明”编号;【单证不齐标志】空:“报关单”、“核销单”或“代理证明”纸质单证齐全;“B”:缺少纸质“报关单”;“H”:缺少纸质“核销单”;“D”:缺少纸质“代理证明”;“BH”:既缺纸质“报关单”又缺纸质“核销单”;【出口商品代码】出口报关单上的商品编码;【出口商品名称】出口报关单上的商品名称;【计量单位】出口报关单上注明的该商品的海关标准计量单位;【出口数量】出口报关单上注明的实际出口数量。