影像增强器的结构及原理
- 格式:ppt
- 大小:1.92 MB
- 文档页数:2
造影剂增强的原理造影剂是一种常用于医学诊断的物质,通过对体内器官和组织进行增强,提高影像的对比度和清晰度。
其原理是基于物质对X射线、MRI或CT等成像技术的吸收特性,并通过与人体组织的相互作用,使医生能够更准确地评估病情。
我们来了解一下X射线造影剂的增强原理。
X射线造影剂通常是由含有重金属离子的物质组成,如碘、铋等。
这些物质能够吸收X射线,而身体内的组织和器官对X射线的吸收能力有所差异。
当X射线通过体内器官和组织时,由于造影剂的存在,吸收X射线的能力更强,从而在X射线片上显示出明亮的区域,形成对比度,使医生更容易识别异常部位。
在核磁共振成像(MRI)中,造影剂是一种含有金属离子的物质,如钆、锰等。
这些金属离子会在磁场中产生特定的振荡,进而影响体内的水分子的磁共振行为。
通过注射造影剂,可以改变组织和器官的磁共振信号,增强影像的对比度,帮助医生更好地观察和诊断疾病。
而在计算机断层扫描(CT)中,造影剂通常是一种含有碘的物质。
由于碘的高吸收性,CT造影剂能够增强血管和器官的成像效果。
当造影剂进入血液循环后,通过血流可以将其输送到感兴趣的部位。
由于血管和器官的灌注情况不同,造影剂在不同组织和器官中的分布也会有所差异,这样就能够更清晰地显示出血管和器官的形态和异常情况。
除了上述常见的造影剂,还有一些特殊的造影剂应用于特定的检查过程中。
例如,经口摄影(Barium swallow)中使用的钡餐剂,通过服用含有钡的物质,可以在X射线下观察食管和胃的功能和结构。
而经肛门摄影(Barium enema)中使用的钡剂,则可以显示结肠和直肠的情况。
总的来说,造影剂通过改变组织和器官对成像技术的吸收特性,提高了影像的对比度和清晰度。
它们在医学诊断中起到了重要的作用,帮助医生更准确地评估病情,制定合理的治疗方案。
然而,在使用造影剂的过程中,也需要注意患者的过敏反应和肾功能等方面的监测,以确保安全性。
东芝医用X 射线影像增强器産品注冊:★在使用本产品之前请务必认真阅读本资料中的"操作及安全方面的注意事项"。
★本资料中所记载的技术信息仅用于说明产品代表性的动作、应用,而并非是使用时本公司及第三方的工业所有权及其他权利的保证或实施权的许诺。
★记载内容可能在不事先通知的情况下进行更改,使用时请向东芝电子管器件株式会社咨询。
Technical Data TD东芝医用X 射线影像增强器 标称入射野尺寸:23cm(9in)产品技术报告书特长●金属输入屏 ●高DQE 输入屏●低影像干扰、高分辨率、高亮度 高对比度本产品为采用了以下技术的医用X 射线影像增强器。
输入荧光体层采用了由细微纤维状构造形成的厚膜Csl 层,输出屏也采用了将高密度、均质的薄膜荧光体层直接形成在具有无反射涂层的厚输出屏玻璃上的方法。
通过这样的结构,实现了高分辨率、高DQE、低影像干扰、高对比度。
为了充分发挥医用X 射线影像增强器的性能、并让您能安全地使用,在使用之前请先认真阅读本产品操作说明书以及产品技术报告的内容。
也务必请您把这些手册保管在产品的使用场所,以便随时参考阅读。
本医用X 射线影像增强器是以《中华人民共和国医药行业标准 医用X 射线影像增强器(YY0093-92)及国際标准 医用电气设备 光电X 射线影像增强器特性(IEC 61262-1~61262-7)为基准而制造的。
医用X 射线影像增强器的供给电压高且在X 射线照射的基础上使用,因此必须由具有充分专业知识的技术人员进行操作,在安全上必须加以注意。
若有不明之处,请向销售商咨询。
产品技术报告书sdcwcywjj上传9in东芝医用X射线影像增强器产品技术报告书目 录1.适用产品标准 (3)2.功能、用途 (3)3.结构 (3)4.适用范围及性能、特征 (3)5.特征的测试方法 (4)6.电气规格 (7)7.机械规格 (7)8.X射线影像增倍管规格 (7)9.环境条件 (8)10.工作原理 (9)11.接线图 (10)12.外壳外形图 (12)13.输出部外形图 (16)14.低压电源外形图 (19)15.安全及操作方面的注意事项 (20)9in 东芝医用X 射线影像增强器产品技术报告书1.【适用产品标准】中华人民共和国医药行业标准 医用X 射线影像增强器(YY0093-92)及国際标准 医用电气设备 光电X 射线影像增强器特性(IEC 61262-1~61262-7)。
影像增强器原理与维修专题岛津VS- 20 X线机影像增强器的原理及常见故障处理方法岛津VS -20X 线机所配影像增强器的系统电路图如图1。
它由三部分组成: (1)供电电缆;(2) ICV007电源;(3)增强管。
影像增强器是一种把X线图像转换成高质量的可见光图像的装置,该增强器采用金属输人窗,与玻璃输入窗相比,噪声小,对比度高,因而减少了二次电子发射,如单通道光学系统结合,1A-9Vs能进行X线透视和DSA,除此之外,和二通道或三通道光学系统结合,可进行电影摄影,点片摄影和X线透视。
一、工作原理当X线穿过人体后,按人体组织的不同密度将各处不同强度的X线投射到输人屏上,在荧光屏内侧的光电阴极按荧光的强度产生不同数量的光电子,光电阴极的光电子受到阳极正电位的吸引,高速飞向阳性,光电子穿过阳极小孔投到输出屏上,产生一个可见的图像,该图像比先前透视图像亮度增强,大小缩小。
增强管需要的各种电压是由ICV007电源盒提供的,电源盒内的线路板上有与增强管所需电压相对应的测试点,正常对应值如下:测试点’实测值对应高压值HV 1 .98V 30 kVMV 1 .49V 2 . 8kVG2 56 7VGl 19 9V二、常见故障及其排除方法1. 有X线产生,增强管输出屏无荧光。
故障排除方法1)确认X线是否已照到增强器的输人屏上,打开缩光器,排除输人屏前所有遮挡X线的物品。
(2)增强器供电电源是否接通,测量ICV007接线端的供电电压,AC100V是否正常,保险管是否熔断。
(3)确认ICV007各测试点的电压是否正常,TP30 30V,H V 1.98 V,M V1.49V,G 2 567V,G l 199V。
若开机10nin 后,TP30点的电压为15V或为OV,用手背感觉一下高压和中压单元,无温升,透视无图像,则为ICV007电源线路有故障。
ICV007电源线路用了两个三端稳压块LM317,若TP30点的电压是15V,一定是一个LM317坏了,通常更换新品,故障即可排除。
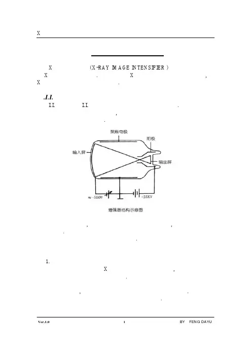
Ver.1.0 i BY FENG DAYU X射线影像增强器 X 线影像增强器( X-RAY IMAGE INTENSIFIER )是目前广为使用的X 线成像的重要元件. 她的出现使X 线诊断技术产生了巨大变化, 是X 线设备发展中的一个重要阶段.一.I.I.的组成I.I. 由增强管I.I. 由增强管、管套和电源三部分组成.增强管是一个高真空玻璃器件, 由输入屏、聚焦电极、阳极、输出屏、离子泵和外壳等组成. 管套由金属外壳、铅皮层和坡莫合金层构成,用以保护管壳的安全,固定增强管的位置, 防止外界磁场对管内电场的影响, 吸收透过射线及散射线等.电源部分提供加速电压和聚焦电压.二.工作原理 1.增强过程 ① 输入屏把接受的X 线影像转换成可见光影像, 并由输入屏的光电阴极转换成电子影像.② 光电子在阳极和聚焦电极电位共同形成的电子透镜作用下加速聚焦, 在输出屏前形成缩小并增强了的电子影像.③ 电子影像再由输出屏转换成可见光影像.Ver.1.0 ii BY FENG DAYU2. 增强原理①缩小增益: 缩小增益 = 输入屏有效面积/输出屏有效面积.②流量增益: 是指增强管内, 由于加速电压的作用, 光电子获得能量, 撞击到输出屏荧光层时, 可使之发出多个光子.3. 变野功能 通过改变聚焦电极和辅助阳极的电压, 来改变成像的视野. 一般有两野、三野、四野等几种.三.增强管的构造1. 输入屏: 用于将X线影像转换成为电子影像. 输入屏为球面形,.由基板层、荧光体层、隔离膜和光电层组成阳极几部分电极的电位形成, 起聚焦、加速作用.3. 输出屏: 用于把增强的电子影像转换成可见光影像. 由玻璃层、荧光层和铝膜构成.4. 外壳: 用高强度玻璃制成. 除输入、输出屏外, 全部涂以石墨, 防止光线进入管内.四. 规格性能1. 输入屏输出屏尺寸各电极电压要求暗电流(< 10-8A)2. 变换系数 Gx: 单位是(Cd/m2)/(μC/kg・s)Gx = 输出屏显示的荧光亮度/输入屏X线剂量率3. 对比度: 一般标注为10% area contrast 和10mm dia. Contrast.4. 分辨率: 不同型号、不同输入屏尺寸、不同变野时分辨率不同.影像中心部分的分辨率高于边缘. ( lp/mm )5. 量子干扰: 是输入屏光电层单位面积内发出的量子数目不规律波 动的结果. 又称为量子斑点.6. 残影: 是由输入屏和输出屏的荧光物质性质造成的.Ver.1.0 iii BY FENG DAYU五. 光学系统(OPTICAL SYSTEM) 1. I.I. 输出的图像首先通过I.I. 镜头(I.I. Lens) 成像.2. 光学系统分成单路、双路和三路几种. 其内部结构不尽相同,主要包括: 自动光圈, 光电倍增管, 反光镜, 自动滤过片等部分.在常用的双路光学系统中:光电倍增管用于检测输出屏亮度( I.I. 输入剂量 ).使用CINE 时, 反光镜反射90%的光线给CINE CAMERA, 透过10%给TV CAMERA以同时完成胶片记录和数字采集.两个自动光圈分别调整CINE 和TV的光通量.位于TV 镜头前的Filter用于补偿光通量的较大变化, 使iris保持在一定范围内.CINE CAMERA和TV CAMERA分别拥有自己的成像镜头.Ver.1.0 iv BY FENG DAYU五. TOSHIBA J-Series X-ray Image Intensifier“J-Advanced I.I.” is a high performance X-ray I.I. using the following advanced technologies:The CsI direct-deposit input screen significantly reduces X-ray scatter, and X-ray detection efficiency is improved, because the CsI input screen is deposited directly on the input window instead of on an aluminum substrate.J-TYPE I.I. is upgraded through the current technologies of a thick input screen with a fine pillar-shape structure, and a thin output screen on a single thick-glass output window with an anti-reflective coating.J-TYPE I.I. is supplied in a housing that provides Mu-metal magnetic shielding. The housing is lined with radiation shielding designed to comply with FDA Radiation Performance Standards, 21 CFR Subchapter J.Ver.1.0 v BY FENG DAYU。
增强ct原理增强CT原理。
计算机断层扫描成像技术(CT)是一种利用X射线对人体进行断层扫描成像的医学影像技术,它在临床诊断中具有非常重要的地位。
随着医学影像技术的不断发展,人们对CT成像质量和辐射剂量的要求也越来越高。
因此,如何在保证成像质量的前提下尽可能减少辐射剂量成为了CT技术研究的热点之一。
增强CT技术就是在这种背景下应运而生的,它通过在扫描过程中注射造影剂,可以更清晰地显示出人体内部的血管和组织结构,从而提高了诊断的准确性。
本文将就增强CT的原理进行介绍。
增强CT的原理主要是利用了造影剂对X射线的吸收和散射作用。
在正常的CT扫描中,X射线通过人体组织后,被探测器接收并转换成电信号,形成图像。
而在增强CT中,通过静脉注射造影剂,使得血管和组织中的对比剂浓度增加,从而增强了X射线的吸收和散射效应。
这样一来,血管和组织的对比度就会得到提高,使得图像更加清晰,医生可以更准确地判断病变的位置和性质。
在进行增强CT扫描时,需要注意造影剂的选择和注射剂量。
一般来说,造影剂的选择应该根据所要显示的组织和病变的性质来确定。
例如,对于血管造影,常用的造影剂有碘水溶液和钡剂;对于肝脏和胰腺病变的诊断,则需要选择脂溶性造影剂。
而注射剂量的确定则需要根据患者的体重、年龄和病情来综合考虑,以保证在提高成像质量的同时尽可能减少辐射剂量。
除了造影剂的选择和注射剂量,增强CT的成像质量还受到多种因素的影响,比如扫描参数的设置、扫描层厚和间隔、采样时间和延迟时间等。
因此,在进行增强CT扫描时,需要医生和技师根据患者的具体情况进行综合考虑和调整,以保证获得高质量的影像。
总的来说,增强CT技术通过注射造影剂,可以提高X射线在人体组织中的吸收和散射效应,从而增强了图像的对比度和清晰度。
在临床应用中,它能够帮助医生更准确地诊断病变,提高了诊断的准确性和可靠性。
在未来,随着医学影像技术的不断发展和完善,相信增强CT技术会在临床诊断中发挥越来越重要的作用。
造影剂增强的原理以造影剂增强的原理为标题,写一篇文章。
造影剂是一种特殊的药物,常用于医学影像学中,可以帮助医生更清晰地观察和诊断患者的身体结构和功能。
造影剂增强的原理是通过改变体内组织或器官的对比度,使其在影像上更加明亮或暗淡,从而提高影像质量。
本文将从造影剂的分类、工作原理和应用等方面进行介绍。
根据其化学性质可以将造影剂分为阳性造影剂和阴性造影剂。
阳性造影剂是一种含有重金属离子的物质,如碘、钡等,它们具有较高的X射线吸收能力。
当阳性造影剂被注入体内后,它们会聚集在特定的组织或器官中,如血管、肾脏等,从而在X射线或其他医学影像学技术中产生明亮的信号。
而阴性造影剂则是一种对X射线具有较低吸收能力的物质,使其所处的组织或器官在影像上呈现暗淡的信号。
造影剂的工作原理主要是通过改变组织或器官的密度和对比度来增强影像。
在X射线或CT扫描等影像学检查中,阳性造影剂的主要作用是吸收X射线,从而使其周围的组织或器官在影像上呈现明亮的信号。
这种吸收特性使得医生可以更清楚地观察血管、肾脏、肝脏等内部结构,以便进行准确的诊断。
而阴性造影剂则通过减少对X射线的吸收,使其所处的组织或器官在影像上呈现暗淡的信号。
这种暗淡的信号可以帮助医生观察和诊断一些特定的病变,如肿瘤、溃疡等。
造影剂在医学影像学中有着广泛的应用。
常见的应用包括血管造影、尿路造影、胃肠道造影等。
在血管造影中,阳性造影剂被注入到血管中,可以清晰地显示血管的形态和走向,帮助医生检测血管狭窄、血栓等情况。
在尿路造影中,阳性造影剂被注入到尿路中,可以观察到尿路的通畅情况,帮助医生诊断尿路结石、肾盂积水等疾病。
胃肠道造影则可以通过口服或灌肠的方式将阳性或阴性造影剂注入到消化道中,以观察消化道的结构和功能,诊断胃肠道疾病。
需要注意的是,造影剂在使用过程中可能会引起一些副作用。
常见的副作用包括过敏反应、肾功能损害等。
因此,在使用造影剂前,医生需要对患者进行评估,确保其能够耐受造影剂的注入,并采取相应的预防措施。