征收社会抚养费程序流程图
- 格式:doc
- 大小:15.81 KB
- 文档页数:1
景县计生局计划生育社会抚养费征收流程图景县计划生育农村独生子女高考照顾10分审查流程图景县计划生育病残儿鉴定程序流程图景县计划生育手术并发症鉴定程序流程图景县计划生育局部分计划生育家庭奖励扶助对象办理生育第一个子女生育登记卡审批手续流程图办理《独生子女父母光荣证》流程图再生育子女申请批流程图县级再生育审批办事指南生育条件:1、申请人到乡镇计生委领取再生育子女申请审批表,按表内要求如实填写本人基本情况,申请生育理由。
2、申请人填表经由村级负责人经调查核实,对该夫妇是否符合再生育条件签署意见,加盖村级公章及负责人签字。
3、村级完成报乡级计生委,由政法室调查询问,查验有关证件,核实无误后签署意见,加盖乡级生育审批专用章负责人签字。
4、县政法股经查验证件,核实无误后对符合条例有关规定的夫妇,经县生育资格审批小组审定,政法股签署意见,加盖县级生育审批专用章及负责人章,发放生育证。
办理《流动人口婚育证明》流程图办理《流动人口婚育证明》证件指南《流动人口婚育证明》是证明拟外出且户口在本辖区的成年人未婚、结婚、生育情况的证件,其办理程序为:(1)由拟外出人员亲自镇写办理《流动人口婚育证明》申请表一式2份。
(2)由村委会或本人所在单位审查身份证、户口本、结婚证及有关计划生育证明并签署意见,加盖本级公章。
(3)拟外出人员持有证件、复印件,申请表2份,一寸照片3张(或夫妇2寸合影3张)到本级计划生育部门查验,并由经办人签署意见。
(4)①属农村居民的由乡(镇)级计划生育流动人口办公室发证。
②属城镇居民的由县计生局法规股发证。
非医学需要的中期以上终止妊娠审批流程图办事指南1、申请人必须提交双方户口本、身份证、结婚证、生育证、小孩出生证、医院诊断证明及有关报告单。
2、乡镇、村必须认真查验证件、医院诊断证明及有关报告单,询问本人,调查核实后方可上报。
3、县计生局经详细询问、调查、查验有关证材、核实后方可开据引产手术批准书。
4、县、乡村必须严格把关,依法行政。
社会抚养费的程序社会抚养费是指为调节自然资源的利用和保护环境,适当补偿政府的社会事业公共投入的经费,而对不符合法定条件生育子女的公民征收的费用。
社会抚养费属于行政性收费,具有补偿性和强制性的特点。
2002年8月2日,国务院经国务院令第357号公布了《社会抚养费征收管理办法》,对征收社会抚养费问题作出了规定。
征收社会抚养费的对象征收对象应当是不符合我国生育政策超计划生育子女的人。
根据《中华人民共和国人口与计划生育法》第18条的规定,我国的生育政策是国家规定基本原则,具体条件由省、自治区、直辖市规定的,因此,这里的超计划生育子女的人,就是指违反了本省、自治区、直辖市计划生育法规规定条件超生子女的人。
需要指出的是,在该法出台之前,一些省、市在工作实践中除了对超计划生育的公民征收社会抚养费外,对于符合规定条件经批准生育二胎的公民也征收一定的费用,叫做“社会补偿费”,征收数额少于违法生育的公民,一般为300元至800元不等。
该法出台以后,征收对象应当是不符合我国生育政策超计划生育子女的公民,因此,对符合法定条件生育二胎的公民不应再征收社会抚养费。
征收的数额《中华人民共和国人口与计划生育法》考虑到各地经济发展水平和被征收公民的收入差异,没有明确规定社会抚养费的具体征收数额,而是规定“社会抚养费的征收管理办法,由国务院制定”。
2002年8月2日,国务院根据该法的授权出台了《社会抚养费征收管理办法》,对社会抚养费征收问题作出了进一步具体的规定,但是对于社会抚养费征收的标准也只是作出了一个原则规定,仍然没有作出十分具体的规定。
《社会抚养费征收管理办法》第3条第2款规定,“社会抚养费的征收标准,分别以当地城镇居民年人均可支配收入和农村居民人均纯收入为计征的参考基本标准,结合当事人的实际收入水平和不符合法律、法规规定生育子女的情节,确定征收数额。
社会抚养费的具体征收标准由省、自治区、直辖市规定。
”征收社会抚养费的性质应当明确其不是一种行政处罚,而是一项行政性收费。
天津社会抚养费征缴流程下载温馨提示:该文档是我店铺精心编制而成,希望大家下载以后,能够帮助大家解决实际的问题。
文档下载后可定制随意修改,请根据实际需要进行相应的调整和使用,谢谢!并且,本店铺为大家提供各种各样类型的实用资料,如教育随笔、日记赏析、句子摘抄、古诗大全、经典美文、话题作文、工作总结、词语解析、文案摘录、其他资料等等,如想了解不同资料格式和写法,敬请关注!Download tips: This document is carefully compiled by theeditor. I hope that after you download them,they can help yousolve practical problems. The document can be customized andmodified after downloading,please adjust and use it according toactual needs, thank you!In addition, our shop provides you with various types ofpractical materials,such as educational essays, diaryappreciation,sentence excerpts,ancient poems,classic articles,topic composition,work summary,word parsing,copy excerpts,other materials and so on,want to know different data formats andwriting methods,please pay attention!天津社会抚养费征缴流程一、准备工作阶段。
在开展社会抚养费征缴工作之前,需要做好充分的准备。
社会抚养费征收税务登记流程1. 简介社会抚养费是指为保障弱势群体的基本生活所需而由社会统筹征收的费用。
为确保税款的有效征收和管理,在征收社会抚养费时,需要进行税务登记流程。
本文将介绍社会抚养费征收税务登记的流程及相关注意事项。
2. 税务登记流程2.1 准备材料营业执照副本原件及复印件法定代表人联系明原件及复印件经办人联系明原件及复印件缴费义务人的相关证明材料(如户口簿、结婚证等)经办人的授权委托书及联系明原件及复印件其他相关证明材料(根据需要提供)2.2 前往税务局准备好相关材料后,缴费义务人或经办人前往当地税务局办理社会抚养费征收税务登记。
2.3 填写申请表格缴费义务人的基本信息(如名称、地质、联系方式等)缴费义务人的身份信息(法人、个体工商户等)经办人的基本信息及身份信息缴费义务人的征收范围和标准2.4 递交申请并提供材料填写完申请表格后,缴费义务人或经办人需要将申请表格和所需的材料一并递交给税务局进行审核。
2.5 缴纳税款待税务局审核通过后,缴费义务人需要按照规定的缴纳税款方式和时间进行缴纳。
2.6 办理税务登记证书确认缴纳税款无误后,税务局将发放社会抚养费征收税务登记证书给缴费义务人或经办人。
登记证书是合法缴纳社会抚养费的凭证。
3. 注意事项准备材料时,要保证文件的真实性、完整性和准确性。
填写申请表格时,要认真填写,并核实填写内容的正确性。
提交材料时,要确保所有的材料齐全,并按照要求进行归档和整理,以便税务局审核。
缴纳税款时,要按照规定的时间和方式进行缴纳。
登记证书的保管要妥善,确保证书不丢失或损坏。
4. 结论社会抚养费征收税务登记是保障弱势群体基本生活所需的重要环节。
了解和遵守税务登记流程及注意事项,有助于确保合法缴纳社会抚养费,并使其能够有效地用于社会公益事业。
希望本文所述的社会抚养费征收税务登记流程能为您提供一定的帮助和指导。
社会抚养费征收程序的具体要求为了规范社会抚养费征收行为,提高行政执法水平,根据国务院《社会抚养费征收管理办法》及《北京市人口与计划生育条例》,《北京市社会抚养费征收管理办法》对社会抚养费征收程序作出具体规定。
社会抚养费征收行为应履行以下程序:一、立案填写《立案审批表》。
当事人的姓名、性别、年龄(周岁)及家庭住址(详细到门牌号)要准确,立案原因要写明是如何发现:检查发现还是群众举报或其他部门移送等,注明时间、当事人有何种违反计划生育行为(如非婚生育、捡拾、违法生育二孩、违法生育三孩)等情况。
二、调查取证(工作笔录)对公民是否有违反计划生育行为要进行调查,并制作笔录。
必须全面、客观、公正地调查,收集有关证据,通过调查取证掌握应对当事人征收社会抚养费的事实。
调查时,执法人员不得少于两人,并应向当事人或者有关人员出示执法证。
执法人员与当事人有直接利害关系的,应当回避。
1、询问当事人、询问证人、收集证据性资料。
询问当事人和证人应当制作《工作笔录》。
笔录以调查和证明违法事实与情节为主要内容,包括表明身份、说明执法依据、询问当事人基本情况及是否有违法事实、情节等内容。
笔录中应有两名以上执法人员的签名及被询问人签名或印迹。
如被询问人拒绝签名,应注明情况,并且要有第三人在场签字。
笔录的每页都要有当事人的签字,工作人员在最后一页签字。
2、填写《调查报告》。
执法人员在调查终结后,应就所调查的事实和收集的证据材料进行整理,填写调查报告。
镇街计划办对应征收社会抚养费的行为,按照《北京市人口与计划生育条例》、《北京市社会抚养费征收管理办法》的有关规定提出处理建议后,呈报区人口和计划生育委员会业务科。
三、做出决定1、区人口计生委应于收到调查报告后及时对处理意见做出批示。
2、制作《社会抚养费征收决定书》。
决定书由区人口和计生委业务科统一编号并加盖区人口和计划生育委员会的印章。
决定书一式四份:即当事人1份、镇街计生办2份(留备起诉时使用1份),区人口计生委1份。
抚养费执行简易程序流程下载温馨提示:该文档是我店铺精心编制而成,希望大家下载以后,能够帮助大家解决实际的问题。
文档下载后可定制随意修改,请根据实际需要进行相应的调整和使用,谢谢!并且,本店铺为大家提供各种各样类型的实用资料,如教育随笔、日记赏析、句子摘抄、古诗大全、经典美文、话题作文、工作总结、词语解析、文案摘录、其他资料等等,如想了解不同资料格式和写法,敬请关注!Download tips: This document is carefully compiled by theeditor. I hope that after you download them,they can help yousolve practical problems. The document can be customized andmodified after downloading,please adjust and use it according toactual needs, thank you!In addition, our shop provides you with various types ofpractical materials,such as educational essays, diaryappreciation,sentence excerpts,ancient poems,classic articles,topic composition,work summary,word parsing,copy excerpts,other materials and so on,want to know different data formats andwriting methods,please pay attention!抚养费执行简易程序流程。
一、申请准备。
1. 申请人提交书面申请书至法院。
广东省社会抚养费征收程序是怎样的?1.社会抚养费立案。
2.社会抚养费调查取证。
3.作出征收社会抚养费决定。
4.社会抚养费送达。
5.社会抚养费执行。
6.社会抚养费结案。
7.社会抚养费存档。
为了使人口·增长速度与社会经济发展相适应,国家立法机关制定了相关的法律规范,要求在我国全国范围内实施计划生育,各地需要结合本地实际情况,制定适宜于本地的计划生育管理办法,广东省也不例外。
根据广东省相关部门制定的规范,我们可以知道,对于那些在计划范围之外出生的孩子,父母是需要按照广东省社会抚养费征收程序的规定,缴纳一定的社会抚养费的。
▲一、广东省社会抚养费征收程序(一) 社会抚养费征收机关对当事人要及时发给《社会抚养费征收决定书》;(二) 当事人在接到《社会抚养费征收决定书》,应当在《送达回证》上签字,并必须在收到征收决定书之日起30日内一次性缴纳社会抚养费;当事人一次性缴纳社会抚养费确有实际困难的,应当在30日内向征收机关申请签订《分期缴纳社会抚养费保证书》;(三) 征收社会抚养费时,征收人员必须出示全省统一制发的《广东省行政执法证》或者《广东省社会抚养费征收证》;(四) 征收社会抚养费的机关在收到社会抚养费时,必须同时向当事人出具地级以上市财政部门按省财政厅统一格式印制的行政事业性收费统一收据。
▲二、广东省社会抚养费征收管理办法第一条为了规范社会抚养费的征收管理,维护计划生育基本国策,保护公民的合法权益,根据《社会抚养费征收管理办法》和《广东省人口与计划生育条例》(以下简称《条例》),制定本办法。
第二条不符合《条例》有关生育规定生育子女的中国公民,必须依照本办法的规定缴纳社会,抚养费。
第三条社会抚养费的具体征收标准,按照《条例》第五十五条的规定执行。
第四条社会抚养费的征收,由县级或者不设区的地级市计划生育行政部门委托乡、民族乡、镇人民政府,街道办事处或者县级以上直属农林场作出书面征收决定,具体工作由所属计划生育工作机构执行。
咸宁社会抚养费的征收流程是什么在咸宁的征收流程是由当地的计生部门先,接下来调查取证,确认了社会的征收标准,确认下来之后一般要经过领导人员的批准,然后是备案并制作社会抚养费征收告知书,将社会抚养费征收告知书送到当事人手中。
一、咸宁的征收流程是什么?(一)经群众举报或人口计生部门发现违法生育或非法的,应当即刻立案,填写立案报告。
主管领导审批并指定2个以上具有行政执法资格的工作人员进行调查。
(二)调查取证1、调查人员对被调查人的违法生育或非法收养事实进行调查取证,形成链,确认违法生育或非法收养事实。
对取得一定证据证明当事人违法生育的,但当事人拒不承认的,经县级人口计生部门集体研究同意,可书面责令当事人在限期内作出。
2、确定被调查人违法生育或非法收养的事实后,对其双方上年度收入进行调查取证。
(三)提出征收标准建议填写《征收社会审批表》,提出征收标准的建议。
县级人口计生部门委托乡镇人民政府或者街道办事处征收社会抚养费的,乡镇人民政府或者街道办事处应当由分管领导牵头,与计生办工作人员集体研究,提出建议征收倍数,报县级人口计生部门决定。
没有委托的,由案件承办人员提出建议。
(四)审批县级人口计生部门成立“社会抚养费征收标准审批领导小组”,主要负责人任组长,分管政法工作的领导和纪检组长任副组长,股长和工作人员为组员。
拟按照2至3倍标准征收社会抚养费的,由县级人口计生部门分管领导审批,报主要负责人同意后,在《征收社会抚养费审批表》上签署意见、签名并加盖人口计生部门印章;拟按照4至6倍以上标准征收社会抚养费的,由“社会抚养费征收标准审批领导小组”集体研究决定后(有会议记录),组长在《征收社会抚养费审批表》上签署意见、签名并加盖人口计生部门印章。
(五)备案按4倍以上标准征收社会抚养费的,《征收社会抚养费审批表》复印件报市级人口计生部门备案,具体由政策法规机构受理。
市级人口计生部门应当对县级人口计生部门作出的征收决定的合法性和合理性进行审查,认为征收决定违反有关规定或者畸轻畸重的,应当责令县级人口计生部门重新作出征收决定。
社会抚养费征收流程图
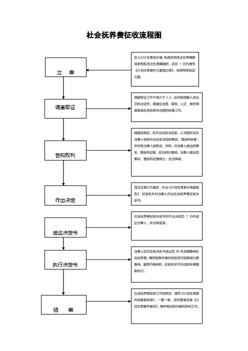
立案区人口计生委或乡镇、街道发现违法生育嫌疑或举报有违法生育嫌疑的,应在7日内填写《计划生育案件立案登记表》,经领导审批后立案。
调查取证告知权利调查取证工作不得少于2人,应向被调查人员出示执法证件。
调查应全面、客观、公正,做好调查笔录及其他有关证据的收集工作。
调查结束后,在作出征收决定前,以书面形式向当事人告知作出征收决定的事实、理由和依据,并听取当事人的陈述、申辩。
对当事人提出的事实、理由和证据,应当进行复核。
当事人提出的事实、理由和证据成立,应当采纳。
作出决定违法生育行为属实,作出《计划生育案件调查报告》,征收机关对当事人作出社会抚养费征收决定书。
送达决定书社会抚养费征收决定书在作出决定后7日内送达当事人,并当场宣读。
执行决定书当事人应在征收决定书送达后30天足额缴纳社会抚养费。
确有困难申请并经批准可延期或分期缴纳。
逾期不缴纳的,征收机关可向法院申请强制执行。
结案社会抚养费征收工作结束后,填写《计划生育案件结案报告单》,一案一卷,连同案卷目录《计划生育案件卷宗》,做好卷宗的归卷和存档工作。
社会抚养费征收程序及法律依据一、征收程序根据《人口与计划生育法》、《社会抚养费征收管理办法》、《湖北省人口与计划生育条例》及有关规定,我省社会抚养费征收程序。
具体如下:(一)立案立案是指县(市、区)计划生育行政部门对当事人违反法律法规的生育行为,经审查后决定作为征收社会抚养费案件处理。
立案时必须填写《征收社会抚养费审批表》,写明当事人基本情况,违反法律法规规定生育事实的认定及立案处理意见,承办人签字,征收机关审批意见及负责人签字。
(二)调查取证调查取证是县(市、区)计划生育行政部门(或接受委托的乡镇人民政府、街道办事处)对于立案决定征收社会抚养费的案件,为查明事实,收集证据,依法定程序而进行的专门活动。
调查取证具体程序参照《行政处罚法》关于行政处罚的调查取证程序办理。
(三)作出征收社会抚养费的决定调查终结以后,征收机关负责人应当对调查结果进行审查,根据不同情况,分别作出以下决定:确有违反法律法规生育子女的违法行为的,根据情节和具体情况,作出征收社会抚养费的决定;违反法律法规规定生育的违法事实不能成立的,不得作出征收社会抚养费的决定;违法行为已构成犯罪的,移送司法机关。
(四)制作征收社会抚养费决定书对于决定征收社会抚养费的案件,应按省计生委统一规范的执法文书要求,制作征收社会抚养费决定书,征收社会抚养费决定书应包括如下内容:当事人基本情况,违法事实的认定及依据;处理意见;履行期限;不服征收决定,申请行政复议或提起行政诉讼的途径和期限;征收机关的名称及印章;作出征收决定的日期。
(五)征收社会抚养费决定书的送达送达是征收社会抚养费决定发生法律效力的前提条件,未经送达的征收决定书,对当事人没有约束力。
征收社会抚养费决定书应当及时送达当事人,当事人不在场的,征收机关应当在七日内依照民事诉讼法的有关规定,将征收决定书送达当事人。
送达方式包括直接送达、留置送达、邮寄送达和委托送达等。
社会抚养费的征收决定,自送达当事人之日起生效。