探矿权转让审批表
- 格式:doc
- 大小:12.45 KB
- 文档页数:2
审批通知书文号: ( )探转[ ] 号探矿权转让申请书项目名称:转让申请人:__(_单位全称)______(印章)受让人: ___(_单位全称)___ _(印章)填表时间: ___年_____月______日一、填表说明1、本申请书一式四份,要求字迹清楚、工整。
不收复印件。
2、“转让申请人”即探矿权人。
转让申请人和受让人为法人填法人名称;为自然人的,填自然人名称。
3、“项目名称”即勘查许可证上登记的项目名称。
4、“法定代表人”由法定代表人签字并盖章。
5、“经济类型”是指国有、集体、私营、个体、联营、有限责任、股份制、外商投资、港澳台投资经济等。
6、“探矿权获得时间及方式”指转让申请人获得该探矿权的时间及方式。
“方式”指从国家直接获得、转让获得及有偿、无偿等情况。
7、“探矿权转让原因和方式”中“转让方式”可填出售、作价出资等。
8、“探矿权评估值”是指经地质矿产主管部门确认的评估结果。
“评估机构名称”、“评估机构资质证号”是指由国务院地质矿产主管部门确认的评估机构名称、证号。
9、如在勘查区内发现了可供进一步勘查或者开采的矿产资源,有关情况应在“勘查工作主要进展情况”栏中反映。
10、“探矿权价款缴纳方式”可填一次性缴纳、分期缴纳、作价出资或其它方式。
11、“受让目的”一栏填写“继续勘查”或“申请采矿权进行采矿”。
12、申请人若无上级主管部门,“转让申请人上级主管部门意见”栏可不填。
二、转让申请必须附具的材料(一)、转让申请人1、勘查许可证复印件2、由勘查登记管理机关出具的队转让申请人按规定缴纳探矿权使用费、探矿权价款及完成最低勘查投入的证明材料。
3、由有关地矿主管部门提供的探矿权属无争议的证明材料。
4、转让申请人和受让人签订的转让合同。
5、矿产资源勘查情况报告。
如在勘查作业区内发现可供进一步勘查或开采的矿产资源,尚需附具有关证明材料。
6、评估报告和评估结果确认文件。
7、再次转让的,应附具原转让审批文件复印件。
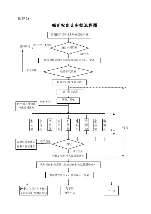
探矿权登记和转让审批工作规程探矿权登记审批工作按核收申请-受理—会审、审查—审核—复核—会审会议并签发—通知—缴费、发证—备案、公告等各程序顺序进行。
登记管理机关应自受理之日起40日内(修改补充资料时间不计入),按照收到探矿权申请的先后顺序逐一审批,作出是否准予发证的决定。
一、核收申请负责人员在受理前应依次完成清点资料、检查资料、发征询意见单等工作,决定是否受理申请。
(一)清点资料:负责人员根据探矿权申请的类别(新立、变更、延续、保留、注销)应提交的资料目录,于申请送达当日清点申请人提交的资料,确定是否齐全。
1、探矿权新立申请:必要文件:⑴《探矿权申请登记书》(原件,一式3份,每跨一个省级行政区增加一式1份);⑵申请的区块范围图(原件,一式1份);⑶探矿权申请人《企业法人营业执照》或《事业单位法人证书》,或涉外项目探矿权申请人的《非法人营业执照》,公民申请为身份证,在有效期内并已经年检(复印件,1份);⑷勘查单位《地质勘查资质证书》,在有效期内并已经统检(复印件,1份);⑸勘查计划、合同(原件或复印件,1份);⑹资金证明文件(原件,1份);⑺勘查工作实施方案及附件(原件,2份);⑻交通位置图(1份);补充文件:⑴涉外项目还应提交探矿权申请人的公司合同、章程(复印件,1份);⑵合作勘查项目申请还应提交合作合同(复印件,1份)。
2、探矿权变更申请:必要文件:⑴《探矿权变更、延续、保留申请登记书》(原件,一式3份,每跨一个省级行政区增加一式份);⑵申请的区块范围图(原件,一式1份);⑶勘查许可证(原件);⑷勘查单位《地质勘查资质证书》,在有效期内并已经统检(复印件,1份);按变更类型不同,还应提交如下文件:⑴扩大或缩小勘查范围的,还应提交勘查工作实施方案及附件(原件,1份);⑵变更勘查主矿种的,还应提交勘查年度报告或勘查工作阶段性报告(原件,1份);⑶探矿权人改变名称(包括法定代表人易人)或改变地址的,还应提交:①探矿权申请人营业执照(复印件,1份);②变更前原探矿权人营业执照(复印件,1份)。
国土资源部司局关于印发《探矿权采矿权转让审批有关问题的规定》的通知(1998年12月14日国土资勘发〔1998〕11号)各省、自治区、直辖市地质矿产厅(局)、海南省环境资源厅、重庆市矿管办:根据《探矿权采矿权转让管理办法》和国土资发〔1998〕20号《关于印发探矿权、采矿权转让申请书、审批表及审批通知书格式的通知》,为规范探矿权采矿权转让审批工作,现将《探矿权采矿权转让审批有关问题的规定》印发给你们,请遵照执行。
附件:探矿权采矿权转让审批有关问题的规定一、关于转让申请的受理1.转让审批机关在受理转让申请之前,应核点申请材料的数量、来源、质量是否符合要求。
转让申请材料除包括转让申请书及要求附具的证明材料、证件、文件的复印件、转让合同文本外,还应附转让申请报告,说明转让的原由,以使审批机关对转让项目有个总体的了解。
2.转让一个探矿权的部分勘查区域或采矿权的部分开采区域时,须先征得原登记机关同意,并办理相应的探矿权或采矿权的变更分立登记后,再向转让审批机关提交转让申请。
3.申请转让的探矿权或采矿权的有效期已不足以完成转让申请审批或不足以开展相应勘查、开采工作的,转让申请人可同时或提前向(原)勘查或采矿登记机关申请办理延续登记。
4.转让申请人在提交转让申请材料的同时,应提交受让人申请的全部材料。
在审查转让申请时,也同时审查受让人的登记申请。
5.符合上述要求的申请材料,予以受理。
不符合上述要求的申请材料,不予受理。
二、关于审查与签批审批程序包括审查、审核和签批三个程序。
审查的内容主要是转让条件、探矿权人或采矿权人义务的履行情况、转让合同书的关键条款及受让人的资质条件等。
转让申请人或受让人有一方不符合全部规定条件的,均不能获准转让。
(一)探矿权转让申请的审查1.转让探矿权必须同时符合《探矿权采矿权转让管理办法》第五条规定的五个条件。
2.“在勘查作业区内发现可供进一步勘查或者开采的矿产资源”,须由转让申请人提交相应的地质资料、矿产资源勘查报告或经批准的储量报告作为证明。
探矿权出让审批流程图新立勘查登记申请资料查收清单变更勘查登记申请资料查收清单转让勘查登记申请资料查收清单延续勘查登记申请资料查收清单保留勘查登记申请资料查收清单注销探矿权申请资料查收清单固体矿产地质勘查实施方案(设计)主要编制内容(试行)第一章前言一、勘查目的、任务二、交通地理位置1、勘查区通公路情况和距离主要交通干线的距离等;2、勘查区位置应具体到县、乡、村。
3、勘查区经纬度拐点坐标、面积。
附交通地理位置图。
三、自然地理及经济概况主要反映勘查区主要地形、河流、海拔及当地居民经济生活情况。
四、以往地质工作简述按时间先后简述以往地质勘查单位或探矿权人在勘查区进行的地质工作情况,提交成果报告等;第二章地质特征一、区域地质概况主要简述区域地层、构造、岩浆岩、矿产等概况;对于进行过区域物、化探地质工作的,应简述区域物、化探成果。
二、矿区地质情况1、矿区的地层、构造、岩浆岩。
2、对进行过物、化探地质工作的,要有物、化探异常成果。
3、矿区矿体、矿化特征。
主要指通过矿区踏勘等取得的有关勘查矿体的赋矿部位、形态、产状、延伸、品位等情况或有关找矿信息。
对续作或变更登记项目,要反映探矿权人在勘查期间的主要实物工作量投入情况及工作量分布;通过工作已取得的矿体的赋矿层位、产状、延伸、品位、矿石质量、选冶情况及找矿标志等成果;矿体的地表及深部工程控制情况(包括各矿体的工程控制数量、控制长度、具体位置和工程编号);估算的资源量/储量情况和类别及必要的图件等。
第三章勘查施工方案一、勘查工作部署根据勘查目的任务和勘查区已有地质矿产资料,说明设计依据的矿产勘查规范或标准;设计总体工作部署、布置原则;勘查工作方法、手段的选择及施工顺序;主要勘查投入工作量和各项工作的基本任务。
二、工作方法及技术要求1、测量工作:说明采用的坐标系统、测量方法、手段、精度等,其精度应当满足相适应的地质勘查工作阶段的要求。
2、地质填图:说明填图比例尺、面积、精度;地形地理底图的来源、精度等;剖面测制的选择和填图方法的选择。
探矿权出让审批流程图新立勘查登记申请资料查收清单项目名称: (盖章)资料类别序号资料名称资料要求及份数1新立申请登记书(附电子文件)1份2申请区块范围图图1、2、3各1份3探矿权申请人营业执照或企业名称预核准通知复印件、1份4勘查单位资格证书已年检复印件1份5勘查计划、合同1份6资金证明文件1份,不低于100万元7勘查工作实施方案及附件(工程布置图)3份(交通位置图作插图)一 般 要 件8地(市)地矿行政主管部门的矿权设置调查表1份910另附材料11变更勘查登记申请资料查收清单项目名称: (盖章)资料类别序号资料名称资料要求及份数1变更登记申请书(含电子文件)1份2申请区块范围图图1、2、3各1份3勘查许可证(必须在有效期之内)原件4勘查单位资格证书已年检,复印件1份5勘查计划、合同1份6资金证明文件1份,不低于50万元一般要件7上一年或当年的年度报告表(有地、县盖章的)复印件1份1前期勘查工作阶段性成果报告(附所有成果图件)1份缩小范围2后期勘查工作实施方案及附件3份1前期勘查工作阶段性成果报告(附所有成果图件)1份2后期勘查工作实施方案及附件3份扩大范围3地(市)地矿行政主管部门的矿权设置调查表1份1前期勘查工作阶段性成果报告(附所有成果图件)1份改变矿种2后期勘查工作实施方案及附件(工程布置图)3份1探矿权申请人营业执照复印件1份另附资料改变名称或地址2变更前的探矿权申请人营业执照复印件1份转让勘查登记申请资料查收清单项目名称: (盖章)资料类别序号资料名称资料要求及份数1变更登记申请书(含电子文件)1份2申请区块范围图图1、2、3各1份3勘查许可证(必须在有效期之内)原件4勘查单位资格证书已年检,复印件1份5探矿权转让申请书4份1份6转让申请报告(说明转让的原由,以使审批机关对转让项目有个总体了解)一般要件7前期工作地质报告1份8探矿权申请人营业执照复印件1份9勘查计划、合同1份10项目资金来源证明文件1份,不低于50万元11勘查工作实施方案及附件(工程布置图)3份12探矿权转让合同1份13项目资金投入情况的会计报表及资金来源证明各1份14上一年或当年的年度报告表(有地、县盖章的)复印件1份另附资料15评估机关的评估备案证明文件复印件1份16延续勘查登记申请资料查收清单项目名称:(盖章)资料类别序号资料名称资料要求及份数1延续申请登记书(附电子文件)1份2申请区块范围图图1、2、3各1份3勘查许可证(必须在有效期之内)原件4探矿权申请人营业执照已年检复印件1份5勘查单位资格证书已年检复印件1份6勘查计划、合同1份7资金证明文件1份,不低于100万元8后期勘查工作实施方案及附件(工程布置图)3份(交通位置图作插图)9前期勘查工作成果报告(附所有成果图件)1份一 般 要 件10项目资金投入情况的财务报表1份11地质资料汇交证明文件(提高勘查阶段)1份(复印件)12上一年或当年的年度报告表(有地、县盖章的)复印件1份另附材料13保留勘查登记申请资料查收清单项目名称:(盖章)资料类别序号资料名称资料要求及份数1保留申请登记书(附电子文件)1份2申请区块范围图图1、2、3各1份3探矿权申请人营业执照已年检复印件1份4勘查许可证(必须在有效期之内)原件5勘查工作成果报告或勘查项目终止报告1份一 般 要 件6项目资金投入情况的财务报表1份78另附材料9注销探矿权申请资料查收清单项目名称:(盖章)资料类别序号资料名称资料要求及份数1注销申请登记书(附电子文件)1份2勘查许可证(必须在有效期之内)原件3勘查工作成果报告或勘查项目终止报告1份4资料汇交证明文件1份一 般 要 件5勘查项目支出的会计核算表1份789另附材料10固体矿产地质勘查实施方案(设计)主要编制内容(试行)第一章前言一、勘查目的、任务二、交通地理位置1、勘查区通公路情况和距离主要交通干线的距离等;2、勘查区位置应具体到县、乡、村。
采矿权审批(采矿权转让审批)一次性告知书(办事指南)一、事项名称:采矿权转让审批二、事项代码:A-004945-4945三、事项类型:行政许可四、所属大项:采矿权转让审批五、受理范围:属市级颁证的全市矿山企业六、设立依据:《探矿权采矿权转让管理办法》第四条七、申请受理机关:宜宾市国土资源局八、决定机关:宜宾市国土资源局九、办理数量限制:无十、审批条件(一)受让人应具备独立企业法人资格。
(二)采矿权属无争议。
(三)已缴纳采矿权使用费、采矿权价款、和资源税,履行法定义务,无违法采矿行为。
(四)以出售方式转让采矿权的,矿山企业投入采矿生产应满1年。
(五)国有矿山企业转让采矿权须征得矿山企业主管部门同意。
设立依据《探矿权采矿权转让管理办法》第四条必要条件满足下列全部条件的,予以许可:1、申请人提供的纸质和电子资料文件是否齐全,是否符合法定形式,其内容和表现形式是否符合有关规定;(2)申请人是否完备了必要的签字、盖章、核对文件、资格审查等手续;(3)受让人应具备独立企业法人资格。
;(4)是否符合法定受理时限。
(5)是否履行了法定义务,有关税费是否缴清。
(6)是否生产满一年不予许可的情形:1.资料要件不全的2.资料提交内容不符合要求的3.超过法定受理时限的(采矿许可证过期的)4、未履行法定义务的5、采矿权有争议的十二、申请表格采矿权变更申请登记书可到宜宾市政务服务中心四楼投资建设受理窗口免费领取,也可在宜宾市人民政府政务服务中心网站(*******)下载。
十三、申请材料递交方式申请人可选择通过窗口、网上方式提交申请资料。
十四、审批流程(一)本事项窗口办理流程1.申请申请人向市政务服务中心建设投资服务窗口提交申请材料。
2.接件承办:市政务服务中心建设投资受理窗口。
岗位职责及权限:市政务服务中心建设投资受理窗口对照《采矿权转让审批材料清单》,对转让变更登记材料是否齐全及完整性进行形式要件审查,并对申请人或委托人身份进行现场核对,符合申报材料清单或经部门确认材料无误的,综合受理窗口人员应向申请人出具《收件回执单》,并赓将相关信息录入全省一体化政务服务平台,同时将书面材料转市国土资源局后台审核人员。
探矿权出让审批流程图探矿权出让审批流程图附件2:新立勘查登记申请资料查收清单项目名称: 〔盖章〕附件3:变更勘查登记申请资料查收清单项目名称: 〔盖章〕附件4:转让勘查登记申请资料查收清单项目名称: 〔盖章〕附件5:连续勘查登记申请资料查收清单项目名称:〔盖章〕附件6:保留勘查登记申请资料查收清单项目名称:〔盖章〕附件7:注销探矿权申请资料查收清单项目名称:〔盖章〕附件8:固体矿产地质勘查实施方案〔设计〕要紧编制内容(试行)第一章前言一、勘查目的、任务二、交通地理位置1、勘查区通公路情形和距离要紧交通干线的距离等;2、勘查区位置应具体到县、乡、村。
3、勘查区经纬度拐点坐标、面积。
附交通地理位置图。
三、自然地理及经济概况要紧反映勘查区要紧地势、河流、海拔及当地居民经济生活情形。
四、以往地质工作简述按时刻先后简述以往地质勘查单位或探矿权人在勘查区进行的地质工作情形,提交成果报告等;第二章地质特点一、区域地质概况要紧简述区域地层、构造、岩浆岩、矿产等概况;关于进行过区域物、化探地质工作的,应简述区域物、化探成果。
二、矿区地质情形1、矿区的地层、构造、岩浆岩。
2、对进行过物、化探地质工作的,要有物、化探专门成果。
3、矿区矿体、矿化特点。
要紧指通过矿区踏勘等取得的有关勘查矿体的赋矿部位、形状、产状、延伸、品位等情形或有关找矿信息。
对续作或变更登记项目,要反映探矿权人在勘查期间的要紧实物工作量投入情形及工作量分布;通过工作已取得的矿体的赋矿层位、产状、延伸、品位、矿石质量、选冶情形及找矿标志等成果;矿体的地表及深部工程操尽情形〔包括各矿体的工程操纵数量、操纵长度、具体位置和工程编号〕;估算的资源量/储量情形和类别及必要的图件等。
第三章勘查施工方案一、勘查工作部署依照勘查目的任务和勘查区已有地质矿产资料,说明设计依据的矿产勘查规范或标准;设计总体工作部署、布置原那么;勘查工作方法、手段的选择及施工顺序;要紧勘查投入工作量和各项工作的差不多任务。
探矿权转让审批一、受理范围马永顺律师全程矿权法律服务省国土资源厅审批登记的探矿权。
二、审批依据1、《矿产资源法》、《矿产资源法实施细则》、《矿产资源勘查区块登记管理办法》、《探矿权采矿权转让管理办法》和《湖北省地质矿产勘查管理条例》等法律法规;2、国家及省国民经济和社会发展中长期发展规划;3、矿产资源规划和矿业权设置方案;4、相关行业发展规划、产业政策及相关矿种勘查开采准入条件;5、湖北省国土资源厅《关于规范勘查许可证采矿许可证审批发证权限的通知》(鄂土资发〔2006〕107号)、《关于矿业权出让管理暂行办法》(鄂土资发〔2006〕109号)、《关于进一步规范探矿权采矿权管理的暂行规定》(鄂土资规〔2009〕1号)等规范性文件。
三、审批条件(一)自颁发勘查许可证之日起满 2 年,或者在勘查作业区内发现可供进一步勘查或者开采的矿产资源;(二)完成规定的最低勘查投入;(三)探矿权属无争议;(四)转让人已依法缴纳有关规定的费用;属于有偿的,按照出让合同缴纳了探矿权价款;属于协议方式取得的探矿权原则上不得转让;(五)转让人依法履行其他法定义务;(六)探矿权受让人具备相应的资质条件;(七)探矿权转让符合矿产资源规划和矿业权设置方案。
(八)资料符合要求。
四、申报资料申报资料时应同时呈报纸质报件(一套)和电子报件。
远程报批的报件,审查通过后,由政府大厅通知申请人送交一套与远程报件完全一致的纸介质原件资料存档。
1、探矿权转让申请书(样式见附件);2、勘查许可证(扫描);3、探矿权的区块范围图(扫描);4、矿产资源勘查情况报告。
如在勘查作业区内发现可供进一步勘查或者开采的矿产资源,需附具有关证明材料;5、转让申请人按规定缴纳探矿权使用费、探矿权价款及完成最低勘查投入的证明材料6、有偿处置的评估报告和评估结果备案文件,若为非国家出资勘查所形成的探矿权,可不附具;7、由有关国土资源管理部门出具的探矿权属无争议的证明材料;8、转让申请人的营业执照(扫描);股份组成说明;9、探矿权转让合同(扫描);10、申请转让的探矿权为再次转让的,应附具原转让审批文件复印件;11、受让人的营业执照(扫描);股份组成说明;12、以继续勘查为目的的受让人(1)勘查单位的资格证书(扫描);(2)能够满足该项勘查工作最低勘查投入的资信证明;13、以转入采矿为目的的探矿权受让人:(1)能满足该项采矿投入的资信证明;(2)查明矿产资源储量登记书;14、主管部门要求的其它资料。
(一)审查意见书
关于探矿权转让审查意见书
:
关于拥有的位于的探矿权,名称为,勘查许可证号为,勘查许可证的有效期从年月日起年月日止。
发证机关为,探矿权所涉及的勘查区的地理坐标为东经º′"∽º′",北纬º′"∽º′",探矿权所涉及的勘查区的面积为Km2。
经审查该矿权无抵押、无担保,无债权债务纠纷争议、无违I法采矿,各项规费交纳完毕,提供的全部材料合格,现认为其拥有的探矿权符合转让条件,特此说明。
本意见书一式四份,交山西省国土资源局矿管科备案一份,临汾市国土资源交易事务中心一份,县国土资源局矿管股备案一份,转让人一份。
附:
地理位置图
勘查许可证复印件(复印件和审查意见书加盖骑缝章)
公章(县局)
年月日
关于采矿权转让审查意见书
:
关于拥有的位于的采矿权,名称为,采矿许可证号为,采矿许可证的有效期从年月日起年月日止。
发证机关为,采
采矿权所涉及的面积为 Km2。
经审查该矿权无抵押、无担保,无债权债务纠纷争议、无违法采矿,各项规费交纳完毕,提供的全部材料合格,现认为其拥有的采矿权符合转让条件,特此说明。
本意见书一式四份,交山西省国土资源局矿管科备案一份,临汾市国土资源交易事务中心一份,县国土资源局矿管股备案一份,转让人一份。
附:
地理位置图
采矿许可证复印件(复印件和审查意见书加盖骑缝章)
公章(县局)
年月日。
探矿权转让相关政策及审批操作程序第一篇:探矿权转让相关政策及审批操作程序探矿权转让相关政策及审批操作程序主要内容一、基本概念二、探矿权转让审批法律依据三、探矿权转让审批条件四、探矿权转让申报材料目录(修订)及审查中发现的问题五、具体权限(发证机关与转让审批一致)六、审批程序七、办结时限一、基本概念(一)矿业权:探矿权和采矿权统称矿业权1、探矿权:是指在依法取得的勘查许可证规定的范围内,勘查矿产资源的权利。
2、采矿权:是指在依法取得的采矿许可证规定的范围内,开采矿产资源和获得所开采的矿产品的权利。
3、探矿权基本属性(1)行政许可性探矿权是政府对探矿权人的一种行政许可,具有排他性。
在探矿权的设臵中,政府处于主导地位,政府有责任保护探矿权人的合法权益。
(2)相对独立性探矿权、采矿权分别设臵,相对独立。
我国法律规定,探矿权人可优先取得采矿权,但在许多情况下,探矿权灭失,权益落空。
(3)阶段递进性探矿是对客观世界的认知,是一种科学发现,是对矿产资源客观存在的真实反映。
探矿具有阶段性,是对矿产资源信息认识逐步深化的过程,探矿权许可也是分阶段(预查、普查、详查到勘探)发证。
探矿权人根据已获矿产资源信息的技术经济条件优劣决定取舍,也可以进行阶段性转让。
(4)矿种差异性探矿权设臵的程序、许可权限和尺度,对不同矿产种类有不同规定,主要体现在固体矿产与流体矿产之间,一类、二类、三类矿产之间,鼓励勘查矿产与限制勘查矿产之间。
(二)探矿权转让:指探矿权人将探矿权转移的行为,包括出售、作价出资、合作勘查等。
1、探矿权出售:指探矿权人依法将探矿权出卖给他人进行勘查矿产资源的行为。
2、探矿权作价出资:指探矿权人依法将探矿权作价后,作为资本投入企业,并按出资数额行使相应权利,履行相应义务的行为。
3、探矿权合作勘查:指探矿权人引进他人资金、技术、管理等,通过签订合作合同约定权利义务,共同勘查矿产资源的行为。
上述各种形式的探矿权转让,转让双方必须向探矿权登记管理机关提出申请,经审查批准后办理变更登记手续,否则视作非法转让。
书山有路勤为径,学海无涯苦作舟
办理探矿权转让注册登记申请手续
一、办理探矿权转让注册登记手续需向市国土资源和房屋管理局提交以下材料:
(一)《探矿权转让申请书》(原件);
(二)转让人与受让人签定的探矿权转让合同(原件);
(三)勘查许可证(复印件);
(四)经年检且在有效期内的勘查单位《地质勘查单位资格证》(复印件);(五)勘查工作计划、合同或委托勘查证明(原件或复印件);
(六)前期勘查工作资金投入情况会计报表(原件或复印件);
(七)探矿权使用费缴纳证明(复印件)。
二、办理程序:
(一)申请人到市行政许可服务中心窗口依法申领、报送相关申报表和需要提交的全部材料;
(二)窗口预审合格后受理;
(三)准予受理的,经办处室对提交的全部材料进行审查,必要时现场勘察,提出初审意见;
(四)需要听证的,组织听证会;
(五)会审审定,做出批准或者不批准的决定并说明理由,并通知转让人与受让人;
(六)双方到同一窗口领取《批准转让通知书》或者《不予转让通知书》(双方应当自接到批准转让通知书之日起60 日内,到原发证机关办理变更登记手续)。
三、办理时限:。
探矿权转让审批表收到申请时间:_____年____月____日转让审批通知书文号:()探转[ ]号签发年月日复核意见:复核人(签字):年月日项目名称转让申请人经济类型法定代表人受让人复查意见复查人(签字):年月日审查意见审查人(签字):年月日探矿权转让审批通知书(不准予转让)()探转[ ]号_______________:经审查,你们提交的_______________________________项目的探矿权转让申请,不符合国家有关探矿权转让的法规要求,不准予转让。
特此通知。
______年______月______日抄送:探矿权转让审批通知书(准予转让)探矿权转让审批通知书( )探转[ ]号___________________________________________________________________________________ _:经审查,你们提交的__________________________项目的探矿权转让申请,符合国家有关探矿权转让的法规要求,准予转让。
请于________年_____月_____日前一并到_____________________办理探矿权变更登记手续。
特此通知。
年月日抄送探矿权转让申请书审批通知书文号:()探转[ ]号项目名称:_______________________转让申请人:_____________(印章)受让人:_________________(印章)填表时间:______年______月_____日一、填表说明1.本申请书一式四份,要求字迹清晰、工整。
不收复印件。
2.“转让申请人”即探矿权人。
转让申请人或受让人为法人的,填法人名称;为自然人的,填自然人名称。
3.“项目名称”即勘查许可证上登记的项目名称。
4.“法定代表人”由法定代表人填写并盖印章。
5.“经济类型”是指国有、集体、私营、个体、联营、股份制、外商投资、港澳台投资经济等。
申请探矿权变更一、适用范围已设探矿权变更二、主要依据1、《矿产资源勘查区块登记管理办法》(国务院令第240号)。
三、申请人应提交的资料(报件份数:纸质、电子各1套。
)1、《探矿权变更申请登记书》(原件,企事业申请人委托办理的,还应提交授权委托书原件、企事业单位法定代表人和经办人身份证复印件);2、申请勘查的区块范围图(申请人签章)及经纬度拐点坐标(Excel表格)(原件);3、《矿产资源勘查许可证》(原件);4、勘查单位《地质勘查资质证书》;5、变更勘查范围或变更勘查对象的,提交地质勘查设计(含评审意见书、附图等附件)(原件);6、变更勘查对象的,提交矿产资源勘查报告评审意见或矿产资源勘查阶段性报告(原件);7、探矿权人改变名称或改变地址的,提交工商部门出具的企业名称变更证明及变更后的《企业法人营业执照》或《事业单位法人证书》或《工商营业执照》。
四、办理程序1、窗口受理;2、相关处室会审、审核;3、厅领导审定或签发;4、出具审批结果。
五、办理结果1、审核合格,出具审核意见。
2、审核不合格,复函说明并退还资料。
六、收费项目见《收费指南》。
七、办理时限25个工作日。
八、注意事项:1、本指南“申请人应提交的资料”:凡未注明原件的,申请人提交原件、复印件均可,但提交复印件的必须提供原件核对;凡未注明电子版本份数的无须提交电子版本资料。
2、委托他人办理的,除提交委托书原件外,还应提交委托两方的营业执照、身份证等证件复印件和具体经办人身份证复印件,并提供原件核对。
3、本指南所列办理时限均为工作日,内部管理时限不计入对外公布的办理时限。
探矿权变更(包括转让)审批〔非油气类〕办事指南一、审批依据1.《中华人民共和国矿产资源法》2.《中华人民共和国矿产资源法实施细则》3.《矿产资源勘查区块登记管理方法》4.《探矿权采矿权转让管理方法》5.《地质资料管理条例》6.《关于矿产资源勘查登记、开采登记有关规定的通知》〔国土资发〔1998〕7号〕7.《探矿权采矿权使用费减免方法》〔国土资发〔2000〕174号〕8.《关于印发〈矿业权出让转让管理暂行规定〉的通知》〔国土资发〔2000〕309号〕9.《关于印发〈探矿权采矿权招标拍卖挂牌管理方法〔试行〕〉的通知》〔国土资发〔2003〕197号〕10.《关于加强煤炭资源勘查开采管理的通知》〔国土资发〔2004〕34号〕11.《关于加强国家规划矿区内矿权管理的通知》〔国土资发〔2004〕206号〕12.《关于标准勘查许可证采矿许可证权限有关问题的通知》〔国土资发〔2005〕200号〕13.《关于进一步标准矿业权出让管理的通知》〔国土资发〔2006〕12号〕14《关于进一步加强煤炭资源勘查开采管理的通知》〔国土资发〔2006〕13号〕15.《关于调整钨和稀土矿勘查许可证采矿许可证登记权限有关问题的通知》〔国土资发〔2007〕92号〕16.《国家物价局财政部关于发布中央管理的地矿系统行政事业性收费项目及标准的通知》〔价费字〔1992〕251号〕17.《探矿权采矿权价款转增国家资本管理方法》〔财建〔2004〕262号〕二、审批程序〔一〕接受申请国土资源部政务大厅〔以下简称政务大厅〕接收申请人提交的探矿权申请材料。
〔二〕材料审查主办司局对材料进行审查。
主办司局接到政务大厅转来的申请材料,对申请材料进行初步审查,对于不符合要求的,出具《补充修改材料告知书》或《退回申请材料通知书》,需要退回申请的,连同申请材料交政务大厅转发给探矿权申请人。
(三)受理经初步审查后,主办司局对符合要求的探矿权申请进行研究,决定是否受理。