接触网常见故障应急处理程序卡
- 格式:doc
- 大小:40.00 KB
- 文档页数:10
接触网故障应急处理预案1. 前言接触网是电力铁路系统中非常重要的组成部分,它负责供电给行驶中的列车。
然而,由于各种原因,接触网可能会发生故障,造成列车无法正常运行。
为了保证列车的正常运营以及乘客的安全,我们制定了接触网故障应急处理预案。
该预案旨在确保在接触网发生故障时快速、高效地处理、修复故障,并尽可能减少对列车运行的影响。
2. 应急处理流程接触网故障应急处理流程如下:2.1 接触网故障检测定期的接触网检测是防止接触网故障发生的重要手段。
当接到接触网故障报警后,应立即派遣维修人员前往现场进行故障检测。
在接触网故障检测过程中,要注意确保安全,并按照规定的程序进行。
2.2 故障定位与确认在故障检测后,需要根据检测结果对故障进行定位并确认。
根据故障的具体情况,可以采用手动定位、视频监控等方式进行,确保故障定位的准确性。
2.3 故障处理在故障定位和确认后,需要对故障进行处理。
处理过程中需要注意遵循相关的操作规程,确保操作人员的安全。
对于小范围故障,可以采用快速修复的方式进行处理;对于大范围故障,需要调动更多的人力、物力进行修复。
2.4 故障修复与恢复供电在完成故障处理后,需要进行故障修复工作。
修复工作的过程中要做到安全第一,确保维修人员的人身安全。
修复完毕后,需要逐步恢复供电,确保列车运营的正常进行。
3. 应急设备与物资为了应对接触网故障的应急处理,需要准备相应的设备与物资。
主要包括:•接触网维修工具:包括工具箱、电缆剥离器、强电绝缘手套等;•通信工具:手持对讲机、手机等,以便与现场人员进行及时沟通;•防护设备:安全帽、护目镜、防护服等,确保人员在维修过程中的安全;•电缆和零件备件:备用电缆和零件,以便进行及时的更换和修复。
4. 应急预案的培训与演练为了确保应急预案的有效性,需要对相关人员进行培训与演练。
培训内容包括应急处理流程、操作规程、设备使用等。
演练过程中要模拟真实的故障场景,检验人员的应急处理能力。
接触网设备故障应急抢修方案一、故障预防措施1. 定期检查和维护网络设备,包括路由器、交换机、光纤等,确保其正常运行。
2. 配备适当数量的备用设备,如备用路由器、交换机等,以备故障替换。
3. 定期对网络设备进行数据备份,以防止数据丢失。
4. 建立合理的网络安全措施,确保系统不被非法入侵。
二、故障发生时的应急抢修流程1. 快速响应:一旦发现网络设备故障,立即启动应急抢修流程,确保问题得到及时处理。
2. 问题定位:通过先进的监控系统和网络工具,尽快定位故障的来源和范围。
3. 故障隔离:根据定位结果,对故障设备进行隔离,避免故障扩散导致更大的影响。
4. 故障恢复:根据故障类型,采取相应的修复措施,如更换故障设备、修复破损的光纤等。
5. 功能测试:在故障修复后,对网络设备进行功能测试,确保修复后的设备正常运行。
6. 数据恢复:如果故障导致数据丢失,及时进行数据恢复,以尽量减少数据损失。
三、应急抢修人员的要求1. 技术能力要求高:应急抢修人员应具备扎实的网络设备知识和技能,能够熟练地操作和维护设备。
2. 快速反应能力:应急抢修人员需要能够在短时间内做出准确的判断和决策,迅速响应故障。
3. 团队协作精神:应急抢修工作通常需要多个人员合作完成,因此应急抢修人员应具备良好的团队协作能力。
四、故障抢修后的总结和改进1. 对抢修过程进行总结和分析,找出故障发生的原因,以避免类似故障再次发生。
2. 提出改进措施,以增强网络设备的稳定性和故障抢修的效率。
3. 定期审查和更新应急抢修方案,以适应网络技术发展和日益复杂的网络环境。
综上所述,接触网设备故障的应急抢修方案对于网络运维至关重要。
通过制定科学有效的抢修方案,并提供高水平的抢修人员支持,可以最大限度地缩短故障恢复时间,确保网络的稳定运行。
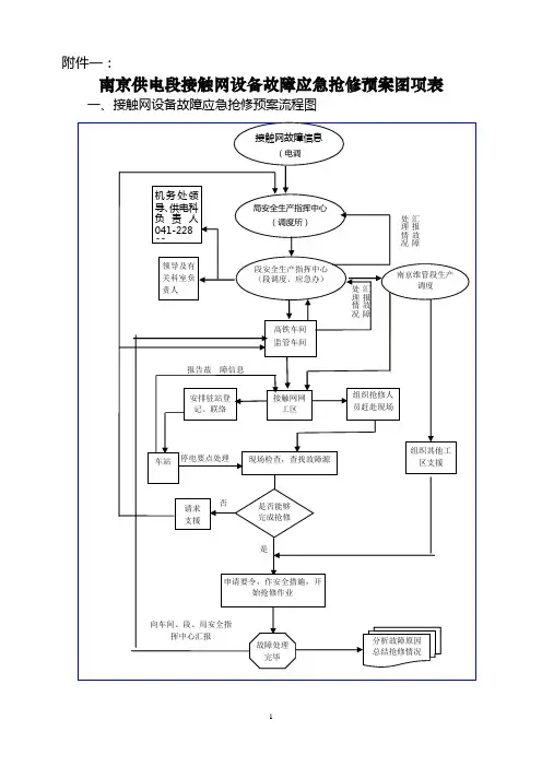
一、预案编制目的为保障铁路运输安全,提高接触网故障应急处置能力,确保故障情况下铁路运输秩序的快速恢复,特制定本预案。
二、预案适用范围本预案适用于铁路接触网设备发生故障,影响铁路运输安全和正常秩序的情况。
三、预案组织机构1. 预案领导小组由铁路局(集团)主管领导、相关部门负责人组成,负责预案的组织实施和监督检查。
2. 应急指挥部由铁路局(集团)主管领导担任总指挥,下设办公室、现场指挥组、技术保障组、物资保障组、通信保障组、医疗救护组等。
3. 现场指挥组负责现场指挥、调度、协调和应急处置。
四、应急处置原则1. 生命至上,安全第一;2. 快速反应,科学处置;3. 上下联动,协同作战;4. 及时沟通,信息共享。
五、应急处置流程1. 报告与接收(1)现场发现接触网故障,立即向应急指挥部报告;(2)应急指挥部接到报告后,迅速核实情况,启动应急预案。
2. 现场处置(1)现场指挥组立即组织人员进行现场勘查,确定故障原因和影响范围;(2)根据现场情况,制定具体处置方案,包括隔离故障区域、恢复供电、抢修作业等;(3)组织实施处置方案,确保故障尽快排除。
3. 通信保障(1)应急指挥部与现场指挥组保持密切联系,实时掌握现场情况;(2)通过铁路通信系统,确保故障信息传递及时、准确。
4. 物资保障(1)应急指挥部根据现场需求,调配物资保障;(2)现场指挥组负责物资的接收、分发和使用。
5. 医疗救护(1)现场指挥组根据需要,组织医疗救护力量;(2)确保受伤人员得到及时救治。
6. 信息发布(1)应急指挥部根据情况,及时向相关部门和公众发布信息;(2)确保信息传递及时、准确。
六、应急处置措施1. 确保现场安全(1)设立警戒线,隔离故障区域;(2)对现场人员进行安全教育,确保安全操作。
2. 恢复供电(1)现场指挥组组织人员进行故障排查,确定故障原因;(2)根据故障原因,制定恢复供电方案;(3)组织实施恢复供电方案,确保故障尽快排除。
接触网工非正常情况下应急处置指导手册西宁供电段接触网工非正常情况下应急处置指导手册1.接触网设备故障信息反馈流程图信息反馈联系电话公司行调:075-92594 075-92694公司电调:075-91053 075-91063 075-91273安监室:075-92450供电部应急电话:075-92891供电段调度:075-25613(传真) 075-59034、590352.人员组织各接触网、电力工区接到抢修通知后,立即集合当班所有人员,组织抢修组,并按内部分工,分头带好、带足机具(夜间出动时必须携带照明发电装臵及灯具)和材料等,在规定时间(白天15分钟,夜间20分钟)内迅速出动。
如果故障范围较大,设备损坏较严重,需两个及以上工区人员出动抢修时,车间要及时调动邻近工区出动抢修人员赶赴现场(两工区为相邻车间管辖时,由调度通知工区一同对故障处所进行抢修)。
对需要连续作业时间较长的故障抢修时,需调足够的人员进行替换作业。
3.抢修原则设备故障的抢修要遵循“先通后复”和“先通一线”的原则。
应根据不同故障发生的具体情况,迅速设法送电、通车。
“先通后复”就是以最快的速度设法先行通车,疏通线路,必要时采取迂回供电、越区供电和降弓通过等措施,尽量缩短停电、中断行车时间,随后要尽快安排时间处理遗留工作,使接触网及早恢复正常技术状态。
“先通一线”就是在双线电化区段,除按上述“先通后复”的原则确定抢修方案外,要集中力量以最快速度设法使一条线路先开通,尽快疏通列车。
故障范围小,抢修时间不长,无需分层作业时,应抓紧时间一次抢修完毕,恢复供电、行车。
4.抢修前准备工作抢修人员到达故障现场,工作领导人要组织人员全面了解故障范围和设备损坏情况,按照“先通后复”和“先通一线”的抢修原则,确定抢修方案,并尽快报告公司电调和段调度。
同时,根据掌握的故障范围和设备损坏情况,做好以下几方面工作:(1)明确各抢修人员的分工、作业项目与次序、相互配合的环节等;(2)预制、预配部分零部件;(3)检查有关抢修机料具的技术状态,并清点数量;(4)如果故障范围较大,则根据设备损坏情况及人员、机具情况,将故障范围划分几个作业区并分派人员。
接触网应急处置提示卡范本一、应急响应流程1. 信息收集与分析- 确定事件类型及相关信息来源。
- 收集事件发生的时间、地点、影响范围等关键信息。
- 分析事件可能的威胁程度和潜在影响。
2. 应急响应策略确定- 根据事件的威胁程度和影响范围,制定相应的应急响应策略。
- 定义重点防护对象和应急处置目标。
3. 资源调配与整合- 调动相关部门、团队和专家资源,组成应急响应小组。
- 确定各部门、团队的职责和任务。
4. 应急响应实施- 按照应急响应策略和分工,展开具体工作。
- 利用各类工具和技术手段进行事件处置和恢复工作。
5. 评估与总结- 在事件处置结束后,进行评估和总结,不断优化应急响应流程。
- 归档相关资料和数据,提供应急响应借鉴和经验。
二、常见网络安全事件及应急处置措施1. DDoS攻击- 攻击特点:大量流量冲击目标主机,导致服务不可用。
- 应急措施:及时启动防火墙、负载均衡等防护设备,限制流量并过滤恶意包。
2. 病毒感染- 攻击特点:通过下载或执行可执行文件等途径感染目标主机。
- 应急措施:隔离感染主机,禁止目标主机与外部网络通信,进行杀毒并升级补丁。
3. 数据泄露- 攻击特点:黑客通过非法手段获取机密数据,并公开或出售。
- 应急措施:立即停止数据传输,调查数据泄露的原因,加强安全措施保护数据。
4. SQL注入攻击- 攻击特点:黑客通过在Web应用程序中注入恶意SQL语句,获取数据库信息。
- 应急措施:封堵漏洞,修复受攻击的应用程序,限制对数据库的访问权限。
5. 恶意代码攻击- 攻击特点:黑客通过植入恶意代码,窃取用户信息或大规模感染。
- 应急措施:及时扫描和清除感染主机上的恶意代码,更新杀毒软件的病毒库。
三、应急处置的注意事项1. 快速响应- 发现异常情况后,应及时启动应急响应流程,避免进一步扩大损失。
2. 信息共享- 各部门、团队之间要加强沟通和信息共享,形成合力应对安全事件。
3. 实时监控- 建立完善的安全监控体系,及时发现异常行为和潜在威胁。
接触网应急处置方案接触网是一种用于电力输送的设备。
根据相关安全规定,当接触网出现故障或者其他问题时,需要进行及时的应急处置。
本文将介绍接触网应急处置方案。
前期准备在实施接触网应急处置时,需要进行一些前期准备工作,主要包括人员和装备的准备。
具体如下:1.应急小组人员的组建。
应急小组由专业技术人员、安全人员和工作人员组成。
2.应急装备的准备。
应急装备包括手持对讲机、行车灯、安全带、手套、插板等。
3.应急演练。
应急演练是必要的前期准备工作,可以帮助应急小组成员熟悉应急程序和操作流程,提高应急处置的效率和质量。
应急处置程序以下是接触网应急处置程序:一、紧急制停电车如果接触网出现问题导致列车卡在电缆上,需要先紧急制停电车,具体操作如下:1.打开紧急制停电车按钮,采取应急措施来确保列车不会继续往前行驶。
2.关断列车集电装置和制动系统,防止电流过大,发生火灾或安全事故。
3.使用手持对讲机第一时间向电力公司报告,等待进一步指示。
二、现场应急处置1.确保现场安全,包括将现场隔离、保护现场标记和设置警示灯具等。
2.由专业技术人员分析故障原因和应急处置方案,安排工作人员进行相关操作和维修。
3.按照规定程序,将接触网断开与电源的连接,并采取相应的安全措施。
4.为了避免其他列车进入该区域,需要采取必要的特殊措施,如使用人工或防火板等进行遮挡。
三、复位当问题得到解决、再次启用接触网之前,需要进行复位操作:1.安排专业技术人员检查维修情况,确认复位条件已具备。
2.检查断路器、绝缘子等设备,确保能够正常运行。
3.逐步恢复供电,在经过检查、测试、确认操作无误的情况下,恢复正常电力供应。
总结接触网是一项十分重要的设备,出现问题时需要及时有效的应急处置。
准确的应急程序和操作流程可以保障人员和设备的安全,提高应急处置的效率和质量。
应急处置不仅是一个技能,更是需要实践和经验的过程,希望联合各方面力量,共同提高接触网应急处置能力,保障人们的生命财产安全。
接触网应急处置提示卡《网络应急处置提示卡》1. 应急响应1.1 启动应急响应:根据安全事件等级和影响范围,及时启动相应的应急响应计划,组织人员做好应急处置工作。
1.2 组织协调:成立应急处理小组,明确成员职责,协调相关部门共同参与应急处置工作。
1.3 快速反应:第一时间调查和分析安全事件,对网络环境进行快速恢复和修复。
2. 安全评估与风险分析2.1 确认安全事件:了解网络安全事件的性质、范围和影响,对事件进行初步评估。
2.2 分析漏洞:通过对场景复原、日志分析等手段,确定安全事件的源头、入侵方式和攻击手法。
2.3 评估风险:根据漏洞分析结果,评估系统的风险等级,制定相应的应急措施。
3. 安全隔离与恢复3.1 隔离受影响设备:将受感染的设备和网络进行独立隔离,停止与外部网络的连接,以避免安全事件扩散。
3.2 恢复受损系统:对受感染的系统进行清理和修复,修补漏洞,恢复正常运行状态。
3.3 数据恢复和备份:还原受影响的数据,对重要数据进行备份,以免数据永久丢失。
4. 安全监测与日志分析4.1 即时监测:加强对网络安全事件的监测,实时发现并拦截可疑网络流量,防止潜在攻击。
4.2 日志分析:对网络设备、服务器等关键系统的日志进行分析,发现异常行为和潜在攻击痕迹。
4.3 风险预警:据分析结果及时预警可能出现的风险,制定相应的防范策略。
5. 安全修复与加固5.1 漏洞修复:根据漏洞分析结果,及时修复系统中的漏洞,以防止类似安全事件再次发生。
5.2 加固系统:对受影响系统进行全面加固,包括更新补丁、加强访问控制、配置安全策略等。
5.3 安全培训:组织网络安全培训,提高员工的安全意识和应急处置能力。
6. 安全报告与总结6.1 安全报告:及时向上级单位和相关部门汇报安全事件的处理情况、原因分析和处置结果。
6.2 安全总结:总结安全事件的教训和经验,完善应急响应计划,提高网络安全防护水平。
6.3 改进安全策略:根据安全事件的回顾与总结,适时调整和改进安全策略,提高系统的安全性能。
接触网应急处置提示卡模版【网应急处置提示卡模版】提示卡的目的是为了应对和处理网络安全事件的紧急情况。
下面是一个常见的网应急处置提示卡模版,分为预案准备、事件响应、恢复与总结三个部分。
一、预案准备1. 应急小组组建- 确定应急小组成员和责任范围- 制定小组成员间的协作机制和沟通渠道2. 预案制定与演练- 制定详细的应急处置预案- 定期组织组内成员进行演练和模拟事件处置3. 应急资源准备- 确定应急资源需求清单- 确保应急资源的可用性和更新性4. 预警机制建立- 设置网络安全事件的预警系统- 建立并定期更新事件相关信息的收集和分析机制5. 应急响应流程规范- 制定明确的应急响应流程- 建立上下级单位的协作机制,提供统一的响应指导和支持二、事件响应1. 应急响应组织- 快速召集应急小组成员,并确定责任人员- 确保应急小组的成员实时掌握事件处理进展和状态2. 事件确认和分类- 确认事件的真实性和紧急程度- 根据事件的特点和类型进行分类和处理优先级的确定3. 采取紧急措施- 根据事件特点采取紧急措施进行事件控制和阻止事件扩散- 保护重要数据和系统的安全4. 收集证据和数据- 确保对事件的调查和分析有充分的证据和数据支持- 制定详细的数据收集和保存措施5. 分析和报告- 对事件进行跟踪和分析,找出事件发生的原因和漏洞- 定期向上级主管部门报告事件的处理进展和情况三、恢复与总结1. 系统恢复- 在事件处理过程中确保系统的正常运行- 尽快采取措施修复被破坏或受损的系统和数据2. 风险控制和改进- 分析事件中出现的问题和不足,并加以改进- 制定措施减少类似事件发生的风险3. 事件总结和报告- 进行事件处理的总结和评估- 撰写事件处理报告,包括事件的起因、影响和处理过程等信息4. 命名责任和奖惩- 根据事件的处理结果和责任认定进行相应的奖惩- 确保对应急小组成员的表现给予及时的肯定和奖励请根据具体情况对以上模版进行修改和完善,以适应实际应对网络安全事件的需求和要求。
接触网应急处置提示卡1.立即断开网络连接:在发现网络被入侵或受到攻击时,第一步是立即断开与互联网的连接。
这可以帮助阻止攻击者进一步访问您的系统或网络。
2.保护现场证据:在采取任何行动之前,记录关于入侵或攻击的所有细节。
收集日志文件、截屏、错误消息等,这些证据可以帮助您追踪攻击者并进行后续调查。
3.通知相关人员:联系您组织或公司的网络安全团队,以及任何其他相关人员,告诉他们关于入侵或攻击的情况。
这些人员有可能提供帮助、指导或采取必要的行动来应对紧急情况。
4.隔离受感染的系统或设备:如果确定了受到攻击的特定系统或设备,立即将其与其他网络设备隔离。
这有助于防止攻击者进一步利用被感染的设备,同时也可以帮助您集中精力处理问题并防止攻击扩散。
5.重置受影响的凭据:如果有任何用户帐户、密码或其他凭据受到入侵或攻击的威胁,立即将其重置。
确保新的凭据是复杂、强大的,并通知用户及时更改他们的密码。
6.修复漏洞或弱点:一旦入侵或攻击得到控制,进行彻底的系统和网络审核,以确定可能的漏洞或弱点,并及时修复它们。
这可以帮助防止类似的问题再次发生。
7.更新和加强安全措施:确保您的系统和网络安全措施是最新的,并且符合最佳实践。
这可能包括安装最新的安全补丁、更新防病毒软件、配置防火墙等。
8.进行后续调查:一旦紧急情况得到缓解,进行后续调查来了解入侵或攻击的原因和目的。
这可以帮助您改进安全措施,并预防或减少类似事件的再次发生。
9.备份和恢复数据:定期备份系统和重要数据,并确保备份存储在离线或不受攻击的环境中。
在恢复之前,检查备份的完整性和可用性。
10.加强员工培训:提供适当的网络安全培训给员工,包括警惕电子邮件钓鱼和恶意软件链接,确保他们了解如何保护自己和公司的网络安全。
接触网应急处置提示卡接触网设备作为行车主要设备,发生故障影响范围大,全段各部门、车间及网电工区,要时刻保持抢修待命状态,一旦发生接触网故障,要迅速出动,快速抢修。
接触网故障应急处置遵循“先通后复”和“先通一线”的原则。
“先通后复”就是以最快的速度先行供电、疏通线路。
“先通一线”就是当双线同时故障时,优先恢复一条线路送电通车。
同时为了突出“快”和停电时间“短”,总体思路是“临时处理、后续恢复”。
要重点按照以下处置原则实施。
一是能提前准备的工作提前准备到位。
如故障基本确认情况下,调度人员提前做好停电安全措施;抢修人员按固有分工立即携带工具赶赴现场,必要时可提前向供电调度申请停电抢修的调度命令,到场后确认需扩大停电范围时,可重新要令。
二是故障设备能退出就退出。
如正馈线故障时,优先选择退出方案。
三是能“降弓”就登记降弓运行。
如零部件脱落或断线后临时“拉起”,在确认符合机车车辆限界,导通电流的情况下,可以降弓运行。
四是特殊处所可封锁或禁止电力机车运行。
如站场、机务段、客技站等处所可以采取“禁止电力机车运行”或封锁个别股道、道岔。
五是能平行作业就平行作业。
在故障范围较大时,要分组平行作业,现场抢修时充分利用每一名现场人员,如地线操作人员在抢修作业组视线范围内时,可参与作业。
六是特殊情况可越区供电、限制列车速度等措施。
如供电线故障、隔离开关引线故障时,可以脱离接地,采取越区供电。
七是抢修工作要确保人身安全。
抢修时必须把人身安全放在首位,要确认各项人身安全措施,杜绝人身伤亡事故的发生。
1 故障判断、查找、确认故障的判断需综合考虑,一是“故标”指示值;二是跳闸保护类型、电流、电压值及阻抗参数等;三是运用视频监控设备查找;四是考虑天气、环境、机车等因素影响;五是经过检查仍送不上电时,具备分段送电供电臂可分段送电,以缩小故障停电范围和查找范围。
1.1跳闸重合成功或试送电成功1.1.1供电调度立即将跳闸供电臂、“故标”指示值、跳闸保护类型、电流、电压及阻抗值等参数,通知相关网电工区、供电(抢修)车间、供电技术科、电力技术科、安全科,并向主管接触网、变电领导汇报,相关科室和领导对供电调度、现场工区进行指导查找故障地点。
接触网常见故障及处理方案网络故障是当今社会无法避免的问题之一,它可能是由于硬件故障、软件问题、网络拥堵、网络安全威胁和操作失误等原因导致的。
本文将介绍一些常见的网络故障,并提供相应的处理方案。
1.硬件故障:硬件故障是网络故障的一个常见原因。
当网络设备(如路由器、交换机、网卡)出现故障时,网络连接可能会中断或变得不稳定。
处理硬件故障的方案包括:-检查设备连接:确保设备端的电源和网络连接正常。
-重启设备:有时候出现故障是由于设备的缓冲区堆积或配置错误,重新启动设备可以解决问题。
-更换设备:如果设备严重损坏,修复可能不太可能,此时需要更换设备。
2.软件问题:软件问题可能导致网络异常,例如操作系统错误、网络协议错误或应用程序故障。
处理软件问题的方案包括:-更新软件:及时更新操作系统和应用程序,以修复已知的漏洞和错误。
-重新安装软件:有时候重新安装软件可以解决软件故障。
-检查配置:检查软件配置是否正确,例如网络设置、防火墙设置等。
3.网络拥堵:网络拥堵是指网络流量超过网络设备处理能力,导致网络速度变慢或无法访问。
处理网络拥堵的方案包括:-增加带宽:升级网络连接或增加带宽可以提高网络传输速度。
- 使用流量控制:使用流量控制机制,如QoS(Quality of Service),可以优先处理重要的网络流量。
-压缩数据:压缩数据可以减小数据包的大小,从而减少网络流量。
4.网络安全威胁:网络安全威胁包括病毒、恶意软件、黑客攻击等,可能导致网络故障或数据泄露。
处理网络安全威胁的方案包括:-安装防病毒软件和防火墙:定期更新防病毒软件和防火墙,以保护网络免受病毒和恶意软件的侵害。
-加强访问控制:使用强密码、多因素认证等方式加强访问控制,确保只有授权用户能够访问网络。
-定期备份数据:定期备份数据可以防止数据丢失,同时可以迅速恢复受损的数据。
5.操作失误:操作失误是由于人为错误导致的网络故障,例如错误的配置、误操作等。
处理操作失误的方案包括:-提供培训和文档:提供培训和文档,帮助用户了解如何正确操作网络设备和软件。
接触网应急处置提示卡模版网应急处置提示卡模板注意:以下是网应急处置的提示卡模板,请按照以下步骤进行处置。
根据具体情况,可以适当调整和补充相关内容。
1、确定事件类型:- 网络攻击- 数据泄露- 网络病毒感染- 网络服务器故障等2、立即采取的应急措施:- 隔离受感染或遭受攻击的主机或网络,断开其与外部网络的连接;- 启动网络防火墙,并确保其配置正确;- 将关键系统和重要数据备份到安全的离线存储介质中;3、收集相关信息:- 记录事件发生的时间和地点;- 了解事件对系统和数据的威胁程度;- 收集与事件相关的日志和数据;- 确定事件的来源和可能的攻击手段;4、分析和评估事件:- 利用安全工具对受攻击系统进行深度分析,了解攻击方式和目的;- 研究攻击者使用的漏洞,并采取适当的措施进行修复;- 分析攻击者可能利用的后门,防止进一步入侵;- 评估系统的敏感性和安全级别,判断受到的损害程度;5、制定应急响应计划:- 确定调查小组的成员,并明确各成员的具体职责;- 制定详细的应急处置步骤和时间安排;- 联系相关部门和团队,确保信息共享和协作;- 准备必要的物资和设备,保持应急响应的连续性;6、执行应急响应计划:- 依照应急响应计划的步骤进行处置;- 确保各项措施的及时实施和有效性;- 监控事件的发展动态,及时调整和修订应急计划;7、恢复和修复:- 恢复正常的网络服务和功能;- 修复受损的系统和数据;- 密切监控网络和系统的运行状况,确保安全和稳定;8、总结和归档:- 对应急响应过程进行评估和总结,总结经验和教训;- 归档和保留与该事件相关的所有资料和文件;- 更新应急响应计划和防护策略;- 提高员工的安全意识和应急处置能力。
以上是网应急处置的提示卡模板,请根据实际情况进行相应的调整和补充。
在应对网络安全事件时,及时有效的应急处置措施将为您的系统和数据安全提供保障。
接触网应急处置提示卡集团企业公司编码:(LL3698-KKI1269-TM2483-LUI12689-ITT289-接触网应急处置提示卡接触网设备作为行车主要设备,发生故障影响范围大,全段各部门、车间及网电工区,要时刻保持抢修待命状态,一旦发生接触网故障,要迅速出动,快速抢修。
接触网故障应急处置遵循“先通后复”和“先通一线”的原则。
“先通后复”就是以最快的速度先行供电、疏通线路。
“先通一线”就是当双线同时故障时,优先恢复一条线路送电通车。
同时为了突出“快”和停电时间“短”,总体思路是“临时处理、后续恢复”。
要重点按照以下处置原则实施。
一是能提前准备的工作提前准备到位。
如故障基本确认情况下,调度人员提前做好停电安全措施;抢修人员按固有分工立即携带工具赶赴现场,必要时可提前向供电调度申请停电抢修的调度命令,到场后确认需扩大停电范围时,可重新要令。
二是故障设备能退出就退出。
如正馈线故障时,优先选择退出方案。
三是能“降弓”就登记降弓运行。
如零部件脱落或断线后临时“拉起”,在确认符合机车车辆限界,导通电流的情况下,可以降弓运行。
四是特殊处所可封锁或禁止电力机车运行。
如站场、机务段、客技站等处所可以采取“禁止电力机车运行”或封锁个别股道、道岔。
五是能平行作业就平行作业。
在故障范围较大时,要分组平行作业,现场抢修时充分利用每一名现场人员,如地线操作人员在抢修作业组视线范围内时,可参与作业。
六是特殊情况可越区供电、限制列车速度等措施。
如供电线故障、隔离开关引线故障时,可以脱离接地,采取越区供电。
七是抢修工作要确保人身安全。
抢修时必须把人身安全放在首位,要确认各项人身安全措施,杜绝人身伤亡事故的发生。
1故障判断、查找、确认故障的判断需综合考虑,一是“故标”指示值;二是跳闸保护类型、电流、电压值及阻抗参数等;三是运用视频监控设备查找;四是考虑天气、环境、机车等因素影响;五是经过检查仍送不上电时,具备分段送电供电臂可分段送电,以缩小故障停电范围和查找范围。
仅供参考[整理] 安全管理文书接触网应急处置提示卡日期:__________________单位:__________________第1 页共12 页接触网应急处置提示卡接触网设备作为行车主要设备,发生故障影响范围大,全段各部门、车间及网电工区,要时刻保持抢修待命状态,一旦发生接触网故障,要迅速出动,快速抢修。
接触网故障应急处置遵循“先通后复”和“先通一线”的原则。
“先通后复”就是以最快的速度先行供电、疏通线路。
“先通一线”就是当双线同时故障时,优先恢复一条线路送电通车。
同时为了突出“快”和停电时间“短”,总体思路是“临时处理、后续恢复”。
要重点按照以下处置原则实施。
一是能提前准备的工作提前准备到位。
如故障基本确认情况下,调度人员提前做好停电安全措施;抢修人员按固有分工立即携带工具赶赴现场,必要时可提前向供电调度申请停电抢修的调度命令,到场后确认需扩大停电范围时,可重新要令。
二是故障设备能退出就退出。
如正馈线故障时,优先选择退出方案。
三是能“降弓”就登记降弓运行。
如零部件脱落或断线后临时“拉起”,在确认符合机车车辆限界,导通电流的情况下,可以降弓运行。
四是特殊处所可封锁或禁止电力机车运行。
如站场、机务段、客技站等处所可以采取“禁止电力机车运行”或封锁个别股道、道岔。
五是能平行作业就平行作业。
在故障范围较大时,要分组平行作业,现场抢修时充分利用每一名现场人员,如地线操作人员在抢修作业组视线范围内时,可参与作业。
六是特殊情况可越区供电、限制列车速度等措施。
如供电线故障、隔离开关引线故障时,可以脱离接地,采取越区供电。
七是抢修工作要确保人身安全。
抢修时必须把人身安全放在首位,要确认各项人身安全措施,杜绝人身伤亡事故的发生。
1故障判断、查找、确认故障的判断需综合考虑,一是“故标”指示值;二是跳闸保护类型、第 2 页共 12 页电流、电压值及阻抗参数等;三是运用视频监控设备查找;四是考虑天气、环境、机车等因素影响;五是经过检查仍送不上电时,具备分段送电供电臂可分段送电,以缩小故障停电范围和查找范围。
接触网常见故障应急处理程序卡LanZhouGongDianDuan 兰州供电段接触网常见故障应急处理程序卡一、抢修基本要求1.抢修原则接触网抢修时,要遵循“先通后复”和“先通一线”的原则确定具体的抢修方案,以最快的速度设法先行供电、疏通线路并及早恢复设备的正常技术状态。
2.方案制订⑴抢修方案制订要遵循“先通后复”原则,体现以最快速度设法先行供电,疏通线路的目的,必要时可采取迂回供电、越区供电、降弓通过或限制列车速度措施,缩短停电、中断行车时间,并及时安排时间处理遗留工作,使接触网及早恢复正常技术状态。
⑵双线电化区段抢修方案制订,还应遵循“先通一线”原则,集中力量以最快速度设法先通一线,以尽快疏通列车。
⑶有重点列车运行时,抢修方案制订还应遵循先重点、后一般的原则,首先使接触网脱离接地,尽快恢复送电,待重点列车离开故障供电区段后,再要点对故障点进行恢复。
⑷接触网抢修恢复,允许以最低技术状态开通运行。
在开通线路、疏通列车后再申请天窗停电,尽快处理使设备达到运行技术标准。
3.开通线路- 1 -⑴接触网修复过程中,对接触网主导电回路及受电弓动态包络线等关键部位严格把关,确认符合供电行车条件后方准申请送电。
送电后以观察1~2趟车,确认运行正常后抢修组方准撤离故障现场。
⑵需封锁线路、降弓通过或限速运行时,抢修人员应向供电调度报告起止位置(或范围)和列车运行注意事项,并按规定在相邻车站登记。
接触网限速值应由现场指挥人员根据抢修后接触网技术状态确定。
二、常见接触网故障判断查找方法1.永久接地:变电所断路器跳闸,重合闸和强送均不成功,可能是由于接触网或供电线断线接地、绝缘子击穿、隔离开关处于接地状态下的分段绝缘器击穿、隔离开关引线脱落或断线、较严重的弓网故障、机车故障等。
2.断续接地:变电所断路器跳闸重合成功,过一段时间又跳闸,可能是接触网或电力机车绝缘部件闪络,货车绑扎绳等松脱,列车超限,树木与接触网放电、接触网与接地部分距离不够,接触网断线但未落地,弓网故障等。
接触网常见故障应急处理程序卡一、抢修基本要求1.抢修原则接触网抢修时,要遵循“先通后复”和“先通一线”的原则确定具体的抢修方案,以最快的速度设法先行供电、疏通线路并及早恢复设备的正常技术状态。
2.方案制订⑴抢修方案制订要遵循“先通后复”原则,体现以最快速度设法先行供电,疏通线路的目的,必要时可采取迂回供电、越区供电、降弓通过或限制列车速度措施,缩短停电、中断行车时间,并及时安排时间处理遗留工作,使接触网及早恢复正常技术状态。
⑵双线电化区段抢修方案制订,还应遵循“先通一线”原则,集中力量以最快速度设法先通一线,以尽快疏通列车。
⑶有重点列车运行时,抢修方案制订还应遵循先重点、后一般的原则,首先使接触网脱离接地,尽快恢复送电,待重点列车离开故障供电区段后,再要点对故障点进行恢复。
⑷接触网抢修恢复,允许以最低技术状态开通运行。
在开通线路、疏通列车后再申请天窗停电,尽快处理使设备达到运行技术标准。
3.开通线路⑴接触网修复过程中,对接触网主导电回路及受电弓动态包络线等关键部位严格把关,确认符合供电行车条件后方准申请送电。
送电后以观察1~2趟车,确认运行正常后抢修组方准撤离故障现场。
⑵需封锁线路、降弓通过或限速运行时,抢修人员应向供电调度报告起止位置(或范围)和列车运行注意事项,并按规定在相邻车站登记。
接触网限速值应由现场指挥人员根据抢修后接触网技术状态确定。
二、常见接触网故障判断查找方法1.永久接地:变电所断路器跳闸,重合闸和强送均不成功,可能是由于接触网或供电线断线接地、绝缘子击穿、隔离开关处于接地状态下的分段绝缘器击穿、隔离开关引线脱落或断线、较严重的弓网故障、机车故障等。
2.断续接地:变电所断路器跳闸重合成功,过一段时间又跳闸,可能是接触网或电力机车绝缘部件闪络,货车绑扎绳等松脱,列车超限,树木与接触网放电、接触网与接地部分距离不够,接触网断线但未落地,弓网故障等。
3.短时接地:变电所跳闸后重合成功,一般是绝缘部件瞬时闪络、电击人或动物等。
4.查找故障应根据季节、天气、设备所处的环境有针对性的进行。
例如,当大雾、阴雨及雨雪交加时易发生绝缘闪络故障,应重点查找隧道及污秽严重处所;当发现火花间隙击穿时对该支柱或与该支柱接地母线连接的相关绝缘部件要仔细检查;当变电所馈线开关跳闸时,可根据故障测量装置指示从那公里数,缩小查找的范围。
三、常见接触网故障抢修方案1.接触线断线当发生导线断线时,首先应查明断线发生的确切位置,断口两侧的损坏情况,断线波及的范围等情况。
⑴导线断线损坏范围较小,断口两侧无较大损伤、变形,可以直接紧线对接。
导线严重损伤在一个跨距以内,必须加换一段导线,这时可在地面上先做好一个接头,网上将新旧线紧起后做另一个接头。
⑵导线断线损坏范围较大时,可视具体情况确定方案,如果列车惰行可以通过故障区段时,可将接触网脱离接地采取降弓通过的方法,先行送电通车。
具体应遵循如下原则:①站场侧线断线,可先将线索紧起,保证咽喉区行车,送电先开通正线。
站场正线或区间断线,可将线索紧起,采取降弓通过的办法送电通车。
②利用紧线器、葫芦等临时连接方式送电时,必须加装分流短接线,严禁利用受力工具导通电流回路。
⑶导线断线处理后,必须将该锚段全部巡视一遍,特别是中心锚结、线岔、补偿装置、锚段关节等设备,要考虑季节、气温变化时对设备的影响,确定是否可以送电通车。
2.承力索断线承力索断线可用紧线工具将承力索紧起后即送电通车,必要时降弓通过。
载流承力索或大电流区段非载流承力索必须安装分流短接线。
承力索断线抢修后,应对整锚段进行巡视测量,特别要注意中心锚结、线岔、绝缘锚段关节等处是否达到要求。
3.支柱折断:支柱折断是接触网比较严重的故障,一般破坏比较严重,抢修难度大。
抢修时一般采用临时抢通,降弓通过,正式恢复时重新立支柱的程序步骤。
断杆处有附加悬挂时,要视具体情况采取措施保证安全距离,恢复送电。
(1)锚柱折断①若相邻两锚段长度不大,可在两转换柱间将两锚段承力索和导线分别合并,合并后要保证张力平衡,必要时可取消一个中心锚结。
在断杆处立抢修支柱,将悬挂挑起。
检查下锚及其它设备无异常,必要时,在故障点,设置升、降弓标志,即可消令送电,然后利用“天窗”时间彻底恢复。
②如相邻两锚段长度均比较大,不宜延长锚段时,可借助附近容量足够的支柱下锚,但必须注意要上紧拉线。
临时下锚可做硬锚,其下锚拉线紧固良好,且在受力方向上。
处理此类故障时必须注意,紧起后的导线高度必须达到规定要求值以上,锚段关节处的过渡要保证受电弓顺利通过,不能保证时要采取降弓措施。
两条馈线间的绝缘锚段关节抢修后不能保证绝缘要求的可将其短接。
要注意保证电气连接可靠,回路畅通。
(2)中心柱、转换柱折断可立抢修支柱或利用附近建筑物挑起悬挂,降弓通过。
当两悬挂间不能保证规定的绝缘距离时,可暂不作绝缘锚段关节用。
对附加悬挂设备进行临时固定,使其抬高到不影响行车的高度,检查补偿装置、中心锚结及其它部件无异常,无侵入限界物件后,设置升、降弓标志,即可消令送电,然后利用“天窗”时间再进行立杆和彻底恢复。
(3)中间柱折断①直线区段的中间柱折断,接触悬挂高度在规定值以上时,可不立杆,接触悬挂在此处不悬挂,不定位,即可送电。
否则,需立抢修支柱;挑起悬挂。
②曲外支柱折断,在保证接触悬挂高度和电气安全距离条件下,可不立支柱,否则,需立抢修支柱挑起悬挂。
在保证接触悬挂和电气安全距离条件下恢复供电。
③曲内支柱折断,一般需立支抢修支柱,挑起悬挂。
如果曲线半径大于1800m时,按直线中间柱处理;当曲线半径小于1800m 时,首先清理破碎的支柱及场地,拆除折断支柱上的腕臂定位等悬挂装置,同时在原支柱侧2m处组立临时支柱,安装支撑及定位装置,符合通车条件后立即消令,恢复供电,然后利用“天窗”时间再进行立杆和彻底恢复。
(4)软(硬)横跨支柱折断时,可根据情况采取3种方案:①当软横跨处在直线上时,可拆除该软横跨,用Φ4.0的铁线将相邻两个跨距内的接触导线绑在承力索上,使其形成一个大跨距,测量跨中接触线高度不小于5m时,设好升、降弓标志,检查其它设备正常后,立即消令,恢复供电,然后利用“天窗”时间再进行立杆和彻底恢复。
②当软横跨处在曲线上时,接触悬挂必须定位,此时在折断的支柱处立抢修支柱,将上下部固定索紧起,保证接触线高度满足行车要求后,即可送电。
③当可以封锁侧线股道时,可以在正线外侧立临时抢修支柱,优先保证正线行车。
注意事项:紧混凝土支柱软横跨上下部定位索时,应在支柱田野侧打多根临时拉线后进行,并在紧张力时注意支柱和拉线受力时的变化,以防发生意外。
硬横跨支柱折断时一般视情况在拆除该组硬横梁及其支撑定位后比照软横跨支柱折断抢修方案①和③处理。
4.供电线、加强线断线⑴供电线断线时,优先考虑甩掉故障的供电线或将供电线脱离接地,越区供电。
⑵供电线断线后,不能实行越区供电时,则必须将供电线接通。
⑶加强线断线后,将线紧起,采用同型号的线索临时短接,保证电气联结可靠,保证与接触网导电回路的畅通。
5.隔离开关故障⑴常开开关故障时,可将引线甩掉送电。
⑵常闭开关故障时,拆除引线将其短接后送电。
⑶使用权不属供电部门的开关处理后要及时通知相关单位并在相关记录上签认。
6.分段绝缘器故障(1)当确定为分段绝缘器击穿或损坏但未断,对有隔离开关可将该处的隔开主刀闸闭合,封闭该装卸线,即可消令送电。
然后利用“天窗”时间再进行彻底恢复。
(2)当为上、下行电源隔离用分段绝缘器损伤时,如果未断,经局供电调度批准可暂不恢复,对绝缘器可用电连接线将分段导通,但必须保证变电所的保护装置能够可靠动作。
7.分相绝缘器故障(1)器件式电分相故障①分相绝缘器接口处导线抽脱的,一般用紧线工具紧起后即可送电降弓通过,但有效主绝缘一般不少于两节。
②主绝缘烧损的,如果满足不了绝缘和机械要求,则必须更换。
③分相处打碰弓严重的,可临时降弓通过。
(2)锚段关节式电分相①当分相关节处发生打碰弓等不影响供电的故障时,采取机车降弓通过的办法。
②当发生断线、断杆等故障,应尽快争取恢复一组绝缘锚段关节,设置机车降弓区域后送电。
8.线岔弓网故障⑴如果接触网损伤不严重只是个别部件脱落或打坏,将损坏的部件进行更换,调整各部参数符合标准,防止因缺陷存在造成再次故障,检查无其它异常后,清理作业现场,即可消令送电。
⑵如果接触线损伤严重(但未断线)其它部件损伤严重短时间无法进行恢复时,可将损坏的部件或线索进行绑扎收拢提到一定的高度,检查无其它异常后,设升、降弓标志,即可消令送电,然后利用“天窗”时间再进行彻底恢复。
9.绝缘子故障(1)绝缘子表面因脏污引起闪络,擦拭后送电。
(2)绝缘子击穿和严重破损的,必须更换。
10.隧道内埋入杆件损坏(1)个别悬挂点或定位点损坏时,若不侵入限界,且不影响送电的,可暂不处理。
否则,降弓通过或停电处理。
(2)若必须修复悬挂、定位装置、杆件等,可用铁线将绝缘子固定在原杆件上,恢复悬挂和定位;若埋入杆件整体脱出或已松脱,可用膨胀水泥灌注。
(3)对短时间难以修复的故障,可设置无电区或无网区。
11.吊弦故障(包括环节吊弦、整体吊弦)⑴吊弦脱落时,如不影响行车可停电拆除脱落吊弦后,消令送电,安排次日天窗时间处理。
如需抢修,处理办法为:拆卸损坏吊弦或吊弦线夹,检查承力索或接触线是否有损伤,如果有损伤根据情况进行处理;安装新预制的吊弦或吊弦线夹,符合技术要求;测量接触线高度,观察其它部位状态良好,无其它问题,消令送电。
⑵吊弦剐坏时,将剐坏的吊弦拆除,用Φ4.0的铁线将接触导线吊起绑在承力索上,测量跨中接触线高度不小于5m时,设好升、降弓标志,检查接触线及其它设备正常后,立即消令送电,然后利用“天窗”时间彻底恢复。
若要临时处理,为缩短抢修时间,可减少跨距内吊弦数量,吊弦间距可增大一倍,检查测量跨距内接触线高度、受力符合要求,检查接触线有无损伤(如有损伤需进行电气补强或切断做接头)其它部位正常,清理作业现场,即可消令送电。
12.定位装置故障⑴当定位装置损坏时,可利用吊弦或Φ4.0铁线将接触线吊于承力索上不侵入限界,设置升、降弓标志,即可消令送电。
⑵当只是定位器脱落时,可更换新定位器,检调拉出值后,检查附近设备正常,即可消令送电。
⑶当曲线区段定位装置故障时,除按⑴、⑵项处理外,还要检查该定位两侧跨中拉出值不得超标。
否则,要调整跨中拉出值。
13.补偿绳断线补偿绳断线的,一般可将相应线索紧起后临时做硬锚。
14.中心锚结故障⑴如果是锚结绳拉脱或断线时,可用Φ4.0铁线将其临时绑扎在承力索上,测量此处导线高度符合要求,检查两端锚段关节、补偿装置良好(站场还要检查线岔),不影响行车后,立即消令送电,然后利用天窗时间彻底恢复。
⑵如果发生中心锚结处接触线或承力索断线,且有接触线被剐伤部位的情况,则做好接触线、承力索断线接头并处理完毕损伤部位的接触线后,再安装中心锚结,调整锚段关节处导线高度,检查附近设备无异常(站场还要检查线岔),可消令送电。