能源利用状况报告报送制度-贺彧
- 格式:doc
- 大小:29.00 KB
- 文档页数:3
重点用能单位能源利用状况报告制度实施方案近年来,随着经济全球化的不断推进,我国在可持续发展路径上需要加快节能深度化的步伐。
根据《中华人民共和国能源法》的规定,重点用能单位能源利用状况报告制度实施方案(以下简称“报告制度”)成为推动节能深度根本的重要措施。
一、报告制度的目的和依据报告制度的宗旨是建立重点用能单位能源利用状况的报告制度,以促进重点用能单位实施内容确定的节能减排任务,改善能源利用率。
报告制度依据《能源法》、《能源综合利用法》、《国家标准测试管理条例》、《节能技术监督管理条例》等法律法规的规定制定,具体内容如下:1.负责单位实施节能减排任务的计划,制定有关综合能源节约利用措施;2.建立重点用能单位能源利用状况报告制度,对重点用能单位每年能源消费状况和节约减排情况进行逐年报告;3.实施相关考核制度,确保重点用能单位节约减排任务的持续完成。
二、报告制度的具体内容1.报告内容:重点用能单位需提交报告,报告应包括单位的基本情况、能源采购情况和能源消费情况、节约减排任务的实施情况、已实施能源节约减排技术情况等。
2.建立报告清单:推动报告制度实施,一方面要确保重点用能单位基础性能力建设,建立报告清单,另一方面要改进报告编制程序;3.报告质量:重点用能单位报告必须按照法律法规规定的标准,在真实、准确、及时的原则下,对报告内容表述准确无误;4.提供报告技术支持:为了保证报告的质量,政府部门将给予重点用能单位技术支持,提供采购、节能减排政策、节能减排技术指导及信息服务等内容;5.实施评价考核:报告提交完毕后,政府部门将对重点用能单位报告进行评价考核,如果重点用能单位未能按照节能减排任务的要求实施,将针对性的提出改进建议;三、政府部门的实施责任一方面,政府部门负责协调资源,制定有关综合节能减排措施,推动报告制度的实施;另一方面,政府部门要指导重点用能单位正确实施节能减排任务,对违反节能减排任务的单位,严格按照《能源法》等有关法律法规处理,维护节能减排任务的实施。
重点用能单位能源利用状况报告制度实施方案
重点用能单位能源利用状况报告制度实施方案
近年来,新能源产业的发展日新月异,全面推广可持续发展的新能源技术,建
立科学的能源利用状况报告制度,对于节约能源、保护环境,着力实现可持续发展具有十分重要的意义。
本文旨在制定重点用能单位能源利用状况报告制度实施方案,以推动综合实施节能减排并着力实现可持续发展。
首先,政府应加强对重点用能单位能源利用状况的监控,实行每年定期报告的
制度,及早发现行业企业生产和消费中存在的节能减排形式和问题,不断提高节能细化管理和节能监控的能力。
其次,政府应当引导企业建立造价绩效管理体系,重点在于加强能源管理,控制项目总投资,提高节能保护环境效益。
此外,政府还应当加强对企业节能成效绩效的检查和考核,分类考核,加强节能管理,实行业绩担当制和业绩报告制,对于合理使用能源的企业给予表彰和奖励,对于能源计量检测不合理的企业实行处罚制度,以有力促进企业做到能源经济效益最大化、环境恢复保护最终能实现。
综上所述,重点用能单位能源利用状况报告制度的实施方案主要有:(1)建
立及时响应的能源利用状况报告制度;(2)加强对重点用能单位能源利用状况的
监控;(3)引导企业建立造价绩效管理体系;(4)加强对企业节能成效绩效的检查和考核;(5)实施节能促进表彰和处罚制度,促使企业实行合理使用能源。
多
方措施的综合实施,可以更有效地推动节能减排,有力实现可持续发展的美好愿景。
能源利用状况报告————————————————————————————————作者: ————————————————————————————————日期:能源利用状况报告的主要内容第五十三条重点用能单位应当每年向管理节能工作的部门报送上年度的能源利用状况报告。
能源利用状况包括能源消费情况、能源利用效率、节能目标完成情况和节能效益分析、节能措施等内容。
释义:作为耗能大户的重点用能单位,国家要对其加强节能管理,首先需要了解重点用能单位在能源消费、能源节约等方面的情况,此后才能有针对性地采取相关措施,使节能工作落到实处。
为此,本条规定了重点用能单位报送能源利用状况报告的义务。
能源利用状况报告包括以下几个方面的内容:1、能源消费情况。
即用能单位的能源用在了什么地方,如产品加工、储运、技术更新改造等;主要消费的能源种类有哪些,如煤、电、油、气等;各个方面和各类能源的消费量是多少,如吨、千瓦时等。
2、能源利用效率。
即一个用能单位有效利用的能源与实际消耗能源的比率。
它是反映能源消耗水平和利用效果,即能源有效利用程度的综合指标,如单位产品能耗、单位产值能耗、单机能耗等。
3、节能目标完成情况。
即按照规定的程序确定的节能目标完成了没有,完成到何种程度,差额比例是多少,超额比例是多少等。
ﻫ4、节能效益分析。
即用能单位为节能所支出的费用与节能所取得的效益之间的比较、分析。
5、节能措施。
即用能单位为节约能源采取了哪些措施,如培训、奖励、技改等,效果如何。
ﻫ6、其他应当报告的内容。
能源利用状况报告(宾馆、商厦、院校试用)填报单位: (盖章)填报日期:年月日沈阳市节能监察中心印制说明1、根据《中华人民共和国节约能源法》第五十三条“重点用能单位应当每年向节能工作的部门报送上年度的能源利用状况报告。
包括能源消费情况、能源利用效率、节能目标完成情况和节能效益分析、节能措施等内容”。
2、根据《辽宁省节约能源监察办法》第十八条“用能单位应当配合节能监察工作,如实说明有关情况,提供相关资料、样品等。
重点用能单位能源利用状况报告内容解析摘要:本文将向读者详细介绍“重点用能单位能源利用状况报告”,对报告包含的十一套报表进行详细讲解,让读者能够全面了解掌握“重点用能单位能源利用状况报告”,以及报告所涉及的能源领域知识。
本文的主要章节:第一部分能源利用状况报告介绍第二部分重点用能单位能源利用状况报告表格及表样第三部分表1详细介绍第四部分表2详细介绍第五部分表2附表详细介绍第六部分表3详细介绍第七部分表4详细介绍第一部分能源利用状况报告介绍(1)一、能源利用状况报告能源利用状况报告是企业向节能主管部门定期上报的有关企业能源消费、利用及各用能环节能源利用状况的数据。
能源利用状况报告套表,是一套承载企业能源利用状况信息的报表,报表由国家发改委环资司主导,由行业专家经过试点、示范调研后,于2008年规划设计完成。
二、重点用能单位能源利用状况报告建立的法律依据《中华人民共和国节约能源法》第五十二条规定:国家加强对重点用能单位的节能管理。
下列用能单位为重点用能单位:1.年综合能源消费总量一万吨标准煤以上的用能单位;2.国务院有关部门或者省、自治区、直辖市人民政府管理节能工作的部门指定的年综合能源消费总量五千吨以上不满一万吨标准煤的用能单位。
《中华人民共和国节约能源法》第五十三条规定:重点用能单位应当每年向管理节能工作的部门报送上年度的能源利用状况报告。
能源利用状况包括能源消费情况、能源利用效率、节能目标完成情况和节能效益分析、节能措施等内容。
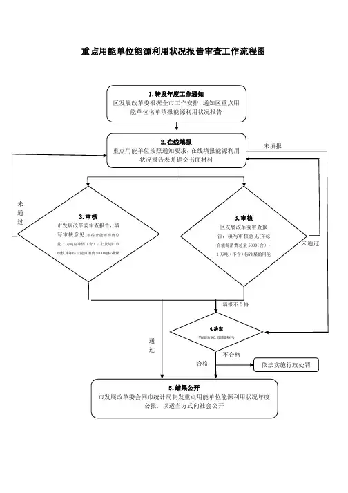
《中华人民共和国节约能源法》第五十四条规定:管理节能工作的部门应当对重点用能单位报送的能源利用状况报告进行审查。
对节能管理制度不健全、节能措施不落实、能源利用效率低的重点用能单位,管理节能工作的部门应当开展现场调查,组织实施用能设备能源效率检测,责令实施能源审计,并提出书面整改要求,限期整改。
三、重点用能单位能源利用状况报告内容1.能源消费情况能源消费情况包括用能单位、单位的次级部门、主要耗能设备或工艺三个层次的能源消费情况。
东方国际集装箱(广州)有限公司能源管理制度一、范围本标准规定公司能源管理的组织机构,用电、用水、用气及能源计量等方面的管理要求,适用于全公司各个部门。
二、总则为加强公司的能源管理工作,提高能源利用效率,实现能源、保护环境、降本增效的可持续发展目标,建立节约型企业,依据《中华人民共和国节约能源法》、国务院《关于加强节能工作的决定》、《广东省节约能源条例》等法律法规要求,建立能源管理制度。
三、能源管理组织机构3.1为了做好企业节能管理工作,本公司特此设立节能管理领导小组,下设节能管理领导小组办公室,做为全公司的节能工作管理机构。
3.2 能源管理组织机构图A.领导小组:由总经理和各部门经理。
B.工作小组:由能源负责人、能源管理员及各部门/各车间能源管理专员组成。
C.节能领导小组成员根据国家、广东省和广州市南沙区政府布置的“双控”节能行动的有关文件精神,结合公司实际以及人员的变动情况,更新成立了以总经理为组长、副总经理负责组织实施的节能降耗管理领导小组,小组成员由各部门经理组成。
领导小组组长:王建民组员:潘贵元、黄晖、朱巧艺、周明才、刘健工作小组组长:周明才工作小组:单良、蔡望新、熊志刚、秦欢玲、周杰霞、江金海、肖秀吕、贺彧、李梦飞、王雪峰、程见明、王晓林、蒋银松、罗庆华、徐健伟、何享平、皮新军能源管理负责人:周明才能源管理部门:生产设备技术部能源计量工作人员:肖秀吕,王晓林3.3 机构设置及职责3.3.1 公司设立能源管理工作领导小组,由公司总经理、副总经理、各部门负责人共同组成。
主要领导亲自抓,并指派一名领导主管能源管理工作,明确能源管理岗位职责;设立专职能源岗位,其他相关部门应选派具有能源专业知识的人员兼职开展能源管理工作;将能源工作作为重要事项纳入日常管理,并建立相应的协调机制,明确相关部门责任和分工,确保责任到位、措施到位、投入到位、监督考核到位。
3.3.2 设立公司能源管理工作领导小组,负责公司能源日常工作。
附件:重点用能单位能源利用状况报告制度实施方案为贯彻落实《中华人民共和国节约能源法》关于重点用能单位应当每年向管理节能工作的部门报送上年度“能源利用状况报告”的规定,了解掌握重点用能单位能源利用状况,加强重点用能单位节能管理,制定本实施方案。
一、充分认识实施重点用能单位能源利用状况报告制度的重要性和必要性重点用能单位能源利用状况报告制度,是重点用能单位依法定期向管理节能工作的部门报送能源消费情况、能源利用效率、节能目标完成情况、节能效益分析、节能措施等内容的制度。
实施重点用能单位能源利用状况报告制度,对加强和改善重点用能单位节能监管、提高能源利用效率、实现“十一五”节能目标具有重要意义。
实施重点用能单位能源利用状况报告制度,是国家对重点用能单位能源利用状况进行跟踪、监督、管理、考核的重要方式,也是编制重点用能单位能源利用状况公报、安排重点节能项目和节能示范项目、进行节能表彰的重要依据。
定期报送能源利用状况报告是重点用能单位的法定义务,各级管理节能工作的部门、各重点用能单位要充分认识开展这项工作的重要性和必要性,切实加强领导,确保报告制度落到实处。
二、重点用能单位“能源利用状况报告”的主要内容和填报要求(一)填报单位1、年综合能源消费量一万吨标准煤以上的用能单位;2、国务院有关部门或者省、自治区、直辖市人民政府管理节能工作的部门指定的年综合能源消费总量5000吨以上不满一万吨标准煤的用能单位。
(二)填报内容重点用能单位“能源利用状况报告”采用统一套表格式(详见附件),主要内容包括:表1:基本情况表。
填报单位基本信息、能源管理人员资料、经济及能源消费指标、以及主要产品单位能耗情况等。
表2:能源消费结构表。
填报统计年度内重点用能单位各类能源购进量、能源消费量和能源库存量等。
表2-1:能源消费结构附表。
主要填报统计年度内重点用能单位能源加工转换环节的能源投入量、加工转换产出量以及回收利用能源量等。
表3:能源实物平衡表。
我国能源利用状况报告制度面临的问题与对策建议文/钟泽航0 引言自我国加入世界贸易组织以来,国内经济快速增长,各项建设取得巨大成就,但也付出了很大的资源和环境代价,经济发展与资源环境的矛盾日趋尖锐。
不转变增长方式,资源支撑不住,环境容纳不下,社会承受不起,经济发展难以为继,只有坚持节约优先、保护优先才能实现经济的可持续发展。
1 节能工作的演变历程从“十一五”开始,全国各地把节能减排作为调整经济结构、转变经济发展方式、推动科学发展的重要抓手和突破口。
“十一五”期间我国单位生产总值(GDP)能耗降低19.1%,扭转“十五”后期单位GDP能耗大幅上升的趋势。
“十二五”时期,节能减排作为优化经济结构、推动绿色循环低碳发展、加快生态文明建设的重要抓手,继续发挥无可替代的作用。
“十二五”期间我国单位GDP能耗降低18.4%,超额完成预定的节能降耗目标任务,为经济结构调整、资源节约作出了重要贡献。
“十三五”以来,我国经济发展进入新常态,产业结构优化明显加快,能源消费增速放缓,资源性、高耗能、高排放产业发展逐渐衰减,但随着工业化、城镇化进程加快和消费结构持续升级,我国能源需求刚性增长,资源环境问题仍是制约我国经济社会发展的瓶颈之一,节能工作依然形势严峻、任务艰巨。
2016年我国单位GDP能耗同比下降5%,2017年单位GDP能耗比上年下降3.7%,2018年单位GDP能耗较上年下降3.1%。
可以看出近几年国内能耗强度下降速率逐渐降低,节能工作逐渐进入改革深水区。
节能工作愈加艰巨,越需要加强对能耗形势的掌控、分析与研判,在此情况下,强化能源统计工作,充分利用重点用能单位的能源利用状况报告制度,为各级节能主管部门掌握区域能耗形势、对各项节能政策措施的落实成效做好跟踪分析具有重要意义。
2 能源利用状况报告制度的变化情况重点用能单位能源利用状况报告制度(以下简称“能报制度”),是重点用能单位依法定期向管理节能工作的部门报送能源消费情况、能源利用效率、节能目标完成情况、节能效益分析、节能措施等内容的制度。
能源消耗信息报送制度介绍能源消耗信息报送制度是一种监管机制,旨在收集和报送能源消耗数据,以便政府和企业能够更好地了解和管理能源资源的使用情况。
该制度要求企业定期报送其能源消耗数据,以便进行能源管理和监测。
目的能源消耗信息报送制度的目的是提供准确的能源消耗数据,以帮助政府和企业制定相关政策和策略。
通过收集和分析能源消耗数据,可以评估能源的使用效率,发现能源消耗的问题,并采取相应的措施来实现节能和减排的目标。
范围能源消耗信息报送制度适用于所有消耗能源的企业,包括但不限于工厂、企事业单位、建筑物等。
涉及的能源类型包括煤炭、石油、天然气、电力等。
企业应根据自身的能源消耗情况确定相应的报送内容和频率。
报送要求根据能源消耗信息报送制度,企业需要按照规定的要求和频率报送能源消耗数据。
具体要求包括:1. 报送内容:报送的能源消耗数据应包括能源类型、消耗量、使用部门等基本信息。
此外,还可以根据需要报送其他相关数据,如能源消耗结构、能源效率等。
2. 报送频率:企业应按照规定的周期报送能源消耗数据,可以是每月、每季度或每年报送一次。
具体的报送频率根据企业的运营情况和能源消耗特点确定。
3. 报送方式:企业可以选择电子报送或纸质报送的方式提交能源消耗数据。
电子报送可以通过指定的电子平台或系统进行,纸质报送可以通过邮寄或快递等方式进行。
4. 报送时间:企业应在规定的时间范围内完成能源消耗数据的报送。
如果无法按时完成报送,应提前向相关部门进行说明和申请延期。
5. 报送审核:相关部门会对报送的能源消耗数据进行审核和核实。
如果发现数据不准确或存在问题,企业需要及时进行整改和说明。
处罚与奖励能源消耗信息报送制度对于能源消耗数据的真实性、准确性和及时性有着严格要求。
如果企业故意提供虚假数据或不按规定进行报送,将会受到相应的处罚。
同时,对于履行报送义务的企业,还有可能获得相关的奖励和荣誉称号。
总结能源消耗信息报送制度对于能源资源的可持续利用和环境保护具有重要意义。
能源站节能报告制度范本一、总论1.1 目的和意义为确保我国能源站的能源利用效率,提高能源站节能管理水平,根据《中华人民共和国节约能源法》和《重点用能单位能源利用状况报告制度实施方案》等相关法律法规,制定本节能报告制度。
本制度要求能源站每年向管理节能工作的部门报送上年度的能源利用状况报告,以促进能源站节能降耗,提高能源利用效率。
1.2 适用范围本制度适用于年综合能源消费量一万吨标准煤以上的能源站。
1.3 报告周期能源站应每年向管理节能工作的部门报送一次能源利用状况报告。
二、报告内容2.1 基本情况表包括能源站的基本信息、能源管理人员资料、经济及能源消费指标以及主要产品单位能耗情况等。
2.2 能源消费结构表包括统计年度内能源站各类能源购进量、能源消费量和能源库存量等。
2.3 能源实物平衡表包括能源在能源站内部各个生产环节的能源统计数据,并计算能源损耗情况。
2.4 单位产品综合能耗指标情况表包括单位产品综合能耗以及与上年期比较的变化情况。
2.5 影响单位产品(产值)能耗变化因素的说明包括对单位产品综合能耗指标变化原因进行分析和简短说明。
2.6 节能目标完成情况包括能源站节能目标的设定、实际完成情况以及存在的差距和改进措施。
三、填报要求3.1 能源站应按照统一的报告表格格式进行填报,确保报告内容的真实、准确和完整。
3.2 能源站应根据实际情况,分析能源消费情况、能源利用效率、节能目标完成情况和节能效益分析、节能措施等内容,确保报告的可读性和实用性。
3.3 能源站应按照报告周期要求,按时向管理节能工作的部门报送能源利用状况报告。
四、审查和整改4.1 管理节能工作的部门应对能源站报送的能源利用状况报告进行审查,对节能管理制度不健全、节能措施不落实、能源利用效率低的能源站,应开展现场调查,组织实施用能设备能源效率检测,责令实施能源审计,并提出书面整改要求,限期整改。
4.2 能源站应按照整改要求进行整改,提高能源利用效率,确保能源站的节能工作得到有效实施。
重点用能单位能源利用状况报告内容解析摘要:本文将向读者详细介绍“重点用能单位能源利用状况报告”,对报告包含的十一套报表进行详细讲解,让读者能够全面了解掌握“重点用能单位能源利用状况报告”,以及报告所涉及的能源领域知识。
本文的主要章节:第一部分能源利用状况报告介绍第二部分重点用能单位能源利用状况报告表格及表样第三部分表1详细介绍第四部分表2详细介绍第五部分表2附表详细介绍第六部分表3详细介绍第七部分表4详细介绍第一部分能源利用状况报告介绍(1)一、能源利用状况报告能源利用状况报告是企业向节能主管部门定期上报的有关企业能源消费、利用及各用能环节能源利用状况的数据。
能源利用状况报告套表,是一套承载企业能源利用状况信息的报表,报表由国家发改委环资司主导,由行业专家经过试点、示范调研后,于2008年规划设计完成。
二、重点用能单位能源利用状况报告建立的法律依据《中华人民共和国节约能源法》第五十二条规定:国家加强对重点用能单位的节能管理。
下列用能单位为重点用能单位:1.年综合能源消费总量一万吨标准煤以上的用能单位;2.国务院有关部门或者省、自治区、直辖市人民政府管理节能工作的部门指定的年综合能源消费总量五千吨以上不满一万吨标准煤的用能单位。
《中华人民共和国节约能源法》第五十三条规定:重点用能单位应当每年向管理节能工作的部门报送上年度的能源利用状况报告。
能源利用状况包括能源消费情况、能源利用效率、节能目标完成情况和节能效益分析、节能措施等内容。
《中华人民共和国节约能源法》第五十四条规定:管理节能工作的部门应当对重点用能单位报送的能源利用状况报告进行审查。
对节能管理制度不健全、节能措施不落实、能源利用效率低的重点用能单位,管理节能工作的部门应当开展现场调查,组织实施用能设备能源效率检测,责令实施能源审计,并提出书面整改要求,限期整改。
三、重点用能单位能源利用状况报告内容1.能源消费情况能源消费情况包括用能单位、单位的次级部门、主要耗能设备或工艺三个层次的能源消费情况。
重点用能单位能源利用状况报告制度重点用能单位能源利用状况报告制度实施方案为贯彻落实《中华人民共和国节约能源法》关于重点用能单位应当每年向管理节能工作的部门报送上年度“能源利用状况报告”的规定,了解掌握重点用能单位能源利用状况,加强重点用能单位节能管理,制定本实施方案。
一、充分认识实施重点用能单位能源利用状况报告制度的重要性和必要性重点用能单位能源利用状况报告制度,是重点用能单位依法定期向管理节能工作的部门报送能源消费情况、能源利用效率、节能目标完成情况、节能效益分析、节能措施等内容的制度。
实施重点用能单位能源利用状况报告制度,对加强和改善重点用能单位节能监管、提高能源利用效率、实现“十一五”节能目标具有重要意义。
实施重点用能单位能源利用状况报告制度,是国家对重点用能单位能源利用状况进行跟踪、监督、管理、考核的重要方式,也是编制重点用能单位能源利用状况公报、安排重点节能项目和节能示范项目、进行节能表彰的重要依据。
定期报送能源利用状况报告是重点用能单位的法定义务,各级管理节能工作的部门、各重点用能单位要充分认识开展这项工作的重要性和必要性,切实加强领导,确保报告制度落到实处。
二、重点用能单位“能源利用状况报告”的主要内容和填报要求(一)填报单位1、年综合能源消费量一万吨标准煤以上的用能单位;2、国务院有关部门或者省、自治区、直辖市人民政府管理节能工作的部门指定的年综合能源消费总量5000吨以上不满一万吨标准煤的用能单位。
(二)填报内容重点用能单位“能源利用状况报告”采用统一套表格式(详见附件),主要内容包括:表1:基本情况表。
填报单位基本信息、能源管理人员资料、经济及能源消费指标、以及主要产品单位能耗情况等。
表2:能源消费结构表。
填报统计年度内重点用能单位各类能源购进量、能源消费量和能源库存量等。
表2-1:能源消费结构附表。
主要填报统计年度内重点用能单位能源加工转换环节的能源投入量、加工转换产出量以及回收利用能源量等。
国家能源局关于印发可再生能源发电利用统计报表制
度的通知(2018)
文章属性
•【制定机关】国家能源局
•【公布日期】2018.08.03
•【文号】国能规划〔2018〕61号
•【施行日期】2018.08.03
•【效力等级】部门规范性文件
•【时效性】现行有效
•【主题分类】新能源
正文
国家能源局关于印发可再生能源发电利用统计报表制度的通
知
国能规划〔2018〕61号国家电网公司、南方电网公司、内蒙古电力有限责任公司,中国电力企业联合会、中国可再生能源学会、中国循环经济协会、国家地热能中心,地方独立电网公司,地热能开发利用企业:
为进一步贯彻落实《国务院办公厅关于加强能源预测预警工作的意见》(国办发〔2008〕2号),加强能源形势监测分析和预测预警工作,我局自2015年开始实施《可再生能源发电利用统计调查制度》(以下简称《统计调查制度》)。
根据工作需要,我们对《统计调查制度》进行了修订,已经国家统计局批准(国统制〔2018〕84号),现印发执行。
请各单位认真组织实施,严格按照《统计调查制度》的要求,真实、准确、完整地做好各项统计数据报送工作。
《统计调查制度》月报以电子版形式报送国家能源局,年报以纸质和电子版形式同时报送。
《统计调查制度》可在国家能源局网站()下载。
执
行过程中如有问题,请与我局新能源和可再生能源司联系。
*******
联系电话:************,68555045(传真)
附件:《可再生能源发电利用统计调查制度》
国家能源局
2018年8月3日。
能源利用状况报告的主要内容第五十三条重点用能单位应当每年向管理节能工作的部门报送上年度的能源利用状况报告。
能源利用状况包括能源消费情况、能源利用效率、节能目标完成情况和节能效益分析、节能措施等内容。
释义:作为耗能大户的重点用能单位,国家要对其加强节能管理,首先需要了解重点用能单位在能源消费、能源节约等方面的情况,此后才能有针对性地采取相关措施,使节能工作落到实处。
为此,本条规定了重点用能单位报送能源利用状况报告的义务。
能源利用状况报告包括以下几个方面的内容:1、能源消费情况。
即用能单位的能源用在了什么地方,如产品加工、储运、技术更新改造等;主要消费的能源种类有哪些,如煤、电、油、气等;各个方面和各类能源的消费量是多少,如吨、千瓦时等。
2、能源利用效率。
即一个用能单位有效利用的能源与实际消耗能源的比率。
它是反映能源消耗水平和利用效果,即能源有效利用程度的综合指标,如单位产品能耗、单位产值能耗、单机能耗等。
3、节能目标完成情况。
即按照规定的程序确定的节能目标完成了没有,完成到何种程度,差额比例是多少,超额比例是多少等。
4、节能效益分析。
即用能单位为节能所支出的费用与节能所取得的效益之间的比较、分析。
5、节能措施。
即用能单位为节约能源采取了哪些措施,如培训、奖励、技改等,效果如何。
6、其他应当报告的内容。
能源利用状况报告(宾馆、商厦、院校试用)填报单位:(盖章)填报日期:年月日沈阳市节能监察中心印制说明1、根据《中华人民共和国节约能源法》第五十三条“重点用能单位应当每年向节能工作的部门报送上年度的能源利用状况报告。
包括能源消费情况、能源利用效率、节能目标完成情况和节能效益分析、节能措施等内容”。
2、根据《辽宁省节约能源监察办法》第十八条“用能单位应当配合节能监察工作,如实说明有关情况,提供相关资料、样品等。
不得伪造、销毁、.篡改有关证据”。
3、根据《中华人民共和国统计法》,能源的标准量单位采用标准煤。
能源利用状况报告制度文件编码(GHTU-UITID-GGBKT-POIU-WUUI-8968)能源利用状况报告制度总则第一条能源利用状况报告是国家对重点用能单位能源利用状况进行跟踪、监督、管理、考核的重要方式,也是编制重点用能单位能源利用状况公报、安排重点节能项目和节能示范项目、进行节能表彰的重要依据。
定期报送能源利用状况报告是重点用能单位的法定义务,为切实搞好能源利用状况报告,特制定本制度。
第一章机构设置第二条由公司节能工作办公室统一管理,设置部门、各值、班组三级能源利用状况工作网络。
第三条部门为第一级能源利用状况报告单位,各部门要各指定一名能源统计员;运行部各值为第二级能源利用状况报告单位,各值要指定一名能源统计员;班组为第三级能源利用状况报告单位,各班组要指定一名能源统计员。
第二章报告要求第四条各部门因工作需要,要求有关单位填报的定期能源利用状况报告,为确保报告数据的正确可靠,各单位负责人应对上报数据进行认真审查,签字后方能报出。
第五条各单位提供报告资料,一律以本单位的统计人员所掌握的能源统计资料为准。
第六条各科室、车间编制对已经过时的能源利用状况报告资料,如认为确无保管价值,应呈请本单位主管领导核准,方可销毁。
第七条报告资料发出后,如发出错误,必须立即订正。
受报单位发现数据错误,应立即通知报告单位订正,报告单位不得推诿或拖延。
第八条文字说明与分析是能源利用状况报告的重要组成部分,编制报告时:月报有文字说明,季报、年报有分析报告。
第三章职责第九条能源统计三级网员,应在每月的最后一天填写《银河有限公司能源消费月报表》经车间主任签字后,一份留存,另一份上报到第二级能源统计工作网络。
第四章考核第十条对于节能办要求随时提报的相关资料,各单位要积极配合,准时给予提报。
第九条以上各项要求,各单位要实事求是,杜绝弄虚作假,不能缺项漏项。
第十一条各项上报资料迟报一次,对统计员罚款20元,连带单位负责人罚款50元,对拒报单位,对统计员罚款50元,连带单位负责人罚款100元,月底上报产量、成本、消耗要与财务、计量数据统一,否则对统计员罚款100元,连带单位负责人罚款200元,以上罚款自单位当月工资中扣除。
能源利用状况报告报送制度
第一章总则
第一条为贯彻落实《中华人民共和国节约能源法》关于重点用能单位应当每年向管理节能工作的部门报送上年度“能源利用状况报告”的规定,了解掌握本单位能源利用状况,加强本单位节能管理,制定本实施方案。
适用范围:东方国际集装箱(广州)有限公司各部门。
第二章组织与职责
第二条组织体系
组长:王建民
副组长:潘贵元、黄晖、朱巧艺、周明才、刘健
成员:单良、蔡望新、熊志刚、秦欢玲、周杰霞、江金海、肖秀吕、贺彧、李梦飞、王雪峰、程见明、王晓林、蒋银松、罗庆华、徐健伟、何享平、皮新军
第三章报告填写管理
第三条所提交的报告内容以及数据必须切合实际,并保证数据的准确性,不可无中生有,隐瞒实际数据。
第四条生产设备技术部负责对主要耗能设备(通用设备、专用设备)概况、运行情况、淘汰更新情况进行记录以及说明,需及时更
新设备信息。
第五条生产设备技术部规划期节能技术改造项目列表。
包括项目类别、名称、改造措施、投资金额、时间安排以及预期节能效果等。
第六条生产设备技术部负责填报统计年度内重点用能单位各类能源购进量、能源消费量和能源库存量等
第七条生产设备技术部负责填报统计年度内本公司能源加工转换环节的能源投入量、加工转换产出量以及回收利用能源量等。
第八条生产设备技术部负责填写报能源在本公司内部各个生产环节的能源统计数据,并计算能源损耗情况。
是对本公司内部能源利用分配情况的综合反映,同时对本公司能耗数据真实性进行校对。
第九条生产设备技术部负责填报单位产品综合能耗以及与上年期比较的变化情况。
第十条计划财务部负责分析和说明影响单位产品(产值)能耗变化因素的说明
第十一条生产设备技术部负责汇报本公司“十一五”期间节能目标逐年完成情况
第十二条生产设备技术部负责根据合理用热、合理用电国家标准对用能情况进行自评,并提交合理用能国家标准执行情况表。
第十三条生产设备技术部负责分析和说明与上一年相比,节能项目的变更情况以及变更原因
第十四条相关其他部门需全力配合生产设备技术部编撰能源
利用状况报告,数据务必真实可靠
第四章能源利用状况分析报告报送管理第十五条为规范重点用能单位能源利用状况报告的报送工作,国家发展改革委组织研发了“重点用能单位能源利用状况报告填报系统”软件,本公司采用网上直报方式进行填报或报送电子版第十六条能源管理负责人负责组织对本单位用能状况进行分析、评价,编写能源利用状况报告,并在每年3月底前将上一年度的能源利用状况报告报送当地管理节能工作的部门。
第十七条能源管理负责人要对能源利用状况报告的完整性、真实性和准确性负责。