精装修标准流程与工期
- 格式:doc
- 大小:97.00 KB
- 文档页数:4
装饰装修标准化施工手册
一、施工流程
1. 设计阶段:根据客户需求和空间特点,制定详细的设计方案,包括布局、风格、色彩、材料等。
2. 施工准备:与业主签订施工合同,明确施工内容、工期、价格等条款。
同时,组织施工队伍,进行技术交底,准备施工材料和工具。
3. 拆除工程:根据设计图纸,拆除不必要的墙体、门窗等。
4. 水电改造:根据设计要求,对水电进行重新布局和安装。
确保电线、水管、开关、插座等符合规范要求。
5. 泥工工程:包括地面找平、瓷砖铺贴等。
确保地面平整、无空鼓现象。
6. 木工工程:根据设计要求,制作各类木制品,如吊顶、背景墙等。
确保木材干燥、无虫洞。
7. 涂料工程:对墙面、天花板等进行刮腻子、打磨、涂刷乳胶漆等。
确保墙面平整、无色差。
8. 安装工程:根据设计要求,安装灯具、洁具、橱柜等。
确保安装牢固、位置准确。
9. 验收阶段:对整个施工项目进行检查验收,确保符合设计要求和规范标准。
二、施工工艺标准
1. 水电改造:采用符合国家标准的电线、水管材料;电线连接牢固、无裸露;水管无渗漏现象。
2. 地面找平:采用水泥砂浆进行地面找平,确保地面平整度在2米范围内误差不超过3毫米。
3. 瓷砖铺贴:采用湿贴法进行瓷砖铺贴,确保瓷砖平整、无空鼓现象。
4. 木制品制作:木材干燥、无虫洞;连接处采用榫卯结构或专用连接件,确保牢固稳定。
5. 墙面处理:刮腻子时,应保证墙面平整;涂刷乳胶漆时,应保证无色差、无刷痕。
6. 灯具、洁具安装:应按照产品说明书进行安装,确保牢固稳定。
家装施工工艺流程及施工标准标题:家装施工工艺流程及施工标准指南一、施工前准备阶段1. 现场勘查与设计规划:在施工开始前,设计师会进行现场测量,并根据业主的需求和喜好制定设计方案。
此阶段需要确保所有细节,如电路布局、水管走向、墙体结构等都已明确。
2. 施工图纸确认:设计完成后,需与业主进行图纸确认,包括平面布置图、电路图、水路图等,确保无误后方可进入施工阶段。
二、施工阶段1. 拆除与清理:对原有不需要的墙体、地板、天花板等进行拆除,并及时清理现场,保持工作环境整洁。
2. 水电改造:按照设计图纸进行水电布线,包括电线、水管的预埋,确保安全、合理、耐用。
3. 防水处理:卫生间、厨房等易潮湿区域进行防水处理,进行闭水试验,确保无渗漏。
4. 结构工程:进行砌墙、打洞、加固等结构改造,确保房屋结构稳定。
5. 泥木工程:进行地面找平、墙面抹灰、瓷砖铺设等工作。
6. 油漆工程:进行墙面刮腻子、打磨、刷漆等,确保墙面平整光滑。
7. 安装工程:包括门窗、橱柜、灯具、洁具等的安装,确保功能齐全,美观协调。
三、施工后期1. 清洁整理:全面清洁施工现场,去除装修垃圾,使房屋达到入住标准。
2. 验收:由业主、设计师、项目经理共同参与,对工程质量进行全面验收,确保各项指标符合设计要求和施工标准。
3. 维修保养:对验收中发现的问题进行整改,并提供一定的保修期,确保业主的权益。
四、施工标准1. 材料标准:所有材料必须符合国家相关质量标准,无毒环保。
2. 工艺标准:严格按照施工规范进行操作,确保工程质量。
3. 安全标准:遵守工地安全规定,防止安全事故的发生。
4. 时间标准:合理安排工期,确保按时交付。
以上是家装施工的基本流程和标准,每个环节都需要专业人员严格把控,以确保最终的装修效果达到业主的期望,同时保证居住的安全和舒适。
室内装饰装修工程施工作业流程1.施工准备阶段:在施工前,需要对工程进行勘察和测量,制定详细的施工方案和施工图纸,确定施工工艺和材料,并准备好所需的人员、设备和材料。
2.施工进场阶段:施工队伍、设备和材料进场,并进行现场布置和安装,包括搭设临时工棚、建立施工现场标示等。
3.基础工程施工:根据设计方案和土建工程图纸进行地面和墙面的处理,包括找平、铺设地板、砌筑墙体等。
4.电气工程施工:进行电气线路的敷设、开关插座的安装、照明设备等电器设备的安装。
5.水暖工程施工:进行给排水管道的敷设、水龙头、洁具等设备的安装。
6.石材、木工、泥瓦工程施工:进行石材、木材等材料的加工和安装,包括门窗的安装、吊顶的安装、隔断的搭建等。
7.涂料工程施工:进行墙面和地板的涂料处理,包括底漆、刮腻子、涂料等工艺。
8.室内装饰工程施工:根据设计方案进行室内装饰物品的安装,如壁饰、窗帘、家具、艺术品等。
9.细节工程施工:进行细节部分的装饰和处理,如灯具安装、装饰画挂置等。
10.清理和保养:施工结束后,进行现场清理,清理施工垃圾和残留物。
对已完成的装饰工程进行检查和保养,在保证质量的前提下,交付业主使用。
11.室内空气检测:根据要求对已完成的装修工程进行室内空气质量检测,确保室内环境的健康和安全。
以上是一个基本的室内装饰装修工程施工作业流程,具体的施工流程和工艺会根据不同的项目和设计要求而有所差异。
在施工过程中,需要合理安排工期、科学组织施工队伍和协调各方资源,以确保施工质量和工程进度的同时,保证工人的施工安全和环境的保护。
目录第一部分装修施工流程 (1)1.项目施工总流程 (1)2.分项施工流程 (2)2.1精装修施工进场前准备工作流程 (2)2.2精装修施工材料进场验收流程 (3)2.3精装修施工工序流程 (4)2.4精装修施工验收工作流程 (6)2.5精装修工程移交工作流程 (7)第二部分装修作业指导书 (8)1.室内精装修——地面砖、墙面砖及石材施工 (8)1.1地面砖施工流程 (8)1.2墙面砖施工流程 (9)1.3地面石材施工流程 (10)1.4控制要点 (11)1.5质量通病 (15)2.室内精装修——橱柜安装 (17)2.1橱柜安装施工流程 (17)2.2控制要点 (18)2.3质量通病 (22)3.室内精装修——天花吊顶部分 (23)3.1铝扣板吊顶施工流程 (23)3.2控制要点 (24)3.3质量通病 (27)4.室内精装修——室内门施工 (28)4.1室内门施工流程 (28)4.2控制要点 (29)4.3质量通病 (31)5.室内精装修——木地板部分 (33)5.1实木复合木地板施工流程 (33)5.2复合木地板施工工艺流程 (34)5.3控制要点 (35)5.4质量通病 (37)6.室内精装修——卫生洁具安装 (39)6.1洁柜施工流程 (39)6.2镜柜施工流程 (40)6.3马桶施工流程 (41)6.4台(柱)、盆施工流程 (42)6.5控制要点 (43)6.6质量通病 (44)7.室内精装修——涂料工程 (46)7.1涂料施工流程 (46)7.2控制要点 (47)7.3质量通病 (49)8.室内精装修——灯具、家电和小五金安装 (52)9.室内精装修——成品保护 (55)附表 (60)附表一 (60)附表二 (61)材料进场计划表 (61)附表三 (62)施工交接面验收表 (62)附表四 (64)装修房屋模拟验收记录表 (64)附表五 (67)装修房屋移交验收记录表 (67)真理惟一可靠的标准就是永远自相符合。
装修施工流程及详细步骤一、前期准备阶段1.1 制定装修计划和预算在装修前,业主需要确定装修的风格、材料和预算,并编制详细的装修计划。
这样可以更好地掌握装修的整体进度和费用。
1.2 申请装修许可证根据当地规定,业主需要向相关部门申请装修许可证。
这是为了确保装修过程符合安全和环保要求。
1.3 找寻装修公司或施工队伍业主可以通过亲友推荐、上门考察等方式找寻合适的装修公司或施工队伍。
在选择时,可以查看其资质、经验和口碑等信息。
1.4 签订合同在确定装修公司或施工队伍后,业主需要与其签订装修合同。
合同应明确工程范围、工期、费用等条款,以避免后期纠纷。
二、施工准备阶段2.1 测量和设计装修公司或施工队伍会进行现场测量,并根据业主的要求进行设计。
设计包括平面布局、水电布线、墙面装饰等方面。
2.2 材料采购根据装修设计,装修公司或施工队伍会统计所需材料,并进行采购。
业主可以参与选购材料,确保符合自己的需求和预算。
2.3 施工图纸制作根据设计方案,装修公司或施工队伍会制作详细的施工图纸。
这些图纸包括各个施工工序的细节和尺寸,用于指导施工过程。
2.4 确定施工队伍和工期安排装修公司或施工队伍会根据施工图纸确定需要的人员和工期安排。
他们会与业主进行沟通,确保装修进度的合理安排。
三、施工阶段3.1 拆除与清理在正式施工前,需要先进行拆除与清理工作。
这包括拆除旧墙、旧地板、旧家具等,清理垃圾和碎片,为后续施工做好准备。
3.2 水电改造水电改造是装修的重要环节,包括给水管线、电线路和排水管线等的布置和改造。
这一步骤需要严格按照设计方案和安全规范进行操作。
3.3 瓦工和木工根据设计方案,进行瓦工和木工的施工。
瓦工主要包括墙面处理、瓷砖贴墙等;木工主要包括门窗安装、橱柜制作等。
3.4 涂料和装饰在进行涂料和装饰前,需要进行墙面的打磨和修补。
然后,按照设计方案进行涂料施工和装饰材料的安装,如壁纸、天花板等。
3.5 安装家居设备和家具在装修基本完成后,可以进行家居设备和家具的安装。
装修公司标准施工流程标准1. 引言装修是一项复杂的工程,需要专业的知识和经验。
装修公司作为专业的装修服务提供者,其施工流程的标准化能够确保施工质量的稳定和效率的提高。
本文将介绍装修公司标准施工流程的相关要点。
2. 前期准备在开始施工之前,装修公司需要进行一系列的前期准备工作。
首先,与客户进行沟通,了解他们的需求和预算。
然后,进行现场勘测,评估施工的难易程度和所需要的材料和设备。
接下来,制定详细的施工计划,并与客户进行确认和签订合同。
3. 施工准备在施工现场的准备工作是装修公司施工流程的重要一环。
首先,需要清理和整理施工现场,确保施工的安全和无障碍。
然后,搭建临时工作区域,包括搭建足够的安全围栏和搭配必要的安全设施。
此外,还需要准备所需要的工具和设备,确保施工的顺利进行。
4. 建筑结构施工建筑结构施工是装修的核心环节,包括墙体、地面、天花板等部分的施工。
装修公司需要根据施工图纸和设计要求,进行墙面的拆除、砌墙、抹灰等工作;进行地面的平整、铺砖、铺地板等工作;进行天花板的搭建、涂料刷漆等工作。
在施工过程中,需要确保施工质量和工期的控制。
5. 水电施工水电施工是装修的另一个重要环节,包括水管和电线的布置和安装。
装修公司需要根据设计要求,进行水管和电线的走向测量,并进行相关的管道铺设和线路布线。
在施工过程中,需要严格按照相关的安全规范进行操作,确保水电施工的安全和质量。
6. 室内装饰施工室内装饰施工是装修的最后一个环节,包括墙面涂料、铺贴壁纸、安装门窗、安装家具等工作。
装修公司需要根据设计要求,进行墙面涂料的选择和施工;选择合适的壁纸并进行铺贴;安装合适的门窗,并确保其密封性和安全性;按照客户的要求进行家具的安装和摆放。
7. 后期验收在施工完成后,装修公司需要进行后期的验收工作。
首先,与客户进行沟通,了解他们对施工质量的满意程度。
然后,进行细节的检查,确保施工的各项工程都符合质量要求。
最后,对整个工程进行和评估,以便于后期的改进和提升。
精装修项目管理要点及流程第一部分:集中加工管理1.加工区和临时设施搭建2.施工图交底、深化3.施工材料集中加工4.材料的配送和领用第二部分:项目质量管理1.熟悉合同要求的质量标准,工序样板实施,明确工艺技术2.土建移交检查3.界面交接检查4.工序实测检查5.完成面实测、观感检查6.甲方、监理例行检查工作(隐蔽检查、实测检查等)7.竣工验收及小业主交付第三部分:项目进度管理1.项目进度计划(总计划、月计划、班组每日完成工作量计划)2.施工进度控制3.工期滞后解决方案(解决措施和落实效果)第四部分:项目材料管理1.项目直接采购的材料约谈2.材料使用成本控制3.材料订购、入库、仓储、出库管理4.零星材料费用报销和材料对账5.工具、劳防用品管理第五部分:项目安全文明管理1.安全文明设施布置、检查和调整2.安全三级教育3.安全文明现场监督和管理4.工程保险5.安全事故紧急处理第六部分:成品保护、现场清理管理1.成品保护、现场清洁管理第七部分:项目资料管理1.报建、报监资料(含防水、水电等隐蔽工程)2.项目备案3.签证、涉及变更办理4.竣工图绘制5.进度款、工程款申报6.零星材料报销、生活费支付第八部分:合同管理1.合同管理一、集中加工管理1.加工区和临施搭建目标:利用项目现有资源,完成加工区、办公区、生活区的搭建或租赁工作;完成加工区、办公区、生活区以及施工区域的临时设施、安全文明设施的搭建以及标示标语的布置和张贴工作。
为项目施工提供合理的基础保障。
责任人:项目经理参与人员:资料员、仓管、安全员、采购部助理、设计员涉及文件:《四化管理规定》、《精装修项目临时设施搭建参考清单》、《精装修项目安全文明表示标语汇总》《精装修项目安全文明设施搭建参考清单》。
2.施工图交底、深化目标:按照施工图设计意图,完成水电、吊顶、墙地砖、大理石、地板等施工面的图纸,达到方便加工、施工、有效控制材料用量目的。
责任人:技术员、设计员参与人员:项目经理、楼长、质量员流程:(技术员、设计员、楼长)熟悉图纸、比对样板房和现场——(设计员、质量员)现场数据测量、收集——(技术员、设计员)数据分类、比对,确定图纸深化类别和户型——(设计员)深化图纸——(技术员、设计员、楼长)现场放样复核——(项目经理、设计员)深化图移交甲方审核,估算加工材料配比和损耗率——(技术员、设计员)开具加工单。
超详细装修流程,细到施工标准和工期时间新房装修没时间怎么装?超详细的装修施工时间工期汇总①开工交底/半天需要项目经理、设计师、工长、监理等人和业主一起,在工地现场明确工艺、验收标准以及增减项.如果要做拆除,查看现场需要保留的物件,如阳台门窗、空调、热水器、家具等,业主需要告知工长如何处理。
②拆除/3~5天③水电交底/半天如果有热水器、软水机、净水器、垃圾处理器等可以一起约过来,如果有中央空调、新风、地暖需要和工长协商先后顺序,中央空调施工需要3天,新风施工需要2天,地暖施工需要3天。
暖气改造、燃气表移位、选砖、通知橱柜和窗户厂家测量等,在水电交底前后尽快完成。
④水电改造/5~7天改造前安排进水电料,注意水电开槽、空调打孔不要破坏房屋结构,如果有入墙式马桶也要安排施工,期间还可以安装窗户,通知入户门厂家测量.⑤水电验收/半天验收后根据水电工列的单子,买开关面板、角阀八字阀、地漏等。
⑥室内结构改造/3~5天新建墙体或隔断,可以和水电改造同期进行。
⑦填槽及贴砖前墙面水泥找平/2天水电验收和新建墙体都没问题,就可以填槽找平了,阳台如果要做保温也一齐做好.这时期记得和楼下邻居打好招呼将要做防水和闭水试验,留下联系方式,可能去楼下查看是否漏水。
⑧做防水、闭水试验/3~5天期间可以选地板,根据地面确认可选的地板厚度,定过门石,准备好烟道止逆阀和贴砖用的阳角条、勾缝剂。
⑨贴墙砖/3~4天贴完砖通知橱柜厂家复尺测量,通知木门、金属门厂家测量,贴地砖或地面水泥找平前安装好入户门。
⑩贴地砖及水泥地面找平/3~4天要注意地面洒水养护,地砖和水泥地面都要做。
期间安装热水器、烟道止逆阀、烟管,改燃气管,通知厨卫吊顶厂家测量。
做吊顶、背景墙等/3~7天木工做吊顶、背景墙、垭口、隔断等装饰造型。
做完门垭口记得通知门厂家复尺测量,在石膏找平之前或者刮腻子之前要安装窗台石。
墙面和顶面石膏找平/2~3天找平完粘贴石膏线。
期间可以选洁具、电器、家具,约定制家具厂家测量。
If you believe in dreams, dreams will believe in you.整合汇编简单易用(页眉可删)装修房子的步骤及工期新房装修对于每个业主来说都是第一次,所以在装修之前,必须要了解一下新房的装修流程及工期,那么新房装修流程是怎样的呢?工期是多少天呢?下面就跟来看看新房装修流程及工期吧。
新房装修流程及工期【1】装修流程及工期:一、工期安排流程房屋装修过程可分为三个阶段:前期、中期和后期。
装修前期的工作主要是装修设计。
从选定装修公司到确定设计方案,需10—15天。
在这段时间里,业主修需要选好装修所用的主要材料,尤其是瓷砖和厨柜。
专业厨柜设计师需要根据实际情况对厨房进行设计,而且定制厨柜也需要花费一定时间,一般需要20—35天。
瓷砖则是开工后最先用到的。
装修中期主要是施工期。
开工后,水电工和木工先进场施工。
水电路改造需要4天到一周的时间,木工做吊顶、背景墙、现场制作柜子等需要15天左右。
大约7天后水电路改造完成,瓦工开始进场铺瓷砖。
先铺厨房和卫生间,最后再铺公共部分,整个过程持续到第30天左右。
第15天左右,木工完成工作,油工开始进场,进行墙体刮腻子找平、木作和墙面的刷漆等工作,要持续到装修完工前两三天。
提醒在这段时间里,业主可以到市场上寻找喜欢的`家具。
装修后期,木工需要安装窗帘杆、五金挂件等。
在厂家订购的地板、门、洁具、橱柜等也开始陆续安装,还要进行厨房和卫生间的吊顶(厨卫吊顶与公共部分不同,需后期再吊),这些工作比较简单快捷,全部完工大约需3天。
二、工期具体时间安排1、开工前至少10天:做设计定方案;选定装修公司,提出装修内容和要求;实地测量有关数据,绘制详细图纸;与设计师全面沟通,确定最终方案。
2、开工前至少5天:看预算签合同;确定所要使用的材料;自己对家装费用进行初步预算,同家装公司的预算进行比较;签订装修合同。
3、开工前至少2天:进场前做准备;与物业部门联系,完成必要的手续;和邻居打好招呼;门窗材料及辅助材料进场;交施工方钥匙;付首期装修款。
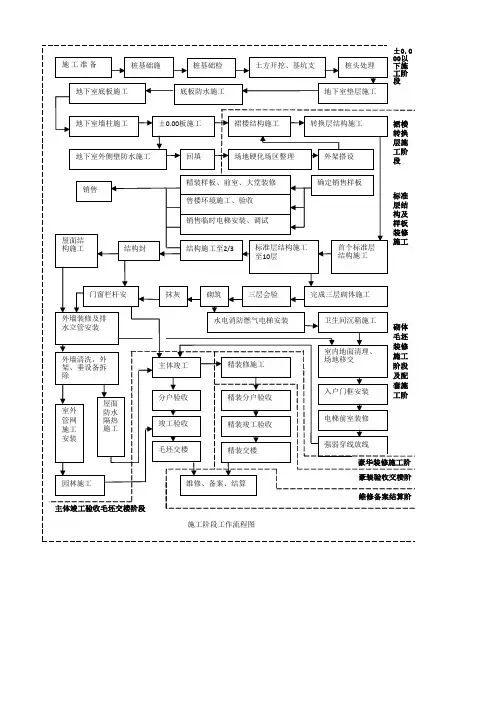
1.目的本指引文件作为集团工程标准化推行,明确精装修工程施工标准工期及施工流程,指导项目合理安排精装修工程的工期及工序,科学合理穿插并降低成品保护压力、减少交叉污染破坏、提高工程质量及精装修工程质量满意度。
2.适用范围适应于实地集团开发的所有精装修交付的住宅项目。
3.部门主要职责3.1集团工程管理中心3.1.1编制、修订本指引文件3.1.2检查地区公司对本标准指引的执行情况3.2地区公司工程管理部3.2.1制定精装工程进度计划时执行本指引文件3.2.2精装工程工序安排参照本指引文件,不得出现工序倒置造成施工混乱。
4.工序及标准工期说明4.1工序说明4.1.1本流程分为场地移交、湿作业、安装、预验收及物业移交共4个阶段。
4.1.2为减少交叉作业、减轻成品保护压力、避免交叉污染破坏,合理工序如下:1)湿作业施工应遵循先厨卫后客餐厅的先后顺序(由内向外);2)厨卫墙地砖施工(含整改)及厨卫天花乳胶漆或铝扣板完成后方可开始橱柜及浴柜安装;3)湿作业、洁具安装、天花两遍面漆及墙面一遍面漆完成后方可开始收纳柜、木地板及户内门扇安装;4)精装修竣工验收工程应遵循先室内后公共部分的施工顺序;5)毛坯竣工备案精装交付的项目在做好公共部位装修配合验收后进行成品保护,再进行室内装修。
4.2标准工期说明4.2.1展示区(售楼处及样板间)绝对工期1)本标准工期,以内装、外装委托一家战略单位实施为样本,工期包含展示区内装及外装。
2)总建筑面积在1500平米(含)以下的展示区,最短工期原则不低于75天。
3)总建筑面积在1500平米以上的展示区,最短工期原则不低于90天。
4)展示区内的智慧样板间,最短工期原则不低于90天。
4.2.2批量精装工程1)装修档次划分标准:普通档次为室内精装造价1500元/平米(含)以内,高档次为室内精装造价1500元/平米以上的项目。
2)精装施工完工时间控制原则:在交房日前3个月完成所有精装施工内容。
装修施工流程及工期计算下载温馨提示:该文档是我店铺精心编制而成,希望大家下载以后,能够帮助大家解决实际的问题。
文档下载后可定制随意修改,请根据实际需要进行相应的调整和使用,谢谢!并且,本店铺为大家提供各种各样类型的实用资料,如教育随笔、日记赏析、句子摘抄、古诗大全、经典美文、话题作文、工作总结、词语解析、文案摘录、其他资料等等,如想了解不同资料格式和写法,敬请关注!Download tips: This document is carefully compiled by theeditor.I hope that after you download them,they can help yousolve practical problems. The document can be customized andmodified after downloading,please adjust and use it according toactual needs, thank you!In addition, our shop provides you with various types ofpractical materials,such as educational essays, diaryappreciation,sentence excerpts,ancient poems,classic articles,topic composition,work summary,word parsing,copy excerpts,other materials and so on,want to know different data formats andwriting methods,please pay attention!装修施工流程与工期计算详解装修是每个家庭或商业空间的重要阶段,涉及到一系列复杂的过程。
精装修管理流程一.协调事宜1。
项目公司指定专人负责土建与精装修的对接协调及项目对外事物的组织协调。
2. 根据考察现场情况,安排一个切实可行的交接工期表,土建施工单位派专人与监理公司、工程部、装饰部专人对接,以及要求各分包的施工单位对交付的楼层按照工期表如期完成施工.3. 根据现场状况,明确交接前各个施工单位需要完成的工作(比如铝合金门框安装,水电安装安装等)以及交接验收的项目,进行分户验收。
并作出分户验收记录二.土建、精装修交接流程1。
土建单位自查2. 土建单位通知监理公司验收3. 土建移交问题整改期4。
监理公司通知甲方工程部 5.土建单位与装修单位办理正式移交手续。
6.精装修单位施工.2。
每步骤具体工作:1.土建单位自查阶段:土建施工单位对土建和安装进行自查,不符合要求进行整改,检查依据为施工图和国家相关验收规范。
2.土建单位通知监理公司阶段:土建单位以书面形式通知监理公司,监理公司组织人员对土建和安装进行验收,不符合标准开具整改通知单进行整改.3。
土建整改期阶段:土建单位在整改过程中,监理公司应及时做好跟踪工作,直至整改完毕,符合交付使用标准.4。
监理公司通知甲方工程部进行验收阶段:土建整改完毕,交予监理公司,以书面形式通知甲方工程部对土建和安装进行验收,以书面形式办理移交手续。
监理公司以书面形式通知甲方工程部进行验收,以施工图和国家相关规范为准,不符合标准的由土建单位通知整改,整改项目由监理公司和甲方工程部共同鉴定确认完成交付,书面上由监理公司,甲方工程部共同确认。
5.土建单位与装修单位办理正式移交手续。
全部整改完毕并符合移交标准后,由土建单位、监理单位、甲方工程部、装修单位四方共同办理移交手续.明确相关责任划分。
6。
精装修单位施工阶段:移交手续办理完毕后,装修单位按照施工进度要求进场施工。
三.土建工程项目移交内容清单1.建筑主体(结构、砌体、粉刷等)2。
建筑装饰内容(外墙砖,外墙装饰涂料等)3。
家装施工工艺流程及施工标准家装施工工艺流程及施工标准家装施工是一个复杂而繁琐的过程,需要严格按照一定的流程和标准进行施工。
下面将介绍一般家装施工的工艺流程及施工标准。
1. 预施工准备阶段:在开始施工前,施工队需要对施工现场进行查勘和测量,并制定详细的施工方案和施工计划。
还需要与业主沟通确定设计图纸和施工材料,并与相关供应商协商材料的采购和配送等。
此阶段需要确保所有准备工作齐全,以确保施工进展顺利。
2. 拆除与改造阶段:根据设计图纸和施工方案,施工队首先需要进行现场拆除与改造工作。
包括拆除原有的墙体、地面、天花板等,也可能需要进行管线改造以满足新的空调、电路、水路等布置要求。
此阶段需要注意保护其他未改动部分,避免对整体装修造成损坏。
3. 基础工程施工阶段:此阶段需要进行地板、墙体、天花板等基础工程施工。
包括地面找平、砌墙、贴砖、刷乳胶漆等工作。
对于墙体的施工,需要注意墙体的垂直度和平整度,确保墙面的平整度达到标准。
贴砖时要注意砖缝的均匀性和整洁度。
4. 安装与接线阶段:在基础工程完成后,需要进行家具、卫浴、厨房等设备的安装与接线工作。
包括安装橱柜、浴室柜、洗手盆、龙头、厨房电器等,并进行相应的电路、水路接线工作。
此阶段需要注意设备的安装位置和高度、接线的牢固性和安全性,确保设备正常使用。
5. 油漆涂料和装饰装修阶段:在进行油漆涂料和装饰装修前,需要对施工现场进行清洁和预防施工区域的尘土污染。
然后进行墙面、天花板的油漆和贴壁纸等装饰工作。
此阶段需要注意油漆涂刷的均匀性和质量,墙纸的平整度和粘贴牢固性。
6. 安装收尾阶段:在装修装饰完成后,进行家具、灯具、饰品、摆件等的安装工作。
此阶段需要注意安装位置和高度的合理性,以及听证装饰效果的达到设计要求。
在以上施工过程中,需要严格遵守以下施工标准:1. 施工质量标准:所有施工工艺要符合国家和地方的相关标准和规定。
材料的选择和使用要符合环保要求,不得使用低质量或过期的材料。
目录第一部分装修施工流程.................................... 错误!未指定书签。
.项目施工总流程.............................................. 错误!未指定书签。
.分项施工流程 ................................................. 错误!未指定书签。
精装修施工进场前准备工作流程....................... 错误!未指定书签。
精装修施工材料进场验收流程 .......................... 错误!未指定书签。
精装修施工工序流程....................................... 错误!未指定书签。
精装修施工验收工作流程 ................................ 错误!未指定书签。
精装修工程移交工作流程 ................................ 错误!未指定书签。
第二部分装修作业指导书................................. 错误!未指定书签。
.室内精装修——地面砖、墙面砖及石材施工......... 错误!未指定书签。
地面砖施工流程............................................. 错误!未指定书签。
墙面砖施工流程............................................. 错误!未指定书签。
地面石材施工流程.......................................... 错误!未指定书签。
控制要点 ...................................................... 错误!未指定书签。
质量通病 ...................................................... 错误!未指定书签。