工程样品管理流程
- 格式:doc
- 大小:322.50 KB
- 文档页数:6
建设工程样品封样管理制度为规范建设工程样品的管理,保障建设工程的质量安全,提高工程质量和工作效率,制定本管理制度。
一、管理范围本管理制度适用于所有建设工程部门内需要抽取、保存和检测的样品。
包括但不限于土壤、水质、材料、混凝土等各类样品。
二、样品抽取1. 样品的抽取必须由具有资质和专业技能的抽样人员进行,抽样前应进行培训和考核,对已考核合格的抽样人员进行定期复核。
2. 样品抽取地点应根据具体需要确定,并确保取样的地点代表性、一致性和公正性。
3. 样品抽取时,应按照相关规范和标准操作,避免样品被外界因素污染或破坏。
4. 抽取样品前需填写样品抽取单,详细记录抽取样品的时间、地点、数量和相关信息。
三、样品保存1. 样品应妥善保存,避免受到外界污染或其他损坏。
2. 样品应分类保存,标识清晰,便于管理和查找。
3. 样品应在适宜的环境条件下保存,比如恒温、恒湿、防潮等条件下保存。
4. 对于易腐败或易变质的样品,应及时进行处理或送检。
四、样品检测1. 样品检测必须由具备相关资质和技能的检测人员进行,检测人员需定期培训和考核。
2. 样品检测应依据相关标准和规范进行,确保检测结果的准确性和可靠性。
3. 检测完成后,需及时将检测结果记录并报告给相关部门,确保建设工程的质量安全。
五、封样管理1. 对已抽取的样品需进行封样处理,确保样品的完整性和安全性。
2. 封样时,需填写封样单,记录封样的时间、地点、封样人员等信息。
3. 封样后,需及时将样品送至指定的仓库或实验室进行保存,确保样品的安全和完整性。
4. 如需要对样品进行二次检测或其他操作时,需经过相关部门的审批和记录。
六、样品销毁1. 对于已完成检测或已无需保留的样品,需按照相关规定进行销毁处理。
2. 样品销毁时,需填写销毁单,记录销毁的时间、地点、方式和原因等信息。
3. 样品销毁前,需经过相关部门的审批和确认,确保销毁程序合法、规范和安全。
七、责任分工1. 建设工程部门应设置专门的样品管理和监督机构,负责制定和实施样品管理制度,确保样品管理工作的顺利进行。
试验室工程样品管理制度一、总则为规范试验室工程样品管理工作,提高工作效率,确保样品的真实性、准确性和可追溯性,制定本制度。
二、适用范围本制度适用于试验室的所有工程样品管理工作。
三、责任部门1. 试验室主任:负责制定试验室工程样品管理工作的整体策略和规划,监督和检查试验室工程样品管理工作的执行情况。
2. 项目负责人:负责各项目的工程样品管理工作,包括样品的采集、保存、检测和报告。
3. 样品管理员:负责样品的接收、登记、存储和领取工作,确保样品信息的准确性和完整性。
4. 验收人员:负责对新到样品的验收工作,确保样品的完整性和准确性。
四、样品管理流程1. 样品采集:根据项目需求,项目负责人确定需要采集的样品类型和数量,并制定采样计划。
采样人员按照规定的采样方法和采样点,采集符合标准要求的样品。
2. 样品传递:采集好的样品由采样人员交至样品管理员,样品管理员对样品进行登记并按照相应的标识进行储存。
3. 样品保存:样品管理员负责将样品储存于指定的位置,分门别类,确保不同样品之间不会相互干扰。
特殊要求的样品需按照规定的条件进行保存,如冷藏、干燥等。
4. 样品领取:项目负责人或实验人员需要进行检测时,向样品管理员提出领取申请。
样品管理员根据领取人员的身份和需要,对样品进行发放,并记录领取信息。
5. 样品检测:实验人员根据项目需求对样品进行检测和分析,记录实验过程和结果,制作检测报告。
6. 样品处理:实验结束后,样品可以按照项目需求进行处理,如销毁、保存或归还。
五、样品管理规定1. 样品信息登记:所有进入试验室的样品都需进行登记,登记内容包括样品编号、名称、来源、采集时间、采集地点等信息。
2. 样品标识:每个样品需进行标识,标识内容包括样品编号、名称、采集者、采集时间等信息。
3. 样品存放:样品需存放在指定位置,每个样品需单独储存,不得混淆或交叉。
4. 样品领取:领取样品需提出申请,样品管理员核实后方可发放。
领取人员需签字确认领取,并保证按照规定的方法进行处理。
公路工程样品留样管理制度第一章总则第一条为加强公路工程施工过程中样品留样管理工作,规范样品留样操作流程,保障施工质量和安全,提高工程管理水平,特制定本制度。
第二条本制度适用于公路工程施工过程中的各类样品留样工作,包括土方、沥青、混凝土、钢筋等各类样品。
第三条施工单位应严格遵守本制度的规定,认真履行样品留样管理职责,确保样品留样工作的规范、有序进行。
第二章样品留样管理机构第四条施工单位应设立专门的样品留样管理机构,负责对施工过程中产生的各类样品进行留样、保管和监管工作。
第五条样品留样管理机构应配备专业技术人员,具备相关技术和管理能力,能够独立完成留样工作。
第六条样品留样管理机构应设立样品留样记录档案,做好各类样品留样记录的登记和管理。
第三章样品留样工作流程第七条样品留样工作应在工程施工过程中及时开展,具体操作流程如下:(一)样品采集:按照相关标准和规范要求,对产生的样品进行采集,并确保标本代表性。
(二)样品编号:对采集的样品进行编号,确保每个样品都能够被准确识别。
(三)样品保管:将样品送交样品留样管理机构保管,确保样品不受污染和损坏。
(四)样品质保:对留样的样品进行保质保量管理,确保样品在保管过程中不受损失。
(五)样品检测:在需要对样品进行检测分析时,样品留样管理机构应配合进行检测工作。
第八条样品留样工作原则上应在工程施工结束后进行,确保样品留样工作的全面、细致。
第四章样品留样管理要求第九条施工单位应加强对样品留样管理的监督和检查工作,确保留样工作的规范、有序进行。
第十条员工应接受相关培训,了解样品留样工作的重要性和规范要求,提高留样工作的质量和效率。
第十一条施工单位应建立定期对留样工作进行评估和考核的制度,对样品留样管理工作进行监督和检查。
第五章样品留样管理制度的完善与修订第十二条本制度自颁布之日起生效,并可根据实际情况进行修订和完善。
第十三条任何单位或个人未经授权不得对本制度进行修改或篡改。
第十四条对于违反本制度的行为,施工单位应依法追究责任,并做出相应处理。
工程部管理样品制度一、制度目的为规范工程部管理样品相关工作,提高工作效率,确保工程部管理样品的准确性和完整性,特制订本制度。
二、制度适用范围本制度适用于公司工程部管理样品相关工作的规范和流程。
三、工程部管理样品的定义工程部管理样品是指工程部根据产品需求采集、管理的样品,用于产品测试、市场宣传等用途。
四、工程部管理样品的分类1.产品样品:包括新产品开发样品、改进产品样品等。
2.市场宣传样品:包括产品展示样品、宣传品样品等。
3.内部管理样品:包括特定用途的样品,如培训样品、会议演示样品等。
五、工程部管理样品的采集和归档1.工程部负责根据产品需求及时采集样品,并按照相关要求进行标注和归档。
2.工程部需建立清晰的样品档案,包括样品名称、来源、数量、质量等信息,并定期进行更新维护。
3.工程部管理人员需对样品进行定期检查,确保样品清晰、完整,做到随时可取可查。
六、工程部管理样品的使用1.工程部需根据需要将样品分发给相关部门或人员使用,主管人员需审批后方可分发。
2.使用过程中需注意保护样品的完整性和质量,避免损坏和浪费。
3.使用完成后,需及时归还样品,工程部管理人员需更新档案,确保样品信息准确。
七、工程部管理样品的处置1.过期或损坏的样品需及时进行处置,如淘汰、报废等。
2.工程部管理人员需做好处置记录,并报告主管领导,确保处置流程规范。
八、工程部管理样品的监督和考核1.工程部主管人员需定期对样品管理情况进行检查,并做好督促和指导工作。
2.定期对样品管理工作进行评估,确保工程部管理样品工作的规范和有效性。
九、工程部管理样品的保密1.工程部管理人员需严格保守样品相关信息,避免信息外泄。
2.对于涉及商业机密的样品,必须严格保密,避免泄露带来的损失。
十、工程部管理样品的责任1.工程部管理人员要严格遵守本制度规定,认真履行样品管理工作,保证样品的准确性和完整性。
2.对于违反规定导致的问题,工程部管理人员要承担相应的责任。
工程材料样品、样板管理办法第一章总则1.为加强工程原材料、构配件及实体工程质量的事前控制,避免工程大面积施工后因质量缺陷的返工造成工程品质、工期和成本等方面的损失,确保工程优良品质,制定本办法。
2.样板均在工程实体上实施,不增加任何费用,经验收合格后,作为后续工程工序验收参照、对比施工。
第二章工程材料样品管理工程材料样品是指拟使用于工程上的原材料、半成品、成品的样品;该材料样品将作为批量进场材料的验收比照物。
一、材料样品计划管理1、施工总包单位进场后一周内按分部工程编制季度进场材料样品计划报审;计划内容包括:材料样品的名称、数量、规格、质量标准、报验时间、质量负责人、使用部位;2、平行发包的工程,施工单位进场后一周内编制进场材料样品计划,计划内容同上;3、材料样品进场报验时间比工程材料大量进场时间提前14 天;4、材料样品至少包括,钢管、防水材料、保温材料、专用腻子、各层涂料、屋面瓦、门窗及幕墙(含五金件、玻璃、密封胶等)、栏杆(板)、吊顶龙骨与面板、石材、地砖及墙砖(文化石)、防火门、栏杆(板)、消防材料、水暖各种管材及阀门、地漏,太阳能、空调、风机、各类电线电缆及套管、插座、桥架、可视对讲机,户配电箱及其它弱电、智能化设备,市政排水管、井盖等;5、材料样品进场报验计划需经监理、项目管理及建设单位逐级审批后,报集团备案;二、材料样品的质量管理1、材料样品进场后,施工单位填写《工程材料、构配件、设备样品报审表》,质量证明文件必须齐全;2、性能检测报告按照规范要求需“型式检验”的,必须提交“型式检验报告”,不得用“委托检验报告”替代;3、所有样品上均标明样品的名称、数量、型号、规格、质量标准,建设单位组织项目管理/代建、设计、监理、施工及共同验收签字确认;三、材料样品间管理1、施工总包单位现场必须设置材料样品间,除不便置于室内的大型排水管等外,原则上包括专业工程的所有材料样品均陈列在样品间内;2、监理单位负责材料样品间的管理,并建立人员进入样品间记录台帐,任何人进入样品间。
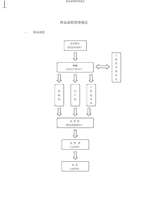
样品流程管理规定一、样品流程业务填写《样品申请单》工程技PMC术《样品生产指令单》部评定工采生程购产技部部术部品管部《样品查验报告》仓管部《入库单》发货《出库单》二、 流程运作细则1、 业务填写详尽的《样品申请单》 ,按规范填写清楚样品名称、规格、数目、特别要求等,《样品申请单》经营销中心负责人审查奏效后,下发至PMC 。
2、 PMC接《样品申请单》后,交工程技术部评定:成品外购、生产部生产、工程技术部打样。
PMC 依据工程技术部评定结果,业务《样品申请单》填写《样品生产指令单》,下发至有关实行部门:采买部、生产部、工程技术部。
3、 实行部门(1)(2)※ (3)※4、品管部依据实行部门供给的样品规格参数进行检测,关于规格参数不全的状况,要求实行部门供给,不然,不予以判断合格。
检测达成,合格后填写《检测报告》 ,并知会实行部门入库。
4、 仓管部盘点样品数目,检查样品能否附《检测报告》,须确认经查验合格方赐予开具《入库单》。
做好标示后入库。
5、 发货开具《出库单》 ,经有关负责人审查后,到库房办理出库手续,查对发货产品名称、规格、数目。
三、资料存档全部有关票据的发文单位及受文单位均须做票据资料存档,每个月样品的全部资料文档交文控存档。
5 日前须将上月1、《样品申请单》发文单位:业务部 受文单位: PMC 、工程技术部2、《样品生产指令单》采买部:依据《样品生产指令单》 ,下单采买,一定要求供给商按我司要求,提供详尽的产品规格书; 样品采买回企业, 须通知品管部进行检测, 合格后办理入库手续,采买达成作业后,知会发货负责人员。
生产部:依据《样品生产指令单》 ,进行领料、生产作业,样品所需零零件无库存状况下,填写《物料申购单》 ,经审查后交采买部,并及时跟进物料采买进度;技术问题及技术资料,踊跃与工程技术部交流解决。
样品生产完成,填写《样品送检单》送品管部检测,合格后入库,并知会发货负责人员。
建设工程样品管理制度第一章总则第一条为规范建设工程样品管理,提高工程质量,加强施工现场管理,根据国家有关法律法规和建设工程质量管理的要求,制定本管理制度。
第二条本管理制度适用于建设工程样品采集、送样、检验检测及留样等管理工作,适用于建设工程各阶段的施工过程。
第三条建设单位应当严格执行本管理制度,建设工程施工单位、检测单位等相关单位应当配合做好样品管理工作,确保建设工程质量安全。
第二章样品采集管理第四条建设单位应当根据建设工程的具体要求确定样品采集点,明确采集时间、方式和数量,编制样品采集计划,并经施工单位负责人、监理单位审核确认。
第五条建设单位应当确定建设工程样品采集人员,其人员应当具备相应的资质和经验,严格按照要求进行样品采集,保证样品的真实可靠性。
第六条样品采集过程中,建设单位应当配备必要的采样设备和器具,确保采集环境无污染,避免外界干扰对样品的影响。
第七条建设单位应当对采集的样品进行编号、标识,填写样品采集记录表,明确样品的来源、采集时间、地点等信息,确保样品的追踪和溯源。
第八条样品采集完成后,建设单位应当按照样品采集计划要求,及时送样至指定的检验检测单位,确保样品送检的准确性和及时性。
第三章样品送检管理第九条建设单位应当根据施工进度和截止日期确定送检时间,及时将样品送检给指定的检验检测单位,不得私自留样或变更送检单位。
第十条建设单位应当妥善保存送检样品,避免样品受损或污染,确保送检样品的完整性和可靠性。
第十一条建设单位应当在送检单上填写完整的样品信息,包括样品名称、规格、数量等详细信息,确保检测单位能够准确识别和分析送检样品。
第十二条建设单位应当配合检测单位做好送检样品的接收和登记工作,确保送检流程的顺畅和效率。
第十三条如出现样品损坏或遗失的情况,建设单位应当及时通知检测单位并补充采集新样品,确保检测结果的准确性和完整性。
第四章检验检测管理第十四条检验检测单位应当严格按照国家有关标准和规定进行样品检测,确保检测结果的准确性和可靠性。
建筑工程样品管理制度第一章总则第一条为规范和管理建筑工程样品的收集、保管、使用和处置工作,提高建筑工程质量,保障工程安全,制定本制度。
第二条本制度适用于本单位所有建筑工程样品的管理工作。
第三条建筑工程样品是指建筑工程过程中采集的各类土壤、水质、材料、构件等样品。
第四条建筑工程样品管理负责主管领导,具体实施由技术负责人负责。
第二章建筑工程样品的收集第五条建筑工程样品应当在建设单位安排的有资质的实验室或者第三方鉴定机构进行有关检测。
第六条收集建筑工程样品应当按照规定的采样方法进行,确保采集的样品准确、一致。
第七条建筑工程样品采集过程中应当严格按照相关规范和标准操作,避免交叉污染,确保采样现场整洁。
第八条采集的建筑工程样品应当记录详细的信息,包括采样地点、时间、负责人等。
第九条建筑工程样品应当尽快送交实验室进行检测,确保检测结果准确有效。
第三章建筑工程样品的保管第十条实验室应当建立完善的建筑工程样品保管制度,确保样品的安全和完整。
第十一条建筑工程样品应当标明详细的信息,包括样品名称、采集地点、采集时间等。
第十二条建筑工程样品应当分类存放,避免交叉污染和混淆。
第十三条建筑工程样品应当定期检查,确保存放环境符合要求,避免样品受损或者变质。
第十四条建筑工程样品的保管由专人负责,不得擅自移动或者私自使用。
第十五条建筑工程样品的保管期限应当根据需要确定,过期的样品应当及时处置。
第四章建筑工程样品的使用第十六条建筑工程样品应当按照实验室的规定使用,不得擅自使用或者外借。
第十七条建筑工程样品使用过程中应当按照标准操作,确保检测结果准确可靠。
第十八条建筑工程样品使用完毕后应当及时归还实验室,并填写相关使用记录。
第五章建筑工程样品的处置第十九条建筑工程样品使用完毕或者过期后,应当按照规定进行处置。
第二十条建筑工程样品应当根据其特性进行合理的处置,避免对环境造成污染。
第二十一条处置建筑工程样品应当填写相关记录,确保处置过程规范和完整。
工程样品封样管理制度一、总则为了规范工程样品的管理,保障工程样品的完整性和安全性,提高工程样品管理的效率和质量,特制定本制度。
二、适用范围本制度适用于公司内所有工程样品的管理。
三、工程样品封样的定义工程样品封样是指在取样、测试、检验等程序完成后,将样品进行封存,以确保其完整性和安全性的操作。
四、工程样品封样的原则1. 确保样品完整性:封样过程中要确保样品完整无损;2. 保证封样可信度:对于封样标识要明确、准确;3. 保护封样的安全性:封样后要存放在安全的地方,并加强监管;4. 严格遵守封样程序:封样操作要符合规定的程序要求。
五、工程样品封样的程序1. 取样:在完成取样程序后,将样品装入封样袋中;2. 标识:在封样袋上明确标注样品名称、样品编号、取样日期等信息;3. 密封:将封样袋封口处用胶带封闭并加盖封样章;4. 封存:将封样袋交由指定人员,将其存放在指定的封样区域;5. 登记:对封样的相关信息进行登记,包括封样编号、封样日期等;6. 监管:加强对封样区域的监管,确保封样的安全性。
六、工程样品封样的责任1. 取样人员:负责将取得的样品按照规定进行封样,并确保样品完整;2. 封样人员:负责对封样的标识、密封等操作,确保封样的可信度和安全性;3. 管理人员:负责对封样过程进行监督和检查,确保封样程序的质量和规范;4. 监管人员:负责加强对封样区域的监管,确保封样的安全性;5. 使用人员:在需要时,申请使用封样,并对封样进行记录和返还。
七、工程样品封样的检查1. 定期检查:对封样区域进行定期检查,确保封样的完整性和安全性;2. 抽查检查:对封样进行抽查检查,确保封样的可信度;3. 特殊情况检查:对封样进行特殊情况的检查,如封样涉及的工程出现问题等。
八、工程样品封样的返还1. 使用人员使用封样后,应按规定的时间返还封样;2. 返还时应检查封样的完整性,并进行记录;3. 封样返还后应重新进行封样程序,并存放在指定区域。
工程样件交样管理流程工程样件交样管理流程是指在工程项目中,相关部门需要向其他部门或者客户提供样品或者样件进行检测、确认和评估的流程。
该流程的目的是确保所有样件的交接和管理顺利进行,以便及时满足项目的要求和客户的需求。
下面是一个典型的工程样件交样管理流程。
一、需求提出与计划1.相关部门根据项目计划和需求,确定需要提供的样件种类和数量。
二、样件的采购2.与供应商协商并确认样件的价格、交付时间和质量要求。
3.采购部门下发采购订单,并监控供应商的供货情况。
三、样件的接收和验收1.当供应商将样件送至公司时,仓库人员接收样件,并进行验收。
2.验收标准包括样件的品质、规格、数量和外观等。
3.若样件有任何问题,在验收表上做出记录。
四、样品的标识与登记1.接收方对已验收的样品进行标识,如编号、名称、规格等。
2.将样品信息输入到样品管理系统中,并建立样品档案。
五、样件的保管与存储1.将验收合格的样件进行整理,并存放在专门的样品存放区域。
2.样件的存储要求包括防潮、防尘、防火和避光等。
3.对于特殊要求的样件,如易损样件或者有特殊保存条件的样件,应按照要求进行特殊处理和保存。
六、样件的提取与交接1.根据需求,相关部门向样品管理部门申请提取样件。
2.样品管理部门根据申请,到样品存放区提取样件,并按照申请者要求进行包装和盖章。
3.样品管理部门将提取的样件进行登记,并记入流动样品管理台账。
4.样件的交接要求包括签收人、日期、交接事由等。
七、样件的使用与追踪1.申请者根据自己的需要使用样件,并确保其安全和完整。
2.样件的使用要在样品管理系统中进行记录,并随时追踪使用情况。
3.若发现样件有任何问题,应及时向样品管理部门进行反馈。
八、样件的归还与处理1.样件使用完毕后,申请者将样件归还给样品管理部门,并进行交接。
2.样品管理部门对归还样件进行检查,确保样件的完整性和数量。
3.若样件有损坏或者遗失,应及时通知相关部门进行处理。
九、样件的销毁与清理1.工程项目完成后,对于不再使用的样件进行销毁处理。
工程样品的管理制度一、总则为规范工程样品管理工作,提高工程质量,保障工程施工顺利进行,特制定本管理制度。
二、适用范围本管理制度适用于公司内所有工程项目的样品管理工作。
三、责任主体1. 项目经理:负责全面负责工程项目的样品管理工作,并承担最终责任。
2. 工程部:负责具体组织实施样品管理工作。
3. 施工单位:负责按照公司要求提供样品,并配合工程部进行管理。
4. 监理单位:对施工单位提供的样品进行监督和检验。
四、工程样品管理流程1. 样品采购(1)项目经理根据工程需要确定所需样品种类和数量。
(2)工程部根据项目经理要求,通过招投标等方式选购合格样品。
(3)在确定供应商后,工程部与供应商签订采购合同,明确双方责任和要求。
2. 样品接收(1)工程部接收供应商提供的样品,并进行验收。
(2)验收合格的样品,进行入库登记。
3. 样品管理(1)工程部对入库的样品进行分类、编号,并进行存储。
(2)建立样品台账,记录每个样品的入库时间、来源、数量等信息。
4. 样品使用(1)施工单位在需要样品时,向工程部提出申请。
(2)工程部根据施工单位要求,提供相应的样品。
(3)施工单位使用完毕后,应及时归还样品,并填写归还登记表。
5. 样品检验(1)监理单位定期对施工单位使用过的样品进行检验。
(2)检验结果合格的样品,存回库中;检验结果不合格的,按照相应程序进行处理。
6. 样品报废(1)对于过期、损坏的样品,由工程部负责报废处理。
(2)报废样品应按相关规定进行处理,不得私自处理或外流。
五、监督检查1. 工程部应定期对样品管理工作进行检查,确保各项措施的落实。
2. 项目经理应对工程部的样品管理工作进行定期检查,并先行处理发现的问题。
3. 监理单位应对样品管理工作进行随机抽查,确保其合规性和有效性。
六、违规处理1. 对违反本管理制度的责任人,项目经理可以给予警告、罚款、停职等处理。
2. 对于因违规导致工程质量问题的情况,追究相关责任人的法律责任。
工程样件制管理制度1. 引言本文档旨在规范和管理工程样件制的流程和要求,以确保工程样件制的有效性和高质量。
2. 定义2.1 工程样件:指在工程项目中所需要使用的样品或实物,用于验证和确认工程设计及施工方案的可行性和质量标准。
2.2 工程样件制:指根据项目需求和规划,按照预定的流程和标准制作工程样件的过程。
3. 制度内容3.1 工程样件制的责任与义务- 工程样件制的责任主体应明确,包括项目经理、设计人员、技术人员等,各方需明确自己在工程样件制中的责任与义务。
- 工程样件制的过程中,需确保各方之间的协作与沟通,共同完成制作任务。
3.2 工程样件制的流程- 工程样件制的流程需明确,包括样件需求确认、样件方案编制、样件制作与验收等环节,确保每个环节的流程和要求清晰可操作。
3.3 工程样件制的质量控制- 工程样件制的质量标准应明确,包括样件的准确度、稳定性、可重复性等要求。
- 工程样件制过程中,应制定相应的质量控制方案,包括工艺流程、工装校验等,以确保样件质量的控制和保证。
3.4 工程样件制的文件管理- 工程样件制的相关文件应进行统一管理,包括样件设计方案、制作记录、验收报告等。
- 工程样件制的文件管理应符合相关法律法规和公司规定,确保数据的完整性和保密性。
4. 实施和监督4.1 实施- 工程样件制度的实施应由项目经理或相关责任人负责推动和监督,确保制度的全面落实。
- 实施工程样件制度时,应保证与其他相关制度互相协调和衔接。
4.2 监督与评估- 工程样件制度的监督与评估应定期进行,以确保制度的有效性和符合实际需求。
- 监督与评估结果应及时总结和反馈,为工程样件制的持续改进提供参考。
5. 附则- 本制度自发布之日起生效,并适用于公司的工程项目。
- 对于特定项目需求,可以根据实际情况进行调整和补充,但必须得到相关责任人的批准和记录。
以上为《工程样件制管理制度》的主要内容,旨在规范和管理工程样件制的流程和要求,确保工程样件制的有效性和高质量。
工程送样管理制度一、总则为规范工程送样管理,提高工程质量,保证工程进度,特制定本制度。
二、适用范围本制度适用于所有涉及工程送样的部门和人员。
三、工程送样流程1. 工程送样申请:工程负责人或相关部门填写工程送样申请表,包括工程名称、送样材料、送样理由等内容,并提交审核。
2. 审核批准:送样申请经审核批准后,指定相关人员负责送样工作,同时确定送样日期和接收单位。
3. 采集送样材料:指定负责人根据送样申请,准备好送样材料,包括样品、检测报告、送样单等。
4. 送样操作:将准备好的送样材料交由快递公司或专人送达接收单位,并及时通知接收单位。
5. 接收确认:接收单位收到送样材料后,需及时进行确认,并在送样单上签字盖章。
6. 结果反馈:接收单位对送样材料进行检测、分析,及时反馈检测结果,并将结果报送给送样单位。
7. 跟进处理:送样单位收到检测结果后,按照实际情况进行跟进处理,解决问题并及时反馈。
四、责任人员及职责1. 工程负责人:负责发起工程送样申请,指定送样负责人,并对送样工作负责。
2. 送样负责人:负责准备送样材料、安排送样工作,并及时通知接收单位。
3. 检测单位:负责对送样材料进行检测、分析,并及时反馈检测结果。
4. 接收单位:负责接收送样材料,进行确认,并及时反馈检测结果。
五、送样管理要求1. 送样材料应当完整、准确,保证送样质量。
2. 送样过程要及时、顺畅,确保送样完成时间。
3. 送样结果要客观、真实,确保送样信息准确。
4. 送样管理要严格遵守相关规定和流程,不得违规操作。
六、相关制度执行1. 本制度自发布之日起正式执行。
2. 工程负责人应当认真执行本制度,确保工程送样管理规范。
3. 如有违反本制度情况,将按规定进行追责。
七、补充条款1. 本制度如有调整或修改,将提前通知相关部门和人员。
2. 其他未尽事宜,可根据实际情况进行补充规定。
以上为工程送样管理制度,希望相关部门和人员认真执行,确保工程送样工作规范有效进行。
企业工程样品管理制度及流程一、引言为了规范企业工程样品的管理,提高样品质量和交付效率,本制度规定了样品管理的职责、流程和管理要求。
本制度适用于公司内所有工程样品的制作、存储、运输、使用和处置过程。
二、职责1.设计部门:负责制定样品制作方案,提供制作要求和技术支持。
2.采购部门:负责按照设计方案采购样品所需的原材料和零部件。
3.生产部门:负责按照设计方案制作样品,并对样品进行检验和测试。
4.质量部门:负责对样品进行质量检验和审核,确保样品符合相关标准和客户要求。
5.销售部门:负责与客户沟通样品需求,协助客户进行样品验收和使用反馈。
三、管理流程1.需求确认:销售部门与客户沟通确认样品需求,包括样品类型、数量、交期等。
2.方案制定:设计部门根据客户需求制定样品制作方案,提供制作要求和技术支持。
3.采购原材料:采购部门根据设计方案采购样品所需的原材料和零部件。
4.样品制作:生产部门按照设计方案制作样品,并对样品进行检验和测试。
5.质量检验:质量部门对样品进行质量检验和审核,确保样品符合相关标准和客户要求。
6.客户验收:销售部门协助客户对样品进行验收,收集客户反馈意见。
7.样品存储和运输:根据样品特性选择合适的存储和运输方式,保证样品安全到达目的地。
8.样品处置:根据客户需求对剩余样品进行处置,可以按照废品处理或者留作他用。
四、管理制度1.严格执行样品管理流程,确保每个环节的质量和效率。
2.对样品制作、存储、运输和使用过程中出现的问题及时采取措施进行处理,防止问题扩大。
3.对涉及商业机密的样品进行保密管理,防止泄露商业机密。
4.对违反样品管理制度的人员进行相应的处罚,情节严重者可移交司法机关处理。
5.定期对样品管理制度进行审查和更新,以适应公司业务的发展变化。
五、监控与考核1.定期对样品管理制度的执行情况进行检查和评估,发现问题及时进行整改。
2.将样品管理工作的质量与相关人员的绩效考核挂钩,鼓励员工积极参与样品管理工作。
道路桥梁工程样品管理制度一、总则为规范道路桥梁工程的样品管理工作,保证工程建设质量,提高工程管理水平,特定制定本制度。
二、适用范围本制度适用于所有道路桥梁工程的样品管理工作。
三、工作目标1. 确保道路桥梁工程的样品管理符合相关法律法规和标准要求。
2. 提高道路桥梁工程样品管理的效率和质量。
3. 保证样品的准确性和可追溯性。
4. 加强道路桥梁工程的质量监督和检测能力。
四、样品管理流程1. 样品采集:道路桥梁工程的样品采集应按照相关标准进行,必须由专业人员进行操作,并注意保持样品的完整性和原始性。
2. 样品登记:收到样品后应立即进行登记,包括样品名称、来源、采集时间、采集人员等信息,并进行编号管理。
3. 样品保存:样品应妥善保存,根据不同要求进行分类、分装和标识,并建立相应的样品库。
4. 样品检测:样品送检前需经过严格的检查和筛选,确保样品符合检测要求。
检测结果应及时记录和反馈。
5. 样品处置:检测完成后,样品需要进行妥善的处置,包括销毁、存放或其他处理。
五、责任分工1. 项目经理:负责组织和指导道路桥梁工程的样品管理工作,制定样品管理计划和控制方案。
2. 技术负责人:负责样品的采集、保存、检测和处置,确保样品管理工作的质量和准确性。
3. 检测人员:负责对样品进行检测,要求认真负责,确保检测结果的准确性。
4. 保管人员:负责样品的保管和管理工作,保证样品的安全和完整性。
六、监督和考核1. 项目经理对样品管理工作负总责,应定期组织检查和评估样品管理工作的执行情况。
2. 技术负责人应定期对样品管理工作进行自查和自评,并向项目经理报告。
3. 样品检测结果应及时向相关部门通报,接受监督和评估。
七、附则1. 对于未经授权或违规操作的样品,应按规定进行处理。
2. 道路桥梁工程样品管理制度的修订应经过专业人员审查和审核。
3. 对不符合要求的样品管理行为,将给予相应的处罚。
以上为道路桥梁工程样品管理制度的内容,希望所有相关人员能够严格遵守,并做好相应的执行工作,确保道路桥梁工程的建设质量和管理水平。
工程样品管理流程
文件代码:D-XXXX-10.1.3
版本:C0 页码:1/6
文件基本信息所属子系
统
新产品研发管理子系统
子系统代码D-XXXX-10
系统版本A0
子系统代表YYY 文件
优化类型
[ ]1.新建文件;[√]2.优化现有文件;
[ ]3.废止现有文件;
是否变更所属子系统流程关系图: [ ]Y [√]N 新增/修订
原因说明
1、使用最新的模板
2、优化文件内容
关联表单
及文件评
审结果
关联文件评审(是否需要变更):
■不需要变更关联文件
□需变更关联文件,变更文件为:
文件名称:
文件名称:
文件名称:
文件名称:
关联表单评审(是否需要变更):
■不需要变更关联表单
□需变更关联表单,变更表单为:
表单名称:
表单名称:
表单名称:
表单名称:
文件审
批级别
[ ]1.总裁;[ ]2.副总裁;[ ]3.事业部总经理;[ ]4.部门负责人;[ ]5.子系统代表
文件审核/ 评审
拟制
审核
(流程主管/子系统代表)
流程管理部门
审核意见
是否同意受控
流程管理部门负责人
[ ]Y [ ]N
评审部门评审意见说明
[ ]Y [ ]N
[ ]Y [ ]N
[ ]Y [ ]N
[ ]Y [ ]N
[ ]Y [ ]N
[ ]Y [ ]N
[ ]Y [ ]N
[ ]Y [ ]N
[ ]Y [ ]N
[ ]Y [ ]N
[ ]Y [ ]N
最终
审批
批准
备注①文件审批权限请参照子系统规划表。
②如果文件内容涉及薪酬福利、保险福利、劳动定额管理等直接与薪资、福利相关的条款,文件需给人力资源总监会签。
③如果文件内容涉及劳动卫生安全、环境影响等直接影响员工健康安全和环境管理的条款,文件需给安全主任会签。
④如果文件内容涉及有关劳动报酬、工作时间、休息休假、劳动安全卫生、保险福利、职工培训、劳动纪律(含奖惩)以及劳动定额管理等直接涉及劳动者切身利益条款,文件需给工会评审会签。
⑤保存部门:文控中心;保存年限:永久。
工程样品管理流程
文件代码:D-XXXX-10.1.3
版本:C0 页码:2/6文件修(制)订履历一览表
N0. 版
次
文件受控编号发布日期修(制)订说明拟制审核批准
1 2
3 4
5 6 A0
B0
B1
B2
B3
C0
-
061103002
100510006
111028011
121107001
首次发行
1、对《样品制作流程》进行BPI优化;
2、文件
名称更改为《工程样品管理流程》;3、文件编号
由原来的DXWD10.1.3改为DXWD10.2.3.
1.更换LOGO..修改文件发放范围及份数
2.文件代码由:DXWD10.2.3改为:D-XXXX-10.2.3
3.因部门组织架构变更,修改部门名称
1.取消附录1
2.对012/013等活动内容进行修订
修订活动009,明确给客户签样时提供的资料
1、套用最新模板;
2、文件代码由D-XXXX-10.2.3改为
D-XXXX-10.1.3
2、对文件的整体内容进行重新梳理并修订
工程样品管理流程
文件代码: D-XXXX-10.1.3
版本:C0 页码:3/6
1 目的
规范工程样品申请、制作、测试、确认和送样,满足公司内部和客户需求。
2 适用范围
本规定适用于研发中心的工程样品管理。
3 定义
无
4 职责
4.1 销售人员:负责接收客户的样品需求信息,并将样品需求传递给项目经理;样
品制作完成后将样品送给客户;
4.2 项目经理:负责组织确认客户的样品需求,并组织样品设计制作、评估和确认,
以及认证后的样品处理;
4.3 研发工程师:负责按照样品的需求制作样品和改善样品;
4.4 测试工程师:负责对样品进行功能和性能测试,并提供测试报告。
5 工作流程图及流程说明
5.1 工作流程图见4页《工程样品管理流程》。
5.2 流程说明见5页。
6 支持及引用文件
文件代码文件名称
D-XXXX-10.1.1 设计作业规定
7 生成记录/表单
记录代码记录名称
F-XXXX-10.1.3.1 样品制作通知单
F-XXXX-10.1.3.2 样品跟踪表8 支持及引用记录/表单
记录代码记录名称F-SUN0-12.4.1.1 市场需求表
TE-D060-01 测试报告
PM-C030-02 项目过程评审表PM-D080-04 样品承认书
9 附录
无
5 工作流程图及流程说明
5.1 工作流程图
工程样品管理流程
测试工程师研发工程师
项目经理
销售人员
客户
001
提出样品需求
002
接收样品需求
004
样品制作通知
006样品制作
007样品测试
008
组织样品评审
是否合格
Y
009样品送样
010样品认证
是否合格
开始
Y
样品承认书
样品制作通知单市场需求表
003
样品需求确认
R1
R1
N
N
011
认证后样品处理
样品跟踪表
结束
005
组织样品制作准备
测试报告
项目过程评审表
5.2 流程说明
活动
编号
活动名称责任人输入要点说明输出作业指导文件001 提出样品需
求
客户\ 提出样品需求信息给销售人员,流程转002节点。
样品需求信息/
002 接收样品需
求销售人员样品需求信
息
销售人员将客户提出的样品需求填写到《市场需求表》交给项目经理。
流程转
到003节点。
《市场需求表》/
003 样品需求确
认项目经理《市场需求
表》
项目经理接到样品需求后组织相关技术人员确认样品需求信息的明确性和完
整性。
如果需求规格不明确或不完整,由相关技术人员与客户进行沟通确认直
到需求明确和完整。
流程转到004节点。
《市场需求表》/
004 样品制作通
知项目经理《市场需求
表》
客户样品需求确认后,项目经理下达《样品制作通知单》给相关人员,确定负
责制作样品的研发工程师,正式启动样品制作工作。
之后转到005节点。
《样品制作通
知单》
/
005 组织样品制
作准备项目经理《样品制作
通知单》
项目经理组织进行物料排查后安排相关人员准备样品所需物料,需要采购物料
时按规定流程进行采购,并之后转到006;
/ /
006 样品制作研发工程师《样品制作
通知单》研发工程师接到《样品制作通知单》后,根据《设计作业规定》进行样品的开
发制样工作(包括:设计开发、单板制作、单板测试、集成、调试),样品开
发制作中发现的问题及时与相关人员进行沟通解决,必要时与客户进行沟通。
样品制作完成后转到007节点。
样品《设计作业规
定》
007 样品测试测试工程师样品1、测试工程师收到测试样品后,根据测试计划对样品进行功能和性能等测试,
测试发现的问题及时与研发工程师进行沟通解决,直到样品通过测试。
测
试工程师测试完成后出具《测试报告》;
2、当需要外部测试时,由测试工程师负责申请外部测试,经相关领导批准后,
选择符合资质的外部测试机构,并将样品送外部机构检测,测试负责人跟
进测试安排和测试结果,当测试完成后要求外部测试机构提供测试报告。
3、流程转到008节点。
《测试报告》/
008 组织样品评
审项目经理样品
《测试报告》
项目经理组织相关人员根据《测试报告》的测试结果评审样品是否符合客户的
需求,评审问题记录到《项目过程评审表》中。
如果评审不合格则返回006节
点;评审合格则转009节点。
《项目过程评
审表》
/
009 样品送样销售人员样品销售人员在确认样品及资料完整后,将样品及资料交付给客户,请客户安排样
品检测认证。
流程转到010节点。
/ /。