普通中小学学生转学流程图
- 格式:doc
- 大小:45.00 KB
- 文档页数:5
普通初中学生转学流程图审核同意办理在《转学联系表》上加盖公章不审核同意转入并在《转学联系表》上签章同(注:此过程转入学校集中办理) 意不符合条件审核同意接收并在《转学联系表》上签章不符合条件审核同意签章,进行学籍转出操作并留存《转学联系表》1份由家长送回《转学联系表》转出学校留存《转学联系表》1份并开具转学证明家长持《转学联系表》和转学证明转入学校留存《转学联系表》和转学证各1份完善学生信息(注:此过程转入学校集中办理)由转入学校学籍员进行学籍转入操作,编写新学籍号,学籍备案成功。
注:此转学过程须在转出学校审核后两周内完成。
新乡市初中学籍管理规定依据《河南省义务教育阶段学籍管理办法》和《新乡市义务教育阶段学籍管理办法》关于初中转学的规定第十条学生有下列情况之一者准予转学:家长工作调动、家庭住址迁移,或因其它情况不能就近入学者。
学生转学应在每学期开学两周内按规定的要求和程序办理有关手续。
第十一条本市范围内学生转学应由监护人向转出学校提出书面申请,学校审核同意后开具《新乡市中小学学生转学联系表》,由学生监护人携带《新乡市中小学学生转学联系表》联系转入学校。
转入学校依据户口迁移、暂住、工作调动等有关证明和学生就近入学的原则同意转入,并经上级主管教育行政部门批准后,转出学校方可开具转学证明。
转入学校依据转学证和《新乡市中小学学生转学联系表》办理学籍注册手续。
学生联系转学未落实之前,原学校不得出具转学证明,不得终止学生在该校的学习;对没有申请转学的学生不得迫使其转学,由此造成学生辍学的,由原学校承担责任。
本市户籍学生需转往外省市就读的,由学生家长持户口迁移、工作调动等有关证明向原就读学校提出书面申请,学校核准后发给转学证明,并由家长签收有关转学材料。
本市户籍学生在外省市就读的,义务教育阶段需转入本市的,应持户籍证明和转学证明及有关材料(成绩手册、学籍档案、健康卡等)向户籍所在地学校申请入学,经学校同意,上级主管教育行政部门核准后安排入学。
转学过程注意事项
转学是一件慎重的事情,注意纸质材料和网上申报等相关问题。
1、家长先与转出学校沟通并同意后,
填写《转学申请表》,递交转入学校
2、家长向转入学校提供户口本、转学原因及有关证件
(如父母工作调令、转业证、房产证等),外地户口需提
交借读证明
3、转入学校向家长开据《转学受理回执》
4、转入学校与对方学校沟通并同意后,
在网上学籍管理系统办理上报并审核
5、转入学校向学生家长开据《转学办理通知单》,并告
知家长与转出学校及主管教育局联系办理网上审核(同
意)及调转学籍档案手续。
6、转入学校持《转学申请表》
到主管教育局办理网上审核手续
注:1、以上程序未办理完毕,任何学校不得提前接收
转学学生入学。
2、同时注意转学过程还需要:省招生考试院的成绩证明(会考成绩单)和全国学籍号等。
全国中小学生学籍信息管理系统学生转学操作步骤学生转学异动由转入学校发起,经转出学校、教育局审核,完成转学流程。
根据系统设计,转学过程分三种情况,分别为:同区县内转学、同省跨区县转学、跨省转学。
注意:转学只能在同年级之间进行。
三类转学流程图:1)同区县内转学刀冋省跨区县内转学流程3)跨省转学流程学生转学-—转入学校端操作步骤:转入学校提交转入申请,【学籍管理】【日常管理】【学籍异动申请】,点击“申请”按钮, 在显示页面的检索学生项,通过“学校名称”、“姓名”的组合查询方式,查询出要转入的学生,在学生个人基本信息项中核实无误后,在学生异动信息项中的异动类别中,选择“转学(转入)”,并填写其他相应的异动信息,点击“保存”按钮,提示上传转学材料,上传材料后等待学校审核;如果转出学校审核未通过,则需要转入学校在异动申请页面查找该学生,点击“修改”,信息无误后,再点击保存,即重新提交申请。
2.学生报到学生成任记录关邀数摒变更审请芳锻站E更芋谊車核孚籍异朗学桂审核3.-申请4.审核状态谁改❽删煤O 强制干预当前处理单位首西"学曙异动申请5.学校名称学校标识码1博白县水唱II 大利申心小学 2145015034主管埶官局 学广西壮族自诒区玉林…小学异动类型: 语选軽 *[■査询重養6•点击学校名称后的方框会弹出选择学校对话框,如下图7.在学校名称中输入“南江”关键字,点“查询”,在查询出的学校列表中选中转出学校名称, 再点“选择”,即可选中学校送择字橈冥学杭地址广西壮族自诒区玉淋市炳白甚8.输入学生姓名后点查询,选择异动类别(转学),点异动日期并选择日期,点“保存”。
如果查询不到学生,请确认:(1)原学校是否建立有该生的电子学籍; (2)学校名称是否正确(可以有的教学点的学生学校名称填到村本部了);(3)姓名是否有误(如“淞”误录为“淞”)学生个人基础信曳学校名称学校标识码年级名称粧级名称学生姓名性别出生日期身份证件号9.在弹出“是否上传证明材料”对话框中,如有转学证明的点“是”并上传材料,也可直接点“否”完成转学(转入)的申请10.学校提交转学申请后,还要对申请进行学校审核菜单•二招生入学日学^^ -学生成氏记录彌数据变更申请11.选中需要审核的申请,点“审核”,即把该生的转学申请上报到转入县教育局,至此转入学校的申请已完成12.之后经“转入县教育局网上审核一转出学校网上审核一转出县教育局网上审核”流程后, 学生的电子学籍档案就转到转入学校了。
中小学生转学流程一、转出学校同意转出,而转入学校也同意接收。
家长提供:原就读学校全称、学生姓名、身份证号码。
→下一步二、转入学校通过网上学籍系统查询该转学生,如果学籍系统中没有该学生,则转学失败,转入方不得接收该学生。
如果学籍系统中有该学生,则网上发起学籍异动申请。
→下一步三、转入地教育局在网上学籍系统中核办。
→下一步四、转出学校在网上学籍系统中核办。
→下一步五、转出地教育局在网上学籍系统中核办。
→下一步六、转入方学籍系统中显示出以上三方同意信息后,便通知学生报到入学,并在学籍系统网上办理调档。
转学流程完成。
七、如果学籍系统中只要有一方不同意,则转学失败,该生不能在转入方学校报到入学,如转入方学校违规接收,则负担相关责任。
转入方学校更不能为该生随意进行学籍注册。
提醒:转学只能在同年级间进行,不得留级,谁违规谁担责。
如果家长有意隐瞒实情,造成留级,则家长负担相关责任。
广西中小学学籍系统网址http://202.103.243.119/jsp用户名密码寻欧正校:1316652 Xun3061042@洲白岭: 1311946 Xun3061042@岭头塘: 1311951 Xun3061042@篓竹塘: 1312968 Xun3061042@问:现在要做什么学籍工作?答:1.把“有籍无人”的学籍转出去。
2. 把“有人无籍”的学籍转入来。
3. 把“错误数据”更正。
4. 把本班“学籍注册数据”录入“中央查重表”发至042邮箱。
5. 朱副校长全校汇总,核对无误,有错误的发回重做,最迟于10月23日前以邮件形式打包发送至大洋中心小学。
寻欧小学2014年10月16日。
全国中小学转学程序
小学
1、由转入学校在全国学籍系统中提出转学申请,并同时在纸质转学联系表上盖章;
2、由转入学校的上级主管部门在全国学籍系统中进行审核,并同时在纸质转学联
系表上盖章;
3、由转出学校在全国学籍系统中进行审核,同意转出,并同时在纸质转学联系表
上盖章;
4、由转出学校的上级主管部门在全国学籍系统中进行审核,并同时在纸质转学联
系表上盖章;
注:纸质转学联系表的盖章和网上操作必须同步进行
中学
一、全国学籍系统
1、由转入学校在全国学籍系统中提出转学申请,并同时在纸质转学联系表上盖章;
2、由转入学校的上级主管部门在全国学籍系统中进行审核,并同时在纸质转学联
系表上盖章;
3、由转出学校在全国学籍系统中进行审核,同意转出,并同时在纸质转学联系表
上盖章;
4、由转出学校的上级主管部门在全国学籍系统中进行审核,并同时在纸质转学联
系表上盖章;
二、晋中市学籍系统
1、由转出学校在系统中办理转出,同时打出转学联系表并盖章(一式四份);
2、由转入学校在转学联系表上盖章;
3、由转入学校的上级主管部门在转学联系表上盖章;
4、由转出学校的上级主管部门进行审核,并在转学联系表上盖章;
5、由市教育局进行审核,并在转学联系表上盖章;
6、由转入学校的上级主管部门进行审核;
7、由转入学校接收学生,进行编班。
注:以上两个系统纸质转学联系表的盖章和网上操作必须同步进行。
普通初中学生转学流程图由转入学校学籍员进行学籍转入操作,编写新学籍号,学籍备案成功。
注: 此转学过程须在转出学校审核后两周内完成。
新乡市初中学籍管理规定依据《河南省义务教育阶段学籍管理办法》和《新乡市义务教育阶段学籍管理办法》关于初中转学的规定第十条学生有下列情况之一者准予转学:家长工作调动、家庭住址迁移,或因其它情况不能就近入学者。
学生转学应在每学期开学两周内按规定的要求和程序办理有关手续。
第十一条本市范围内学生转学应由监护人向转出学校提出书面申请,学校审核同意后开具《新乡市中小学学生转学联系表》,由学生监护人携带《新乡市中小学学生转学联系表》联系转入学校。
转入学校依据户口迁移、暂住、工作调动等有关证明和学生就近入学的原则同意转入,并经上级主管教育行政部门批准后,转出学校方可开具转学证明。
转入学校依据转学证和《新乡市中小学学生转学联系表》办理学籍注册手续。
学生联系转学未落实之前,原学校不得出具转学证明,不得终止学生在该校的学习;对没有申请转学的学生不得迫使其转学,由此造成学生辍学的,由原学校承担责任。
本市户籍学生需转往外省市就读的,由学生家长持户口迁移、工作调动等有关证明向原就读学校提出书面申请,学校核准后发给转学证明,并由家长签收有关转学材料。
本市户籍学生在外省市就读的,义务教育阶段需转入本市的,应持户籍证明和转学证明及有关材料(成绩手册、学籍档案、健康卡等)向户籍所在地学校申请入学,经学校同意,上级主管教育行政部门核准后安排入学。
第十三条初中学生在入学第一学年,临毕业的最后一学年,一般不予转学。
普通初中学生休学复学流程图不符合条件同意休学—签章在学籍系统内进行休学操作学校及教育局各留存休学申请表1份休学期满同意复学—签章在学籍系统内进行复学操作学校及教育局各留存休学审批表1份编辑新学籍号注:休学期为一年,休学期间保留学籍,学校须及时通知休学期满学生复学。
《新乡市中小学学生休学申请表》一式两份分别由学校和教育局留存。
小学生转学流程告知告知为规范学籍管理,提高服务水平,根据《丰城市中小学生学籍管理办法(试行)》,自2014年3月20日起,我市全面启用全国中小学生学籍信息管理系统(以下简称全国电子学籍系统),实行学籍信息化管理。
所有转学、休(复)学等学籍异动、变更手续一律进行网上流转,符合条件的学生父母或监护人只需向转入学校提交申请,按规定办理即可。
现将转学流程告知如下:一、转学(一)市内转学1、流程图2、流程:①父母或监护人持户口簿等相关纸质佐证材料原件向转入学校提出转学申请,填写《中小学生转学申请登记表》,转入学校审核同意后签章;②转入学校通过全国电子学籍系统发起申请,上传相关佐证材料原件图片;③转入学校在全国电子学籍系统中核办;④转出学校在全国电子学籍系统中核办;⑤学籍主管部门(局普教股)在全国电子学籍系统中核办;⑥三方审核同意后,系统自动调取学生电子学籍信息至转入学校电子学籍系统;学校,转学完毕。
(二)市外转学(省内)1、流程图2、流程①父母或监护人持户口簿等相关纸质佐证材料原件向转入学校提出转学申请,填写《中小学生转学申请登记表》,转入学校审核同意后签章;②转入学校通过全国电子学籍系统发起申请,上传相关佐证材料原件图片;③转入学校在全国电子学籍系统中核办;④转入学校学籍主管部门在全国电子学籍系统中核办;⑤转出学校在全国电子学籍系统中核办;⑥转出学校学籍主管部门在全国电子学籍系统中核办;⑦四方审核同意后,系统自动调取学生电子学籍信息至转入学校电子学籍系统;学校,转学完毕。
(三)跨省转学1、流程图2、流程①父母或监护人持户口簿等相关纸质佐证材料原件向转入学校提出转学申请,填写《中小学生转学申请登记表》,转入学校审核同意后签章;②转入学校通过全国电子学籍系统发起申请,上传相关佐证材料原件图片;③转入学校在全国电子学籍系统中核办;④转入学校学籍主管部门在全国电子学籍系统中核办;⑤系统中央数据库自动匹配,与外省市电子学籍系统对接;⑥转出学校在全国电子学籍系统中核办;⑦转出学校学籍主管部门在全国电子学籍系统中核办;⑧四方审核同意后,等待系统调档;⑨转入学校在全国电子学籍系统中进行调档操作,学生电子学籍信息自动转至转入学校电子学籍系统;⑩转入学校通知学生入学,学生父母或监护人将学生学籍纸质档案从转出学校交至转入学校,转学完毕。
中、小学转学工作流程图第一篇:中、小学转学工作流程图中、小学转学工作流程图①跨市转学:由学生家长持户口本(或户口迁移证明)向学校提交书面转学申请,由学校发给转学证明。
学生家长持户口本、房证,社区证明、转学证书等手续到迁入地区的教育局审批。
原学校把转学学生名单上报区教育局注销其学籍。
②跨区转学:学生家长提出书面转学申请,并填写由转出学校发出的“转学联系单” 由学生家长持变动后的户口本,房证、社区证明,到户口迁入地区的教育局联系。
取得同意后,由转出学校开出转学证明,再到原所在区教育局注销学籍。
学生家长持上述所有证明到新迁入地区的教育局办理入学手续。
学生家长及学生持入学手续到所分配的新学校报到。
第二篇:网上转学流程图转学流程县内转(休)学第一步:1、转入学校及所属中心校校长审核,如果“同意”,则签字、盖章并由转入学校学籍管理员进行下列程序。
2、转入学校学籍管理员在学籍管理系统上发起学籍异动申请,点击“申请”,输入学生所在学校,点击“查找”,再点击“选择”,输入学生的姓名,页面会自动显示学生的基本信息,核对无误后,在“异动类型”选项中,选择“转学”,并输入异动日期及异动原因说明,点击“保存”,显示上传证明材料,点击“是”,上传证明材料(异动学生转入学校签字盖章后转学申请表原件和学生户口本那一张原件)点击“保存”按钮,并进行“学籍异动学校审核”,在审核意见中选择“同意”,点击“确定”,家长则进行下列程序。
第二步:转出学校及所辖中心校审核。
如果“同意”,校长签字、盖章,由转出学校学籍管理员在学籍管理系统“学籍异动学校审核”的“审核意见”中选择“同意”;如果不同意,学籍管理员在系统“学籍异动学校审核”的“审核意见”中选择“不同意”;并详细说明理由,转学流程终止。
第三步:县教育局进行审核,同意后签字、盖章并进行网上审核同意。
省内转入本县转学流程图第一步:1、转入学校及所辖中心校审核。
如果“同意”,校长则签字、盖章,由转入学校学籍管理员进行下列程序。
全国中小学生学籍信息管理系统学生转学操作步骤学生转学异动由转入学校发起,经转出学校、教育局审核,完成转学流程。
根据系统设计,转学过程分三种情况,分别为:同区县内转学、同省跨区县转学、跨省转学。
注意:转学只能在同年级之间进行。
三类转学流程图:--------------------------------------------------------------------------------学生转学----转入学校端操作步骤:转入学校提交转入申请,【学籍管理】【日常管理】【学籍异动申请】,点击“申请”按钮,在显示页面的检索学生项,通过“学校名称”、“姓名”的组合查询方式,查询出要转入的学生,在学生个人基本信息项中核实无误后,在学生异动信息项中的异动类别中,选择“转学(转入)”,并填写其他相应的异动信息,点击“保存”按钮,提示上传转学材料,上传材料后等待学校审核;如果转出学校审核未通过,则需要转入学校在异动申请页面查找该学生,点击“修改”,信息无误后,再点击保存,即重新提交申请。
1.2.3.4.5.6.点击学校名称后的方框会弹出选择学校对话框,如下图7.在学校名称中输入“南江”关键字,点“查询”,在查询出的学校列表中选中转出学校名称,再点“选择”,即可选中学校8.输入学生姓名后点查询,选择异动类别(转学),点异动日期并选择日期,点“保存”。
如果查询不到学生,请确认:(1)原学校是否建立有该生的电子学籍;(2)学校名称是否正确(可以有的教学点的学生学校名称填到村本部了);(3)姓名是否有误(如“淞”误录为“凇”)。
9.在弹出“是否上传证明材料”对话框中,如有转学证明的点“是”并上传材料,也可直接点“否”完成转学(转入)的申请。
10.学校提交转学申请后,还要对申请进行学校审核。
11.选中需要审核的申请,点“审核”,即把该生的转学申请上报到转入县教育局,至此转入学校的申请已完成。
12.之后经“转入县教育局网上审核→转出学校网上审核→转出县教育局网上审核”流程后,学生的电子学籍档案就转到转入学校了。
普通初中学生转学流程图由转入学校学籍员进行学籍转入操作,编写新学籍号,学籍备案成功。
注: 此转学过程须在转出学校审核后两周内完成。
新乡市初中学籍管理规定依据《河南省义务教育阶段学籍管理办法》和《新乡市义务教育阶段学籍管理办法》关于初中转学的规定第十条学生有下列情况之一者准予转学:家长工作调动、家庭住址迁移,或因其它情况不能就近入学者。
学生转学应在每学期开学两周内按规定的要求和程序办理有关手续。
第十一条本市范围内学生转学应由监护人向转出学校提出书面申请,学校审核同意后开具《新乡市中小学学生转学联系表》,由学生监护人携带《新乡市中小学学生转学联系表》联系转入学校。
转入学校依据户口迁移、暂住、工作调动等有关证明和学生就近入学的原则同意转入,并经上级主管教育行政部门批准后,转出学校方可开具转学证明。
转入学校依据转学证和《新乡市中小学学生转学联系表》办理学籍注册手续。
学生联系转学未落实之前,原学校不得出具转学证明,不得终止学生在该校的学习;对没有申请转学的学生不得迫使其转学,由此造成学生辍学的,由原学校承担责任。
本市户籍学生需转往外省市就读的,由学生家长持户口迁移、工作调动等有关证明向原就读学校提出书面申请,学校核准后发给转学证明,并由家长签收有关转学材料。
本市户籍学生在外省市就读的,义务教育阶段需转入本市的,应持户籍证明和转学证明及有关材料(成绩手册、学籍档案、健康卡等)向户籍所在地学校申请入学,经学校同意,上级主管教育行政部门核准后安排入学。
第十三条初中学生在入学第一学年,临毕业的最后一学年,一般不予转学。
普通初中学生休学复学流程图同意休学—签章在学籍系统内进行休学操作学校及教育局各留存休学申请表1份休学期满同意复学—签章在学籍系统内进行复学操作学校及教育局各留存休学审批表1份编辑新学籍号注:休学期为一年,休学期间保留学籍,学校须及时通知休学期满学生复学。
《新乡市中小学学生休学申请表》一式两份分别由学校和教育局留存。
全国中小学学籍管理平台转学流程一、纸质办理1、区内:拟转入学校申请、审核——转出学校审核——教育局审核2、不同区县:拟转入学校申请、审核——拟转入地县级教育局审核——转出学校审核——转出教育局审核接收学校必须依据有转出学校的意见和学校印章以及教育行政部门审核同意的《茂港区中小学学生转学申请表》(高中转出外市的继续使用广东省高中阶段学生转学申请表)才能接收转入学生。
否则,视为违规接收学生,在全国中小学生学籍信息系统不能通过审核。
转学商议表由转入学校存档并上传到学籍系统。
二、网上办理1、目前省内转学流程:区县内转学:转入学校发起——转入学校审核——转出学校审核——教育局审核。
省内不同市、县(区)转学:转入学校发起——转入学校审核——转入教育局审核——转出学校审核——转出教育局审核第一步:转入学校登陆账号后,点“学籍管理”——“日常管理”——“学籍异动申请”,在弹出的界面点“申请”,在弹出的界面双击“学校名称”,在弹出的界面输入转出学校“学校标识码”或者转出学校“学校名称”(名称一定要正确)选择转出学校(点转出学校前的圆圈),点击“选择”——输入转入学生名字——点击“查询”——选择“异动类型”(转学、休学等)和“选择年级班级”——选择“异动日期”,点击“保存”。
第二步:转入学校点击“学籍异动学校审核”,选择学生,点“审核”,在弹出的界面选择“审核意见”(同意或者不同意),然后保存。
第三步:转出学校点击“学籍异动学校审核”,审核转出(同意或者不同意。
第四步:教育局审核后,学生回到转入学校在校生状态。
2、跨省转学学籍系统操作办法,因学籍系统未全国联网,目前跨省转学操作办法如下:转出的:学校在学籍系统里面-《学生异动-》选择其它离校-转出外省;后上级教育主管部门需要审核的审核,不需要审核的就直接转出。
转入的:学校直接在学籍系统里面导入;上级教育主管部门审核。
茂港区中小学学生转学申请表说明:1、填写转出学校名称必须全称、准确,学生填写信息必须准确2、初三第二学期一般情况下不予办理转学,转入的需附茂港籍户口簿复印件或其他相关证明。
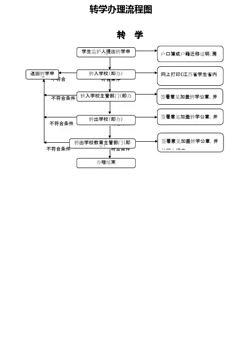
普通中小学学生转学流程图
审核同意办理
在转学证加盖公章
不审核同意转入—《回执 》上签章
同(注:此过程转入学校集中办理)
意 不符合条件
审核同意接收—《回执 》上签章
不符合条件
审核同意签章,进行学籍转出操作 并留存转学证回执1份
送回转学证回执
持转学证(2份)
留存转学证1份
完善学生信息
(注:此过程转入学校集中办理)
持转学证(1份)
进行学籍转入操作,编写新学籍号,
留存转学证1份
注:非常住居民子女转学需提供《山东省普通中小学转学证明》、流入地学校招生服务区内房产证或一年以上的正式房屋租住合同原件及复印件;原籍户口簿和现居住地暂住证原件及复印件;父母(或法定监护人)营业执照(或务工证明)原件及复印件;流出地人口计生部门出具的《流动人口计划生育婚育证明》原件及复印件。
外来投资者还需提供招商局投资项目证明,引进的高级专业技术人才还需提供单位证明和人事部门颁发的证件。
此转学过程须在转出学校审核后两周内完成。
市直学校学生转入转出市教育局审核时间为每周二、周四,其他时间不予办理。
《山东省普通中小学学籍管理规定》(试行)
关于转学的规定
第十条学生不得随意转学。
因家庭住址变化、户口迁移等因素确需转学的,由学生或其法定监护人提出申请,经转出和转入学校同意,并报学校主管教育行政部门确认转学理由正当,可准予转学。
转学不得变更就读年级。
毕业年级学生一般不准转学。
高中学生在本县(市、区)内不准转学。
义务教育段学生在本学区内不准转学。
第十一条高中学生在市内跨县(市、区)转学,须经转出学校同意、市级学籍主管部门确认、转入学校同意后,持户口簿或户籍迁移证明等材料,到市级学籍主管部门办理转学手续。
本省内跨市转学,须经转出、转入学校同意,并由转出方市级教育行政部门确认后,持户口簿或户籍迁移证明、学业水平考试成绩证明、《普通高中学生发展报告》等材料,到转入学校所在地市级学籍主管部门办理转学手续。
由外省(市、区)转入我省,须经接收学校同意后,持户口簿或户籍迁移证明、原就读学校出具的《普通高中学生发展报告》或《成长记录》档案、转出省(市、区)相应考试管理机构提供的学业水平考试(或会考)成绩证明、学生已经获得的学分清单,经我省学业水平考试管理机构确认后,由市级学籍和学业水平考试管理机构及转入学校办理接收手续。
由我省转出到外省(市、区),须经转出学校同意后,持户口簿或户籍迁移证明、学业水平考试成绩证明、《普通高中学生发展报告》等材料,经市、省学籍主管部门逐级审核确认后,办理转学手续。
第十二条义务教育阶段学生转学,须由父母或者其他法定监护人向转出学校提出申请,经学校审查,主管教育行政部门确认后,持户口簿或户籍迁移证明、房产证或相关证明材料,到转入地教育行政部门申请办理转学手续。
转入地教育行政部门同意接收的,出具《同意转入证明信》。
父母或者其他法定监护人持《同意转入证明信》到转出学校换取学生档案,由转入地教育行政部门按照相对就近的原则安排入学。
《同意转入证明信》由转出学校存入义务教育档案。
义务教育阶段学校对迁入本校学区内居住或其监护人在当地有固定工作且工作一年以上的转学学生必须接收。
如果接收学校确有困难,可由主管教育行政部门按照相对就近的原则,协调安排入学。
第十三条军队转业干部子女随迁转学时,应遵照《军队转业干部安置暂行办法》等有关规定,由安置地教育行政部门妥善安排。
普通中小学学生休学复学流程图
不同意 休学期满
同意复学—签章
不符合条件 在学籍系统内进行复学操作
学校及教育局各留存休学审批表1份
编辑新学籍号
注:休学期为一年,休学期间保留学籍,学校须及时通知休学期满学生复学。
《山东省
普通中小学休学审批表》一式两份分别由学校和教育局留存。
《山东省普通中小学学籍管理规定》(试行)
关于休学、复学与退学的规定
第十七条学生因病需长期治疗,可由学生父母或者其他法定监护人或成年学生本人持县级(含县级)以上医疗机构证明、病历和相关医疗费用单据到学校提出申请,学校审查同意并报上级学籍主管部门核准后准予休学。
高中学生第三学年第二学期一般不准休学。
第十八条学生患有《中华人民共和国传染病防治法》规定的甲、乙、丙类传染病并在传染期的,学校应令其父母或者其他法定监护人带其到具备传染病救治条件的医疗机构接受治疗。
治疗期在半年以上的,应令其休学。
患有县级以上医疗机构认定不能在学校进行正常学习的其他疾病的学生,学校可令其休学。
第十九条休学期限为一年。
学生休学期间保留学籍。
休学期满仍不能复学者,应当持县级以上医疗机构的证明,续办休学手续。
第二十条学生休学期满需要复学者,应由本人提出申请,经县级以上医疗机构认定治愈或者认定可以正常学习,学校审查核准,报主管教育行政部门备案后,方可复学。
第二十一条高中学生休学期满未申请复学的,学校应以信函等方式通知学生或其父母或者其他法定监护人。
超过应复学时间一个月以上未答复或未提出继续休学申请的,按自动退学处理。
高中学生连续休学两年以上,仍不能复学者,应予退学。
第二十二条高中学生擅自离校,学校应通过信函等方式督促其返校,并将督促学生返校的相关材料副本存档。
学生擅自离校一个月以上,学校可作自动退学处理,并报主管教育行政部门备案。
第二十三条义务教育阶段学生,除丧失学习能力者外,不准退学。
擅自退学或因学校工作失误导致学生退学,按《中华人民共和国义务教育法》有关规定处理。
第二十四条学生死亡,学校应及时报告主管教育行政部门注销学籍。