公司水平衡图
- 格式:doc
- 大小:83.50 KB
- 文档页数:3
江苏春江农化有限公司水平衡示意图
废水量估算
1、含氰废水(以每天2批计,每批洗3次)
浓氰水500kg/天,洗水500kg/天(其中含固氰约10kg)盐份:50kgNaCl 2、酸化水(以每天4批计,每批加水2吨)
酸水8t/天,喷射泵水约1t/天(其中含甲醇、叔丁醇、二甲基乙酰胺)盐份:约0.5tNaCl 3、联苯废水(以每天2批计,每批洗3次)
浓水500kg/天,洗水500kg/天
4、精馏废水(每天正常脱出4桶废水技)
水量4桶约800kg/天(其中含甲醇、叔丁醇、异丙醇、环己烷等)
合计化工废水:11.8吨另:
生活废水:以200人计以及设备冲洗水约20吨/天
目前污水处理站日均处理量:120吨/天
污水处理站设计能力:220吨/天
正常污水站处理污水量:15吨/小时
每天下午排放2小时的量:40吨/天
余量的解释:每天处理125吨废水,车间回用50吨、补充冷却水30吨,排放40吨。
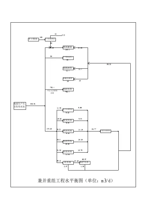
井下排水井下水处理站黄泥灌浆井下洒水抑尘道路洒水转载点洒水消防用水职工生活用水食堂用水沐浴用水池浴用水洗衣用水软水器锅炉用水生活污水处理站地面生产生活饮用水池兼并重组工程水平衡图(单位:m 3/d)1006064.8250752.4338.5111.41086.2282.779.6914.9119.8830.249.9424.1920.1618.7930.8173.2331.3269.1267.052.071.3840外排不计入日常用水量165.28230.15011.410752.45.229.946.0510.6412.5365.57井下排水井下水处理站黄泥灌浆井下洒水抑尘道路洒水转载点洒水消防用水职工生活用水食堂用水沐浴用水池浴用水洗衣用水软水器锅炉用水生活污水处理站地面生产生活饮用水池兼并重组工程水平衡图(单位:m 3/d)1006064.8250752.4338.5111.41086.2282.779.6914.9119.8830.249.9424.1920.1618.7930.8173.2331.3269.1267.052.071.3840外排不计入日常用水量165.28230.15011.410752.45.229.946.0510.6412.5365.57备注:1、井下排水量:根据我矿现实际情况,每三到四天天排一次水,一次排水时间约2小时,根据我矿主排水泵参数可算出,每三天排水量约为390m³矿井水,可算出平均每天约排水100 m³。
2、地面生产生活饮用水池:根据我矿现实际情况,每天腾隆抽水泵供水量约为360 m³。
3、池浴用水:我矿现有3个池浴,2个为长方体池浴,容积约为10.1 m³(长4.15m,宽2.6m,深0.94m);1个椭圆体池浴,容积约为10.6 m³(长半径为2.7m,宽1.53m,深0.82m);3个浴池总容积约为30.8 m³。
用水状况(水平衡图)用水由园区统一供应,企业用水分生活用水、生产用水和污水处理站用水。
企业只安装了入户总水表,仅达一级用水计量。
水表数据显示2010年企业总用水量为26227m3。
①生活用水生活用水主要用于办公楼里清洁、冲厕等。
生活用水按照80L/人·天计,员工人数82人,生活用水总量为1968m3/a。
②生产用水生产用水主要用于预处理、电泳前处理、电泳处理、车间地面冲洗、电着涂装工序冷却及磷化工序清洗压滤机用水。
2010年生产用水总量为23809m3/a。
预处理、电泳前处理、电泳处理等车间用水主要用于水洗、脱脂、电泳等工序;车间冲洗用水用于车间地面的冲洗;冷却水用于车间冷却机的冷却,属间接冷却水,循环使用不外排;磷化压滤机用于处理磷化工序产生的沉积磷化膏,该设备将含磷化膏的液体由磷化槽中抽出,而后进行过滤压榨,过滤的液体排入污水处理站,而未过滤的磷化膏由设备上清理之后还有部分残留,为了清洗残留物,压滤机需定期用水进行清洗。
审核小组现场调研发现,电泳前处理区部分输水管道及贮水设施存在破损情况,水资源漏损情况较严重,经核查每年管网漏水损失约为3485 m3/a.根据企业生产部提供的数据及表3-5的废水排放分析数据,可推算出预处理、电泳前处理、电泳处理用水量分别为 2990m3/a、16542m3/a、1695m3/a;车间冲洗用水1432 m3/a;冷却用水总量为600m3/a;压滤机清洗用水总量为550m3/a。
③污水处理站用水污水站用水用于PAC、PAM、氢氧化钠、石灰乳等药品的配制。
污水站每天配药用新鲜水1m3,冲洗水0.5m3,年用水量为1.5×300 m3=450m3。
企业用水状况见图3-7所示。
总总总总总总总总总总总总总总总总总总总197总总总总总m3/a图3-7 水平衡图公司每年生产用水平衡图分析:物料衡算:输入:26227m3=生活用水1968m3+生产用水23809m3+污水处理站450m3输出:生活水消耗197m3+生活废水1771m3+生产用水损耗7030m3+生产废水16779m3+污水处理站耗水450m3=19000m3其中,生产新鲜水用量:23809m3生产循环水量:85000 m3+8300 m3+6000 m3=99300 m3工业用水循环利用率:生产循环水量/生产总用水量=99300/123109×100%=81%。
市政道路及规划道路将项目区分成6个地块,其中A区为省属大型国有企业总部办公楼(5A级写字楼),B区为办公楼及商业配套设施,C区为幼儿园,D、E区为高层住宅楼及配套设施、F为公共绿地。
项目配套建有幼儿园、小学、物业管理、公厕、垃圾中转站、中水处理站等。
A区主要为商业办公楼,有A1和A2两栋高层建筑,为35层,楼高168m,其中A1为云投总部大楼,A2为富滇银行总部大楼,A区设置单位食堂,A1和A2之间的裙楼为商业,主要为超市和一般商业,超市面积为3000m2,一般商业面积为12135m2,在地下室设置中央空调系统,循环冷却系统设置在地下室内,冷却塔套设置在裙楼5楼楼顶,同时在5楼楼顶有一25m×15m的游泳池,供热采燃气锅炉,设置在A区裙楼建筑5楼,设一备用发电机,在地下室内,除云投总部大楼和富滇银行总部大楼外还有33592m2办公面积对外租售。
B区有B1、B2、B3楼为26层,楼高均为99.8m,主要回迁办公和对外租售,租售面积77093.87m2,B2裙楼1-5F为商业办公用房,商业面积为58699m2,项目区的餐饮行业设置于此,B区东北角为公共绿地,面积4336m2。
C区主要为幼儿园,建筑面积2673m2,设置9班,设置幼儿园食堂。
D区D1、D2、D3、D4共4栋主体建筑,D1、D 3、D 4楼为35层,楼高均为99.8m;D2楼为30层,楼高均为85.6m,1F为商业,D区西边有社区小学,建筑面积5827m2,共4层建筑,设置小学食堂,银行网点位于D1一楼,面积117.25m2,消防控制室位于D3一楼,面积40.30m2,社区警务站位于D2一楼,面积95.60m2,在D区东北侧设置公厕一座。
E区共有7栋主体建筑,为回迁安置房,其中E2、E3、E4、E6、E7为35层,楼高99.9m,E1为35层,楼高99.7m,E5为30层,楼高85.9m。
本项目的社区服务用房位于E区南边的两层物管楼内,建筑面积,垃圾中转站1处,为封闭式垃圾房,位于E区北侧,二楼为公共厕所,E区东北侧设煤气调压站1座,计划引入一社区诊所,布置在D2建筑1F,面积约120m2,D3设置一电信网点,面积72m2,D4设置一银行网点,面积约72m2。