lm4766,lm3866开机关机静音电路
- 格式:doc
- 大小:266.50 KB
- 文档页数:4
简单实用的开关机静音电路
VCC为电源电压,也可用三端稳压输出。
开机静音工作原理:开机,VCC直接加在STBY脚,功放进入工作状态,“关机放电”回路由于D1的存在,Q1的Ue比Ub低0.7V,Q1截止,C3通过D1瞬间充电,电压U=VCC-0.7V。
“开机延时”回路由于C4电压不能突变,Ue大于Ub,Q2导通,Q3也正向偏置导通,MUTE端电压接近为0V,功放静音。
电容C4通过R2、R3充电,充电时间主要由RC决定,电路图的RC常数时间约为3秒,C4充电达到Ue=Ub时,Q2截止,Q3电压为0V,Q3截止,MUTE端电压为VCC电压,静音开放,功放发声。
关机静音工作原理:关机静音主要是使MUTE脚的电压瞬间释放,使功放静音。
关电瞬间,由于VCC电压下降很快,由于D1二极管反接,C3通过Q1放电。
电压降低过程中,Q1的Ue大于Ub,Q1导通,电压加在Q3的B级,Q3导通,使MUTE端电压接近于0V,功放静音。
电路拓展:如采用继电器接电控制,可将R5电阻换成继电器线圈。
不少mp3和蓝牙播放器都带有静音输出控制,将播放器“MUTE”的+端接在电路图MUTE端即可,不需另外加电压。
LM3886和LM4766的内部静音电路相同,静噪脚须加负电压绝对值大于2.5V(比-2.5V更负),每路静音端输出电流大于0.5mA才能静噪。
而LM1876静噪脚电压至少大于+2.5V才能静噪。
第一张图电路简单只能实现开机喇叭防冲击,关机无效。
第二张是LM3886和LM4766的喇叭开、关机防冲击电路,第三张图是LM1876喇叭开、关机防冲击电路。
图中变压器副端指变压器副级两个AC端子任意一个(中心抽头除外)。
< 1 >< 2 >< 3 >我是楼主很久没来了,一楼图没标清楚这里说明一下:图中变压器副端是指副级的两个AC端子任意一端(中心抽头除外)。
简述一下原理,先看下面A,B、C三张IC内部图的静音部分电路,LM4766和LM3886静音电路一样而LM1876不同,但共同点是只要三张图中三极管T3截止就可以实现静音。
要实现开关机防冲击对LM4766(LM3886)来说只要在开关机时让T1截止使得T3截止就实现静音,正常时两管导通。
对LM1876来说要实现开关机防冲击必须让T1导通使得T2、T3就截止实现静音,正常时T1截止T2、T3导通,放大电路正常工作了。
自己分析一楼电路原理就清楚了。
A图(LM4766):B图(LM3886):C图(LM1876):由于LM4766(LM3886)的静音控制端接内部的三极管发射极,所以需要较大的电流(每声道大于0.5mA)才能保证后一级T3可靠导通,而且电流方向是从IC内部流出。
而LM1876静音控制端是接内部三极管基极,所以控制电流可以小很多,方向为静音控制端往IC内部流入。
至于控制端电压加多大看IC内部输入端的两个二极管加上三极管共3个PN结至少得绝对值2V以上,可靠运行得绝对值2.5V以上才可以。
开关机静⾳电路解析
开关机静⾳电路解析
⼀、原理图
图1 开关机静⾳电路
图2 开机静⾳电路
⼆、原理分析
1、图1具有开关机静⾳的功能,靠R435、C425、C426的充放电时序来使Q404导通,进⽽使Q405、Q406导通,静⾳原理是使⾳频输出到地,达到静⾳的⽬的,解决开关机爆⾳。
开机时,12V 电源通过R435和R436向C425充电(由于R435⼩于R436,C425主要通过R435充电。
),通过D401⼆极管向C426充电。
由电容充电时间公式Vc=E (1-e -t/RC ),(E 为加在RC 上的充电电源,e 为常数),可知在充电期间某时刻t ,RC 延时电路看作关机电源
C426电压⼤于C425电压,Q404导通。
从⽽Q405、Q406导通,实现开机静⾳。
C425充满电后,Q404截⽌,Q405、Q406也截⽌(C E极相当于开路),MUTE_L、MUTE_R信号不受静⾳电路影响。
关机时,C425通过D402向12V电源电路上的负载放电,最终流⼊GND。
负载电阻越⼩放电越快,⼀般电源上负载电阻较⼩。
C425快速放完电,然后C426上电压使Q404导通,电流流向Q405、Q406,使其导通,实现关机静⾳。
另外有⼀⼩部分电流(因为R436为⼤电阻)通过R436 和D402流向电源负载电阻,最终导⼊GND。
D401阻⽌C426上电流直接流向12V负载。
2、图2是开机静⾳电路,通过调整R469和C469来控制12V供电的导通,静⾳原理
是使⾳频运放供电延迟,解决开机爆⾳。
开关机延时静音电路————————————————————————————————作者:————————————————————————————————日期:相信大家也看明白上图...因为图上都有标明...HE HE...最左边的是RC延时及放电二极管...中间的是为关机而设置的电路,在此大家可以把它看成一个电源...最右边的是模拟音频信号...再发一图...这图是开机后...电路电流流向...一开机...C1是电容.开机瞬间相当于短路...C1上有二路电流...一路是R1直接流向C1的.另一路是VCC---D2---Q1 E-----Q1 B ---470----C1....因为R1电阻相当大...所以C1上的电流主要是来自第二路电流...说直接点...这种需要在开机瞬间通电的电路延时时间主要是R2 C1的大小有关...在这电路上应该是可以省掉R1了...因为R1在电路中所起的作用不是太大...(关于R1的作用大家可以讨论下.)建议R2值要大点会比较好...在开机后...第二路电流使Q1导通...Q1导通后...VCC---D2----Q1 E-----Q1 C----D3----R4-----Q2 B----Q1 E----GND...使Q2导通...Q2导通后...把V1音频信号-----R5-----的信号给短路...实现开机静音....在C1充满电后...Q1截止了...这时Q1 C极输出电压为0...随之Q2也截止...Q2 C E极相当于开路...对音频信号通过没有影响...HE HE...开机静音电路分析完了.HE HE....现在来分析关机静音电路...先发一图...关机第一步...先放掉C1上的电...HE HE...是怎么样做到的...在关机瞬间...因为C1是电容电容能储能...要把C1上的电放掉.才能在下次开机使静音电路工作...这个放电的工作是由D1完成的...HE HE...因为这个电路是接在电源上的...电源上的各路负载都是有电阻... 也就是上面的模拟电阻R6...这个电阻一般都不是很大...所以C1是的电压是经过D1----负载电阻----GND...完成放电...HE HE...这样下次开机,静音电路就能工作...当然这个负载电阻R6是越小,放电就越快.HE H E...放完电了...HE HE...关机静音也要工作呀...再发一图片.关机静音工作原理...放完C1电的时候....Q1 E由于有个电阻和电容组成的储能元件...相当于关机后还有一个电源...Q1 导通的电流是...Q1 E----Q1 B----R2----D1----负载电阻----地...完成导通...这时Q1 C就输出高电压... HE HE...Q1 导通后...其电流走向和开机时候是一样的...只不过是这个关机后的电源由R3 C2完成代替....关机后...D2反偏截止...R3 C2就相当于一个电源...供Q1 让Q2导通...完成关机静音...HE HE...这个电路可能比较难理解的是负载电阻R6...HE HE...其实大家可以这样理解...这个静音电路是整个系统的一个小部分...大家把这个电源拔下来...可以直接量这个电源二端...会发现电源二端是有电阻的...这个电阻就是负载电阻...这个电阻每个系统是不一样的...越小C1上的电放得越快...效果就越好...另外大家注意....R2的值要比较大点比较好...对开机和关机的电路影响都是比较大的...所以要选择一个合适的值...HE HE...欢迎大家一起讨论这个电路....。
音色醇厚的40W×2集成功放LM4766(图)以往,集成功放留给人们的音色印象是生硬、冷峻,随着清纯自然的LM1875、干净利落的LM3886及柔和细腻的TDA7294等一批客观指标与主观听音皆优的产品面市,集成功放才真正步人了HiFi殿堂。
然而迄今为止,类似胆机温暖色调的产品一直很少。
这里介绍美国国半公司(Ns)推出的40w×2集成功放LM4766,可以称得上是填补此领域空白的佳品。
LM4766主要技术指标为:工作电压±10~±30v;输出连续平均功率(8Ω)40w/每声道;总谐波失真+噪声(PO=30w×2) 为0.00009;声道分离度60dB;信噪比112dB;静音衰减115dB。
LM4766内部两路高品质功放还具有过压、欠压、过载、超温及SPike保护(Ns公司专利)的完善功能,两功放分别有平滑渐变过渡静音控制电路,能做到开/关机完全无冲击。
LM4766外形见图1,15脚封装。
标准应用电路见图2,输入耦合电容选用补品级红色WIMA,电阻全用金膜。
图3是桥式BTL接法,这时每块LM4766可输出100w左右连续平均功率,但注意桥式工作时负载阻抗应等于或大于8Ω。
LM4766立体声功放最适用于推中、小型音箱,以往这类音箱往往存在低音单薄、中高频稍明亮、久听易疲劳等问题,而LM4766具有的温暖润泽、丰富厚实的音色取向恰恰可以弥补这类音箱的不足。
笔者用图2标准电路成品板与晶体管机LUXMAN(力士)A-383及胆机和韵M-100进行听音对比(扬声器为KEFQ15),结果如下:力士A-383完全是标准石机音色,高频延伸好、音色冷艳、速度较快,推书架箱KEF Q15,整体上不太平衡;和韵M-100采用4只EL34,速度较慢、暖意十足,但解析力显得朦胧;LM4766音色上更接近和韵M-100,与KEF Q15的搭配相得益彰,但解析力更加出色,声场定位等要素接近两台参考机水准。
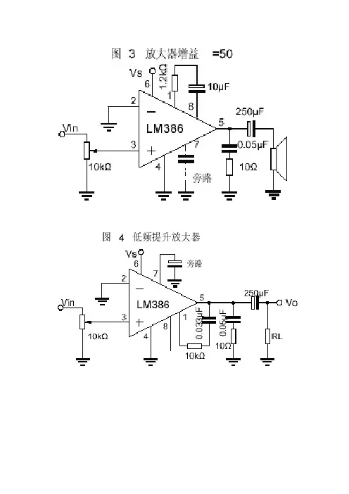
用LM386制作的BTL功率放大器电路图
LM386是一只比较常用的小功率放大集成电路。
用两只LM386可以方便的组成一个BTL 放大电路,功率可以提升到单片的两倍,而且去除了输出电容,音质方面也有所提升。
如下图所示,输出功率可以达到3W以上。
用LM386制作的BTL功率放大器电路
其中第一个图的RP2电位器用来调整两片IC的输出端的直流电位平衡,一般情况下LM386的输出端一致性较好,所以RP2也可以省去。
如果不需要太大的增益,1和8脚的电容也可以去除,第二个图就是简化了的BTL功率放大器电路。
LM386是一种音频集成功放,具有自身功耗低、电压增益可调整、电源电压范围大、外接元件少和总谐波失真小等优点,广泛应用于录音机和收音机之中。
BTL功率放大器:亦称桥式推挽电路,功率放大器的输出级与扬声器间采用电桥式的联接方式,主要解决OCL、OTL功放效率虽高,但电源利用率不高的问题。
与ocL和oTL功放相比,在相同的工作电压和相同的负载条件下,BTL是它们输出功率的3至4倍.在单电源的情况下,BTL可以不用输出电容,电源的利用率为一般单端推挽电路的两倍,适用于电源电压低而需要获得较大输出功率的场合。
LM386组成的助听器电路图助听器主要是由微型拾音器(话筒)、放大器和耳机三部分组成的微小型扩音机。
尽管助听器的电路结构与一般扩音机在形式上较为相似,但二者的要求有差异。
扩音机是按正常人的听力范围及音域设计的,而助听器则根据耳聋患者的失音特征和程度来设计的。
一般助听器对频率响应、谐波失真、噪音等要求虽然没有扩音机那么高,放大器级数也少于扩音机,不过对有关的性能指针均有一定的要求,通常助听器的传声增益要在15~55dB左右,频响在100~600Hz,失真度小于10%~15%。
显然采用LM386集成块是可以满足的。
LM386高频响应可达300kHz,电源电压范围为1~6V时,其静态电源为4mA,适用于电池供电。
图101-1图101-2图101-1为LM386组成的助听器电路。
图中LM386被连接成正相放大器电路。
1、8 脚接有10μF电容,故电路增益被提至最大。
这样做的原因在于LM386的增益不太大,用于助听器时余量并不足,尤其当话筒灵敏度较差时比较明显,调低增益常常不能满足要求。
话筒信号通过RP1和C1耦合至脚,经LM386放大后从5脚输出,再推动耳机发声,RP1用于音量调节,S1为频响选择开关。
当S1置于1、2、3位时,对应的电路频响分别是3000、4500和6000Hz左右,该频响选择电路实际上是一电容衰减电路。
设置它的目的是压缩电路的频响,减弱和消除耳聋者不需的音频成分和噪音,以提高清晰度和减轻耳朵的疲劳感。
C1为输出耦合电容,C4为电源去耦电容。
R1是驻极体话筒BP内场效应管的负载。
助听器的印制电路板如图101-2所示。
元器件焊装完检查无误后,接通电源就能使助听器正常工作。
不过在使用前测一下电路的静态电流是否为1mA左右(DC=4.5V时为3.5mA左右)。
若电流太大,通常是C4或印制板漏电而引起,也可能是LM386质量欠佳,应查明原因修复好。
印制板装完后,将它放入小塑料盒中固定,电源用5~8号小电池或大的钮扣型电池。
专利名称:一种开关机静音控制电路专利类型:实用新型专利
发明人:陈坤坚,刘忠勇
申请号:CN201921914412.0
申请日:20191107
公开号:CN210469724U
公开日:
20200505
专利内容由知识产权出版社提供
摘要:本实用新型实施例公开了一种开关机静音控制电路,包括:主动静音控制电路、开关机静音电路、静音电路的公共部分;开关机静音电路在设备上电时,产生第一处理信号,输出给静音电路的公共部分,使得静音电路的公共部分输出静音控制信号,控制外部音频设备静音;主动静音控制电路接收外部处理器发送的第二控制信号,根据第二控制信号生成第二处理信号,输出给静音电路的公共部分,使得静音电路的公共部分输出静音控制信号,控制外部音频设备静音;开关机静音电路在设备断电时,产生第三处理信号,输出给静音电路的公共部分,使得静音电路的公共部分输出静音控制信号,控制外部音频设备静音。
本实用新型的技术方案,实现开关机过程中保持静音。
申请人:深圳华望技术有限公司
地址:518000 广东省深圳市龙华新区清湖工业园清祥路宝能科技园9栋B座13楼IJ室
国籍:CN
代理机构:北京品源专利代理有限公司
代理人:孟金喆
更多信息请下载全文后查看。
LM3886和LM4766的内部静音电路相同,静噪脚电压起码大于-2.5V,输出电流小于0.5mA才能静噪。
而LM1876静噪脚电压至少大于+2.5V才能静噪。
第一张图电路简单只能实现开机喇叭防冲击,关机无效。
第二张是LM3886和LM4766的喇叭开、关机防冲击电路,第三张图是LM1876喇叭开、关机防冲击电路。
< 1 >< 2 >< 3 >下载 (10.48 KB)2011-10-28 13:49三极管基极与地之间的电阻最好还并一个二极管,关机后放掉电解上的电小电容用104,基极电阻100K左右,电解47U左右,根椐实际的情况再调到整,三极管的耐压要够,用2N5551,一般情况下与第8脚相连的电阻用10K开机静音的,时间由C2和R2决定.C1的作用是防止开机时电压突变的.如果你想控制静音,可以直接控制三极管的基极LM3886静噪功能的开发应用LM3886是美国NS公司推出的50W功放IC,它除了比LM1875功率更大外,还增加了静噪功能脚(⑧脚)。
其⑧脚开路或0V时,静音;而⑧脚输出电流≥0.5mA时(实测⑧脚电压为2.7V),不静音。
我们只需用一个简单电路即可充分发挥该静噪脚的作用,达到开/关机静音的效果,完全避免了对扬声器的有害冲击,甚至可省去扬声器保护电路,电路如下图。
原理为:开机瞬间,C1相当于通路,则Q1导通,⑧脚接地静音,经过约3秒(此时间常数由C1、R2决定,T(秒)=2πR2C1),C1充满电,Q1关断,不再静音,正常输出;关机时,由于本电路中实际的滤波、储能电容C2容量较小(10μF),因此无电流继续流入⑧脚,亦瞬时静音。
由于C1也有储能作用,所以最好经过两分钟之后,即C自放电结束后,再次开机,才能再次静音。
LM3886、LM4766、LM1876
LM3886、LM4766、LM1876这几种常见芯片都自带了开关机静噪的功能,通过外围的一些简单电路就可以实现开关机静噪功能。
其中LM3886、LM4766的静噪外围电路是完全相同的,官方的PDF也给出了具体的接法,只是LM1876没有给出,实践中安装LM4766的线路板也可以安装LM1876,并且也可以实现开关机静噪功能,下面贴出一些图片供大家参考。
静噪.jpg(19.39 KB, 下载次数: 99)
我有一疑问,LM4766和LM1876的内部静噪电路不一样,LM4766是低电位工作,LM1876是高电位工作,但是实践中
LM4766的静噪电路换上LM1876芯片也可以工作!不知原因何在?
1876是高电平静音有效,就是无输出,静噪端低电平或者负压时均可工作
同样功率下,LM1876音质在LM3886之上。
国半在国内有封片厂,wafer厂都在国外。
自从TI收购国半后,压减产品线,也没有在国内建新厂。
汕头国半不在此列。
是做2.1声道音响吗?这个搭配还是可以的,注意LM1876上一定要加大散热器,否则很容易烧管!
其实如果功率需要不是很大的话,TDA1521+LM3886也是不错的选择!
LM1875是25W的
LM1876是双20W的。
LM4766是双40W的。
个人感觉LM1876跟LM4766都非常好,LM1875就稍微差了点点。
其实最好听的还是LM3886。
1. LM4766内电路方框图LM4766集成块内电路除具有两路功能相同的功放电路外,还有各种安全的保护电路,具有过压,失压自动断电保护,过载及短路保护,超温保护(165℃时输出自动关闭155℃时的自动恢复工作),保护功放IC在任何工作状态下不至损坏。
其集成块的内电路方框图及典型应用电路如图所示。
2. LM4766主要电参数有关该电路的电气参数典型值如下:增益带宽乘积(GBWP):8 MHZ转换速率(SLEW RATE):9V/us总谐波失真加噪声(THD+N ):0.06%总静态电流:48mA共模抑制比(CMRR):110dB开环增益(Av):115dB3. LM4766典型应用电路LM4766集成块的典型应用电路如图所示。
LM4766集成电路的引脚功能及数据见表所列。
LM4766引脚功能描述4.选型指南LM4766是NS公司的双声道高保真功放,有两种封装形式,其中LM4766T为无绝缘封装,在额定电压下可得到40W X 2的平均功率输出,LM4766TF为绝缘封装,在额定电压下可得到30WX2的平均功率,在8欧负载下其谐波失真加噪声小于0.06%,每声道都有独立的平滑的淡入淡出静噪功能以减小开关机时的电流冲击,具有较宽的电压范围,20V-78V(VEE+VCC),采用15脚TO-22O封装.最小限度的外围元件,并且具有完善的保护功能(SPIKE PROTECTION),可广泛用于各类高保真音响设备中.以下是LM4766的外观图以及封装尺寸图LM4766和我们熟悉的LM1875/76和LM3886一样,也是国民半导体公司的产品,但它的档次要远远高于这几款产品。
LM4766是一款双声道功放芯片,每个声道在8Ω的负载上可以输出40W平均功率,而且失真小于0.1%,LM4766能做到在人耳可闻频段,30W功率输出的情况下仅仅只有0. 06%的失真和噪声值,这个水平对于LM1875来说,即便在20W的理想功率下也是做不到的。
功放静音电路的工作原理可以分为以下三种情况:
1. 开机静音:电源通过特定路径对电容进行充电,由于电容的特性,电压是缓慢上升的。
当某个点达到某个电压值时,三极管导通,实现静音。
2. 关机静音:主电源迅速降低到接近0V,特定二极管导通,特定电容被瞬间放电,由于其他电容的储能作用,三极管的某端电压高于另一端,导致三极管导通,驱动后级电路。
3. 通过MCU控制的静音电路:当模式切换的时候,MCU通过IO口实现静音。
具体来说,某个三极管的E极电压比B极高,导致三极管导通,实现静音。
LM3886和LM4766的内部静音电路相同,静噪脚电压起码大于-2.5V,输出电流小于0.5mA才能静噪。
而LM1876静噪脚电压至少大于+2.5V才能静噪。
第一张图电路简单只能实现开机喇叭防冲击,关机无效。
第二张是LM3886和LM4766的喇叭开、关机防冲击电路,第三张图是LM1876喇叭开、关机防冲击电路。
< 1 >
< 2 >
< 3 >
下载 (10.48 KB)
2011-10-28 13:49
三极管基极与地之间的电阻最好还并一个二极管,关机后放掉电解上的电
小电容用104,基极电阻100K左右,电解47U左右,根椐实际的情况再调到整,三极管
的耐压要够,用2N5551,一般情况下与第8脚相连的电阻用10K
开机静音的,时间由C2和R2决定.C1的作用是防止开机时电压突变的.如果你想控
制静音,可以直接控制三极管的基极
LM3886静噪功能的开发应用LM3886是美国NS公司推出的50W功放IC,它除了比LM1875功率更大外,还增加了静噪功能脚(⑧脚)。
其⑧脚开路或0V时,静音;而⑧脚输出电流≥0.5mA时(实测⑧脚电压为2.7V),不静音。
我们只需用一个简单电路即可充分发挥该静噪脚的作用,达到开/关机静音的效果,完全避免了对扬声器的有害冲击,甚至可省去扬声器保护电路,电路如下图。
原理为:开机瞬间,C1相当于通路,则Q1导通,⑧脚接地静音,经过约3秒(此时间常数由C1、R2决定,T(秒)=2πR2C1),C1充满电,Q1关断,不再静音,正常输出;关机时,由于本电路中实际的滤波、储能电容C2容量较小(10μF),因此无电流继续流入⑧脚,亦瞬时静音。
由于C1也有储能作用,所以最好经过两分钟之后,即C自放电结束后,再次开机,才能再次静音。