隐蔽工程控制程序
- 格式:doc
- 大小:38.00 KB
- 文档页数:3
隐蔽工程与流程操作管理控制点一、日常工作1、施工现场整理每天不少于二次,场地卫生必须随时清扫,垃圾每天清理。
2、每天下班走人时必须关闭水阀,切断电源、锁好门窗。
3、各工种交接班时必须对排水系统及工作情况进行检查与交底。
4、提高安全防范意识,在使用电动工具和登高设施前应通过安全检查后再使用。
5、做好成品和半成品的保护工作,做到完成一处工作保护一处。
6、主材按照合同约定进场并应得到业主的确认,如有变更应得到业主的认可签名O7、工程或设计变更应及时与业主签订变更联系单,变更单牵连到工程造价时应列明增减价格。
二、水电工程1、进场时必须测弹水平线,检查排水管是否畅通,厨、卫及阳台有无渗漏,抹灰面有无空鼓。
2、严格按照装修许可证审批内容施工,在未领取装修许可证之前,严禁施工拆除工程。
3、必须与业主确认家用电器以及灯具、开关、插座位置。
做好通风口和空调洞的预留工作。
4、开凿管槽时不得破坏原防水层,穿墙打洞时严禁破坏止水带。
5、电线管接头必须采用PVC胶水胶接,暗盒处线管必须套用杯梳加以保护。
6、电线管与水管必须用管卡加以固定,管子并列时,管与管之间必须预留5mm左右的砂浆缝。
7、强、弱电必须分管铺设并保证间隔距离,特殊部位的电线必须套用黄蜡管,严禁裸线施工。
8、严禁改动燃气管道和排水主管,禁止擅自改动强、弱电进户线和接线盒的位置。
9、水管外露头子左热右冷位置应正确,垂直墙面并水平,外露距离应与墙砖面基本平。
10、洁具安装必须采用专用密封圈或玻璃结构胶封闭,吊灯必须采用金属膨胀管固定。
11、安装工程结束必须对电器工程、水工程的所有功能进行全面的测试。
12、水电材料进场必须得到业主确认签字,预埋工程必须与业主进行核实并签字确认。
13、水暖地热工程应在天棚、隔墙主框架完成后铺设,分水器前面的管道应在泥工工程前完成。
三、泥工工程1、修补线管槽和其它抹灰面,必须对基层进行清理并用水湿润,严禁直接抹2、新砌墙面抹灰前必须铲除与其相毗连的原抹灰层,在基层接缝处加贴格布后抹灰。
穿跨越管道阴极保护防腐隐蔽工程过程控制程序本单位规定并实施《管道吹扫、清洗、脱脂、防腐、绝热以及隐蔽工程等管理制度》,其他过程控制程序规定了穿、跨越工程、管道阴极保护工程、防腐工程、隐蔽工程等的主要控制环节17.1 穿跨越工程穿越工程属地下隐蔽工程,跨越工程属于高空作业必须制定有针对性、可行合理的安全技术措施,保证人身设备安全。
17.1.1管道穿越、跨越工程的施工验收应分别符合《石油天然气管道穿越工程施工及验收规范》和《石油天然气管道跨越工程施工及验收规范》的规定。
17.1.2 采用套管穿越的管道,应在输送管穿入套管前,按设计要求焊接牺牲阳极带。
焊接后,测量管道电位是否达到保护电位要求。
输送管的绝缘支撑架应安装牢固,绝缘垫位置正确。
绝缘支撑架不得与阳极帯相连。
17.1.3 输送管穿入套管前,应进行隐蔽工程检查,管套内的污物应清扫干净。
输送管防腐层捡漏合格后方可穿入套管内,穿入后用500V兆欧表检测套管与输送管之间的绝缘电阻,其值应大于2 MΩ. 检测合格后应按设计要求封堵套管的两端口。
17.2 管道阴极保护工程17.2.1 管线阴极保护工程施工及验收应符合《长输管道阴极保护工程施工及验收规范》的规定。
17.2.2 测试桩应经检验合格后方可安装,测试桩的舱门应启闭灵活,密封良好。
接线应准确,螺栓规格应符合设计要求,标牌应牢固。
17.2.3测试引线与管线的连接应采用钎焊或热熔焊,焊点应牢固,无虚焊。
测试线的布放应有余量,回填时应注意保护。
17.2.4 阴极保护投入运行前,应做好自然电位测试,运行后做好电位和保护电流测试。
测试记录应完整。
如果自然电位出现异常应尽早通知设计人员。
17.3 防腐工程17.3.1 管道及其绝热保护层施工及验收应符合《工业设备、管道防腐蚀工程施工及验收规范》的规定。
17.3.2 涂料应有制造厂的质量证明书。
17.3.3 焊缝及其标记在压力试验前不应涂漆。
17.3.4 涂漆前应清除被涂表面的铁锈、焊渣、毛刺、油、水等污物。
隐蔽工程质量管理制度隐蔽工程质量管理制度(Hidden Engineering Quality Management System)是指在建筑工程过程中,对隐蔽部位进行质量管理的一种体系。
它包括预控措施、检查措施和验收措施三个环节,旨在确保隐蔽工程的质量可控、可试验、可追溯。
一、预控措施1.隐蔽工程前应进行严密的施工准备,包括组织人员、准备材料、设备检验等,以确保施工过程的顺利进行。
2.隐蔽工程前,应对施工单位进行技术交底,明确施工要求和质量标准,以提高施工单位的质量意识和责任意识。
3.隐蔽工程施工前,应编制详细的施工方案和施工图纸,对施工过程进行全面的预判和评估,以便及时发现和纠正施工中的问题。
4.在施工开始前,应对施工人员进行技术培训,提高他们的操作技能和质量控制能力,以确保施工人员按照规范进行操作。
二、检查措施1.隐蔽工程施工过程中,应设立专门的质量检查人员或质量检查小组,对施工现场进行定期巡检和现场核查,确保施工质量符合要求。
3.对施工中存在的问题和质量隐患,应及时记录,制定整改措施,并督促施工单位及时进行整改,确保问题得到及时解决。
4.检查过程中发现的质量问题和隐患,应及时向施工单位和建设单位报告,并提出相应的整改意见。
三、验收措施1.隐蔽工程完成后,应进行质量验收,依据相关标准和规范对隐蔽工程进行全面的检验和测试,以确保施工质量符合要求。
2.对于存在问题的隐蔽工程,应要求施工单位进行整改,直至问题得到解决并符合标准要求为止。
3.对于合格的隐蔽工程,应及时进行记录和归档,以备后续的质量追踪和质量保证。
4.对于不合格的隐蔽工程,应进行整改或拆除重建,直至符合要求为止。
并对相关责任人进行相应的处罚和追责。
1.提高隐蔽工程施工质量,减少质量事故的发生。
2.加强施工单位的责任意识和质量管理能力,提高施工质量的可控性。
3.保护施工单位的合法权益,减少纠纷和诉讼。
4.为隐蔽工程的后续验收和维护提供可靠的依据和参考。
隐蔽工程验收要求:
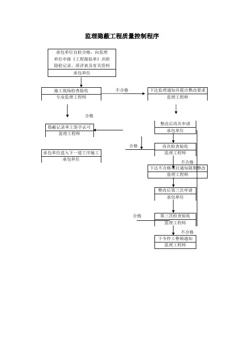
1、隐蔽工程需承包人自检合格后,并在隐蔽前48前以书面通知的形式通知工程师验收,并把验收时间、地点附上,承包人准备验收记录。
2、共同检验监理工程师应在通知约定的时间、地点与承包人共同进行检查验收,验收合格后经监理工程师在验收记录签字后,可以进行下道工序施工。
经验收不合格的,承包人应在监理工程师限定的时间内整改,申请重新验收。
3、重新验收无论工程师是否参加已隐蔽的部位验收,当其对某工程质量有怀疑,均可要求对已隐蔽的重新验收,承包人需进行剥离或开孔,并进行重新覆盖或修复,重新验收合格,发生的价款由发包人承担,并相应顺延工期;检验不合格,承包人承担全部费用、工期不得顺延。
隐蔽工程验收的程序一、引言隐蔽工程是指在建筑或装修过程中,需要进行的一些不易被看到的工作,如管道、电线等的敷设、墙体隔断等。
隐蔽工程验收是保证建筑质量和安全的重要环节,本文将介绍隐蔽工程验收的程序。
二、前期准备1. 隐蔽工程施工前,应按照相关规定进行设计和方案编制,包括施工图纸、技术规范等。
2. 施工方应根据设计方案制定施工计划,并组织相关人员进行培训和安全教育。
3. 施工前应对现场进行勘察和检测,确保施工场地符合要求。
三、施工过程控制1. 施工过程中应按照设计方案进行施工,严格控制质量和安全。
2. 施工人员应按照规定佩戴安全防护用品,避免发生意外事故。
3. 隐蔽管道、电线等敷设时,应注意防水、防火等问题,并采取相应措施。
四、隐蔽验收1. 隐蔽验收是指在隐蔽工程施工完成后,进行的检查和测试。
2. 隐蔽验收应由建设单位或监理单位组织,并邀请相关专业人员参与。
3. 隐蔽验收内容包括管道、电线等敷设质量、墙体隔断等的垂直度、水平度等方面的检查和测试。
4. 隐蔽验收合格后,方可进行下一步施工。
五、隐蔽验收记录1. 隐蔽验收记录应详细记录隐蔽工程施工情况和检查结果。
2. 隐蔽验收记录应由建设单位或监理单位保存,并留存至竣工验收时使用。
六、竣工验收1. 竣工验收是指在建筑或装修完成后,对整个项目进行的检查和测试。
2. 竣工验收应由建设单位或监理单位组织,并邀请相关专业人员参与。
3. 竣工验收内容包括隐蔽工程的质量、安全等方面的检查和测试。
4. 竣工验收合格后,方可交付使用。
七、结论隐蔽工程是保证建筑质量和安全的重要环节,其验收程序必须严格执行。
在前期准备阶段,应制定详细的设计方案和施工计划,并对现场进行勘察和检测。
在施工过程中,应严格控制质量和安全,并注意防水、防火等问题。
隐蔽验收是保证隐蔽工程质量的重要环节,其记录应详细、准确,并由建设单位或监理单位保存。
竣工验收是保证整个项目质量和安全的重要环节,其内容包括隐蔽工程的质量、安全等方面的检查和测试。
第1篇一、施工准备阶段1. 设计图纸审查:对施工图纸进行全面审查,确保设计符合规范要求,并确认施工图纸的准确性。
2. 材料设备采购:根据设计要求,采购相应的建筑材料和设备,如电线、水管、钢筋等。
3. 施工方案编制:根据设计图纸和现场实际情况,编制详细的施工方案,包括施工顺序、施工方法、安全措施等。
4. 技术交底:组织施工人员学习施工方案,明确施工要求和质量标准。
二、施工实施阶段1. 水电线路施工:(1)线路定位:根据设计图纸,确定线路走向,并做好标记。
(2)线路敷设:按照线路定位,进行电线、水管敷设,确保线路平直、整齐。
(3)线路连接:将电线、水管连接好,并进行测试,确保连接牢固、无漏电现象。
2. 管道施工:(1)管道定位:根据设计图纸,确定管道走向,并做好标记。
(2)管道敷设:按照管道定位,进行管道敷设,确保管道平直、整齐。
(3)管道连接:将管道连接好,并进行测试,确保连接牢固、无泄漏现象。
3. 预埋件施工:(1)预埋件定位:根据设计图纸,确定预埋件位置,并做好标记。
(2)预埋件安装:按照预埋件定位,进行安装,确保预埋件牢固、平整。
(3)预埋件验收:对预埋件进行验收,确保预埋件符合设计要求。
三、施工验收阶段1. 隐蔽工程自检:施工完成后,施工单位对隐蔽工程进行自检,确保施工质量符合规范要求。
2. 监理单位验收:监理单位对隐蔽工程进行验收,确认施工质量合格。
3. 甲方验收:甲方对隐蔽工程进行验收,确认施工质量符合设计要求。
4. 隐蔽工程签证:验收合格后,办理隐蔽工程签证,确认隐蔽工程已完成。
四、施工后期阶段1. 施工记录:对隐蔽工程施工过程进行详细记录,包括施工时间、材料、设备、人员等信息。
2. 施工资料整理:整理隐蔽工程施工资料,包括施工图纸、施工方案、验收报告等。
3. 施工总结:对隐蔽工程施工进行总结,分析施工过程中的问题及改进措施。
通过以上流程,确保建筑隐蔽工程施工质量,为后续施工提供可靠的基础。
隐蔽工程监理程序隐蔽工程是指一个工序完工后将被覆盖或掩蔽的某些分项、分部工程,如地基与基础工程,钢筋砼浇注工程等。
隐蔽工程如存在质量问题不被及时发现和处理,而随着覆盖、掩蔽而被埋没,那将会带来莫大的后患,其危害是难以预料的。
因此,对隐蔽工程质量必须严加控制。
1、蔽工程开工前,驻地监理人员应检查承包人的各项准备工作,符合开工条件,方可批准开工申请。
2、当隐蔽工程或某些重要工序完成后,在认真进行自检的前提下,承包人填写隐蔽工程报验单提交驻地监理办。
没有得到监理工程师的批准认可,工程的任何部分均不得覆盖或掩盖。
而且承包人应保证监理工程师有充分的条件,对将予以覆盖或掩蔽的工程的任何部分进行检查和测量。
3、监理工程师对隐蔽工程做现场质量检查,核实所有质量参数是否符合设计和施工验收规范要求。
4、经现场检验,对任何不符合要求的部分,必须由承包人返工处理,并再经检验合格后,监理工程师方可签认隐蔽工程验收单,下道工序方可进行施工。
二、施工进度控制的主要程序(一)编制依据:承包人按照合同中规定的总工期及业主确定的各阶段性目标,根据设备、人员、材料、资金及施工季节等实际情况进行编制。
(二)计划的种类:承包人应根据项目实施各阶段,按照监理工程师的要求编制工程总体计划、年度施工计划、季度施工计划、月度施工计划。
对于重点工程或复杂工程还应编制相应的详细计划。
(三)、计划的内容:1、工程总体计划(1)、工程数量及工作量计划(分月);(2)、网络计划及横道图;(3)、工、料、机计划;(4)、资金需求计划,及S曲线图。
2、年、季度施工计划(或阶段工程施工计划)(1)、分月工程数量及工作量计划;(2)、横道进度图;(3)、工料机计划;(4)、资金需求计划及S曲线图。
3、月度施工计划(1)、工程数量及工作量计划;(2)、横道进度图;(3)、工料机计划。
所有计划必须有编制说明,内容:①完成工作量(产值);②工程项目及工程数量的形象进度:如桩号、数量等;③施工方法;④完成计划的保证措施;⑤施工中注意的问题等。
隐蔽工程质量控制程序一、引言隐蔽工程是指在建筑工程装修或者土建工程中,被后续封闭或者盖住,不易查看的部分。
由于隐蔽工程的特殊性,一旦出现质量问题,往往会影响整个建筑工程的质量和安全。
因此,制定科学合理的隐蔽工程质量控制程序对于确保工程质量至关重要。
二、隐蔽工程质量控制程序的目的隐蔽工程质量控制程序旨在规范和管理隐蔽工程的施工过程,确保施工符合相关标准和规范,提高工程质量,减少质量风险,保障建筑工程的安全运行。
三、隐蔽工程质量控制程序的制定1. 制定依据•《建筑工程质量管理条例》•《建筑工程验收规范》•相关国家标准和规范2. 制定范围隐蔽工程质量控制程序适用于所有涉及隐蔽工程施工的建筑工程项目。
3. 制定内容1.施工前准备工作2.施工过程质量控制3.施工结束前验收四、隐蔽工程质量控制程序的具体内容1. 施工前准备工作•确认隐蔽工程的施工图纸,并进行认真核对。
•确认各种隐蔽工程施工材料的合格证明,并进行验收。
•对施工人员进行隐蔽工程施工技术培训,并制定施工操作规范。
2. 施工过程质量控制•实施施工过程的质量检查,并填写检查记录。
•对隐蔽工程的施工质量进行抽查,并及时纠正问题。
•确保施工过程中的环境整洁,保持施工现场的通风和照明。
3. 施工结束前验收•在施工结束前进行隐蔽工程的验收,确认施工质量符合相关标准和规范要求。
•对隐蔽工程的重要部位进行特殊检测,确保施工质量达标。
五、隐蔽工程质量控制程序的执行1. 主体责任项目经理、监理工程师、施工单位负责人等相关人员应当严格执行隐蔽工程质量控制程序,确保操作规范和施工质量。
2. 检查与评估工程监理单位应当定期对隐蔽工程施工质量进行检查和评估,及时发现问题并提出整改意见。
3. 纠正措施对于发现的隐蔽工程施工质量问题,应当及时采取纠正措施,确保问题得到及时解决。
六、结论隐蔽工程质量控制程序是保障建筑工程质量和安全的重要手段,只有严格执行规范的程序,才能确保隐蔽工程施工质量符合标准要求,提高工程品质。
隐蔽工程如何控?一、常见的隐蔽工程项目及检查内容1、基坑验槽:建筑物应进行基坑验槽,检查内容包括基坑位置、平面尺寸、持力层核查、基底绝对高程和相对标高、基坑土质及地下水位等,有桩支护或桩基的工程还应进行桩的检查。
地基验槽检查记录应由建设、勘察、设计、监理、施工单位共同验收签认。
地基需处理时,应由勘察、设计单位提出处理意见。
2、土方工程:基槽、房心回填前检查基底清理、基底标高、基底处理情况等。
3、支护工程:对锚杆进行编号,检查锚杆、土钉的品种、规格、数量、位置、插入长度、钻孔直径、深度和角度等。
检查地下连续墙的成槽宽度、深度、垂直度、钢筋笼规格、位置、槽底清理、沉渣厚度以及边坡放坡情况等。
其他支护亦按此做隐检。
4、钢筋混凝土灌注桩工程:检查钢筋笼规格、尺寸、沉渣厚度、清孔情况,嵌岩桩的岩性报告等。
5、地下防水工程:检查混凝土变形缝、施工缝、后浇带、穿墙套管、预埋件等设置的位置、形式和构造。
人防出口止水做法。
防水层基层、防水材料规格、厚度、铺设方式、阴阳角处理、搭接密封处理等。
6、钢筋工程:检查绑扎的钢筋品种、规格、数量、位置、锚固和接头位置、搭接长度、保护层厚度和除锈、除污情况;钢筋代用及变更;拉结筋处理、洞口过梁、附加筋情况等。
应注明图纸编号、验收意见,必要时应附图说明。
检查钢筋连接形式、连接种类、接头位置、数量及焊条、焊剂、焊缝长度、厚度及表面清渣和连接质量等。
抗震结构的抗震钢筋安装情况。
7、预应力工程:检查预留孔道的规格、数量、位置、形状、端部预埋垫板;预应力筋下料长度、切断方法、竖向位置偏差、固定、护套的完整性;锚具、夹具连接点组装等。
8、装配式结构:混凝土粗糙面的质量,键梢的尺寸、数量、位置;钢筋的牌号、规格、数量、位置、间距、箍筋弯钩的弯折角度及平直段长度;钢筋的连接方式、接头位置、接头数量、接头面积百分率、搭接长度、锚固方式及锚固长度;预埋件、预留管线的规格、数量、位置;;预制混凝土构件接缝处防水、防火等构造做法;保温及其节点施工。
建筑施工中的隐蔽工程是指在施工过程中上道工序被下道工序所掩盖,无法再次进行其自身的质量检查的部位。
隐蔽工程是建筑施工中非常重要的一环,主要包括电气隐蔽工程、给排水隐蔽工程、暖通隐蔽工程等。
为了保证隐蔽工程的施工质量,确保建筑物的安全、舒适和环保,施工方应严格按照国家相关规范和标准进行施工,并遵循以下施工流程:1. 熟悉图纸和规范在施工前,施工方应认真熟悉图纸和相关规范,了解隐蔽工程的设计要求、施工工艺和质量标准。
针对图纸和规范中的疑问,应及时与设计方、监理方和业主进行沟通,确保对施工要求的理解一致。
2. 准备施工材料和设备根据施工图纸和规范要求,提前准备施工所需的原材料、设备及工具。
对于重要材料和设备,应进行严格的质量检查,确保其符合国家相关标准。
3. 施工放样和定位按照图纸和规范要求,进行施工放样和定位。
对于电气隐蔽工程,要准确预留出开关、插座、灯具等电气设备的位置;给排水隐蔽工程要准确预留出管道、阀门等设备的位置;暖通隐蔽工程要准确预留出风管、水管等设备的位置。
4. 施工操作按照施工工艺和流程进行隐蔽工程施工。
电气隐蔽工程应先敷设电缆、穿线管,然后进行设备安装;给排水隐蔽工程应先敷设管道,然后进行阀门、水嘴等设备的安装;暖通隐蔽工程应先敷设风管、水管,然后进行风机、暖气等设备的安装。
5. 施工质量检查施工过程中,施工方应定期对施工质量进行检查,确保施工质量符合规范要求。
检查内容包括:材料质量、施工工艺、管道安装、设备安装等。
对于检查中发现的问题,应及时进行整改。
6. 隐蔽工程验收隐蔽工程完成后,应进行验收。
验收由施工方、监理方、业主方等相关单位共同参与。
验收内容包括:施工质量、施工工艺、材料设备符合性等。
验收合格的隐蔽工程方可进行下道工序的施工。
7. 资料归档隐蔽工程验收合格后,施工方应将施工过程中的相关资料进行归档,包括施工图纸、施工记录、验收报告等。
这些资料将为今后的维护、改造和扩建提供重要依据。
1 目的对新建、技改工程中的隐蔽工程进行有效的控制和管理,确保隐蔽工程的施工质量满足有关规范和图纸的要求。
2 适用范围适用于公司承担的各专业施工过程中将被其后一个工序所隐蔽的分项、分部工程(各专业隐蔽工程附后)。
3 职责3.1工程管理科(项目部)负责本程序的制订、监督和修改;3.2二级施工单位负责隐蔽工程的施工、自检和报验;3.3项目部负责组织有关各方(甲方、监理、工程科)进行复验;对不合格品进行处置。
44.1 二级施工单位在隐蔽工程施工完毕后,进行自检,自检合格后报项目部(工程管理科),填写隐蔽工程检查记录、;4.2项目部(工程管理科)接到隐蔽工程报验通知后,组织甲方(监理)及其它有关人员及时进行复验,复验合格后,有关各方在隐蔽工程检查记录上签字,工序交接转入下道工序施工;4. 2. 1复验不合格,项目部(工程管理科)下达口头或书面“不合格项目通知书”,责任单位负责按通知进行整改,整改合格后按4.1、4.2执行。
4.3甲方(监理)有关人员接到项目部(工程管理科)复验隐蔽工程通知后,未在约定的时间内到现场参与复验,二级施工单位可进入下道工序施工。
5 相关文件AGJA/CX-01 文件控制程序AGJA/CX-02 记录控制程序AGJA/CX-17 不合格品控制程序AGJA/CX-08 纠正措施控制程序AGJA/CX-09 预防措施控制程序6 记录隐蔽工程验收记录附录:各专业重点隐蔽工程1、土建隐蔽工程:①基础施工前对地基质量的检查;②基坑回填土前对基础质量的检查;③砼浇筑前的预埋件及钢筋工程(包括模板检查);④墙体内敷设的电线管路;⑤屋面板与屋架(梁)的焊接;⑥防水层施工前的基层;⑦避雷引下线及接地引下线的连接。
⑧覆盖前对直埋于楼地面的电缆、封闭前对敷设于暗井道、吊顶、楼板垫层内的设备管道。
2、管道隐蔽工程:①管道除锈;②焊接质量;③埋地管道。
3、设备安装工程:①设备安装前的基础验收;②二次灌浆前的垫铁的检查;。
隐蔽工程验收程序隐蔽工程验收程序隐蔽工程在下一道工序开工前必须进行验收,按照《隐蔽工程验收控制程序》办理。
具体包括:1、基坑、基槽验收建筑物基础或管道基槽按设计标高开挖后,项目经理要求监理单位组织验槽工作,项目工程部工程师、监理工程师、施工单位、勘察、设计单位要求尽快现场确认土质是否满足承载力的要求,如需加深处理则可通过工程联系单方式经设计方签字确认进行处理。
基坑或基槽验收记录要经上述五方会签,验收后应尽快隐蔽,避免被雨水浸泡。
2、基础回填隐蔽验收基础回填工作要按设计图要求的土质或材料分层夯填,而且按《施工与验收规范》的要求,请质监站进行取土检查其密实性,夯实系数要达到设计要求。
以确保回填土不产生较大沉降。
3、砼工程的钢筋隐蔽验收(1)对钢筋原材料进场前要进行检查是否有合格证,即合格证要注明钢材规格、型号、炉号、批号、数量及出厂日期、生产厂家。
同时要取样进行物理性能和化学成分检验,合格方可批量进场。
(2)检查验收钢筋绑扎规格、数量、间距是否符合设计图纸的要求,同一截面接头数量及搭接长度必须符合《规范》的要求。
对焊接头的钢筋,先试验焊工焊接质量,然后按《规范》的要求抽取样品进行焊接试件检验,对不合格焊接试件要按要求加倍取样检验,确保焊接接头质量达标。
(3)对钢筋保护层按设计要求验收。
(4)对验收中存在不合要求的要发送监理整改通知单,直至完全合格后方可在《隐蔽验收记录表》上签字同意进行砼浇筑。
4、砼结构上预埋管、预埋铁件及水电管线的隐蔽验收。
砼结构上通常有防水套管、预埋铁件、电气管线、给排水管线需隐蔽,在砼浇筑封模板前要对其进行隐蔽验收,首先验收其原材料是否有合格证,是否有见证送检,只有合格材料才允许使用;然后要检查套管,铁件要加所用材料规格及加工是否符****news/55B2****E80F0.Html合设计设计要求;再次要核对其放置的标高、轴线等具体位置是否准确无误;并检查其固定方法是否可靠,能否确保砼浇筑过程中不变形不移位。
工程项目隐蔽工程验收程序(二)工程项目隐藏工程验收程序是怎样的?目的是什么?请看建造网编辑的文章。
1.目的本作业贯通项目施工的全过程,不仅是工程质量和持久使用功能的主要保证措施,也是今后追究质量责任的重要依据。
要求主办岗位从工程施工组织设计时起,就要全面熟识了解工程特点和施工单位的质量保证体系,按时到场举行隐藏工程验收,当场做好隐藏验收记录,监督施工单位和监理单位仔细处理整改。
经复验符合要求,并已确切落实了在下道工序施工时保障上道工序质量成绩的保证措施后,才干允许进入下道工序施工。
使工程质量一直处于受控状态。
2.适用范围集团公司全部工程项目凡隐藏工程都务必组织隐藏验收,且需在下一道工序开工前举行验收,本程序适用于公司全部项目隐藏工程的验收。
3.验收程序和规定3.1施工单位自检3.1.1现场监理监督施工单位负责人组织自检,填写“分项工程质量检验评定表”并签字,上报项目工程部审核,并提出验收申请。
3.2确认参加检验人员3.2.1施工单位需提前一天联系项目工程部、设计管理中心、监理单位等有关人员参与验收。
3.3开展验收工作3.3.1项目总工程师组织监理单位负责人员、施工单位有关负责人员、质量管理人员举行隐藏工程验收。
3.3.2验收不合格的项目工程部责令施工单位整改后举行复检。
3.3.3验收或复检合格的,项目总工程师在施工单位填报的“隐藏工程验收记录”上签字同意隐藏,施工单位方可隐藏。
3.4无按隐藏工程专项要求办理验收的项目,建设单位不办理工程验收。
3.5施工单位未通知验收而自行隐藏工程的,事后建设单位有权要求对已隐藏的工程举行检查,施工单位应该根据要求举行剥露,并在检查后重新隐藏或者修复后隐藏。
倘若经检查隐藏工程不符合要求的,施工单位应该返工,重新举行隐藏。
在这种状况下检查隐藏工程所发生的费用如检查费用、返工费用、材料费用等由施工单位负担,施工单位还应担当工期耽误的违约责任。
4.隐藏工程验收的项目隐藏工程在下一道工序开工前务必举行验收,根据《隐藏工程验收控制程序》办理,详细包括:4.1基坑、基槽验收:建造物基础或管道基槽按设计标高开挖后,项目工程部书面上报监理单位或项目专业分管人员组织验槽工作,项目专业分管人、监理工程师、施工单位、设计管理中心要求尽快现场确认土质是否满意承载力的要求,如需加深处理则可通过工程联系单方式经设计方签字确认举行处理。
管道施工隐蔽工程施工程序一、准备工作1. 接到工程任务书后,施工单位应根据设计图纸和相关规范要求编制制定施工方案,并提交给业主或监理单位审核并确认。
2. 施工单位应根据设计要求准备施工所需的施工机械、设备和材料,并按照质量要求进行验收。
3. 根据施工图纸确定施工人员及其职责,并进行培训。
4. 制定安全生产方案、施工方案和施工组织设计,并报送监理单位审核并备案。
5. 根据施工计划和进度安排各项工作。
6. 提前做好现场环境保护措施和施工现场的组织协调工作。
二、基础处理1. 按设计要求进行基坑开挖,并清除基坑底部的杂物和泥浆。
2. 对基坑底部进行坍塌处理,采取适当的加固措施。
3. 在基坑底部进行松土处理,使基坑底部达到设计要求的承载能力和平整度。
4. 进行基坑排水和防渗处理,确保基坑底部干燥,防止污泥和水渗透。
5. 在基坑底部进行材料的铺设和均匀压实,使基础坚实牢固。
6. 基础处理完毕后,进行验收并做好记录。
三、管道预制1. 按照设计要求,确定管道的尺寸、连接方式和材料,进行管道预制。
2. 对预制的管道进行质量检验,确保管道符合设计要求。
3. 对预制的管道进行表面清理和除锈处理,使其表面平整干净。
4. 在管道的连接部位进行加强处理,确保管道连接牢固。
5. 进行管道的翻新和绘制,做好管道的标识和记录工作。
6. 对预制的管道进行验收,并做好记录。
四、管道敷设1. 按照设计图纸和施工方案确定管道的敷设路线和高程控制点。
2. 进行管道的解卷和是固定,确保管道不发生变形和位移。
3. 对管道进行连接和保护,确保管道的密封性和耐腐蚀性。
4. 进行管道的倒入和定位,在管道敷设结束后进行调整。
5. 对管道进行压力试验和泄漏检查,确保管道的使用安全性。
6. 对管道敷设进行验收,并做好管道的标识和记录。
在管道施工隐蔽工程施工过程中,施工单位应遵守相关规范要求,做好质量控制和安全管理工作。
并及时解决现场问题,确保施工按照设计要求进行,保证工程的质量和安全。
隐蔽工程施工方案及施工流程一、引言隐蔽工程是指在建筑、装修等工程中不能直接触及和观察到的部分,包括电力、通风、水暖等基础设施工程。
本文将介绍隐蔽工程的施工方案及施工流程。
二、施工方案1. 资料准备在施工前,需要准备齐全的设计图纸、规范要求、相关技术说明等资料,以便进行施工方案提出和评审。
2. 工程量测算根据设计图纸,对所需材料和施工工艺进行测算,确定所需材料的种类和数量,并准备相应的采购计划。
3. 设备准备根据施工方案和工程量测算结果,准备所需的施工设备和工具,确保施工过程中的顺利进行。
4. 人员组织根据工程规模和施工难度,合理组织施工人员,确保施工人员具备相关技术能力,从而保证施工的质量和效率。
5. 安全措施在施工过程中,需要制定安全措施,并进行相应的安全培训,保障施工人员的人身安全,避免因施工事故导致的人为损失。
三、施工流程1. 施工准备包括工地搭建、施工现场清理、材料采购等准备工作。
确保施工现场整洁有序,为后续工作的展开提供良好条件。
2. 预埋管道施工根据设计要求,在地面或墙体内进行预埋管道的施工,包括明管、暗管等。
施工过程需要注意管道的坡度、弯头的布置和固定等细节问题。
3. 管道穿越施工当隐蔽管道需要穿越不同空间或层高时,需要进行穿越施工。
施工时需要注意管道的密封性和穿越结构的强度。
4. 安装设备在管道施工完成后,进行设备的安装,包括水泵、风机、电力设备等。
安装过程需要注意设备的水平、垂直和固定等细节问题。
5. 联调测试在设备安装完成后,进行相关设备的联调测试,确保设备之间的正常配合和工作状态的稳定。
6. 隐蔽工程验收根据设计要求和规范要求,进行隐蔽工程的验收。
验收包括外观检查、功能测试等,确认工程质量符合要求。
四、总结隐蔽工程的施工方案及施工流程是保证工程质量的重要环节。
通过合理的施工方案和严谨的施工流程,可以确保隐蔽工程的顺利进行和验收合格。
希望本文的介绍可以对相关从业人员提供一定的参考和指导。
主体工程隐蔽工程施工流程一、工程概况主体工程隐蔽工程是指在建筑物的结构、管道、电气、暖通等系统中,那些在施工过程中被后续工序覆盖,一旦出现质量问题难以检查和维修的部位。
隐蔽工程施工质量的好坏直接关系到建筑物的使用安全和寿命,因此,严格按照施工流程进行施工至关重要。
二、施工准备1. 技术准备:施工前,施工单位应认真阅读设计图纸,了解工程特点、施工要求和技术规范,编制详细的施工方案和质量保证措施。
2. 人员准备:安排具备相应资质的施工人员、技术人员和质量检查人员参与施工,并对他们进行技术培训和质量教育。
3. 材料准备:根据施工方案和设计要求,提前准备合格的建筑材料、构配件和设备。
4. 施工工具准备:准备齐全的施工工具和检测设备,确保施工顺利进行。
三、施工流程1. 管道工程(1)先进行管道开槽,开槽宽度、深度应符合设计要求,开槽过程中要注意保护管道预留位置。
(2)管道安装应按照设计图纸进行,管道应平直、牢固,固定间距应符合规范要求。
(3)管道连接应采用焊接、法兰连接等可靠连接方式,连接处应严密,防止渗漏。
(4)管道试压:管道安装完毕后,进行压力试验,试验压力应符合设计要求,稳压时间应符合规范要求。
2. 电气工程(1)电气线路敷设应按照设计图纸进行,线路应整齐、牢固,固定间距应符合规范要求。
(2)电线保护管应符合设计要求,管内电线数量应符合规范要求,同一管内不宜有不同电压等级的电线。
(3)盒、箱、柜安装应牢固,位置应正确,接线应符合设计要求,绝缘电阻应符合规范要求。
(4)电气设备安装应按照设计图纸进行,设备应固定牢固,接线应正确,绝缘电阻应符合规范要求。
3. 暖通工程(1)通风管道开槽应符合设计要求,注意保护管道预留位置。
(2)通风管道安装应平直、牢固,固定间距应符合规范要求。
(3)通风管道连接应采用焊接、法兰连接等可靠连接方式,连接处应严密,防止漏风。
(4)通风系统试压:通风系统安装完毕后,进行压力试验,试验压力应符合设计要求,稳压时间应符合规范要求。
1 目的
对新建、技改工程中的隐蔽工程进行有效的控制和管理,确保隐蔽工程的施工质量满足有关规范和图纸的要求。
2 适用范围
适用于公司承担的各专业施工过程中将被其后一个工序所隐蔽的分项、分部工程(各专业隐蔽工程附后)。
3 职责
3.1工程管理科(项目部)负责本程序的制订、监督和修改;
3.2二级施工单位负责隐蔽工程的施工、自检和报验;
3.3项目部负责组织有关各方(甲方、监理、工程科)进行复验;对不合格品进行处置。
4
4.1 二级施工单位在隐蔽工程施工完毕后,进行自检,自检合格后报项目部(工程管理科),填写隐蔽工程检查记录、;
4.2项目部(工程管理科)接到隐蔽工程报验通知后,组织甲方(监理)及其它有关人员及时进行复验,复验合格后,有关各方在隐蔽工程检查记录上签字,工序交接转入下道工序施工;
4. 2. 1复验不合格,项目部(工程管理科)下达口头或书面“不合格项目通知书”,责任单位负责按通知进行整改,整改合格后按4.1、4.2执行。
4.3甲方(监理)有关人员接到项目部(工程管理科)复验隐蔽工程通知后,未在约定的时间内到现场参与复验,二级施工单位可进入下道工序施工。
5 相关文件
AGJA/CX-01 文件控制程序
AGJA/CX-02 记录控制程序
AGJA/CX-17 不合格品控制程序
AGJA/CX-08 纠正措施控制程序
AGJA/CX-09 预防措施控制程序
6 记录
隐蔽工程验收记录
附录:各专业重点隐蔽工程
1、土建隐蔽工程:①基础施工前对地基质量的检查;②基坑回填土前对基础质量的检查;③砼浇筑前的预埋件及钢筋工程(包括模板检查);④墙体内敷设的电线管路;
⑤屋面板与屋架(梁)的焊接;⑥防水层施工前的基层;⑦避雷引下线及接地引下线的连接。
⑧覆盖前对直埋于楼地面的电缆、封闭前对敷设于暗井道、吊顶、楼板垫层内的设备管道。
2、管道隐蔽工程:①管道除锈;②焊接质量;③埋地管道。
3、设备安装工程:①设备安装前的基础验收;②二次灌浆前的垫铁的检查;。