人行天桥工程管理流程图
- 格式:doc
- 大小:73.50 KB
- 文档页数:1
●主要施工方法一、工程概况工程名称:xx人行天桥工程地点:xx支三路以东约40米处建设单位:xx市政建设开发总公司设计单位:xx市政工程设计院本工程为跨越xx的行人和自行车过街天桥,位于xx在支三路以东附近处。
其主要功能是为了解决xx在支三路附近北侧居民的出行和避免大幅度的挖深的需要。
xx是东西向穿越本岛的一条城市主干道,未来将过渡为城市快速路。
xx在支三路北附近,高程低于现状地面甚多,建成后的xx北侧将形成高档墙挡护的格局,行人过街不易;同时按道路北侧规划,该地区将建一所小学。
天桥设于支三路路口以东40余米处。
该位置路北侧为三级档墙,天桥以单跨越xx机动车道,两端带人行道及自行车推坡道:北端接主桥以单跨跨越人行道接北侧第一级挡墙顶端平台上方;从而实现北侧居民直接与路南的联系。
通过梯道及坡道为行人、自行车过街分别提供了方便。
满足交通功能要求。
该桥桥型简洁明快,有轻盈的外观,可漆成乳黄色,远观若隐若现,能淡化自身与周围环境相协调。
梯道及坡道对称布置,有利于缩小其在路纵向的体量,形成对称美;通过各自休息平台的组织,使梯道和坡道的空间曲线交错上升,形成富有韵律的动感造型,有很好的造景效果。
二、天桥技术参数与结构特点1、桥面净宽:桥面净 5.1米,总6米。
坡道净宽: 1.8+2*0.1=2.0米;梯道净宽: 1.35+2*0.1=1.55米。
2、桥下净空:机动车道高 5.0米,人行道高 2.3米;3、荷载(考虑偏载):5kn/m2,风荷载 1.0kn/m2,地震烈度为7度。
主桥为单跨43.20m的中承式钢管砼拱桥,矢跨比1/6,拱肋及加劲梁,主拱内径600mm,供脚处内径800mm,吊杆采用φ40Ⅳ级冷拉钢筋,外面罩φ50×3不锈钢管防锈和装饰,拱肋为二次抛物线的曲线拱,吊杆间距为5m,拱的中矢高7.2m,桥下车道净空大于5m,拱肋间在拱脚段设K撑,拱顶设两处横撑。
拱梁固结结构,主梁全长34.892m。
224省道昆山玉山-张浦段养护改善工程S2标段(K53+650-K57+800)人行天桥施工方案中交一公局第二工程有限公司二○一一年四月目录1 编写依据 02 工程简介 03 梯道接地扩大基础施工方案 03.1主要施工设备及人员配备 (1)3.2施工工艺及方法 (2)4 天桥墩柱施工方案 (6)4.1施工准备 (7)4.2天桥墩柱施工 (8)5 钢箱梁加工安装施工方案 (11)5.1制造工艺方案 (11)5.2运输方案 (29)5.3现场安装方案 (30)6 护栏安装方案 (38)7 桥面铺装 (39)8 各项施工保证措施 (41)8.1工期计划 (41)8.2材料的保障措施 (41)8.3机械设备的保障措施 (41)8.4雨季施工保证措施 (41)8.5安全保证措施 (42)8.6环境保护及现场文明施工保证措施 (42)人行天桥施工方案1 编写依据1.1 《公路桥涵施工技术规范》(JTJ 041-2000)1.2 《市政桥梁工程质量检验评定标准》(CJJ 2-1990)1.3 《施工图设计》1.4 《总体施工组织设计》2 工程简介本标段内共人行天桥两座,分别位于K54+316.000处和K54+965.000处。
天桥桥面宽3.5m,梯道宽3.5m,桥下净高不小于5.5m。
天桥主梁、梯道梁均为钢结构,由钢板焊接组合而成,主梁结构为等截面钢箱梁,梁高1.2m,箱梁顶宽3.5m,底宽1.9m。
主梁结构采用Q235C钢。
梯道梁及踏步钢板采用Q235B钢。
天桥墩柱均采用钢管砼结构,主墩墩柱直径0.8m,梯道墩柱直径0.6m,立柱及附属结构采用Q235B钢。
基础采用钻孔灌注桩或者扩大基础。
其中主墩桩基为直径1.5m钻孔灌注桩,梯道墩桩基为直径1.2m 钻孔灌注桩,梯道接地处采用扩大基础。
其中桩基础及扩大基础采用C30混凝土,垫层采用C15混凝土,钢立柱灌C30微膨胀混凝土。
每座天桥均有钻孔灌注桩13根,其中主墩基础三根,直径1.5米,梯道基础十根,直径1.2米,桩长均为30米;扩大基础4座;墩柱十三根,主墩墩柱直径0.8m,梯道墩柱0.6m。
6 焊工 6 12 砼工10机械设备配备表序号设备名称规格型号数量备注1 电焊机75KVA 6台2 钢筋切断机GJ6-41台3 钢筋弯曲机TBT-41台4 钢筋调直机1台5 吊车PY-25T2台6 插入式振捣器ф50 6台7 预应力张拉设备250t 2台配套油泵2台,油表4个8 空压机3m³/min1台9 电锯刨1台一、施工方案人行天桥施工顺序:桩基础→承台、墩基础、墩柱→预应力现浇箱梁→桥面砼及附属工程。
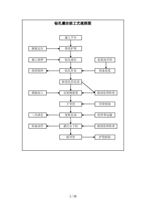
1、桩基施工(1)机械就位、护筒埋设施工场地平整处理,保证冲击钻机底座场地应平整、夯实,避免在钻进过程中钻机产生沉陷。
桩位确定后,利用十字线放出四个控制桩位,并以四个控制桩为基准进行埋设护筒。
护筒由厚度4-6mm钢板制成,护筒直径比桩基孔径大100-150mm,每节护筒长度1.5-3.0m,护筒至少高出地面30cm.以防止杂物、泥水流入孔内。
(2)泥浆调制因钻机施工中静态泥浆可以防止孔壁坍塌、抑制地下水、悬浮钻渣等作用,为此泥浆是保证孔壁稳定的重要因素。
由于地基岩土中又夹有粉砂土层、砂层,地面水位较高的特点,调制出良好泥浆的各项性能指标尤为重要。
泥浆相对密度:1.02-1.10,粘度:18-22s,砂率≤4%,泥皮厚度:<2mm,PH 值:大于7。
施工过程中随时检测清孔后灌注砼时泥浆的各项性能指标,确保泥浆对孔壁的撑护作用,避免发生施工事故。
(3)钻孔施工钻机就位后,调整钻杆垂直度,注入调制好的泥浆,然后进行钻孔。
钻孔作业应分班连续进行,填写钻孔施工记录,交接班时应交待钻进情况及下一班应注意事项。
应经常对钻孔泥浆及钻机对位进行检测,不符合要求时,应及时改正。
应经常注意地层变化,在地层变化处应捞取样渣保存。
(4)成孔检查当钻孔深度达到设计要求时,对孔深、孔径、孔位等进行检查,确认满足设计要求,并经监理工程师认可,方可进行孔底清理和灌注水下混凝土的准备工作。
(5)清孔采用正循环回转钻进技术清孔方法为:桩孔终孔后,将钻具提高,采用大泵量泵入新泥浆,并维持正循环30min以上,直到清除孔底沉渣且使孔壁泥质、泥浆含砂量小于4%为止。
混凝土人行天桥施工技术规程一、前期准备1.1 确定施工方案在施工前,需要根据工程地形、交通流量等情况,制定出合理的施工方案。
方案应包括施工的时间、施工的步骤、需要使用的材料、设备以及劳动力等方面的内容。
1.2 选择合适的材料混凝土人行天桥的建造需要使用多种材料,如水泥、砂子、石子、钢筋等。
在选择材料时,需要考虑到材料的质量、性能、价格等因素,并且需要检查材料是否符合国家标准或工程要求。
1.3 采购设备和工具在施工过程中,需要使用各种设备和工具,如塔吊、混凝土搅拌机、打桩机等。
需要根据工程规模和施工方案,选择合适的设备和工具,并进行采购。
混凝土人行天桥的施工需要大量的劳动力,包括工程技术人员、建筑工人等。
需要根据施工方案,安排足够的劳动力,并且需要培训和管理好工人,确保施工质量和安全。
二、施工准备2.1 确定施工现场在施工前,需要确定施工现场的位置,清理垃圾和障碍物,并且确定施工区域的范围,确保施工区域的安全和通畅。
2.2 安装围挡在施工现场周围安装围挡,防止施工过程中的材料和设备对周围环境造成污染和伤害,并且保护施工人员和行人的安全。
2.3 准备施工材料和设备在施工前,需要将所需的材料和设备运送到施工现场,并且进行检查和准备。
根据施工方案和工程要求,安排施工人员,确保施工过程中各项工作的顺利进行。
三、施工步骤3.1 基础施工在混凝土人行天桥的建造中,基础施工是非常重要的一步。
首先需要进行地面平整和压实,然后在地面上打钢筋网,再进行浇筑混凝土,待混凝土初凝后,进行压光和抹平。
3.2 塔吊安装在基础施工完成后,需要安装塔吊。
塔吊的安装需要遵守国家相关规定,进行专业的安装和检查,确保塔吊的安全和稳定。
3.3 钢筋加工和安装钢筋是混凝土人行天桥的重要组成部分,需要进行加工和安装。
首先需要进行钢筋的加工,包括切割、弯曲等,然后将钢筋放置在预留的位置并进行连接。
3.4 模板安装在钢筋安装完成后,需要进行模板的安装。
⼈⾏天桥施⼯⽅法(完整已排版)⼈⾏天桥施⼯⽅法⼀、⼯程概况1)K34+820、k38+080、K39+730处各设置1座钢结构⼈⾏天桥。
2)设计⼈群荷载为3.5KN/m2,栏杆⽔平荷载为2.5KN/m,竖向荷载为1.2KN/m。
桥⾯全宽3.5m,净宽3.2m;梯道宽3.0m,净宽2.7m。
机动车道桥下净空5.5m,⼈⾏道边缘最⼩净空2.5m。
地震⼒:控震防烈度6度(设计地震基本加速度0.05g,第⼆组)。
温度影响⼒:按升温20度,降温20度计算。
基础变位影响⼒:按⽔平位移20mm,竖向位移20mm考虑。
3)桥梁主体在⼯⼚分段加⼯制作,⼯地现场焊接拼装。
主梁⼯⼚分⼆段制造,梯道梁⼯⼚⼯⼚分三段制造,⼯地安装焊为⼀体。
桥⾯铺装:铺装层总厚度为7cm,设3.5cm厚C40细⽯混凝⼟层,然后抹7.5号⽔泥砂浆,铺设⼴场砖厚2cm。
下部结构均采⽤钢管混凝⼟墩柱,主墩柱直径1.0m,梯道墩柱直径0.7m。
桩基直径为1.2m与0.8m,桩基要按照规范要求进⾏检测。
⼆、泥浆护壁钻孔灌注桩1、施⼯顺序平整场地、架设平台、埋设护筒、钻机就位、钻孔、清孔、下钢筋笼、浇注⽔下混凝⼟、截桩头。
2、施⼯放样及准备⼯作⾸先修整便道,进⾏场地平整,设备及材料进场。
然后进⾏桩位放样,埋设相应的护桩,护桩要坚固,并埋设在不易碰撞的地⽅,并定期复测。
3、埋设钢护筒钢护筒根据钻孔桩直径采⽤10毫⽶厚的钢板卷制⽽成。
内径⽐桩径⼤40厘⽶,同时壁外要⽤肋板加固。
护筒安装必须准确,并保证⼀定的⼊⼟深度,防⽌钻孔过程中上部孔⼝处⼟层的塌陷。
钢护筒顶部必须超出施⼯平台线或地⾯0.5m以上,保证孔⼝⽔压⼒。
4、泥浆池的设置和泥浆制备在钻孔灌注桩附近设置⾜够⼤的泥浆池,供泥浆循环时使⽤。
钻孔桩泥浆由⽔、粘⼟及添加剂组成,具有浮悬钻渣、冷却钻头、润滑钻具、增⼤静⽔压⼒,并在孔壁形成泥⽪,隔断孔内外渗流,防⽌坍孔作⽤。
5、钻孔待钻机安装就位后,使成孔中⼼与桩位中⼼在同⼀铅垂线上,外尖采取措施使之平稳牢固。
桥梁施工工艺流程图跨线桥及人行天桥施工工艺流程图现浇钢筋砼连续箱梁施工工艺流程图预应力箱梁施工工艺流程图雨、污水管道工程施工工艺流程图雨水污水给水管道工程施工工艺流程图水泥稳定石粉渣基层施工工艺流程图电力管、通信管、电缆地沟施工工艺流程图现浇钢筋砼挡墙施工工艺流程图装配式钢筋混凝土挡土墙施工工艺流程图附属构筑物施工工艺流程图质量保证体系一、总则(一)本质量保证体系是针对宝安区西乡大道107国道立交工程而制定。
(二)为了保证所承建的工程施工质量自始自终处于受控状态,特制定本质量保证体系。
(三)在运作质量保证体系的同时,还必须执行国家现行的有关技术标准及规范的规定。
(四)本质量保证体系制定的依据是:以ISO9002质量体系所制定的质量手册及质量管理文件为依据,针对宝安区西乡大道107国道立交工程的具体情况及国家执行有关技术标准及规范的规定制定二、质量方针及质量目标(一)质量方针:以质量为本,精心施工,高效优质,以信誉取胜。
(二)质量目标:创优良工程,为特区二次创业建设作贡献。
三、质量管理体系及质量岗位职责(一)质量管理组织机构如图附表。
(二)质量管理体系:详见《宝安区西乡大道107国道立交桥创优管理体系图》。
(三)质量岗位职责(主要负责人)1、项目经理质量岗位职责:(1)在上级主管的领导下,认真贯彻公司的质量方针和目标,组织制定具体措施,确保本经理部全体人员的理解和贯彻执行。
(2)坚持“质量第一、用户至上”的思想,在施工中应自始自终地把这一思想作为质量控制的基本,推动创优工程的活动。
(3)根据质量计划,结合项目工程的实际,建立组织机构,配齐所需资源,落实质量责任制。
(4)主持项目工程的质量策的领导下划,参与组织质量审核,组织落实纠正措施,并督促实施。
(5)全面履行项目工程的管理职责,对工程的重大、大质量事故负全责任。
(6)经常深入工地调查研究,及时推广保证工程质量的先进施工工艺,表彰奖励质量管理先进集体和个人。
目录1、编制依据 ........................... 错误!未定义书签。
2、工程概况................................ 错误!未定义书签。
3、钢结构工程深化设计...................... 错误!未定义书签。
、详图深化.............................. 错误!未定义书签。
、深化设计方案.......................... 错误!未定义书签。
4、钢结构加工制作.......................... 错误!未定义书签。
、准备工作.............................. 错误!未定义书签。
、加工工艺.............................. 错误!未定义书签。
5、质量保证体系............................ 错误!未定义书签。
质保证体系.............................. 错误!未定义书签。
制作过程的自检.......................... 错误!未定义书签。
6、钢箱梁预拼装............................ 错误!未定义书签。
试拼装方案............................. 错误!未定义书签。
预拼装方案............................. 错误!未定义书签。
7、构件的运输.............................. 错误!未定义书签。
、运输条件.............................. 错误!未定义书签。
、运输路线.............................. 错误!未定义书签。
、构件装运.............................. 错误!未定义书签。
、运输中的成品保护...................... 错误!未定义书签。
人行天桥保证质量和安全的具体措施第一章质量保证体系及措施第一节质量目标总体质量目标:达到国家现行有关施工质量验收规范要求,并达到合格标准。
第二节质量保证体系质量保证体系包括组织保证、制度保证和施工保证。
项目经理为本项目质量管理第一责任人,落实质量责任终身制要求和规范操作,实施质量计划。
第三节质量管理措施按横向到边、纵向到底的顺序实行对施工过程进行全面质量管理,明确责任,保证工程按计划优质、快速、顺利地完工,根据国家建设部颁发有关规定,针对本标段工程特点制定本质量保护措施。
1、加强施工技术管理,严格执行以技术负责人为首的技术责任制,使施工管理标准化、规范化、程序化。
认真熟悉施工图纸,深入领会设计意图,严格按照设计文件和图纸施工,吃透设计文件和施工规范,施工人员严格掌握施工标准、质量检查及验收标准和工艺要求并及时进行技术交底,在施工期间技术人员要跟班作业,发现问题及时解决。
2、严格执行工程监理制度,施工队自检、经理部复检、合格后及时通知监理工程师检查签认,隐蔽工程必须经监理工程师签认后方能施工。
3、经理部:作业设专职质检工程师、班组设兼职质检员,保证施工作业始终在质检人员的严格监督下进行。
质检工程师有质量否决权,发现违背施工程序、不按设计图、规则、规范及技术交底施工,使用材料半成品及设备不符合质量要求者,有权制止,必要时下停工令,限期整改并有权进行处罚,杜绝不合格成品。
4、制定施工计划的同时,编制详细的质量保证措施,没有质量保证措施质量保证体系和措施不完善或没有落实的应停工整顿,达到要求后再继续施工。
5、建立质量奖罚制度,明确奖罚标准,做到奖罚分明,杜绝质量事故发生。
6、严格施工纪律,把好工序质量关,上道工序不合格不能进行下道工序的施工,否则质量问题由下道工序的班组负责。
对工艺流程的每一部工作内容要认真进行使施工规范化。
7、制定工程创优规划,明确工程创优目标,层层落实创优措施,责任到人。
8、坚持三级测量复核制,各测量桩点要认真保护,施工中可能损毁的重要桩设好护桩,施工测量放线要反复校核。
《城市人行天桥施工方案(交通组织与安全设计)》一、项目背景随着城市的快速发展,交通流量不断增大,人车矛盾日益突出。
为了提高行人过街的安全性和便利性,改善城市交通环境,拟在[具体地点]建设一座人行天桥。
该人行天桥的建设将有效缓解该区域的交通压力,减少行人与车辆的冲突,提高交通效率。
二、施工步骤1. 施工准备- 技术准备:熟悉施工图纸,进行技术交底,编制施工方案和安全技术措施。
- 现场准备:清理施工现场,平整场地,修筑施工便道,搭建临时设施。
- 材料准备:根据施工进度计划,组织材料、构配件和设备的采购、运输和储存。
- 劳动力准备:组织施工队伍,进行技术培训和安全教育。
2. 基础施工- 测量放线:根据设计图纸,进行基础的测量放线,确定基础的位置和尺寸。
- 基坑开挖:采用机械开挖和人工清理相结合的方式,开挖基础基坑。
基坑开挖过程中,要注意控制开挖深度和坡度,防止坍塌。
- 基础浇筑:在基坑验收合格后,进行基础混凝土的浇筑。
基础混凝土采用商品混凝土,浇筑过程中要注意振捣密实,防止出现蜂窝、麻面等质量问题。
3. 立柱施工- 立柱钢筋制作与安装:根据设计图纸,制作立柱钢筋,并进行安装。
立柱钢筋的安装要保证位置准确,连接牢固。
- 立柱模板安装:采用组合钢模板,安装立柱模板。
模板安装要保证垂直度和平整度,防止出现变形。
- 立柱混凝土浇筑:在模板验收合格后,进行立柱混凝土的浇筑。
立柱混凝土采用商品混凝土,浇筑过程中要注意振捣密实,防止出现蜂窝、麻面等质量问题。
4. 主梁施工- 主梁预制:在预制场进行主梁的预制。
主梁预制要严格按照设计图纸和施工规范进行,保证主梁的质量。
- 主梁运输与吊装:采用大型吊车将预制好的主梁运输到施工现场,并进行吊装。
主梁吊装要严格按照吊装方案进行,保证吊装安全。
- 主梁连接:将吊装好的主梁进行连接,连接方式采用焊接和高强螺栓连接相结合的方式。
主梁连接要保证连接牢固,焊缝质量符合要求。
5. 桥面铺装及附属设施施工- 桥面铺装:在主梁连接完成后,进行桥面铺装。
天桥设计说明1.工程概况天桥主桥长75.55m,宽4.4m,主梁面积332.4m2;天桥南北两侧四个坡道坡度1:4,总长99.2m,宽3m,面积297.6m2。
天桥总面积为630.0m2。
2.场地地质情况概述3.规范及技术标准3.1.采用规范1)《城市桥梁设计准则》(CJJ11-93)2)《公路桥涵设计通用规范》(JTG D60-2004)3)《公路钢筋混凝土及预应力混凝土桥涵设计规范》(JTGD62-2004)4)《公路桥涵钢结构及木结构设计规范》(JTJ 025-86)5)《钢结构设计规范》(GB50017-2003)6)《公路桥涵地基与基础设计规范》(JTG D63-2007)7)《公路桥梁抗震设计细则》(JTG/T B02-01-2008)8)《混凝土结构耐久性设计规范》(GB/T 50476-2008)9)《公路工程混凝土结构防腐蚀技术规范》(JTG/T B07-01-2006)10)《公路桥梁钢结构防腐涂装技术条件》(JT/T 722-2008)11)《城市桥梁桥面防水工程技术规程》(CJJ139-2010)12)《铁路桥梁钢结构设计规范》(TB10002.2-2005)13)《铁路钢桥制造规范》(TB10212-2009)14)《城市人行天桥与人行地道技术规范》(CJJ 69-95)3.2.技术标准1)人群荷载按加载长度和宽度计算;2)栏杆设计荷载:水平力2.5 kN/m;竖向力1.2 kN/m;3)桥面宽度:主梁4.4m宽;楼梯梁3m宽;4)桥面纵坡:单向0.492%纵坡;桥面横坡:双向1%横坡;5)桥下净高:机动车道≥5.0m;6)地震设防烈度7度,地震动峰值加速度:0.15g;4.建筑材料4.1.钢筋及钢材本工程设计采用普通钢筋为HPB300光圆钢筋及HRB400螺纹钢筋。
普通钢筋必须符合现行《钢筋混凝土用热轧光圆钢筋》(GB1499.1-2008)、《钢筋混凝土热轧带肋钢筋》(GB1499.2-2007)的规定,钢筋抗拉、抗压设计强度为:HPB300钢筋 f sd= f’sd=270MPaHRB400钢筋: f sd= f’sd =330Mpa钢梁采用材料:Q235qc钢;须符合《桥梁用结构钢》(GB/T 714-2008)中规定。
天桥设计说明1.工程概况天桥主桥长75.55m,宽4.4m,主梁面积332.4m2;天桥南北两侧四个坡道坡度1:4,总长99.2m,宽3m,面积297.6m2。
天桥总面积为630.0m2。
2.场地地质情况概述3.规范及技术标准3.1.采用规范1)《城市桥梁设计准则》(CJJ11-93)2)《公路桥涵设计通用规范》(JTG D60-2004)3)《公路钢筋混凝土及预应力混凝土桥涵设计规范》(JTGD62-2004)4)《公路桥涵钢结构及木结构设计规范》(JTJ 025-86)5)《钢结构设计规范》(GB50017-2003)6)《公路桥涵地基与基础设计规范》(JTG D63-2007)7)《公路桥梁抗震设计细则》(JTG/T B02-01-2008)8)《混凝土结构耐久性设计规范》(GB/T 50476-2008)9)《公路工程混凝土结构防腐蚀技术规范》(JTG/T B07-01-2006)10)《公路桥梁钢结构防腐涂装技术条件》(JT/T 722-2008)11)《城市桥梁桥面防水工程技术规程》(CJJ139-2010)12)《铁路桥梁钢结构设计规范》(TB10002.2-2005)13)《铁路钢桥制造规范》(TB10212-2009)14)《城市人行天桥与人行地道技术规范》(CJJ 69-95)3.2.技术标准1)人群荷载按加载长度和宽度计算;2)栏杆设计荷载:水平力2.5 kN/m;竖向力1.2 kN/m;3)桥面宽度:主梁4.4m宽;楼梯梁3m宽;4)桥面纵坡:单向0.492%纵坡;桥面横坡:双向1%横坡;5)桥下净高:机动车道≥5.0m;6)地震设防烈度7度,地震动峰值加速度:0.15g;4.建筑材料4.1.钢筋及钢材本工程设计采用普通钢筋为HPB300光圆钢筋及HRB400螺纹钢筋。
普通钢筋必须符合现行《钢筋混凝土用热轧光圆钢筋》(GB1499.1-2008)、《钢筋混凝土热轧带肋钢筋》(GB1499.2-2007)的规定,钢筋抗拉、抗压设计强度为:HPB300钢筋 f sd= f’sd=270MPaHRB400钢筋: f sd= f’sd =330Mpa钢梁采用材料:Q235qc钢;须符合《桥梁用结构钢》(GB/T 714-2008)中规定。
**********人行过街天桥工程施工组织设计编制单位:aaaaa编制:审核:批准:编制日期:2013年10月8日目录第一章前言 (1)第一节编制依据 (1)第二节编制说明 (3)第二章工程概况 (4)第一节工程建设概况 (4)第二节工程概况 (4)第三节主要材料 (5)第三章施工组织部署 (7)第一节部署总原则 (7)第二节施工顺序 (7)第三节施工组织管理 (10)第四节技术准备 (19)第五节施工协调管理 (20)第六章施工用水、用电 (22)第四章各分部分项工程的主要施工方案与技术措施 (23)第一节施工测量 (23)第二节桩基施工 (27)第三节钢结构制作 (44)第四节钢结构的加工、安装 (56)第五节桥面附属施工 (67)第五章确保工程质量管理体系与措施 (71)第一节质量目标 (71)第二节质量保证体系 (71)第三节质量管理组织机构 (71)第四节质量管理措施 (72)第五节隐蔽工程质量保证要点 (73)第六节保证工程质量技术组织措施 (75)第六章确保安全生产管理体系与措施 (79)第一节安全目标 (79)第二节安全管理机构 (79)第三节安全管理措施 (80)第四节安全生产技术措施 (81)第五节消防措施 (87)第六节安全检查 (88)第七章确保文明施工(环境管理)管理体系与措施 (89)第一节文明施工目标 (89)第二节文明施工管理体系 (89)第三节确保文明施工措施 (89)第四节确保文明施工具体方法 (91)第五节环境保护总体措施 (92)第八章工程进度计划与技术组织措施 (94)第一节进度计划编制原则 (94)第二节计划开工与竣工工期 (94)第三节工期保证措施 (95)第四节组织保证措施 (97)第五节工期保证其他措施 (97)第六节施工进度计划 (101)第九章工程施工的重点和难点及保证措施 (105)第一节工程施工的重点和难点 (105)第二节工程重点难点的保证措施 (105)第十章主要资源配备计划 (110)第一节劳动力配备计划 (110)第二节工程投入的主要施工机械设备及进场计划 (111)第三节主要材料采购及进场计划 (115)第十一章施工总平面布置 (117)第一节概述 (117)第二节施工区交通与进出口设置 (117)第三节生活、办公设施布置 (117)第四节生产设施布置 (117)第五节施工用电 (118)第六节施工现场排水 (118)第七节施工平面布置图 (118)第十二章交通组织方法与交通维护 (120)第一章前言第一节编制依据1、*********人行天桥工程的设计图纸、招标文件及其他相关资料。
1.安全生产管理体系及保证措施1、该工程安全工作以高空作业、水上作业、交通管制为重点,我公司严格遵守国家有关法律法规,加强安全生产管理,建立、健全安全生产责任制度,完善安全生产条件,确保安全生产。
2、建立安全生产领导小组,以项目经理为第一责任人,下设专职安全员,分工明确,责任到人,对施工生产全过程监控。
3、坚持每周不少于两小时的安全教育,由安全检查人员针对当前施工,结合有关规范、制度组织全体施工人员学习。
每日班前会分配当日工作时必须同时交待安全注意事项。
4、建立安全技术检查。
项目经理部每周一次,施工队每日一次,到各工点进行检查,发现问题及时处理,并将检查意见填入检查记录表中。
对重大问题要发生安全隐患通知书,并及时采取对策,限期整改,进行复查。
5、坚持上岗培训,提高职工素质。
所有上岗人员都要进行安全知识培训,此外,对机动车驾驶,机械操作人员,电工作业,金属焊割作业,特种工作人员都要进行特种作业再培训,经业务技术知识和安全常识考核,实行持证上岗。
6、所有参加施工人员,必须按有关规定使用劳保用品,否则不准上岗作业,夜间施工保证有充足的照明,进入现场必须戴安全帽,严禁无关人员进入作业区。
7、施工作业区周围设警示,夜间设醒目标志,并派专人值班,确保周边地区非施工人员的安全。
8、建立定期安全检查制度。
有时间、有要求,明确重点部位、危险岗位。
安全检查有记录。
对查出的隐患及时整改,做到定人、定时间、定措施。
9、职工、民工的安全教育和管理①对全体员工进行经常性的安全教育,开工前进行安全技术交底,加强安全知识的宣传与培训工作,切实提高全体员工的安全生产意识和自我保护意识,定期举办安全学习班,每月固定一天作为安全学习和小结检查日。
学习安全生产法、劳动法及其他安全管理法律、法规。
②使全体员工明确安全工作的重要性,严格遵守施工操作规程,禁止违章操作,杜绝施工生产中安全事故的发生。
③工人掌握本工种操作技能,熟悉本工种安全技术操作规程。