固定资产出售流程图
- 格式:ppt
- 大小:69.00 KB
- 文档页数:1
1、固定资产购置流程
固定资产预算审批流程图
、购置流程
2、固定资产使用流程、盘点清查流程
资产打企管丿
I帐外资丿
I闲置丿
发现的
—-弋r、对责仟,
、内部调拨及借用流程
3、固定资产闲置处理流程
、封存及闲置设备处理流程
固定资产管理流程图目录
、固定资产预算审批流程
、请购审批流 、购置流程 、验收流程 、登记流程 、盘点清查流 、升级与维修流 242、 融资租 243、 抵押 资产租赁处 、固定资产报丿发流 固定资 内部调拨及借用流
241、外部租 固定资产 、封存及闲置设备处理 固定资
、固定资产租赁流程。
固定资产管理办法1.对固定资产进行管理的作用提高固定资产管理水平可以加强财务预算管理,加强财务决策能力,提高财务管理水平,也为财务数据的真实性、准确性和科学性的提供了保障。
因此,为规范固定资产管理的处理流程,加强固定资产管理以保证公司的经营,现结合实际情况,制定本管理办法。
2.固定资产管理方法2.1固定资产管理流程图固定资产管理流程图3. 固定资产管理流程描述3.1固定资产的购置3.1.1采购部提交关于固定资产购置的申请,主要涉及购置资产的作用、规格、价格等相关内容,经财务部长审批同意后,提交总经理审批。
总经理审批同意后,将审批单发给采购部。
3.1.2采购部收到审批单后,购买固定资产,并将固定资产采购合同、发票等提交财务部;设备验收以后,将验收报告提交财务部。
3.1.3财务部判定固定资产的类别,填制固定资产卡片,并录入固定资产登记簿。
3.2固定资产的使用3.2.1财务部门年末对固定资产进行盘点,并进行资产评估。
3.2.2固定资产使用部门将日常设备修理费用等相关固定资产资产支出上报财务部。
3.2.3财务人员根据固定资产支出情况填制会计凭证;年末填写固定资产卡片。
3.3固定资产的报废3.3.1固定资产使用部门填写固定资产报废申请表提交财务部。
3.3.2财务部核算该固定资产的账面价值,整理固定资产相关资料,计算固定资产盘点结果,提交财务长审批、3.3.3财务部长进一步核算,批准后报总经理审批。
3.3.4总经理审批完毕,固定资产使用部门报废固定资产,同时财务部制作相关凭证,并登记固定资产登记簿。
3.3.5若是在审批过程中遭到退回,则固定资产使用部门重新填制固定资产使用表,重复上述环节。
4.固定资产的分类。
行政事业单位固定资产报废、报损处置流程图一般性办公设备、办公家具单价或批量原价5万元以上和单价或批量原价5万元以(含5万元)的专用设备、房屋下的专用设备建筑物、交通工具等申报单位到市资产管
理中心领取固定资产申报单位到市资产管
处置汇总表(一)、明理中心领取固定资产
细表并填写处置汇总表(二)、明
细表并填写主管部门审核
资产管理中心初审(5
个工作日内) 主管部门审批
市财政局相关业务处
5个工作日内) 室审批(
申报单位到资产管理市财政局统计评价处
5个工作日内) 中心办理相关手续审批(
市财政局领导审批(5
个工作日内)
资产管理中心统一回收物资(7个工作日内)
市财政局统计评价处、业务处备案
申报单位凭回单联进行资产帐务处理。
行政事业单位固定资产
处置流程图
公司标准化编码 [QQX96QT-XQQB89Q8-NQQJ6Q8-MQM9N]
行政事业单位固定资产处置流程图
注:行政事业单位申报资产处置需提供以下材料:
1、厦门市行政事业单位固定资产处置汇总表、明细表;
2、固定资产卡片(使用清产核资软件打印,并加盖公章);
3、报损资产的名称、数量、规格、单价、损失价值清册,以及鉴定资料和对非正常损失者的处理文件
4、单项固定资产原值20万元以上的设备提前报废、报损应出具鉴定报告书;单项固定资产原值20万元以上的设备提前报废、报损应提供提前报废、报损原因说明材料;
5、计算机内存资料的技术处理说明;
6、其他证明材料或资料。
完整版)固定资产管理流程图开始确定租赁需求并提出申请N重新提出申请Y办公室进行租赁方案评估和选择供应商签订租赁合同财务部办理支付租金手续使用部门结束验收租赁设备并开始使用2.4.2、内部租赁流程使用部门开始确定内部租赁需求并提出申请N重新提出申请Y办公室根据需求确定租赁方案签订内部租赁协议财务部办理内部结算手续结束使用部门验收租赁设备并开始使用2.5、报废处理流程使用部门开始提出报废申请并填写报废申请表N重新提出申请Y办公室审核报废申请并制定报废方案Y总经理审批财务部进行报废资产的核销和处理结束使用部门和财务部共同确认报废处理结果,并进行记录和归档。
借入部门需要重新申请租赁手续,如果没有特殊情况,就可以办理正式的租赁协议。
如果需要租赁重设备或办公室,就必须向分管领导提出借出申请,并经过审批才能办理手续。
在申请借入固定资产后,必须按照租赁协议进行清点实物数量,并记录到台账上。
如果固定资产连续停止使用三个月以上,就需要进行封存及闲置设备处理流程。
如果连续停止使用两年以上,部门需要重新申请启用或使用该设备,并进行书面通知。
如果财务部审核通过,就可以恢复提折旧。
如果固定资产已经无法使用,就需要进行报废流程。
首先需要组织相关技术人员进行技术鉴定,并填写报废单。
在固定资产管专用设备、仪器仪表类理台账和卡片上盖作废章,并经过所在部门经理签字和办公室会签。
如果报废资产为办公设备、家具、房屋、运输工具及其它,财务部需要根据《报废单》对报废资产进行账务处理。
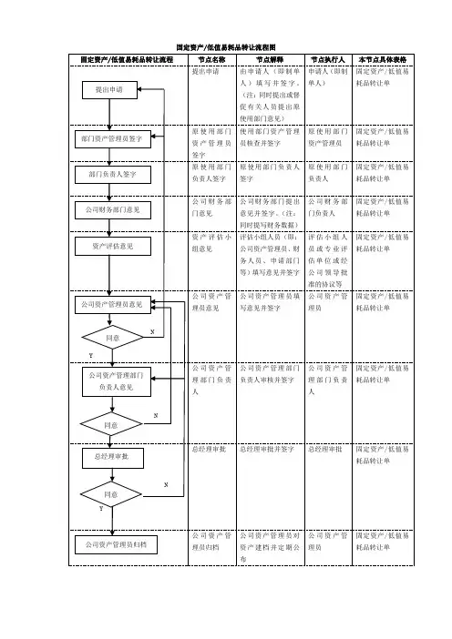
以上是固定资产管理流程图目录,包括购置流程、使用流程和闲置处理流程。
在购置流程中,包括预算审批、请购审批、购置、验收和登记流程。
在使用流程中,包括盘点清查、升级与维修、内部调拨及借用、外部租赁、融资租赁和抵押资产租赁处理流程。
在闲置处理流程中,包括封存及闲置设备处理流程。
固定资产管理流程编制日期审核日期批准日期修订记录3、工作程序3.1固定资产的购置3.1.1总部各中心根据工作需要,提出固定资产购置申请;3.1.2行政人力中心进行购置申请初步审核,如目前有可供调配的同类资产,则与相关部门协商调配,不再购置;3.1.3购置申请经财务管理中心审核,项目执行总经理审核后,按如下权限进行审批:1)单笔小于等于5万的固定资产的购置由财务分管副总裁审批;2)单笔大于5万小于等于10万的固定资产的购置申请由财务分管副总裁审核,总裁审批;3)单笔大于10万的固定资产的购置申请由财务分管副总裁、总裁审核,报董事会审批。
3.1.4购置申请经审批后,行政人力中心与财务管理中心协商固定资产分摊方式,并同项目公司执行总经理协商、沟通后,由财务管理中心通知项目公司计划财务部进行分摊;3.1.5根据资产购置权限范围规定,固定资产购置由行政人力中心或资产使用部门购置。
3.2固定资产验收3.2.1资产购置后,由行政人力中心、资产使用部门共同进行资产验收后,使用部门办理领用手续;3.2.2行政人力中心将发票登记后交项目公司计划财务部,由计划财务部办理固定资产入账手续,并将资产编号告知行政人力中心;3.2.3固定资产的编号:验收入库的固定资产务必由公司资产管理员统一进行编号管理。
资产编号由:A-公司-类别-序号四部分组成公司:HH(翰宏)、BX(冰雪)、RH(瑞华)、JX(建兴)、ZD(钟鼎)类别:FW(房屋建筑)、JT(交通运输)、DZ(电子类办公设备)、JJ(办公家具)固定资产与编号一一对应,每一个固定资产只有唯一的编号。
3.2.4行政人力中心建立固定资产台帐及固定资产标签,标签中需同时标明总部资产标号和其在项目公司计划财务部的财务资产编号,以便资产清查核对。
3.3固定资产发放3.3.1固定资产发放时,行政人力中心要对固定资产进行相应登记;归还时须保持固定资产完好,否则因保管不善和其他人为因素造成固定资产遗失、失窃或损坏的,责任人应按规定赔偿。