固定资产处置工作流程示意图
- 格式:doc
- 大小:30.00 KB
- 文档页数:1
《(完整版)固定资产管理流程图》xx年xx月xx日•固定资产管理概述•固定资产的购置与登记•固定资产的使用与维护•固定资产的盘点与清查目•固定资产的处置与报废•固定资产管理的制度与培训录01固定资产管理概述固定资产是指企业使用期限超过一年的房屋、建筑物、机器、机械、运输工具以及其他与生产、经营有关的设备、器具、工具等。
固定资产特点固定资产属于有形资产,具有价值高、使用周期长、使用地点分散等特点。
固定资产定义定义与特点VS固定资产管理的重要性提高企业经济效益科学有效的固定资产管理可以降低生产成本、提高产品质量和生产效益,从而提高企业的经济效益。
增强企业竞争力固定资产管理能够优化资源配置、提高资产利用效率,增强企业的市场竞争力。
保障企业正常运营固定资产是企业的重要资产,良好的管理可以避免设备损坏、减少维修费用,提高企业运营效率。
固定资产管理的历史与发展国外固定资产管理经验国外企业固定资产管理经验丰富,从最初的手工管理到现在的信息化管理,实现了对固定资产的全生命周期管理。
我国固定资产管理现状我国固定资产管理起步较晚,但发展迅速,企业逐渐认识到固定资产管理的重要性,管理水平不断提高。
企业固定资产主要包括房屋、建筑物、机器、机械、运输工具以及其他与生产、经营有关的设备、器具、工具等。
根据不同的标准可以将固定资产分为不同的类别,如按使用情况可以分为在用、未使用、租出等;按性质可以分为生产用和非生产用等。
固定资产的组成固定资产的分类固定资产的组成与分类02固定资产的购置与登记必要性原则确属生产经营所需且符合相关规定的固定资产方可购买。
应充分考虑性价比,购买适量的固定资产。
在购买前应先做预算,不得超出预算范围。
申请人提交申请,部门负责人审核,财务部审批,总经理审批。
购置原则与申请合理化原则预算控制原则申请流程采购与验收采购方式可自行采购或通过招标方式采购。
验收入库应进行实物验收,核对数量、质量、规格型号等。
发票报销验收合格后,需及时报销相关费用。
1、固定资产购置流程
固定资产预算审批流程图各部门
重
年初编制本部购置计划:固定资
综合汇总后
请购审批流程
使用部门、办
是否固定资产
预算外资产
、购置流程
购置相关信
大于
、验收流程
办理退
购入
、登记流程
固定验收后一
固定
办公室、财
2、固定资产使用流程
、盘点清查流程
帐外资
闲置制对责任
由企管
资产发现的
提
、维修流程
固定资产
统一
相应凭
办理固定资组织进行升
、内部调拨及借用流程
部门
固定资产
部门
固定资产对固定资产台
借用人交出
借出方资产管理、固定资产租赁流程
2.4.1 、外部租赁流程
无特殊情
办理
办公
10 万
实物
按照租
3、固定资产闲置处理流程
、封存及闲置设备处理流程
停
准
书
连续停止使
准
使恢
申请有
连续停止使
同意
、固定资产报废流程
在固定资组织相相关专用设
报废所在公
办公设财务部根据
进
报废单由
固定资产管理流程图目录
、固定资产预算审批流程
、请购审批流
固定资
、购置流程
、验收流程
、登记流程
、盘点清查流
、升级与维修流
固定资
、内部调拨及借用流 2.4.1 、外部租
、固定资产租赁流程 2.4.2 、融资租
2.4.3 、抵押
资产租赁处
、封存及闲置设备处理
固定资产
、固定资产报废流。
行政事业单位固定资产报废、报损处置流程图一般性办公设备、办公家具单价或批量原价5万元以上和单价或批量原价5万元以(含5万元)的专用设备、房屋下的专用设备建筑物、交通工具等申报单位到市资产管
理中心领取固定资产申报单位到市资产管
处置汇总表(一)、明理中心领取固定资产
细表并填写处置汇总表(二)、明
细表并填写主管部门审核
资产管理中心初审(5
个工作日内) 主管部门审批
市财政局相关业务处
5个工作日内) 室审批(
申报单位到资产管理市财政局统计评价处
5个工作日内) 中心办理相关手续审批(
市财政局领导审批(5
个工作日内)
资产管理中心统一回收物资(7个工作日内)
市财政局统计评价处、业务处备案
申报单位凭回单联进行资产帐务处理。
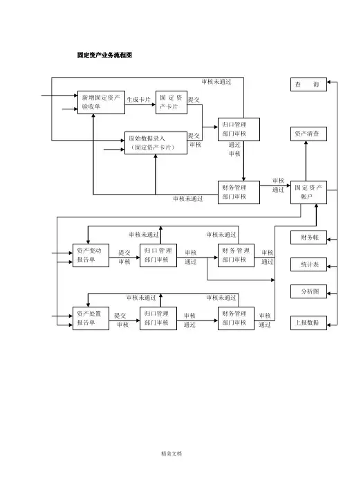
固定资产管理流程图说明该固定资产管理信息系统流程图主要分三部分:一是原始数据的导入及新增资产业务,二是已经形成资产账户的部分资产的变动及处置业务,三是资产账务及有关账表。
下面分别予以说明:一、原始数据导入及新增资产业务(一)原始数据的导入业务1.原始数据录入工作:由固定资产管理人员录入。
通过主菜单“资产管理”下的“原始数据录入”完成。
资产信息项填写完毕后,通过系统提交给资产管理部门、财务管理部门审核。
提交之后的资产信息原则上不允许修改,如确需修改,先撤销提交,再修改,然后再提交。
一旦资产管理部门审核通过,该资产的资料在本地机录入窗口中便不能再看到,因此,也不能再被修改。
2.为了保证本系统资料的可靠性与严肃性,“原始数据录入”工作只允许进行一次,之后不能再使用这一功能。
(二)新增资产业务1.新增资产验收单数据录入:由学校使用部门资产管理人员录入新增加的固定资产资料。
具体操作为:“资产管理”→“固定资产增加”→“资产管理单位”→“资产类别”→“添加”→“完成”。
2.新增固定资产验收单的信息项包括:资产分类号(分类名称)、资产名称、现状、国别、单价、数量、计量单位、资产来源、资金来源、申购单位、采购(经手)人、购置日期、货到日期、验收日期。
(三)生成固定资产卡片1.新增资产资料录入(录入验收单资料)完毕,确认无误后可通过菜单栏的“建卡”按钮生成卡片信息;已经导入的数据自动生成卡片,没有验收单。
对生成的卡片分别填写使用单位、使用人、使用方向、存放地点等信息项;如果有图片可以在此时把资产的图片插入到卡片信息项中。
当信息项填写不完整时不能生成卡片信息。
2.对于使用人、使用方向、使用单位、存放地点等信息只能用菜单选择,不能汉字输入。
3.提交:当生成资产卡片之后,就可以提交了。
如信息项填写不完整便不能提交成功。
4.验收单被审核通过后,就可以打印出来。
打印的验收单一式四份。
此时可以同时打印出资产卡片和条形码,此项打印工作由资产管理部门负责。
公司
固定资产管理作业流程
公司批准
公司
固定资产管理作业流程
1.目的
严格并规范公司固定资产管理作业流程。
2.适用范围
本流程适用于公司所属各单位、各部门固定资产各项管理作业。
3.编制依据
3.1《固定资产管理办法》
3.2《固定资产管理基础表格》
4.流程图
4.1固定资产管理组织结构图……………组织结构图01
4.2固定资产管理总架构图…………………总框架图01
4.3固定资产清查作业流程……………………流程图01
4.4固定资产预算作业流程……………………流程图02
4.5固定资产请购作业流程……………………流程图03
4.6固定资产采购作业流程……………………流程图04
4.7固定资产验收作业流程……………………流程图05
4.8固定资产转移作业流程…………………流程图06
4.9固定资产大修作业流程…………………流程图07
4.10固定资产处分作业流程…………………流程图08 4.11固定资产出售作业流程…………………流程图09
固定资产管理组织结构图
—3—
固定资产管理处置流程总框架
—5—
B01
A01
固定资产请购作业
A02
固定资产采购作业
A03
固定资产验收作业
A04
固定资产转移作业
流程图06
A07
固定资产大修作业
A08
固定资产处分作业
A09
固定资产出售作业
A11。
1、固定资产购置流程1.1固定资产预算审批流程图1.4、验收流程1.5、登记流程、外部租赁流程、融资租赁流程、抵押资产租借处理流程3、固定资产闲置处理流程3.1、封存及闲置设备处理流程3.2、固定资产报废流程固定资产管理流程图目录公司固定资产管理表格一、财产保管卡二、财产保管簿部门:设簿日期:三、房屋登记卡四、固定资产登记卡(正面)总账科目:本卡编号:明细科目:财产编号:1.本卡适用于机械设备、运输设备、机电性什项设备,新卡的填写由会计部门填制。
2.本卡编号由保管卡片单位自编。
3.附属设备栏:应填名称、规格及数量。
4.折旧提列情况栏的填写:①日期写开始填列的日期,以后各年度如无变列则填该年的元月一日,年度增减时另行填写变动提列的开始日期。
②期提列为以会计年度为准,如期中有所变动时可分填几行。
③产净值为资产价值余额减截止本期累计后的余额。
五、固定资产购置申请单单位:年月日六、固定资产申购计划单七、固定资产增加单管理部门:财产编号:使用部门:会计科目:年月日填单注意事项:1.以费用支出的固定资产其会计科目除一级科目外,应加填二级科目。
2.附属设备栏;应详细逐件填列,如电动机、仪表等。
3.资产成本记录簿:填写成本科目,如内购、外购、关税、运输费、基础工程、配管线等。
八、固定资产扩充(报废)计划表年度九、固定资产停(启)用、封存通知表十、固定资产增减表管理部门:使用部门:年月编号:一式三联:管理部门、会计、使用部门填表注意事项:1.会科科目栏:资本支出时以一级科目表示,以费用支出时除填一级科目外应加标明二级科目。
2.资产名称栏:以中文书写,如有附属设备(如发电机仪表等)应于次行顺序列出,但金额可以免填。
3.以费用支出的资产,耐用年数年折旧额免填。
4.本表应于次月十五日前由会计部门编妥送管理部门核对,采用电脑处理的部门以电脑报表代替。
十一、固定资产减损单管理部门:使用部门:财产编号:年月日填单注意事项:机械设备报损其附属设备的处理情况应在拟处理办法档内特别注明。
固定资产管理流程图
固定资产管理是企业管理中不可或缺的一环。
该流程图展示了固定资产管理的主要流程,包括购置、日常管理维护、调拨和处置四个环节。
在购置环节,行政部门需要制作固定资产标签卡,并建立台账,财务部门则需要核算折旧。
在日常管理维护环节,行政部门需要对固定资产进行保管登记,使用部门则需要做好固定资产使用维护记录。
在调拨环节,使用部门需要填写固定资产报废申请单或调拨申请单,领导审核后行政部门进行审核和监督。
在处置环节,行政部门需要进行鉴定,填写固定资产报废单,并进行资产处置,如丢弃、变卖废品或转让。
整个流程中,财务部门需要对资金进行审核,主管领导需要进行审批。
行政部门则需要负责采购、调整固定资产记录、办理折旧、损坏、赔偿事宜以及进行账务处理。
最后,使用部门需要进行验收,行政部门则需要进行入账并将处理结果登记。
固定资产管理流程编制日期审核日期批准日期修订记录3、工作程序3.1固定资产的购置3.1.1总部各中心根据工作需要,提出固定资产购置申请;3.1.2行政人力中心进行购置申请初步审核,如目前有可供调配的同类资产,则与相关部门协商调配,不再购置;3.1.3购置申请经财务管理中心审核,项目执行总经理审核后,按如下权限进行审批:1)单笔小于等于5万的固定资产的购置由财务分管副总裁审批;2)单笔大于5万小于等于10万的固定资产的购置申请由财务分管副总裁审核,总裁审批;3)单笔大于10万的固定资产的购置申请由财务分管副总裁、总裁审核,报董事会审批。
3.1.4购置申请经审批后,行政人力中心与财务管理中心协商固定资产分摊方式,并同项目公司执行总经理协商、沟通后,由财务管理中心通知项目公司计划财务部进行分摊;3.1.5根据资产购置权限范围规定,固定资产购置由行政人力中心或资产使用部门购置。
3.2固定资产验收3.2.1资产购置后,由行政人力中心、资产使用部门共同进行资产验收后,使用部门办理领用手续;3.2.2行政人力中心将发票登记后交项目公司计划财务部,由计划财务部办理固定资产入账手续,并将资产编号告知行政人力中心;3.2.3固定资产的编号:验收入库的固定资产务必由公司资产管理员统一进行编号管理。
资产编号由:A-公司-类别-序号四部分组成公司:HH(翰宏)、BX(冰雪)、RH(瑞华)、JX(建兴)、ZD(钟鼎)类别:FW(房屋建筑)、JT(交通运输)、DZ(电子类办公设备)、JJ(办公家具)固定资产与编号一一对应,每一个固定资产只有唯一的编号。
3.2.4行政人力中心建立固定资产台帐及固定资产标签,标签中需同时标明总部资产标号和其在项目公司计划财务部的财务资产编号,以便资产清查核对。
3.3固定资产发放3.3.1固定资产发放时,行政人力中心要对固定资产进行相应登记;归还时须保持固定资产完好,否则因保管不善和其他人为因素造成固定资产遗失、失窃或损坏的,责任人应按规定赔偿。
固定财产处理工作流程表示图
德州学院固定财产处理工作流程表示图
使用单位申报
使用单位填写处理申请报告,并提交以下材
料: 1、审批表; 2、单位判定小组建议
学校判定
学校组织判定小组对申报处理财产进行判定
学校领导审批
提交院长办公室审议
按审批权限
报上司部门审批
报教育厅转财政厅审批
实行处理
依照规定处理方式实行
财产处理
归口管理员提交处理单
财产归口管理员依照批复在固定处
财产管理系统内提交并打印处理置
收
入
账务核销
完好有关手续,报财务处,同时核销实物
固定财产账和财务固定财产账,固定财产
管理系统内财务审查处理单残值收入缴财务处
报上司主管部门存案
责任人:于红梅
: 8987833
注:审批表在财产管理处网站——表格下载中下载。
固定资产管理流程图及说明固定资产管理流程图说明该固定资产管理信息系统流程图主要分三部分:一是原始数据的导入及新增资产业务,二是已经形成资产账户的部分资产的变动及处置业务,三是资产账务及有关账表。
下面分别予以说明:一、原始数据导入及新增资产业务(一)原始数据的导入业务11.原始数据录入工作:由固定资产管理人员录入。
通过主菜单“资产管理”下的“原始数据录入”完成。
资产信息项填写完毕后,通过系统提交给资产管理部门、财务管理部门审核。
提交之后的资产信息原则上不允许修改,如确需修改,先撤销提交,再修改,然后再提交。
一旦资产管理部门审核通过,该资产的资料在本地机录入窗口中便不能再看到,因此,也不能再被修改。
2.为了保证本系统资料的可靠性与严肃性,“原始数据录入”工作只允许进行一次,之后不能再使用这一功能。
(二)新增资产业务1.新增资产验收单数据录入:由学校使用部门资产管理人员录入新增加的固定资产材料。
详细操作为:“资产管理”→“固定资产增加”→“资产管理单位”→“资产类别”→“添加”→“完成”。
2.新增固定资产验收单的信息项包括:资产分类号(分类名称)、资产名称、现状、国别、单价、数量、计量单位、资产起原、资金起原、申购单位、采购(经手)人、购置日期、货到日期、验收日期。
(三)生成固定资产卡片1.新增资产材料录入(录入验收单材料)完毕,确认无误后可经由过程菜单栏的“建卡”按钮生成卡片信息;已经导入的数据自动生成卡片,没有验收单。
对生成的卡片分别填写使用单位、使用人、使用方向、寄存地点等信息项;如果有图片能够在此时把资产的图片插入到卡片信息项中。
当信息项填写不完整时不能生成卡片信息。
2.对于使用人、使用方向、使用单位、存放地点等信息只能用菜单选择,不能汉字输入。
23.提交:当生成资产卡片之后,就可以提交了。
如信息项填写不完整便不能提交成功。
4.验收单被审核通过后,就可以打印出来。
打印的验收单一式四份。
此时可以同时打印出资产卡片和条形码,此项打印工作由资产管理部门负责。