水利行业工程设计主要专业技术人员配备表2
- 格式:pdf
- 大小:45.68 KB
- 文档页数:1
工程设计资质标准(共21个行业)为适应社会主义市场经济发展,根据《建设工程勘察设计管理条例》和《建设工程勘察设计资质管理规定》,结合各行业工程设计的特点,制定本标准。
一、总则(一)本标准包括21个行业的相应工程设计类型、主要专业技术人员配备及规模划分等容(见附件1: 工程设计行业划分表,附表2:各行业工程设计主要专业技术人员配备表,附件3:各行业建设项目设计规模划分表)。
(二)本标准分为四个序列:1、工程设计综合资质工程设计综合资质是指涵盖21个行业的设计资质。
2、工程设计行业资质工程设计行业资质是指涵盖某个行业资质标准中的全部设计类型的设计资质。
3、工程设计专业资质工程设计专业资质是指某个行业资质标准中的某一个专业的设计资质。
4、工程设计专项资质工程设计专项资质是指为适应和满足行业发展的需求,对已形成产业的专项技术独立进行设计以及设计、施工一体化而设立的资质。
(三)工程设计综合资质只设甲级。
工程设计行业资质和工程设计专业资质设甲、乙两个级别;根据行业需要,建筑、市政公用、水利、电力(限送变电)、农林和公路行业可设立工程设计丙级资质,建筑工程设计专业资质设丁级。
建筑行业根据需要设立建筑工程设计事务所资质。
工程设计专项资质可根据行业需要设置等级。
(四)工程设计围包括本行业建设工程项目的主体工程和配套工程(含厂/矿区的自备电站、道路、专用铁路、通信、各种管网管线和配套的建筑物等全部配套工程)以及与主体工程、配套工程相关的工艺、土木、建筑、环境保护、水土保持、消防、安全、卫生、节能、防雷、抗震、照明工程等。
建筑工程设计围包括建设用地规划许可证围的建筑物构筑物设计、室外工程设计、民用建筑修建的地下工程设计及住宅小区、工厂厂前区、工厂生活区、小区规划设计及单体设计等,以及所包含的相关专业的设计容(总平面布置、竖向设计、各类管网管线设计、景观设计、室外环境设计及建筑装饰、道路、消防、智能、安保、通信、防雷、人防、供配电、照明、废水治理、空调设施、抗震加固等)。
工程设计资质标准(建市〔2007〕86号)为适应社会主义市场经济发展,根据《建设工程勘察设计管理条例》和《建设工程勘察设计资质管理规定》,结合各行业工程设计的特点,制定本标准。
一、总则(一)本标准包括21个行业的相应工程设计类型、主要专业技术人员配备及规模划分等内容(见附件1: 工程设计行业划分表,附表2:各行业工程设计主要专业技术人员配备表,附件3:各行业建设项目设计规模划分表)。
(二)本标准分为四个序列:1、工程设计综合资质工程设计综合资质是指涵盖21个行业的设计资质。
2、工程设计行业资质工程设计行业资质是指涵盖某个行业资质标准中的全部设计类型的设计资质。
3、工程设计专业资质工程设计专业资质是指某个行业资质标准中的某一个专业的设计资质。
4、工程设计专项资质工程设计专项资质是指为适应和满足行业发展的需求,对已形成产业的专项技术独立进行设计以及设计、施工一体化而设立的资质。
(三)工程设计综合资质只设甲级。
工程设计行业资质和工程设计专业资质设甲、乙两个级别;根据行业需要,建筑、市政公用、水利、电力(限送变电)、农林和公路行业可设立工程设计丙级资质,建筑工程设计专业资质设丁级。
建筑行业根据需要设立建筑工程设计事务所资质。
工程设计专项资质可根据行业需要设置等级。
(四)工程设计范围包括本行业建设工程项目的主体工程和配套工程(含厂/矿区内的自备电站、道路、专用铁路、通信、各种管网管线和配套的建筑物等全部配套工程)以及与主体工程、配套工程相关的工艺、土木、建筑、环境保护、水土保持、消防、安全、卫生、节能、防雷、抗震、照明工程等。
建筑工程设计范围包括建设用地规划许可证范围内的建筑物构筑物设计、室外工程设计、民用建筑修建的地下工程设计及住宅小区、工厂厂前区、工厂生活区、小区规划设计及单体设计等,以及所包含的相关专业的设计内容(总平面布置、竖向设计、各类管网管线设计、景观设计、室内外环境设计及建筑装饰、道路、消防、智能、安保、通信、防雷、人防、供配电、照明、废水治理、空调设施、抗震加固等)。
工程设计资质标准(共21个行业)为适应社会主义市场经济发展,根据《建设工程勘察设计管理条例》和《建设工程勘察设计资质管理规定》,结合各行业工程设计的特点,制定本标准.一、总则(一)本标准包括21个行业的相应工程设计类型、主要专业技术人员配备及规模划分等内容(见附件1:工程设计行业划分表,附表2:各行业工程设计主要专业技术人员配备表,附件3:各行业建设项目设计规模划分表).(二)本标准分为四个序列:1、工程设计综合资质工程设计综合资质是指涵盖21个行业的设计资质。
2、工程设计行业资质工程设计行业资质是指涵盖某个行业资质标准中的全部设计类型的设计资质。
3、工程设计专业资质工程设计专业资质是指某个行业资质标准中的某一个专业的设计资质。
4、工程设计专项资质工程设计专项资质是指为适应和满足行业发展的需求,对已形成产业的专项技术独立进行设计以及设计、施工一体化而设立的资质。
(三)工程设计综合资质只设甲级.工程设计行业资质和工程设计专业资质设甲、乙两个级别;根据行业需要,建筑、市政公用、水利、电力(限送变电)、农林和公路行业可设立工程设计丙级资质,建筑工程设计专业资质设丁级。
建筑行业根据需要设立建筑工程设计事务所资质。
工程设计专项资质可根据行业需要设置等级.(四)工程设计范围包括本行业建设工程项目的主体工程和配套工程(含厂/矿区内的自备电站、道路、专用铁路、通信、各种管网管线和配套的建筑物等全部配套工程)以及与主体工程、配套工程相关的工艺、土木、建筑、环境保护、水土保持、消防、安全、卫生、节能、防雷、抗震、照明工程等。
建筑工程设计范围包括建设用地规划许可证范围内的建筑物构筑物设计、室外工程设计、民用建筑修建的地下工程设计及住宅小区、工厂厂前区、工厂生活区、小区规划设计及单体设计等,以及所包含的相关专业的设计内容(总平面布置、竖向设计、各类管网管线设计、景观设计、室内外环境设计及建筑装饰、道路、消防、智能、安保、通信、防雷、人防、供配电、照明、废水治理、空调设施、抗震加固等)。
水运行业工程设计专业资质标准工程设计专业资质主要专业技术人员配备表注:1.专业设置中的主导专业为:(1)—(8)的8个专业。
2.(12)—(14)公用设备专业人员配备,只需满足注册人员数量要求,专业可为(12)—(142)中的任意专业。
甲级资历和信誉(1)具有独立企业法人资格。
(2)社会信誉良好,注册资本不少于300万元人民币。
(3)企业完成过所申请行业相应专业设计类型大型项目工程设计不少于1项,或中型项目工程设计不少于2项,并已建成投产。
技术条件(1)专业配备齐全、合理,主要专业技术人员数量不少于所申请专业资质标准中主要专业技术人员配备表规定的人数。
(2)企业主要技术负责人或总工程师应当具有大学本科以上学历、10年以上设计经历,且主持过所申请行业相应专业设计类型的大型项目工程设计不少于2项,具备注册执业资格或高级专业技术职称。
(3)在主要专业技术人员配备表规定的人员中,主导专业的非注册人员应当作为专业技术负责人主持过所申请行业相应专业设计类型的中型以上项目工程设计不少于3项,其中大型项目不少于1项。
技术装备及管理水平(1)有必要的技术装备及固定的工程场所。
(2)企业管理组织结构、标准体系、质量、档案体系健全。
乙级资历和信誉(1)具有独立企业法人资格。
(2)社会信誉良好,注册资本不少于100万元人民币。
技术条件(1)专业配备齐全、合理,主要专业技术人员数量不少于所申请专业资质标准中主要专业技术人员配备表规定的人数。
(2)企业的主要技术负责人或总工程师应当具有大学本科以上学历、10年以上设计经历,且主持过所申请行业相应专业设计类型的中型项目工程设计不少于3项,或大型项目工程设计不少于1项,具备注册执业资格或高级专业技术职称。
(3)在主要专业技术人员配备表规定的人员中,主导专业的非注册人员应当作为专业技术负责人主持过所申请行业相应专业设计类型的中型项目工程设计不少于2项,或大型项目工程设计不少于1项。
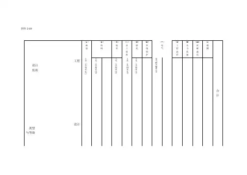
附件2-19
水利行业工程设计主要专业技术人员配备表注: 1.专业设置中的主导专业为(1)一(12)的12个专业;在注册土木工程师《水利水电工程)实墙注册前,(1)一(5)专业的专业技术人员职称要求为高级及以上。
2.申请行业资展时,企业和人员业绩需包括“水库柜组”工程和本行业其他7个设计类型中的2个设计类型,
3.申请水文设施专业资质甲、己级,除主要专业技术人员满足此表规定外,其他条件应分别调足工程设计专业资质标准中乙,丙级的相应规定。
4.取得行业青成成水库枢纽专业资威可承担相应等级术文设随工程设计业务。
工程设计资质标准(建市〔2007〕86号)为适应社会主义市场经济发展,根据《建设工程勘察设计管理条例》和《建设工程勘察设计资质管理规定》,结合各行业工程设计的特点,制定本标准。
一、总则(一)本标准包括21个行业的相应工程设计类型、主要专业技术人员配备及规模划分等内容(见附件1: 工程设计行业划分表,附表2:各行业工程设计主要专业技术人员配备表,附件3:各行业建设项目设计规模划分表)。
(二)本标准分为四个序列:1、工程设计综合资质工程设计综合资质是指涵盖21个行业的设计资质。
2、工程设计行业资质工程设计行业资质是指涵盖某个行业资质标准中的全部设计类型的设计资质。
3、工程设计专业资质工程设计专业资质是指某个行业资质标准中的某一个专业的设计资质。
4、工程设计专项资质工程设计专项资质是指为适应和满足行业发展的需求,对已形成产业的专项技术独立进行设计以及设计、施工一体化而设立的资质。
(三)工程设计综合资质只设甲级。
工程设计行业资质和工程设计专业资质设甲、乙两个级别;根据行业需要,建筑、市政公用、水利、电力(限送变电)、农林和公路行业可设立工程设计丙级资质,建筑工程设计专业资质设丁级。
建筑行业根据需要设立建筑工程设计事务所资质。
工程设计专项资质可根据行业需要设置等级。
(四)工程设计范围包括本行业建设工程项目的主体工程和配套工程(含厂/矿区内的自备电站、道路、专用铁路、通信、各种管网管线和配套的建筑物等全部配套工程)以及与主体工程、配套工程相关的工艺、土木、建筑、环境保护、水土保持、消防、安全、卫生、节能、防雷、抗震、照明工程等。
建筑工程设计范围包括建设用地规划许可证范围内的建筑物构筑物设计、室外工程设计、民用建筑修建的地下工程设计及住宅小区、工厂厂前区、工厂生活区、小区规划设计及单体设计等,以及所包含的相关专业的设计内容(总平面布置、竖向设计、各类管网管线设计、景观设计、室内外环境设计及建筑装饰、道路、消防、智能、安保、通信、防雷、人防、供配电、照明、废水治理、空调设施、抗震加固等)。
水利行业工程设计河道整治丙级资质办理详解
随着社会经济的发展,生活水平不断提高入们对水利的需求越来越大,对河道整治工程设计与施工也提出了更高的要求,取得河道整治工程设计资质对企业来说,就拥有承接项目
的机遇,拥有立足于市场的资本。
有任何不了解的可与作者沟通艾工☎(Ⅰ3Ⅰ)(83OⅠ)(9六95》
1.资历和信誉
(1)具有独立企业法人资格。
(2)社会信誉良好,注册资本不少于50万元人民币。
2.技术条件
(1)专业配备齐全、合理,主要专业技术人员数量不少于所申请专业资质标准中主要专业技术人员配备表规定的人数。
(2)企业的主要技术负责人或总工程师应当具有大专以上学历、10年以上设计经历,且主持过所申请行业相应专业设计类型的工程设计不少于2项,具有中级及以上专业技术职称。
(3)在主要专业技术人员配备表规定的人员中,主导专业的非注册人员应当作为专业技术负责人主持过所申请行业相应专业设计类型的项目工程设计不少于2项。
3.技术装备及管理水平
(1)有必要的技术装备及固定的工作场所。
(2)有较完善的质量体系和技术、经营、人事、财务、档案等管理制度
办理流程:
河南省住房城乡建设厅负责审批的权限内工程勘察、工程设计资质申报基本流程是:
注册工商→买软件身份证阅读仪→配备人员→整理材料→企业申报→省住房城乡建设厅政务服务大厅受理、核验申报材料、材料齐全后→省住房城乡建设厅勘察设计与标准定额处组织专家审查→公示审查意见→公告审批结果→准予行政许可的持受理单在政务服务大厅领取资质证书。
水利行业工程设计专业资质标准工程设计专业资质主要专业技术人员配备表注:1、专业设置中的主导专业为:(1)—(12)的12个专业;在注册土木工程师(水利水电工程)制度实施注册前申请资质,(1)—(5)专业人员须具备高级工程师及以上技术职务。
2、申请水文设施专业资质甲、乙级,除主要专业技术人员满足此表规定外,其他条件应分别满足工程设计专业资质标准中乙、丙级的相应规定。
3、取得行业资质或水库枢纽专业资质可承担相应等级水文设施工程设计业务。
甲级资历和信誉(1)具有独立企业法人资格。
(2)社会信誉良好,注册资本不少于300万元人民币。
(3)企业完成过所申请行业相应专业设计类型大型项目工程设计不少于1项,或中型项目工程设计不少于2项,并已建成投产。
技术条件(1)专业配备齐全、合理,主要专业技术人员数量不少于所申请专业资质标准中主要专业技术人员配备表规定的人数。
(2)企业主要技术负责人或总工程师应当具有大学本科以上学历、10年以上设计经历,且主持过所申请行业相应专业设计类型的大型项目工程设计不少于2项,具备注册执业资格或高级专业技术职称。
(3)在主要专业技术人员配备表规定的人员中,主导专业的非注册人员应当作为专业技术负责人主持过所申请行业相应专业设计类型的中型以上项目工程设计不少于3项,其中大型项目不少于1项。
技术装备及管理水平(1)有必要的技术装备及固定的工程场所。
(2)企业管理组织结构、标准体系、质量、档案体系健全。
乙级资历和信誉(1)具有独立企业法人资格。
(2)社会信誉良好,注册资本不少于100万元人民币。
技术条件(1)专业配备齐全、合理,主要专业技术人员数量不少于所申请专业资质标准中主要专业技术人员配备表规定的人数。
(2)企业的主要技术负责人或总工程师应当具有大学本科以上学历、10年以上设计经历,且主持过所申请行业相应专业设计类型的中型项目工程设计不少于3项,或大型项目工程设计不少于1项,具备注册执业资格或高级专业技术职称。
工程设计资质标准(共21个行业)为适应社会主义市场经济发展,根据《建设工程勘察设计管理条例》和《建设工程勘察设计资质管理规定》,结合各行业工程设计的特点,制定本标准。
一、总则(一)本标准包括21个行业的相应工程设计类型、主要专业技术人员配备及规模划分等内容(见附件1: 工程设计行业划分表,附表2:各行业工程设计主要专业技术人员配备表,附件3:各行业建设项目设计规模划分表)。
(二)本标准分为四个序列:1、工程设计综合资质工程设计综合资质是指涵盖21个行业的设计资质。
2、工程设计行业资质工程设计行业资质是指涵盖某个行业资质标准中的全部设计类型的设计资质。
3、工程设计专业资质工程设计专业资质是指某个行业资质标准中的某一个专业的设计资质。
4、工程设计专项资质工程设计专项资质是指为适应和满足行业发展的需求,对已形成产业的专项技术独立进行设计以及设计、施工一体化而设立的资质。
(三)工程设计综合资质只设甲级。
工程设计行业资质和工程设计专业资质设甲、乙两个级别;根据行业需要,建筑、市政公用、水利、电力(限送变电)、农林和公路行业可设立工程设计丙级资质,建筑工程设计专业资质设丁级。
建筑行业根据需要设立建筑工程设计事务所资质。
工程设计专项资质可根据行业需要设置等级。
(四)工程设计范围包括本行业建设工程项目的主体工程和配套工程(含厂/矿区内的自备电站、道路、专用铁路、通信、各种管网管线和配套的建筑物等全部配套工程)以及与主体工程、配套工程相关的工艺、土木、建筑、环境保护、水土保持、消防、安全、卫生、节能、防雷、抗震、照明工程等。
建筑工程设计范围包括建设用地规划许可证范围内的建筑物构筑物设计、室外工程设计、民用建筑修建的地下工程设计及住宅小区、工厂厂前区、工厂生活区、小区规划设计及单体设计等,以及所包含的相关专业的设计内容(总平面布置、竖向设计、各类管网管线设计、景观设计、室内外环境设计及建筑装饰、道路、消防、智能、安保、通信、防雷、人防、供配电、照明、废水治理、空调设施、抗震加固等)。
《工程设计资质标准》(建市[2007]86号)[注:根据建设部关于印发《工程设计资质标准》的通知(建市[2007]86号)]为适应社会主义市场经济发展,根据《建设工程勘察设计管理条例》和《建设工程勘察设计资质管理规定》,结合各行业工程设计的特点,制定本标准。
一、总则(一)本标准包括21个行业的相应工程设计类型、主要专业技术人员配备及规模划分等内容(见附件1: 工程设计行业划分表;附件2:各行业工程设计主要专业技术人员配备表;附件3:各行业建设项目设计规模划分表)。
(二)本标准分为四个序列:1、工程设计综合资质工程设计综合资质是指涵盖21个行业的设计资质。
2、工程设计行业资质工程设计行业资质是指涵盖某个行业资质标准中的全部设计类型的设计资质。
3、工程设计专业资质工程设计专业资质是指某个行业资质标准中的某一个专业的设计资质。
4、工程设计专项资质工程设计专项资质是指为适应和满足行业发展的需求,对已形成产业的专项技术独立进行设计以及设计、施工一体化而设立的资质。
(三)工程设计综合资质只设甲级。
工程设计行业资质和工程设计专业资质设甲、乙两个级别;根据行业需要,建筑、市政公用、水利、电力(限送变电)、农林和公路行业设立工程设计丙级资质,建筑工程设计专业资质设丁级。
建筑行业根据需要设立建筑工程设计事务所资质。
工程设计专项资质根据需要设置等级。
(四)工程设计范围包括本行业建设工程项目的主体工程和配套工程(含厂/矿区内的自备电站、道路、专用铁路、通信、各种管网管线和配套的建筑物等全部配套工程)以及与主体工程、配套工程相关的工艺、土木、建筑、环境保护、水土保持、消防、安全、卫生、节能、防雷、抗震、照明工程等。
建筑工程设计范围包括建设用地规划许可证范围内的建筑物构筑物设计、室外工程设计、民用建筑修建的地下工程设计及住宅小区、工厂厂前区、工厂生活区、小区规划设计及单体设计等,以及所包含的相关专业的设计内容(总平面布置、竖向设计、各类管网管线设计、景观设计、室内外环境设计及建筑装饰、道路、消防、智能、安保、通信、防雷、人防、供配电、照明、废水治理、空调设施、抗震加固等)。
水利行业工程设计资质水利行业工程设计资质标准是为适应社会主义市场经济发展,根据《建设工程勘察设计管理条例》和《建设工程勘察设计资质管理规定》,结合水利行业工程设计的特点制定。
标准如下所示:工程设计行业资质:一、甲级:承担本行业建设工程项目主体工程及其配套工程的设计业务,其规模不受限制。
二、乙级:承担本行业中、小型建设工程项目的主体工程及其配套工程的设计业务。
三、丙级:承担本行业小型建设项目的工程设计业务。
一、水利行业工程设计专业基本配备表注:1、打“√”的,表示需要该专业。
2、工程设计单位取得水利行业全行业工程设计资质须达到水库枢纽工程设计类型的要求二、水利行业建设项目设计规模划分表办理资质流程:第一步: 工商注册,第二步: 购软件(北京建设信源资讯有限公司官网购),第三步: 配备人员并注册人员,第四步准备上报资料(网上申报并打印形成上报材料),第五步递交材料,第六步审批(审批流程)市建委-省建厅。
设计资质标准要求:1-1资历和信誉:(1)具有独立企业法人资格。
(2)社会信誉良好,注册资本不少于300万元人民币。
1-2技术条件:(1)专业配备齐全、合理,主要专业技术人员数量不少于所申请行业资质标准中主要专业技术人员配备表规定的人数。
(2)企业的主要技术负责人或总工程师应当具有大学以上学历、10年以上设计经历,主持过所申请行业大型项目工程设计不少于1项,或中型项目工程设计不少于3项,具备注册执业资格或高级专业技术职称。
(3)在主要专业技术人员配备表规定的人员中,主导专业的非注册人员应当作为专业技术负责人主持过所申请行业中型以上项目不少于2项,或大型项目不少于1项。
1-3 技术装备及管理水平(1)有必要的技术装备及固定的工作场所。
(2)有完善的质量体系和技术、经营、人事、财务、档案管理制度。
1-4 人员配备水利行业专业资质与人员配备表。
《工程设计资质标准》(建市[2007]86号)[注:根据建设部关于印发《工程设计资质标准》的通知(建市[2007]86号)]为适应社会主义市场经济发展,根据《建设工程勘察设计管理条例》和《建设工程勘察设计资质管理规定》,结合各行业工程设计的特点,制定本标准。
一、总则(一)本标准包括21个行业的相应工程设计类型、主要专业技术人员配备及规模划分等容(见附件1: 工程设计行业划分表;附件2:各行业工程设计主要专业技术人员配备表;附件3:各行业建设项目设计规模划分表)。
(二)本标准分为四个序列:1、工程设计综合资质工程设计综合资质是指涵盖21个行业的设计资质。
2、工程设计行业资质工程设计行业资质是指涵盖某个行业资质标准中的全部设计类型的设计资质。
3、工程设计专业资质工程设计专业资质是指某个行业资质标准中的某一个专业的设计资质。
4、工程设计专项资质工程设计专项资质是指为适应和满足行业发展的需求,对已形成产业的专项技术独立进行设计以及设计、施工一体化而设立的资质。
(三)工程设计综合资质只设甲级。
工程设计行业资质和工程设计专业资质设甲、乙两个级别;根据行业需要,建筑、市政公用、水利、电力(限送变电)、农林和公路行业设立工程设计丙级资质,建筑工程设计专业资质设丁级。
建筑行业根据需要设立建筑工程设计事务所资质。
工程设计专项资质根据需要设置等级。
(四)工程设计围包括本行业建设工程项目的主体工程和配套工程(含厂/矿区的自备电站、道路、专用铁路、通信、各种管网管线和配套的建筑物等全部配套工程)以及与主体工程、配套工程相关的工艺、土木、建筑、环境保护、水土保持、消防、安全、卫生、节能、防雷、抗震、照明工程等。
建筑工程设计围包括建设用地规划许可证围的建筑物构筑物设计、室外工程设计、民用建筑修建的地下工程设计及住宅小区、工厂厂前区、工厂生活区、小区规划设计及单体设计等,以及所包含的相关专业的设计容(总平面布置、竖向设计、各类管网管线设计、景观设计、室外环境设计及建筑装饰、道路、消防、智能、安保、通信、防雷、人防、供配电、照明、废水治理、空调设施、抗震加固等)。
《工程设计资质标准》(建市[2007]86号)[注:根据建设部关于印发《工程设计资质标准》的通知(建市[2007]86号)]为适应社会主义市场经济发展,根据《建设工程勘察设计管理条例》和《建设工程勘察设计资质管理规定》,结合各行业工程设计的特点,制定本标准。
一、总则(一)本标准包括21个行业的相应工程设计类型、主要专业技术人员配备及规模划分等内容(见附件1: 工程设计行业划分表;附件2:各行业工程设计主要专业技术人员配备表;附件3:各行业建设项目设计规模划分表)。
(二)本标准分为四个序列:1、工程设计综合资质工程设计综合资质是指涵盖21个行业的设计资质。
2、工程设计行业资质工程设计行业资质是指涵盖某个行业资质标准中的全部设计类型的设计资质。
3、工程设计专业资质工程设计专业资质是指某个行业资质标准中的某一个专业的设计资质。
4、工程设计专项资质工程设计专项资质是指为适应和满足行业发展的需求,对已形成产业的专项技术独立进行设计以及设计、施工一体化而设立的资质。
(三)工程设计综合资质只设甲级。
工程设计行业资质和工程设计专业资质设甲、乙两个级别;根据行业需要,建筑、市政公用、水利、电力(限送变电)、农林和公路行业设立工程设计丙级资质,建筑工程设计专业资质设丁级。
建筑行业根据需要设立建筑工程设计事务所资质。
工程设计专项资质根据需要设置等级。
(四)工程设计范围包括本行业建设工程项目的主体工程和配套工程(含厂/矿区内的自备电站、道路、专用铁路、通信、各种管网管线和配套的建筑物等全部配套工程)以及与主体工程、配套工程相关的工艺、土木、建筑、环境保护、水土保持、消防、安全、卫生、节能、防雷、抗震、照明工程等。
建筑工程设计范围包括建设用地规划许可证范围内的建筑物构筑物设计、室外工程设计、民用建筑修建的地下工程设计及住宅小区、工厂厂前区、工厂生活区、小区规划设计及单体设计等,以及所包含的相关专业的设计内容(总平面布置、竖向设计、各类管网管线设计、景观设计、室内外环境设计及建筑装饰、道路、消防、智能、安保、通信、防雷、人防、供配电、照明、废水治理、空调设施、抗震加固等)。
《工程设计资质标准》(建市[2007]86号)[注:根据建设部关于印发《工程设计资质标准》的通知(建市[2007]86号)]为适应社会主义市场经济发展,根据《建设工程勘察设计管理条例》和《建设工程勘察设计资质管理规定》,结合各行业工程设计的特点,制定本标准。
一、总则(一)本标准包括21个行业的相应工程设计类型、主要专业技术人员配备及规模划分等内容(见附件1: 工程设计行业划分表;附件2:各行业工程设计主要专业技术人员配备表;附件3:各行业建设项目设计规模划分表)。
(二)本标准分为四个序列:1、工程设计综合资质工程设计综合资质是指涵盖21个行业的设计资质。
2、工程设计行业资质工程设计行业资质是指涵盖某个行业资质标准中的全部设计类型的设计资质。
3、工程设计专业资质工程设计专业资质是指某个行业资质标准中的某一个专业的设计资质。
4、工程设计专项资质工程设计专项资质是指为适应和满足行业发展的需求,对已形成产业的专项技术独立进行设计以及设计、施工一体化而设立的资质。
(三)工程设计综合资质只设甲级。
工程设计行业资质和工程设计专业资质设甲、乙两个级别;根据行业需要,建筑、市政公用、水利、电力(限送变电)、农林和公路行业设立工程设计丙级资质,建筑工程设计专业资质设丁级。
建筑行业根据需要设立建筑工程设计事务所资质。
工程设计专项资质根据需要设置等级。
(四)工程设计范围包括本行业建设工程项目的主体工程和配套工程(含厂/矿区内的自备电站、道路、专用铁路、通信、各种管网管线和配套的建筑物等全部配套工程)以及与主体工程、配套工程相关的工艺、土木、建筑、环境保护、水土保持、消防、安全、卫生、节能、防雷、抗震、照明工程等。
建筑工程设计范围包括建设用地规划许可证范围内的建筑物构筑物设计、室外工程设计、民用建筑修建的地下工程设计及住宅小区、工厂厂前区、工厂生活区、小区规划设计及单体设计等,以及所包含的相关专业的设计内容(总平面布置、竖向设计、各类管网管线设计、景观设计、室内外环境设计及建筑装饰、道路、消防、智能、安保、通信、防雷、人防、供配电、照明、废水治理、空调设施、抗震加固等)。
专业办理河南省内勘察设计资质并面向全国提供办理资质需要的人员和业绩水利行业灌溉排涝资质标准及主要专业技术人员配备表如下:灌溉排涝工程专业设计丙级需要人员:注册土木(水利水电)规划专业2人,注册土木(水利水电)结构专业3人,注册土木(水利水电)地质专业1人,注册土木(水利水电)水土保持专业或移民专业1人,环境保护工程师1人,建筑工程师1人,水利机械工程师1人,电气工程师1人,工程造价工程师1人,暖通工程师1人,观测工程师1人,共计14人。
资质专家闪经理1*38//38**06//92*78真诚为您服务丙级资历和信誉(1)具有独立企业法人资格。
(2)社会信誉良好,注册资本不少于50万元人民币。
技术条件(1)专业配备齐全、合理,主要专业技术人员数量不少于所申请专业资质标准中主要专业技术人员配备表规定的人数。
(2)企业的主要技术负责人或总工程师应当具有大专以上学历、10年以上设计经历,且主持过所申请行业相应专业设计类型的工程设计不少于2项,具有中级及以上专业技术职称。
(3)在主要专业技术人员配备表规定的人员中,主导专业的非注册人员应当作为专业技术负责人主持过所申请行业相应专业设计类型的项目工程设计不少于2项。
技术装备及管理水平(1)有必要的技术装备及固定的工作场所。
(2)有较完善的质量体系和技术、经营、人事、财务、档案等管理制度。
河南宽信闪经理我公司主办河南省内住建厅颁发的各类勘察设计资质有多年从业经验还有众多成功案例,还提供企业资质挂靠和工程师证书挂靠业务本着诚实做人,诚信做事的原则真诚为企业服务,一次收费,一旦合作,必办成功.李白写的“举头望明月,低头思故乡”,看月亮,必须得抬头看,不然你看见的月只是水中月,而思故乡,必须得低头,看着脚下的土地,土地连结深情,传递的思念感应才会自然。
可见,李白对抬头和低头,有看似经典的认识,只是李白的脖颈不听使唤,该低头时却抬头,该抬头时却低头,搞得李白一辈子光碰头,有时被摔的鼻青脸肿的,但这时的李白爱喝酒,喝了酒就疯疯癫癫的,于是,李白就借着痛感籍着癫意把一肚子的酒吐出来,成就了“君不见黄河之水天上来……”的诗句。
水利工程工作者工作任务分配表一、引言作为水利工程领域的专业人员,我们的工作任务是非常重要的。
本文将为水利工程工作者提供一个工作任务分配表,以协助他们更好地组织和管理工作事务。
二、工作任务分配表以下是水利工程工作者常见的工作任务以及相应的分配表。
1. 项目调研与可行性分析任务描述:对可能进行的项目进行调研,并进行可行性分析,以确定工程的可行性。
工作时间:2021年5月1日至2021年5月10日负责人:张工相关人员:王工、刘工工作内容:通过实地考察、文献阅读和数据分析,收集项目相关资料并进行可行性评估报告的撰写。
2. 设计方案制定任务描述:根据项目可行性分析报告,制定水利工程的详细设计方案。
工作时间:2021年5月11日至2021年6月10日负责人:李工相关人员:张工、陈工工作内容:根据调研报告,梳理项目需求,并进行设计方案的制定,包括选址、水资源利用方案、工程结构设计等。
3. 工程施工与监督任务描述:根据设计方案,组织工程施工,并进行监督和质量控制。
工作时间:2021年6月11日至2021年8月30日负责人:刘工相关人员:李工、张工、王工、陈工工作内容:组织施工队伍进行实际工程施工,并进行质量监督,确保施工进度和质量符合设计要求。
4. 工程验收与交付任务描述:对已完工的水利工程进行验收,并与客户交付工程。
工作时间:2021年9月1日至2021年9月30日负责人:王工相关人员:刘工、李工工作内容:组织相关人员对工程进行验收,确保工程符合规划要求,并与客户进行工程的交付。
5. 后期运维与维护任务描述:对交付的水利工程进行后期运维和维护,确保工程正常运行。
工作时间:2021年10月1日起负责人:陈工相关人员:全部工作人员工作内容:建立工程的运维计划,并定期进行巡检和维护,确保工程设施的正常运行。
三、结论水利工程工作者面临着多样化的工作任务,需要合理分配和组织。
通过工作任务分配表,可以明确每个人员的工作职责和时间安排,从而提高工作效率和工程质量。