建筑工程技术教学计划进度表
- 格式:doc
- 大小:372.50 KB
- 文档页数:8
工程施工进度计划表(范本)工程施工进度计划表(范本)工程名称:XXX项目项目概述:XXX项目是位于某某地区的一个大型工程项目,主要包括XXX工程施工任务。
为了保证项目的顺利进行,制定了下面的工程施工进度计划表。
项目开始日期:YYYY年MM月DD日项目结束日期:YYYY年MM月DD日施工任务及进度计划:1. 硬件准备阶段:- 准备和采购所需材料和设备- 验收和装备施工现场- 预计时间:从YYYY年MM月DD日到YYYY年MM月DD日2. 地基处理阶段:- 确定并标记地基位置- 进行地基的清理和整理- 实施地基处理工作,包括填土、夯实等- 预计时间:从YYYY年MM月DD日到YYYY年MM月DD日3. 主体施工阶段:- 定义并建立工程主体结构- 进行房屋建筑、桥梁建设等具体工程- 实施管道、电气、通讯等设施的安装与调试- 预计时间:从YYYY年MM月DD日到YYYY年MM月DD日4. 装饰装修阶段:- 进行室内外装修工程- 安装门窗、照明设备、空调等设施- 进行景观绿化和道路铺设等工作- 预计时间:从YYYY年MM月DD日到YYYY年MM月DD日5. 竣工验收阶段:- 进行施工工程的全面验收- 完成相关文件和手续的办理- 准备交付项目并进行最终交接- 预计时间:从YYYY年MM月DD日到YYYY年MM月DD日备注:1. 上述时间仅为参考,具体进度会根据实际施工情况进行调整。
2. 如遇不可抗力等特殊情况,工程时间表可能会有所变动,请相应调整进度计划。
3. 请各施工方按照进度表进行工作,确保项目按时完工。
工程施工进度计划表即按照上述内容编制完成,供项目团队和相关部门参考使用。
通过合理的时间安排和进度控制,有助于项目的顺利进行,并提早发现和解决可能的问题,以确保工程的质量和进度。
该表格所列时间仅为参考,并非绝对准确,具体时间还需根据项目实际情况进行调整。
在实施过程中,如有发现需要调整的问题,请及时与项目负责人和相关方沟通协商,以达成一致意见并进行相应的计划更改。
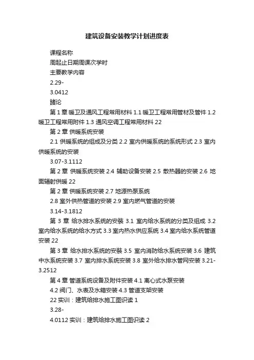
建筑设备安装教学计划进度表课程名称周起止日期周课次学时主要教学内容2.29-3.0412諸论第1章暖卫及通风工程常用材料1.1 暖卫工程常用管材及管件1.2 暖卫工程常用附件1.3 通风空调工程常用材料22第2章供暖系统安装2.1 供暖系统的组成及分类2.2 室内供暖系统的系统形式2.3 室内供暖系统的安装3.07-3.1112第2章供暖系统安装2.4 辅助设备安装2.5 散热器的安装2.6 地面辐射供暖22第2章供暖系统安装2.7 地源热泵系统2.8 室外供热管道的安装2.9 室内燃气管道的安装3.14-3.1812第3章给水排水系统的安裝3.1 室内给水系统的分类及组成3.2 室内给水系统的给水方式3.3 室内热水供应系统3.4 室内给水系统管道安装22第3章给水排水系统的安裝3.5 室内消防给水系统安装3.6 建筑中水系统安装3.7 室内排水系统安装3.8 室外给水排水管网安装3.21-3.2512第4章管道系统设备及附件安装4.1 离心式水泵安装4.2 阀门、水表及水箱安装4.3 管道支架安装22实训:建筑给排水施工图识读13.28-4.0112实训:建筑给排水施工图识读2学期: 2015-2016年学第二学期系别:建筑工程系班级 15造价3、4班任注意:以2学时或者4学时为单位填写。
建筑设备安装工艺与识图课程名称周起止日期周课次学时主要教学内容学期: 2015-2016年学第二学期系别:建筑工程系班级 15造价3、4班任注意:以2学时或者4学时为单位填写。
建筑设备安装工艺与识图22第5章通风空调系统的安装5.1 通风空调系统的分类及组成5.2 通风空调系统管道的安装5.3 通风空调系统设备的安装4.04-4.0812 第5章通风空调系统的安装5.4 太阳能空调系统5.5 通风空调系统的调试5.6 通风空调节能工程施工技术要求22第6章管道防腐与绝热保温6.1 管道防腐6.2 管道绝热保温4.11-4.1512第7章暖卫通风工程施工图7.1 暖卫工程施工图7.2 通风空调工程施工图22实训:通风空调施工图识读4.18-4.2212第8章电气工程常用材料8.1 常用导电和信号传输材料及其应用8.2 常用绝缘材料及其应用8.3 常用安装材料22第9章变配电设备安装9.1 建筑供配电系统的组成9.2 室内变电所的布置9.3 10/0.4 kV电力变压器的安装4.25-4.2912第9章变配电设备安装9.4 箱式变电站的安装9.5 高压电器的安装9.6 低压电器的安装9.7 变配电系统调试课程名称周起止日期周课次学时主要教学内容学期: 2015-2016年学第二学期系别:建筑工程系班级 15造价3、4班任注意:以2学时或者4学时为单位填写。
某学校宿舍翻新维修工程施工技术方案目录第一章编制依据 (2)第二章工程概况 (3)第三章施工总体部署 (4)第四章主要施工方法及技术措施 (8)第五章机械设备及管理人员投入的计划 (16)第六章对专业施工班组的配合 (17)第七章文明施工及安全保证措施 (18)第八章保证施工工期的计划 (20)第九章质量保证及质量通病防治措施计划 (21)第十章降低成本措施 (28)宿舍翻新维修工程施工进度计划 (29)第一章编制依据1、招标文件及相关的技术资料2、主要规程、规范类别名称编号国家钢结构工程施工质量验收规范GB50205-2001 冷弯薄壁型钢结构技术规范GB50018-2002行业门式刚架轻型房屋钢结构技术规程CECS102:2002 3、主要标准类别名称编号国家建筑工程质量验收统一标准GB50300-2001 建造用压型钢板GB/T12755-2008 建筑装饰装修工程施工质量验收规范GB50210-2001 屋面工程质量验收规范GB50207-2002行业建筑施工安全检查标准JGJ95-99 网架结构设计与施工规程JGJ7-91网架结构工程质量检验评定标准JGJ78-91外墙饰面工程施工及验收规范JGJ126-20004、主要法规类别名称编号国家中华人民共和国建筑法中华人民共和国主主席令91号建筑工程质量管理条例国务院令第279号令建设工程施工现场管理规定建设部令第13号行业工程建设标准强制性条文建标(2000)85号工程竣工验收备案管理暂行办法建设部第78号5、其它现行的有关规范和各种法规、制度等第二章工程概况工程简况序号项目内容1 工程名称2 工程地址3 建设单位4 施工单位5 合同工期第三章施工总体部署一、施工部署我公司将对本工程在人力、物力、财力上给予全力支持,实行项目管理,使本工程能优质、高速低耗地圆满建成。
在人力上,将选派我公司具有较强施工经验,很强的施工组织能力的优秀项目经理部来承担此项工程的施工。
2011——2012 学年第二学期授课计划系部:任课教师姓名:班级:课程:建筑施工技术2012年3月22日制第 1 页周次课时授课内容作业内容及数量教具、挂图备注2 2 绪论,施工技术发展概述3 4 第一章:土方工程基坑边坡稳定及降水,填土压实,土方机械化施工4 4 第二章:地基处理局部地基处理,砂石和灰土垫层施工,灰土桩和水泥土桩施工5 4 第三章:桩基工程:钢筋混凝土预制桩施工,混凝土灌注桩施工思考题P83 3、4、5、6、86 4 第四章:砌体工程:砌筑砂浆,砖砌体施工,砌块砌体施工7 4 第五章:钢筋混凝土工程:模板工程,钢筋工程观看视频8 4 清明清明放假9 4 第五章:钢筋混凝土工程:钢筋工程,混凝土工程思考题p1683、5、6、9、11观看视频10 4 第五章:钢筋混凝土工程:混凝土工程思考题p16815、16、18、20习题5-1观看视频11 4 段考并讲评说明:此表由任课老师填写一式三份,自备一份,交专业系部及教务处各一份。
教研组长审核:系主任签字:周次课时授课内容作业内容及数量数具、挂图备注12 五一五一放假13 4 第六章:预应力混凝土工程:先张法,后张法14 4 第七章:结构安装工程:第八章:防水工程:卷材,涂膜,刚性防水屋面施工,地下工程防水施工思考题p2441、2、3、4、5、615 4 第九章:装饰工程:门窗、抹灰、楼地面、饰面、吊顶、涂料工程观看视频16 4 第十章:脚手架与垂直运输设备:扣件式钢管脚手架,碗口式脚手架,里脚手架,垂直运输脚手架P239 10(b)17 4 第十一章:冬季雨季施工:土方工程冬季施工,混凝土工程冬季施工,砌体工程冬季施工,装饰工程冬季施工18 试图实训实训停课19 复习20 考试。
建筑工程施工专业指导性教学计划一、指导思想1.本计划是根据教育部专业设置目录对建筑工程专业的基本要求及社会经济发展对应用性人才的需要而制定。
2.编制原则(1)行业牵动与主动适应相结合的原则;(2)以职业能力为主线的原则;(3)整体优化的原则;(4)重视职业素质教育的原则;二、专业招生对象与学制本专业招收初中毕业生,全日制三年。
三、专业培养目标本专业培养拥护党的基本路线,适应生产、建设、管理、服务第一线需要的,德、智、体、美等方面全面发展的高等技术应用性人才。
通过学习,使学生具有良好的政治素质和道德素质,热爱祖国,坚持四项基本原则,具有正确的世界观、人生观、价值观,遵纪守法,养成良好的社会公德和职业道德。
掌握本专业所必须的数学、外语、计算机应用技术、工程测量、建筑工程施工技术、结构设计、工程分析等基础理论,具有较强的计算机应用能力、中小型房屋结构设计能力和建筑工程施工及管理能力。
形成良好的心理素质、身体素质。
毕业后能运用所学理论知识和技能,从事建筑工程施工、中小型建筑设计、建筑工程测量、施工安全技术应用与监督、施工质量检验与评定、建筑工程造价、建筑材料试验与管理、建筑工程资料管理、物业设施维护与管理等工作。
四、人才培养规格及要求学生通过在校期间系统的理论学习和专业技能训练,具有本专业所需要的知识结构、能力结构和素质结构。
为了实现培养目标,本专业开设了建筑制图与识图、建筑材料与检测、建筑工程测量、建筑力学等专业基础课程,土力学与地基基础、房屋建筑学、钢筋混凝土与砌体结构、钢结构、建筑CAD、建筑法规、建筑工程概预算、建筑施工技术、建筑施工组织等专业课程以及多高层建筑结构设计与设计软件应用、建筑设备工程、民用建筑电气技术与设计、建筑加固设计、高层建筑结构与施工、工程事故分析及处理、建筑设备安装工程施工与组织、建筑物的检测、鉴定、加固与改造、建筑设备安装工程预算与施工组织管理、计算机辅助概预算、建筑经济与企业管理等专业模块课程。
建筑工程技术学习计划
一、学习目的
该学习计划的目的是为学生系统掌握建筑工程技术领域的基础理论知识和实验操作能力。
二、学习内容
1. 建筑材料课程。
学习不同类型建筑材料的组成,性能,测试方法及应用领域。
2. 工程图学课程。
学习工程图学的基本原理和制图方法,学会阅读和绘制各种建筑图纸。
3. 木结构设计课程。
学习木结构楼房的设计理论和计算方法。
4. 钢筋混凝土结构设计课程。
学习钢筋混凝土结构的基本原理以及柱梁楼板的设计方法。
5. 土木工程基础课程。
学习土方工程,道路工程,渠道工程等土木工程的基本知识。
6. 学习。
熟练掌握软件进行建筑图纸的绘图制作。
三、学习要求
认真听课,重视实践操作。
期中和期末考核通过各门课程考试及完成
设计实训项目。
四、学习保证
学校将根据学习计划安排了课程时间和实验操作设备,同时将指导老师负责学生的学习进度和难点问题。
四川科技职业学院教师授课计划进度表(2011~2012学年第二学期)课程名称:__房屋建筑构造_________________课程代码:___08020103___________________教材名称:____房屋建筑构造________________章数(共):___________8章_______________出版社:_____中国建材工业出版社_________主编:______杨福云__________________院、专业:______建筑工程学院_________上课班级:______2011级工程造价3、8、18____ 任课教师_________ _________________实验、实训学时:___________10_______________ 理论教学学时:___________58_______________——教材重点、难点章节内容介绍一、教材重点介绍(1.本教材的重点章节;2.主要内容;3.学时分配;4.分解重点的教学方法)1、重点章节:基础、墙体、地下室的构造原理及具体做法2、楼板层及地面的构造原理及各式做法3、屋顶的构造原理及做法4、墙面、楼地面、顶棚的装饰构造的具体做法5、变形缝的做法二、教材难点介绍(1.本教材难点章节;2.主要内容;3.及学时分配;4.突破难点的教学方法)1、各种基础的构造原理及做法,砖基础的大放脚的计算2、墙面及地下室的防潮层的各种做法3、变形缝的原理及具体做法三、任课教师自拟补充教材及主要内容1、建筑构造的常用术语2、砖基础的大放脚计算3、墙砖的规格及做法教研室主任签字:院(部)负责人签字:审查时间______年___月____日注:附件:任课教师课程教学进度明细表任课教师课程教学进度明细表课程名称:房屋建筑构造周学时(节):4 总学时(节):68周次课程章节序号授课方式授课简要内容及提纲作业检查反馈理论实践学时内容第一周0 √ 2绪论:1、建筑构造课程的基本内容和学习方法;2、建筑的分类及构成要素补充1 2 第一章:民用建筑的概述1、构造组成2、建筑等级3、建筑构造常用术语备注第二周1 √ 1第一章:民用建筑概述:1、建筑标准化及模数协调制2、定位轴线2 3 第二章基础:1、基础与地基的关系;2、基础埋置深度课后习题3、基础分类及构造课后习题备注第三周3 √ 4 第三章墙体及地下室:√1、墙体的类型及设计要求课后习题及课外补充作业2、砖墙的构造课后习题及课外补充作业备注第四周3 √ 4 第三章墙体及地下室√1、砖墙的构造及具体做法课外补充作业2、隔墙构造课外补充作业备注第五3 √√4 第三章墙体及地下室周1、地下室构造2、总结第三章课后习题备注任课教师课程教学进度明细表课程名称:房屋建筑构造周学时(节):4 总学时(节):68周次课程章节序号授课方式授课简要内容及提纲作业检查反馈理论实践学时内容第六周4 √√ 4 第四章楼层板及地面1、楼层板的构成及分类课后习题及课外补充作业2、钢筋砼楼板课后习题及课外补充作业备注第七周4 √ 4 第四章楼层板及地面1、钢筋砼楼板补充题2、楼地层防潮、防水及隔声构造雨蓬及阳台补充作业备注第八周4 √√ 4 第四章楼层板及地面1、楼地层防潮、防水及隔声构造雨蓬及阳台课后习题及课外补充作业2、雨蓬及阳台3、总结本章内容及小测试课后习题及课外补充作业备注第九5 √√ 5 第五章楼梯与电梯周1、楼梯类型和设计要求、楼梯组成课后习题及课外补充作业2、钢筋砼楼梯构造课后习题及课外补充作业备注第十周5 √ 4 第五章、楼梯与电梯1、楼梯细部构造2、台阶与坡道课后习题3、电梯及自动电扶梯4、总结本章内容及随堂测试备注任课教师课程教学进度明细表课程名称:房屋建筑构造周学时(节):4 总学时(节):68周次课程章节序号授课方式授课简要内容及提纲作业检查反馈理论实践学时内容第十一周6 √√ 4 第六章窗和门1、窗课后习题及课外补充作业2、门3、金属及塑料门窗课后习题及课外补充作业备注第十二周7 √ 2 第七章、屋顶1、屋顶坡度及类型2、平屋顶、坡屋顶构造8 √ 2 第八章变形缝:伸缩缝、沉降缝、防震缝的构造备注第十三周8 √ 2 七、八章复习及随堂作业辅导9 √ 2 第九章建筑装修构造:1、墙面装饰构造课后习题备注第十四周9 √ 4 第九章建筑装修构造1、楼地面装修构造补充作业2、顶棚装饰构造课后习题与补充作业备注第十五周10 √ 2 第十章民用工业化建筑体系简介11 √ 2 第十一章工业建筑概述课后习题备注任课教师课程教学进度明细表课程名称:房屋建筑构造周学时(节):4 总学时(节):68周次课程章节序号授课方式授课简要内容及提纲作业检查反馈理论实践学时内容第十六周12 √ 3 第十二章单层工业厂房构造1 总复习备注第十七周总复习备注第十八周考试备注第十九周备注第二十周备注备注:1.本学期于2012年2月21日正式行课,教学周为17周。
土建工程施工进度计划表项目名称:XXX土建工程施工项目地点:XXX市项目负责人:XXX施工单位:XXX公司项目概况:本工程是一座规模较大的土建工程项目,包括地基工程、结构工程、建筑装饰工程等多个方面,总面积约XXX平方米。
施工过程需要遵守相关法律法规,确保工程质量,完成工程进度。
施工目标:1、安全施工,确保工人人身安全;2、保质保量完成工程;3、按时完成工程进度。
施工时间:2021年9月1日-2023年1月1日(共计16个月)一、前期准备(2021年9月1日-2022年1月1日)1、办理相关手续、规划设计、选材购买2、制定工程进度计划表3、招募施工人员,培训安全常识4、搭建施工区域,准备施工设备5、确认工程质量验收标准二、地基工程阶段(2022年1月1日-2022年6月1日)1、进行场地勘察、规划设计2、进行地基处理、基础施工3、进行地下管道敷设4、进行地表处理、周边环境整治三、结构工程阶段(2022年6月1日-2022年11月1日)1、进行框架搭建2、进行混凝土浇筑3、进行梁柱墙体施工4、进行楼梯、通道安装5、进行排水系统安装四、建筑装饰工程阶段(2022年11月1日-2023年1月1日)1、进行地面砖砌、地板铺设2、进行墙面乳胶漆涂装3、进行吊顶装饰4、进行门窗安装、卫生间装修5、进行园林绿化、景观设计五、后期完善及验收(2023年1月1日-2023年1月10日)1、进行工程设备保养、检查2、进行工程质量验收3、进行项目交付、移交六、工程尾款支付(2023年1月10日-2023年1月20日)1、进行工程结算、尾款支付总结:本工程施工过程中,需要注意各项工程的协调配合,确保施工进度符合预期计划。
同时需要加强安全管理,保障工人及周边居民的人身安全。
最终完成工程,保质保量,按时交付。
希望各参与人员共同努力,完成本项目的施工任务。
江西财经大学本科课程教学进度计划表2013—2014学年度第二学期学院江西财经大学旅游与城市管理学院教学系工程管理与城市规划系(课程组)主讲教师陈华敏填表日期:2014 年02 月15 日教务处制表填写说明1.本表是教师授课的依据和学生课程学习的概要,也是学校和院(系)进行教学检查、评价课堂教学质量和考试命题质量的重要依据。
有关非理论课教学的课程,可依此样式由院系自行设计。
2.表中“教学形式及其手段”栏主要填写讲授、多媒体教学、课件演示、练习、实验、讨论等内容;“执行情况”栏,主要填写计划落实或变更情况。
3.本表经教学系主任、教学院长审签后,不得随意变动。
如需调整,应经教学系主任和教学院长同意,并在执行栏内注明。
4.本表一式三份(可复印)。
经审签后,任课教师、院(系)和教务处教学质量科各留一份,其电子版本可访问/web/teacherzl/index.asp并登录后提交江西财经大学本科课程教学进度计划表2013 —2014学年度第二学期主讲教师:陈华敏职称:高工学历:本科学位:_学士___ 主授专业:城市规划课程名称:建筑制图课程编号:19203 班级:城规13 学生人数:23总学时:48 学时,其中课堂讲授27 学时;实验(上机)教学18 学时;其它教学(讨论、见习等): 3 学时;机动:学时实习实训(包括课程实习、课程实训、课程设计等):周教材(名称、主编、出版社、出版时间等)《建筑制图》(第2版)金方编著,中国建筑工业出版社,2010-8主要参考书《建筑初步》清华大学田学哲主编中国建工出版社 1999年《建筑平面及剖面表现方法》[美]托马斯著,何华译,知识产权出版社,2005年《房屋建筑制图统一标准》中华人民共和国国家标准《建筑制图标准》GB/T50104-2001 中华人民共和国国家标准《建筑设计资料集》中国建筑工业出版社成绩考核说明及要求:本课程以综合性实践作业成果的形式作为主要的考查手段其成绩评定方法:考查内容由综合性作业成绩和平时成绩组成,各占60%、60%。