电梯故障处理流程图
- 格式:docx
- 大小:18.09 KB
- 文档页数:1
电梯故障或困人应急流程为保障电梯设备安全、有效、可靠运行,减小事故造成的影响和避免人身伤害事故的发生,特制定本流程。
一、监控室接到报警或发现有乘客被困在电梯内,应立即通知设备维修人员,同时记录接报和发现时间.二、监控室人员应一方面通过监控系统或对讲机了解电梯困人发生地点、被困人数、人员情况、以及电梯所在楼层,另一方面通过对讲机告知设备维修人员,请求派人前往解救。
三、设备维修人员接报后,立即亲自到场或派员到场与被困乘客取得联系,安慰乘客,要求乘客保持冷静,耐心等待求援。
尤其当被困乘客惊恐不安或非常急躁,试图采用撬门等非常措施逃生时,要耐心告诫乘客不要惊慌和急躁,不要盲目采取无谓的行动,以免使故障扩大,发生危险。
注意在这一过程中,现场始终不能离人,要不断与被困人员对话,及时了解被困人员的情绪和健康状况,同时及时将情况向上级领导汇报,若自己无法解救,应设法采取措施,确保被困乘客的安全,等待电梯维修公司技工前来解救。
四、若设备维修人员和电梯维修公司都无能力解救或短期时间内解救不了,应向公安部门或消防部门求助(应说明求助原因和情况).五、在解救过程中,若发现被困乘客中有人晕厥、神志昏迷(尤其是老人或小孩),应立即通知医护人员到场,以便被困人员救出后即可进行抢救。
六、被困者救出后,医护人员应当立即向他们表示慰问,并了解他们的身体状况和需要,同时请他们提供姓名、地址、联系电话及到本小区事由。
如被困者不合作自行离去,应记录下来存档备案.七、被困者救出后,设备维修人员应立即请电梯维修公司查明故障原因,修复后方可恢复正常运行。
八、设备维修组组长应详细记录事件经过情况,包括接报时间和维修人员到达现场时间、电梯维修公司通知和到达时间、被困人员的解救时间、被困人员的基本情况、电梯恢复正常运行时间、故障原因。
若有公安、消防、医护人员到场,还应分别记录到场和离开时间、车辆号码;被困人员有伤者的,应记录伤者情况和被送往的医院,书面报告上级领导.。
xx海景酒店Xx海景酒店电梯故障应急处理预案市南区xx海景酒店电梯故障应急处理方案一、方案流程图二、定义1、一般警情:电梯出现轻微抖动、异常声响,或其他没有明显影响电梯运行的情况,或者乘客误拨报警电话。
2、较大警情:电梯出现骤停、突然断电或困人等紧急情况。
3、重大警情:因电梯事故造成人员伤害的情况。
三、应急处理组织架构图四、应急处理组织各组职责1、应急领导小组职责(有人员伤害)a.负责本单位应急救援预案的启动,确定应急救援预案的启动的区域和现场指挥,对电梯事故全权组织进行应急救援。
b.发生电梯伤亡事故后,在启动单位预案、组织应急救援的同时,负责向上级应急救援指挥部门报告。
c.在发生电梯伤亡事故时,应在特种设备安全监督管理部门等政府部门指挥下具体负责现场应急救援工作。
d.在发生电梯伤亡事故时,负责将现场情况及时向特种设备安全监督管理部门等政府部门汇报。
e.负责组织人员对事故现场进行恢复,并落实整改措施。
f.负责配合有关部门进行电梯事故调查处理。
2、应急领导小组职责(无人员伤害)a.负责对无人员伤亡的电梯事故,全权组织进行应急救援。
b.组织人员对电梯事故现场进行恢复,并落实整改措施。
c.负责确定合理的技术处理方案、制定应急救援方案。
3、应急救援组职责a.负责组织有关人员实施应急救援方案,救援被困人员。
b.负责现场组织、协调应急救援、应急救灾、伤员救治及转送行动。
c.负责救援现场的防护措施;4. 后勤保障组职责a.负责在应急救援情况下为救援、善后工作提供必要的设备、工具及物资供应,提供和检查抢险人员的安全防护用品和装备。
b.负责在应急救援情况下的水源、电源供应和现场设备安全。
c.负责报警、通知指派专人迎接消防车、救护车及其他救援人员。
5. 警戒保卫组职责a.负责应急救援事故发生地点的警戒保卫工作,禁止无关人员随意进出电梯区域,对事故现场进行有效的隔离和维护秩序。
b.当卫生部门医疗救援人员到达现场后,保障救护车在电梯区域应急救援事故现场的道路畅通。
电梯故障或困人应急流程为保障电梯设备安全、有效、可靠运行,减小事故造成的影响和避免人身伤害事故的发生,特制定本流程.一、监控室接到报警或发现有乘客被困在电梯内,应立即通知设备维修人员,同时记录接报和发现时间。
二、监控室人员应一方面通过监控系统或对讲机了解电梯困人发生地点、被困人数、人员情况、以及电梯所在楼层,另一方面通过对讲机告知设备维修人员,请求派人前往解救。
三、设备维修人员接报后,立即亲自到场或派员到场与被困乘客取得联系,安慰乘客,要求乘客保持冷静,耐心等待求援。
尤其当被困乘客惊恐不安或非常急躁,试图采用撬门等非常措施逃生时,要耐心告诫乘客不要惊慌和急躁,不要盲目采取无谓的行动,以免使故障扩大,发生危险.注意在这一过程中,现场始终不能离人,要不断与被困人员对话,及时了解被困人员的情绪和健康状况,同时及时将情况向上级领导汇报,若自己无法解救,应设法采取措施,确保被困乘客的安全,等待电梯维修公司技工前来解救。
四、若设备维修人员和电梯维修公司都无能力解救或短期时间内解救不了,应向公安部门或消防部门求助(应说明求助原因和情况)。
五、在解救过程中,若发现被困乘客中有人晕厥、神志昏迷(尤其是老人或小孩),应立即通知医护人员到场,以便被困人员救出后即可进行抢救。
六、被困者救出后,医护人员应当立即向他们表示慰问,并了解他们的身体状况和需要,同时请他们提供姓名、地址、联系电话及到本小区事由。
如被困者不合作自行离去,应记录下来存档备案。
七、被困者救出后,设备维修人员应立即请电梯维修公司查明故障原因,修复后方可恢复正常运行。
八、设备维修组组长应详细记录事件经过情况,包括接报时间和维修人员到达现场时间、电梯维修公司通知和到达时间、被困人员的解救时间、被困人员的基本情况、电梯恢复正常运行时间、故障原因.若有公安、消防、医护人员到场,还应分别记录到场和离开时间、车辆号码;被困人员有伤者的,应记录伤者情况和被送往的医院,书面报告上级领导。
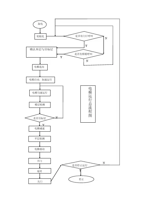
电梯运行总流程图
N
Y
Y
N N
Y
N
Y
加电
初始化 是否有门厅呼叫
是否有轿箱呼叫
确认本层与目标层
电梯选向
电梯启动,加速运行
电梯匀速运行
楼层检测
是否目标层
电梯减速
平层检测
电梯制动
开门
延时 关门
是否停止运行
停止
Y
Y
N
N
Y
Y
N
N
N Y
N
Y
Y N
Y
N
N
Y
Y
N
Y
N N N
Y
Y
N
电梯在1楼
2,3,4,5楼有信号
电梯上升
停止
电梯在2楼
3,4,5楼有信号
电梯上升
1楼有信号
电梯下降
停止
电梯在3楼
4,5楼有信号
电梯上升
1,2楼有信号
电梯下降
停止 电梯在4楼
5楼有信号 电梯上升
1,2,3楼有信号
电梯下降
停止
电梯在5层
1,2,3,4层有信号
电梯下降
停止
电梯上升下降 运行流程图。
电梯故障应急预案
一、应急响应流程。
1. 发现电梯故障后,立即通知相关人员,包括物业管理人员、电梯维修人员和居民。
2. 物业管理人员立即前往现场,对电梯进行初步检查,确认故障情况。
3. 若居民被困在电梯内,立即通知相关部门进行救援,并安抚受困居民的情绪。
4. 若电梯故障无法立即修复,物业管理人员需在显眼位置张贴通知,告知居民电梯故障情况和修复进度。
二、故障处理措施。
1. 若电梯故障导致居民被困,应立即通知电梯维修人员进行救援,并及时报告相关部门。
2. 对于小型故障,物业管理人员可进行初步排查和处理,若无法解决,则需立即通知专业维修人员。
3. 若电梯故障无法在短时间内修复,物业管理人员需安排专人现场进行监控,确保受困居民的安全,并及时向居民通报故障情况和修复进度。
三、预防措施。
1. 定期对电梯进行检查和维护,确保电梯设备的正常运行。
2. 加强对电梯维修人员的管理和培训,提高其应对应急情况的能力。
3. 在电梯内设置紧急通话装置,方便受困居民与外界联系。
4. 定期进行电梯应急演练,提高物业管理人员和居民的应急意识和应对能力。
以上为电梯故障应急预案,希望能够在发生电梯故障时,能够快速、有效地进行应急处理,确保受困居民的安全。
电梯困人及故障应急预案1.0 目的:保障场馆内各电梯在发生困人、故障等突发事件时能及时有效地处理和恢复,确保城市规划展示厅正常运营。
2.0 适用范围:所有场馆内OTIS公司及迅达公司电、扶梯。
3.0 职责:3.1 国际会展中心物业部接报后负责到场采取故障应急处理措施,如自己无法解决则及时将电梯故障情况告知维保单位,要其及时赶来现场。
(2小时内)3.2 国际会展中心保安部负责监控电梯运行状况,电话联系维保单位,通知城市规划展示厅、会展中心物业部的相关人员,疏导游客流向,安慰被困人员。
3.3 城市规划展示厅城市规划展示厅服务部负责对VIP接待及展厅内游客进行疏导及安慰。
3.4 维保单位人员接报后到场处理与维修。
4.0 工作程序4.1 电梯困人及故障应急处理流程图(附图)4.2 物业部工作程序4.2.1 物业部运行主管/电梯组当班人员/运行电工在接报后5分钟内到达事故现场,查明故障原因,严格按电梯操作规范采取应急措施,并电话/对讲联系维保单位人员将故障情况及时告之。
4.2.2 如电梯困人,且轿厢内地坪离电梯厅地坪在±500毫米之内,由电梯组当班人员按下列步骤先行释放被困游客。
4.2.2.1 进入电梯机房或配电间切断此台电梯电源。
4.2.2.2 用电梯专用厅门三角钥匙打开厅门,确定电梯轿厢位置。
4.2.2.3 打开电梯内门,解救被困人员。
4.2.2.4 关闭电梯内门、厅门,确认无误。
4.2.2.5 遇其它复杂情况,应及时报电梯维保单位处理。
4.2.3 如电梯轿厢内地坪离电梯厅地坪超出±500毫米范围,则须由维保单位急修人员负责放人。
4.2.4 电梯故障应于基站处设立禁示牌或扶栏,严禁在不明情况下“二次动车”。
4.2.5 维保单位人员接报后在120分钟内到达现场处理与维修,并填写电梯接修单,交物业部审核。
4.3 保安部工作程序4.3.1 发生电梯困人,监控中心保安及时电话通知维保单位,并通过对讲机/电话通知国际会展中心经理室、物业部运行主管/电梯工/运行电工、展厅服务部主管,同时通知保安主管/领班及就近保安人员5分钟内到达事故现场,加强警戒,疏导游客流向,配合物业部采取各种措施,以避免因故障而发生各种人、财、物损失的事件。
一、困人处置流程图特征询问顺序:1、 96333 编码2、注册编码2、合格证号3、电梯地址如有伤亡4、所在建筑5、维保单位成功通知 120急救中心处置人员1、维保单位(救援站)派维修人员进行维修2、在制度上要求救援单位30分钟到达现场3、如自觉无法按时到达现场应立即反馈,由监控中心另行指派救援单位报警报警人询问伤亡情况,电梯定位,业务系统中查询处置人员特征询问顺序:1 、行政区定位成功 2 、道路不成功3 、小区4 、周围建筑物询问地理特征 GIS 系统查询5 、使用单位处置人员定位成功不成功记录特征信息处置人员成功自动确定维保单位并发送短信救援就近选择救援站指令 ,通知使用单位电梯困人情况处置人员就近选择救援站发送短信待命指令短信发送救援指令处置人员不成功人工电话通知维保单位人工电话救援指令处置人员通知成功通知成功不成功不成功人工电话发送救援指令给救援站处置人员通知成功成功计时到达时间(分钟)到达未到达催促救援人员安抚报警人处置人员到达到达确定,记录定位信息询问并记录事故情况处置人员解救人员并反馈结果维修人员计时到达时间(分钟)不需要催促救援人员派遣成功未成功安抚被困人询问现场情况成功处置人员确定救援站结果,记录救援时间,故障需要求助原因,救援单位及师傅姓名等相关信息处置人员需要回访报警人119联动中心处置人员故障电梯移交给维保单位维修结果反馈无定期查询工单并询问维修结果处置人员有确认处理结果,记录相关信息完成维修完成处置人员未完成回访电梯使用单位处置人员督促及时维修处置人员结束报警报警人特征询问顺序:1、96333编码2、注册编码询问电梯定位特征,业务系统中查询2、识别码3、电梯地址处置人员4、所在建筑5、维保单位成功定位成功特征询问顺序:1、行政区不成功2、道路3、小区询问地理特征, GIS 系统中查询4、周围建筑物处置人员5、使用单位定位成功不成功成功自动确定维保单位记录定位信息并发送短信通知处置人员人工电话通知处置人员不成功通知成功成功形成、打印、传真任务单给维保单位处置人员1、维保单位派维修人员进行维修定期查询工单并询问维修结果2、在制度上要求维修单位 24小时内反馈维修结果维修结果反馈无处置人员有确认处理结果、记录相关信息完成维修完成处置人员未完成回访报警人处置人员督促及时维修处置人员结束接警(报警人来电)告知 96333热线 的工作范围立即解答是 能否解答?否记录内容, 问清解决方法投诉电梯 转交给相关部门本身问题否跟进处理是转交当地特种设是电梯违法、违备监察部门规使用等否告知市民反馈结果处置完毕四、重大事件上报流程接警(报警人来电)1.有重大影响的困人或故障事件(标志性建筑、人员密集场所等)2.有电梯事故的应急处置案件3.有人员伤亡的应急处置案件致电110 、 120是否出现伤亡?是联动救援、派遣维保单位否5分钟内上报话务员组长5分钟内上报监控中心领导向上级主管部门逐级汇报留意并上报发展情况,做好详细的全程记录救援完成后,须向监控中心领导报告处置结果整理材料,形成书面报告并存档。
无锡市妇幼保健院电梯故障处理流程图
注:夜班监控室接到电梯故障报警后要向业主说明次日由客服部向业主做回访电梯故障原因和处理结果。
同时要联系夜班领班跟进,电梯技术人员查修故障梯后结果要告知监控室,夜班领班要把处理结果要上报秩序主管,次日上班后立即向前台交接电梯故障事宜,如需继续停梯维修要通知客服部张贴温馨提示。
如发生困人现象工程值夜人员和秩序领班要立即到达故障现场做解释安抚工作,楼管第二天要到被困人员家里再次做解释、沟通、安抚工作。