物资管理流程图
- 格式:doc
- 大小:28.00 KB
- 文档页数:1
物资管理相关流程说明1 物资采购流程 (2)2 固定资产采购流程 (5)3 外修服务流程 (8)4 寄售物资签订流程 (11)5 寄售物资采购流程 (14)6 框架协议签订流程 (15)7 框架协议采购流程 (18)8 删除流程 (19)保管员付款申请单创建ZR000FIDG006 采购员1物资采购流程 物资询比价采购流程业务部门 BPM 审批保管员生成*计划员*物资发料ZR000MMDG034平衡利库ZR000MMDG001. 物资需求计划提报 -► ZR100PMDG006带领料单号一领料人询价直采方式部门负责.1 r米购分组ZR000MMDG002采购员询报价采购方式i 确定采购方式—ZR000MMDG003招标采购方式协议采购方式-询价单创建ZR000MMDG005供应商询价员报价单维护ZR000MMDG007二传真[报价单打印盖章和二供应商BPM :比价结果审批维护/显示比价结果ZR000MMDG010审批通过采购员米转米购订ZR000MMDG024法务系统保管员否创建合同采购员否法务系统:合同审批BPM :合同审批发货签订合同 _____供应商保管员分配检验ZR000MMDG013A 是 BPM :质检通知是否质检到货登记ZR000MMDG123采购员否质检会签单维护—ZR000MMRP0051 _______验收入库保管员采购员采购员I亍财务 验收入库ZR000MMDG015 ZR000MMDG015物资发料ZR000MMDG034带领料单号领料人发票校验MIR4精品文档保管员付款申请单创建ZR000FIDG006采购员物资招标采购流程ZR000MMDG002部门负责人或计划员招标申请提报ZR000MMDG046BPM :招标申请审批保管员验收入库 物资发料ZR1000MMDG034验收入库ZR000MMDG015保管员保管员发料—带领料单号 -----领料人采购员三财务发票校验 发票校验 MIR4业务"计划员平衡利> 'ZR000MMDG001招标采购方式确定采购方式ZR000MMDG003… __询价直采方式协议采购方式询价•员 审批通过 现场投标投标完成BPM :合同审批供应商BPM :质检通知BPM 审批 是否满 不满足 物资需求计划提报ZR100PMDG006满足ZR1000MMDG034发料带领料单号—领料人生成保管员采购员•…询报价采购方式采购员到货登记ZR000MMDG123保管员采购员分配检验ZR000MMDG013供应商BPM :招标结果审批招标结果维护ZR000MMDG046.招标结果生成采购订单 审批通过」创建合同ZR000MMDG016签订合同是*是否质检质检会签单维护ZR000MMRP005精品文档保管员付款申请单创建ZR000FIDG006采购员业务部门 物资需求计划提报ZR100PMDG006询价直采方式询价员免招标申请ZR000MMDG059物资免招标采购流程1BPM 审批计划员部门负责人或计划员采购员审批通过:免招标申请审批 | |是否满物资发料ZR1000MMDG034平衡利库蚪 ZR000MMDG001米购分组ZR000MMDG002发料生成 确定米购万式ZR000MMDG003询报价采购方式•询价单创建」打印LJ 询价单传真4 CZR000MMDG005r供应商I ------------- LrkZR000MMDG007询价 供应商彳带领料单号领料人保管员招标采购方式fc-维护/显示比价结果ZR000MMDG010BPM :比价结果审批P 1审批通过比价或直米转米购订单41—员ZR000MMDG024采购员采购员 保管员 分配检验ZR000MMDG013是否创建合同是 否 创建合同ZR000MMDG016• BPM :普通合同审批签订合同到货登记ZR000MMDG123是否质检BPM :质检通知供应商质检会签单维护ZR000MMRP005保管员L验收入库物资发料ZR000MMDG015ZR000MMDG034■发料保管员采购员Tv预制发票MIR7i带领料单号领料人吕.财务精品文档需求提报人付款申请单创建ZR000FIDG006采购员2固定资产采购流程固定资产询比价采购流程物资需求计划提报(生产性零购项目、非生产性零购项目)ZR100PMDG006需求部门部门负责人或计划员采购员确疋米购万式ZR000MMDG003询价直采方式 询报价采购方式招标采购方式协议采购方式询价员 维护/显示比价结果ZR000MMDG010 -询价单创建ZR000MMDG005 1 打印 询价单」传真t [供应商W 2 -------- k 报价单维护丄传真一 」报价单LZR000MMDG007L_ 打印盖章— 供应商BPM :比价结果审批采购员 比价或直米转米购ZR000MMDG024审批通过保管员否签订合同供应商到货登记ZR000MMDG123创建合同ZR000MMDG016 采购员BPM :固定资产合同审批采购员分配检验ZR000MMDG013验收入库ZR000MMDG015是否质检否 质检会签单维护保管员ZR000MMRP005质检会签单维护 ZR000MMRP005 *华能XX 电厂固定资产验 收领用单打印保管员采购员预制发票MIR7r发票校验MIR4财务采购分•组 采购刀•组ZR000MMDG002精品文档需求提报人 保管员付款申请单创建ZR000FIDG006采购员固定资产招标采购流程物资需求计划提报(生产性零购项目、非生产性零购项目)ZR100PMDG006岛廿 片 ZR000MMDG002部门负责人或计划员 --------------------------—招标申请提报ZR000MMDG046BPM :招标申请审批曙一确定采购方式ZR000MMDG003米购员丄询价直采方式询报价采购方式审批通过 现场投标投标完成匕Qo 』供应商招标结果维护ZR000MMDG046BPM :招标结果审批|询价 招标结果生成采购订单 采购员 审批通过」[ 创建合同 「BPM :固定资产合同审批1 ZR000MMDG016 1采购员 分配检验ZR000MMDG013到货登记ZR000MMDG123L_发货保管员 供应商保管员采购员M验收入库ZR000MMDG015财务是* 是否质检 预制发票MIR7发票校验MIR4BPM :质检通知质检会签单维护LZR000MMRP005p发料XX 电厂固定资产验收领用单保管员 打印协议采购方式招标采购方式精品文档需求提报人保管员付款申请单创建ZR000FIDG006采购员精品文档需求提报人保管员付款申请单创建ZR000FIDG006采购员固定资产免招标采购流程BPM :质检通知质检会签单维护ZR000MMRP005保管员审批通过询价员 供应商询价员 采购员 比价或直采转采购订单ZR000MMDG024审批通过否创建合同采购员供应商到货登记ZR000MMDG123创建合同ZR000MMDG016BPM :固定资产合同审批签订合同保管员 保管员验收入库ZR000MMDG015XX 电厂固定资产验收领用单发料打印采购员分配检验ZR000MMDG013是否质检精品文档需求提报人保管员付款申请单创建ZR000FIDG006采购员采购员固[发票校验MIR4财务精品文档付款申请单创建ZR000FIDG006采购员3外修服务流程 外修服务询比价流程服务需求计划提报ZR100PMDG013需求部门BPM 审批确定米购万式—*\ZR000MMDG003米购员,1询报价采购方式采购分组V -------------- ► ZR000MMDG002部门负责人或计划员 ----------------- H -------- 创建ZR000MMDG0058询价 询价直采方式传真一 报价单维护ZR000MMDG007传真语輕I供应商传真 毛■打印盖章供应商供应商员 维护/显示比价结果ZR000MMDG010BPM :比价结果审批审批通过采购员比价或直采转采购订单ZR000MMDG024是* 否BPM :普通合同审批采购员创建合同ZR000MMDG016采购员服务验收ZR000MMDG079采购员财务■ ■■工■ ■招标采购方式■-签订合同供应商 维修后送回BPM :验收通知预制发票MIR7发票校验MIR4精品文档外修服务招标流程询价直采方式协议采购方式BPM:合同审批发票校验MIR4财务付款申请单创建ZR000FIDG006采购员精品文档付款申请单创建ZR000FIDG006采购员询价直采方式外修服务免招标流程服务需求计划提报ZR100PMDG013米购分组ZR000MMDG002部门负责人或计划员■采购员BPM 审批确定采购方式ZR000MMDG003询报价采购方式招标采购方式协议采购方式ZR000MMDG005供应商BPM :比价结果审批维护/显示比价结果ZR000MMDG010打印盖章—'供应商询价员1免招标申请ZR000MMDG059-MBPM :免招标 示申请审批___ 审 君批通过报价单维护ZR000MMDG007采购员打印报价单1比价或直米转米购订单| ZR000MMDG024采购员服务验收ZR000MMDG079供应商 维修后送回 采购员财务 创建合同ZROOOMMDG016 BPM :合同审批|签订合同BPM :验收通知 BPM :验收通知发票校验MIR4采购员精品文档供应商签订框架协议合同4寄售物资签订流程寄售协议签订流程(标准)创建采购申请1框架协议申请ME51N...项目类别1:选择寄售(k )米购分组 ZR000MMDG002部门负责人或计划员审批通过1生成:框架协议号比价或直采转采购订单1_框架—ZR000MMDG024创建合同 ZR000MMDG016BPM :合同审批审批通过招标采购方式nd询价单创建 [ ZR000MMDG005[- ■1懸 J报价单维护■-传真一-1报价•打印盖章i —r-nirr ZR000MMDG007米购员传真供应商确定米购方式 ZR000MMDG003*询价直采方式________询报价采购方式供应商询价员BPM :比价结果审批维护/显示比价结果 ZR000MMDG010凭证类型:框架协议申请米购员精品文档寄售协议签订流程(标准)审批通过供应商签订框架协议合同精品文档寄售物资采购流程(捷径)维护寄售信息记录.执行寄售采购流程ME11米购员5寄售物资采购流程寄售物资采购流程转库后■X寄售结算单创建ZR000MMDG061生成寄售流水号打印寄售流水单供应商开发票寄售预制发票ZR000MMDG0616框架协议签订流程框架协议签订流程(标准)创建采购申请ME51N框架协议申请询价单打印传真供应商报价单维护ZR000MMDG007询价单创ZR000MMDG005X5~CXT供应商维护/显示比价结果ZR000MMDG010审批通过BPM :比价结果审批j供应商签订框架协议合同招标采购方式招标甲请提报ZR000MMDG046BPM :招标申请审批框架协议签订流程(标准)部门负责员询价米购员框架协议申请创建采购申请ME51N■采购分组ZR000MMDG002米购员确定米购方式ZR000MMDG003询报价采购方式审批通过1 现场投标-供应商----- 投标完成------- '招标结果维护ZR000MMDG046招标结果生成米购订单创建合同ZR000MMDG016凭证类型:框架协议申请询价直采方式BPM :招标结果审批,J■[生成:框架协议号jn审批通过II BPM :合同^批I I审批通过供应商签订框架协议合同框架协议签订流程(捷径)供应商签订框架协议合同精品文档7框架协议采购流程框架协议采购流程业务部门物资需求计划提报ZR100PMDG006BPM审批是否满物资发料ZR1000MMDG034 「带领料单号满足发料领料.保管员平衡利库ZR000MMDG001生成出£采购申请单J__计划员米购分组■ZR000MMDG002采购员保管员采购员比价或直采转采购订单ZR000MMDG024火电直采单维护ZR000MMDG054到货登记ZR000MMDG123*一分配检验一ZR000MMDG013询价员确定米购方式| 协议采购方式|ZR000MMDG003采购订单-生成. —给供应商下订单卡-Q—~供应商供应商按订单发货保管员采购员三是否质检BPM :质检通知质检会签单维护ZR000MMRP005I1 验收入库ZR000MMDG015I 预制发票I MIR7发票校验MIR4物资发料ZR1000MMDG034发料财务付款申请单创建(根据订单付款)ZR000FIDG006采购员保管员保管员J带领料单号领料人SSS精品文档8删除流程 rmjr rmjr rmjr rmjr删删删删ajniii jniii niiii nnji nnji nnji nnji nn.ii 删删删删删删删删1 ---------- ■mill mir| mir| mir| mir| mir| mir| mir| 删删删删删删删删 1M*ZR100PMDG006*A删删删删删删mill mir| mir|mill mir| mir|mill mir| mi|| mir| mt\ mtr|删删删删删删mill mi|| mir| mtt| mtt| mtr| mtt|删删删删删删删MIR4WWWME52N删删删I 删删删ZR000MMDG001删删删删删删删删删删ZR000MMDG026wwwwwME42wwwwwwwwwwwwZR000MMDG024mill mi|| mi|| miri miri miriME22Nmill mir| mi|| mtr|删删删删• ZR000MMDG023mill mir| mir| mtr| mir| mir| mir| A HQ jmj| mi|| mtr|删删删删删删删103删删删ZR000MMDG050mill mir| mir| mtr| mtr| mir| mi|| A CU jniii rmi删删删删删删删105删删删ZR000MMDG050«mtt| mir|mill mi|| mir| mtr|删删删删 mill mi|| mir| mtr| mtr| mtr| mjj|删删删删删删删MR8M«JM J I JM J I —mill mi|| mi|| mi|| 删删删删 mill mi|| mi|| mi|| 删删删删MIR7Mmill mir| mir| mtr| mtr| mtr| mi||删删mill mir| mi|| mtr|ZR000MMDG0501 Fnm Imj JM J JM J M J 删删删删删ZR000MM lli Jit Jit JitI 删删删删删1DG003.... nrit| jnir| jniii jniil Mil jniii jniii rntii jtriii jyiii rrnji rniit jnir|ZR000MMDG024mill mir| mir| mir| mir| mir| mir| mir| mir| mir| mir| mir| mir| ■ 删删删删删删删删删删删删删■MB01mill mir| mir| mir| mir| mir| mir| mt|| 1 删删删删删删删删1ZR000MMDG015Jlttll W Jlttll i >J >J >Jmill mi|| mi|| jmj| mtt| mtr| mi|| mi||ZR000MMDG034«mi\ mill mill mill mill mill mill mill mill mill mill mill mill mill mill mill 删删删删删删删删删删删删删删删删mill mir| mir|ZR000MMDG036mill mill mill mill millmill mill mill mill mill mill mill mill mill mill mill mill mill删删删删删删删删删删删删删。
仓储业务流程图
仓储业务总流程由三个阶段和五个环节及若干个程序组成。
三个阶段即物资入库阶段、物资保管阶段、物资发放阶段。
五个环节:物资接运、物资验收、物资保管及维护保养、物资出库及发运、售后服务。
每个环节又由若干个程序组成。
物资验收流程图
验
收
唯
备
理货
确定检验t匕例p7
邀规验收质馱检验填制记录科见问题填制记录
同单-登账堆码、苫垫填制料K 传递入库爪
数量清点pF
外观质量检验P7资料核对、竟验pF
冋户「I检ps
送外委托庾检pg
专项检验pB
验收记录pB
送检记录p10
也话记录p11
损坏、溢余、短少p11
实物
填:LJ记
谀
物资保管
勺題处理
单价卿槪
大类调整
物资报废
p47
p49
p50物资保管流程图
甘区分类規划p21
堆码、沁p24
确定检许方法P26
确定检沓内容p26
空施检代
确定盘点内容P26
眦电战点劉鄒范III p27
确士盘点方法P27
班蛆LI记
热点报表、盘点报告p8日
盘眾、盘寸p42
储耗
p45
仓储管用爭故卩52
制定擁养计划
保养确定傑弄方法
实诫噪养
帘用物资図管侏胖方法P70
资料管理内容
资料
管理
凭讣、单据■.账刑p3~1
送报表p32
制度、标准p32纸质资料装订
迅子数掘保會
物资发放流程图。
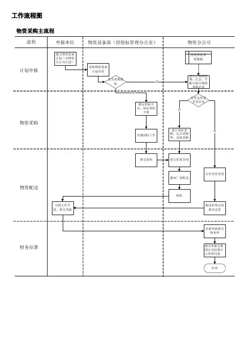
工作流程图物资采购主流程物资需求计划管理年度供应商选择—集中采购物资①供应商选择—委托(公开、邀请)招标①①需要进行公开招标的项目包括:(1)物资、材料、设备等货物采购项目,单项合同估算价在100万元人民币(含)以上的;(2)咨询、保险、审计等服务项目,单项合同估算价在50万元人民币(含)以上的;(3)单项合同估算价低于(1)、(2)项规定的标准,但项目总投资额在3000万元(含)以上的。
可以进行邀请招标的项目包括:(1)物资、材料、设备等货物采购项目,单项合同估算价在50万元人民币(含)以上、100万元人民币以下的;(2)咨询、保险、审计等服务项目,单项合同估算价在30万元人民币(含)以上、50万元人民币以下的。
(3)单项合同估算价低于(1)、(2)项规定的标准,但项目总投资额在1000万元(含)以上的。
①按规定需要进行公开招标及邀请招标的项目,原则上由集团招投标管理办公室组织实施,委托具有国家认可资质的第三方招标代理机构具体开展。
特殊情况下(如对质量、交货期等有特殊要求时),可按“一事一报”原则,经公司批准同意,由招投标管理办公室组织开展自主邀请招标。
②相关部门(单位)包括但不限于招标申请部门(单位)、技术质量部门、财务部门、工程管理部门、规划设计单位等与该项目有关的部门(单位),具体名单由招标申请部门(单位)提出。
①可以进行竞争性比选的项目包括:(1)物资、材料、设备等货物采购项目,单项合同估算价在10万元人民币(含)以上、50万元人民币以下的;(2)咨询、保险、审计等服务项目,单项合同估算价在1万元人民币(含)以上、30万元人民币以下的。
(3)单项合同估算价高于(1)、(2)项规定的标准,但参与项目投标人少于三家。
分子公司自行采购物资设备,采用竞争性比选方式时,参照此流程进行。
②相关部门(单位)包括但不限于招标申请部门(单位)、技术质量部门、财务部门、工程管理部门、规划设计单位等与该项目有关的部门(单位),具体名单由招标申请部门(单位)提出。
公司物资采购流程公司各部门:根据公司高管办公会议研究决定,迁入新厂后按照新制定的采购流程采购生产及办公物资,采购物资遵循节约资金、严控成本、质优价廉、统一归口的采购原则。
非公司授权部门不得自行采购物资,如有违反财务部不予审核报销,并由人力资源部按照《管理人员绩效考核办法》对责任人进行考核,对数额巨大的将进行经济处罚。
现将公司授权履行采购职责的部门及采购围明确如下:一、采购部门采购围1、生产用原辅料、药材、包装材料;2、生产劳保用品(含工作服)及消耗材料;3、五金配件、电工电料、生产工器具(原生产部采购员划归采购部);4、组织采购工程器材、生产设备设施、质量分析大中小型仪器;项目部、生产部、质量部有优先建议权,并参与选型及考察过程;5、生产用清洁用品类(含洁具、消毒洗涤用品等);6、化验用试液、试剂、标准品、特殊管理药品及易制毒化学品。
7、其他由总经理批准的采购项目。
二、办公室采购围1、办公用品(笔墨纸、名片、耗材类);2、办公设备、器材、清洁用具等;3、办公家具、电器、饮用水;4、食堂物资及宿舍楼维修维护材料;5、其他由总经理批准的采购项目。
三、请购及审批程序1、各部门需要采购的物资,由部门经办人填写请购单,部门经理初审、分管总监签字审核后,提交总经理批准,重大项目或大宗物资需执行董事或董事长核准后,由采购部门开展采购业务。
2、特殊商品如专业书籍、杂志、报刊、专用账册等非常规物资经部门请购,总经理批准后可由提出请购需求的部门采购。
3、印字包装材料变更按照专用程序进行审批和采购。
特此通知,请各部门遵照执行。
附:采购流程图二O一五年五月二十八日附件一:生产物料采购管理流程编号:采购-1-步骤表/流程图编制日期:2015-05-28流程图:采购主管采购经理公司领导财务审核附件二:食堂物资采购管理流程编号:行政-1-步骤表/流程图编制日期:2015-05-28审批人:行政总监、办公室主任制作人:食堂管理员流程图:食堂管理员行政办公室其他部门参与财务审核食堂管理委员会:9人附件三:五金配件及工器具类采购管理流程编号:采购-2-步骤表/流程图编制日期:2015-05-28流程图:采购专员、主管采购经理总经理财务审核附件四:办公用品、器材采购流程备注:1、办公用品除非紧急业务外,日常办公用品只受理各部门每月请购计划,部门计划上报日期每月为30日,逾期不予受理。
中铁十八局集团隧道工程有限公司渝黔铁路土建2标项目经理部物资管理工作规范项目部物资管理主要包括计划管理、采购管理、供应管理、仓储管理、现场管理、统计分析及成本核算等几大业务板块。
一、计划统筹(需求计划、采购计划、供应计划)1、计划统筹是物资管理的基础,是采购和供应的依据。
2、物资计划统筹由物资部牵头,工程部、计划部配合编制。
工程部提供基础资料及设计量,计划部复核并安排工程进度、核定材料消耗系数。
上场初,工程部对施工图纸进行全面清理,核算出各个单位工程(分部、分项工程)图纸工程量数目和所需材料设计量。
钢筋混凝土工程中砼数量应扣除钢筋和波纹管等的体积。
计划部复核工程量、安排施工进度、核定材料消耗系数并提供数据及进度给物资部。
材料消耗系数一般混凝土工程按钢材1.5% 散装水泥1%、袋装水泥按2.5%;设计数量加损耗量即为消耗限额。
物资部复核后按桥、隧、涵、路基等单位工程建立单位工程物资限额发料台账》。
对施工队伍更换频繁较难核算的,可从单位工程剩余工程量建立物资限额发料台账。
3、物资计戈【J分需求总计划和年度、(季度)、月度计划,需求总计划由各单位工程限额计划汇总而成,是本项目控制计划。
4、物资需求计划由圭寸面、编制说明和需求计划表三部分组成,计划应经项目总工程师审核,项目经理或其授权人批准。
5、项目各单位工程限额供料台账和批准的项目物资需求总计划应报公司物资部备案。
6、在执行计划的过程中有设计变更时应及时调整物资计划。
二、采购1、项目应成立物资采购领导小组,领导小组由项目主管领导、总工程师、分管付经理及工程、计划、财务、物资等部门负责人组成。
负责对项目物资采购进行决策。
2、物资采购前要进行广泛市场调查,建立合格供应商名册》,调查范围应包括相邻兄弟单位采购情况。
调查情况应有相应记录。
3、除甲方供应材料外,对单个种类采购金额在30万元以上的工程材料应实行招标采购。
钢材、水泥等大宗材料开工时一般应选择三家以上的供应商同时供货,其它材料一般也要保持两家。
物资领用流程图1、由分厂库房发放的物资(根据分厂生产计划所需的物资)
在领料单上盖章盖会计章职责:验收物资职责:验收物资保管员根据使用人要求进行认可盖章保管员按料单发料
登记帐簿填写内部领料单登记帐簿
2、由物流部库房直接领用的物资(应急使用的物资)
使用人到分厂库房开料单职责:对申请物料进行职责:审核数量、金额职责使用人领料保管员根据使用人要求填写材料调拨单认可盖章盖会计章核准数量
3、零星采购的物资(应急使用须外购的)
申请人填写紧急采购申请表职责:按要求采购接收人:保管员使用人领料
保证质量职责:验收物资保管员开内部领料单
根据采购凭证填写内部领料单申请部门领导签字方可发放
登记帐簿
备注:1、牛皮纸、塑料布、小五金等实行检斤制度,必须由指定专人检斤现场打印票据。
2、化工油料、机电备件及小五金的质量由技术科负责验收,并在验收单上签字。
3、工装磨具数量、质量由生产科安排专人负责验收,并在验收单上签字。
4、无质量验收人签字、检斤票财务不给结算,不允许发放使用。
行政事业单位物资保管管理制度及流程图下载温馨提示:该文档是我店铺精心编制而成,希望大家下载以后,能够帮助大家解决实际的问题。
文档下载后可定制随意修改,请根据实际需要进行相应的调整和使用,谢谢!并且,本店铺为大家提供各种各样类型的实用资料,如教育随笔、日记赏析、句子摘抄、古诗大全、经典美文、话题作文、工作总结、词语解析、文案摘录、其他资料等等,如想了解不同资料格式和写法,敬请关注!Download tips: This document is carefully compiled by theeditor.I hope that after you download them,they can help yousolve practical problems. The document can be customized andmodified after downloading,please adjust and use it according toactual needs, thank you!In addition, our shop provides you with various types ofpractical materials,such as educational essays, diaryappreciation,sentence excerpts,ancient poems,classic articles,topic composition,work summary,word parsing,copy excerpts,other materials and so on,want to know different data formats andwriting methods,please pay attention!行政事业单位物资保管管理制度与流程详解行政事业单位的物资保管是其日常运营的重要环节,涉及到财务管理、资源利用和工作效率等多个方面。