10 成品检验工作流程
- 格式:doc
- 大小:62.50 KB
- 文档页数:2
产品质量检验作业流程一、准备工作1.确定检验标准:根据产品的不同特性以及相关国家标准、行业标准等,确定适用的检验标准。
2.准备检验设备和工具:根据检验标准要求,准备适用的检验设备和工具,包括测量仪器、试验设备等。
3.培训检验人员:对参与产品质量检验的人员进行培训,确保他们熟悉检验标准和操作方法。
二、产品接收和样品取样1.接收产品:接收待检产品,并记录产品信息,如产品型号、批号等。
2.取样:按照规定的取样方法,从产品中取样,确保样品的代表性。
三、检验项目确定1.根据产品特性和检验标准,确定需要进行的检验项目。
2.制定检验方案:对每个检验项目制定检验方案,包括检验方法、操作要点、判定标准等。
四、执行检验1.按照检验方案执行检验:根据制定的检验方案进行逐项检验,使用相应的检验设备和工具进行测量、测试等操作。
2.记录检验数据:记录每项检验的结果和数据,包括合格、不合格等。
五、判定和处理结果1.判定结果:根据检验标准对检验结果进行判定,判断每项检验是否合格。
2.不合格品处理:对于不合格品,制定相应的处理方案,如返工、报废等,并记录相关信息。
六、检验报告和档案管理1.检验报告编制:根据判定结果和检验数据,编制检验报告,详细描述检验过程和结果。
2.档案管理:对检验报告和相关文件进行归档管理,确保可追溯和查阅。
七、改进和反馈1.定期评估检验结果:定期评估产品质量检验的结果,分析不合格的原因,并提出改进措施。
2.提供反馈和建议:将改进措施反馈给相关部门,为产品质量改进提供依据和建议。
在进行产品质量检验时,还需要注意以下事项:1.条理清晰:严格按照产品质量检验作业流程进行操作,确保每一步的顺序和要求都正确执行。
2.精细认真:对于每一项检验项目,应认真操作,确保数据的准确性。
3.严格控制:严格控制取样方式和取样数量,确保样品的代表性。
4.动态调整:根据产品特性和实际情况,适当调整检验项目和检验方案。
5.及时反馈:发现问题或不合格品及时反馈给相关责任人,以便及时处理和改进。
成品检验流程图在生产过程中,成品检验是一个至关重要的环节。
它确保了产品的质量,并防止不合格的产品流入市场。
下面是一个成品检验流程图的示例,它概述了成品检验的主要步骤。
1、准备检验设备在开始成品检验之前,需要准备必要的检验设备,包括测量仪器、检测工具、实验室设备等。
这些设备应按照相关规定进行校准和维护,以确保其准确性和可靠性。
2、接收产品从生产线上接收待检验的产品,并将其放在指定的检验区域。
同时,应记录产品的信息,如型号、规格、批次等。
3、检查外观对产品的外观进行检查,包括是否有划痕、瑕疵、变形等问题。
同时,检查产品的完整性,确保没有明显的缺陷或损坏。
4、检查尺寸和形状使用测量仪器对产品的尺寸和形状进行检测,确保其符合设计要求和规格。
对于关键尺寸和形状,应进行详细的测量和记录。
5、检查材料质量对产品的材料质量进行检查,包括材料的硬度、韧性、耐久性等指标。
对于关键材料,应进行实验室测试和分析。
6、检查功能性能对产品的功能性能进行检查,包括开关、按钮、指示灯等部件的功能测试。
确保产品能够在正常条件下运行,并满足设计要求。
7、审核质量文件查阅产品质量文件,包括生产记录、检测报告、合格证明等。
确保产品质量符合相关标准和客户要求。
8、填写检验报告根据检验结果填写检验报告,记录产品的信息、检测数据和评价结果。
检验报告应准确、完整地反映检验过程和结果。
9、审核检验报告对检验报告进行审核,确认检验结果是否符合要求。
如有不合格的产品,应进行返工或报废处理。
10、交付合格产品将合格的产品交付给下一道工序或客户,确保产品质量符合要求并满足市场需求。
成品检验流程是产品质量控制的关键环节之一。
通过实施严格的成品检验流程,可以确保产品的质量符合标准要求,提高产品的可靠性和安全性。
及时发现并处理潜在问题,有助于降低生产成本和减少质量损失。
成品检验流程图的推广和应用有助于提高企业生产效率和产品质量水平,提升企业的市场竞争力。
在任何生产或制造过程中,原材料的检验都是至关重要的环节。
成品检验作业指导书一、背景介绍在生产制造过程中,成品检验是确保产品质量的重要环节。
成品检验作业指导书是为了规范成品检验工作流程,确保每个环节的准确性和一致性,以提高产品质量和客户满意度。
二、目的本作业指导书的目的是为了提供一个标准的成品检验流程,确保每个环节的操作准确无误,以及提供一致的检验标准,以便对成品进行准确的评估和判定。
三、适用范围本作业指导书适用于所有成品检验工作,包括但不限于以下方面:1. 成品外观检验2. 成品尺寸检验3. 成品性能检验4. 成品包装检验四、作业指导书内容1. 成品外观检验1.1 检验项目:外观缺陷、颜色、表面光洁度等。
1.2 检验方法:目视检查、使用特定工具进行测量等。
1.3 检验标准:根据产品规格书或客户要求进行判定。
1.4 检验记录:记录检验结果,包括缺陷描述、缺陷数量等。
2. 成品尺寸检验2.1 检验项目:尺寸、重量、厚度等。
2.2 检验方法:使用测量工具(如卡尺、秤等)进行测量。
2.3 检验标准:根据产品规格书或客户要求进行判定。
2.4 检验记录:记录检验结果,包括尺寸数据、重量数据等。
3. 成品性能检验3.1 检验项目:电气性能、机械性能、耐久性等。
3.2 检验方法:使用特定的测试设备和工具进行测试。
3.3 检验标准:根据产品规格书或客户要求进行判定。
3.4 检验记录:记录检验结果,包括测试数据、测试方法等。
4. 成品包装检验4.1 检验项目:包装完整性、标签准确性等。
4.2 检验方法:目视检查、使用特定工具进行测量等。
4.3 检验标准:根据产品规格书或客户要求进行判定。
4.4 检验记录:记录检验结果,包括包装缺陷、标签错误等。
五、作业指导书的使用流程1. 检验员根据作业指导书的要求,准备好所需的检验工具和设备。
2. 检验员按照作业指导书的要求进行成品检验。
3. 检验员记录检验结果,并将记录上报给质量管理部门。
4. 质量管理部门根据检验结果,进行评估和判定,并提供相应的反馈和改进意见。
产成品检验流程一、引言产成品是指企业生产过程中所得到的最终产品,对于企业来说,保证产成品的质量是至关重要的。
产成品检验流程是企业采取的一种有效的质量控制手段,通过对产成品进行检验,可以确保产品达到预期的质量标准,满足客户需求。
本文将详细介绍产成品检验的具体流程。
二、检验前的准备工作1. 检验设备和工具准备在进行产成品检验之前,需要确保所需的检验设备和工具准备完善,并处于良好的工作状态。
这包括测量工具、质量标准样品、化学试剂等。
2. 制定检验计划根据产成品的特性和质量标准,制定详细的检验计划。
检验计划应包括检验项目、检验标准、检验方法及其操作规范等内容,以确保检验的准确性和可重复性。
3. 建立检验记录和报告建立相应的检验记录和报告模板,以便记录每一次的检验结果。
检验记录和报告应包括检验日期、检验人员、检验项目、检验结果等信息,以提供后续的追溯和分析。
三、检验过程1. 准备样品从生产线上抽取代表性的产成品样品,并确保样品符合抽样要求。
样品的数量和抽样方法应根据具体产品和生产批次确定。
2. 检验外观质量外观质量是产成品检验的首要指标之一。
对样品进行外观检验,包括外观缺陷、颜色、形状、尺寸等方面的评估。
检验人员可以根据产品的外观标准和要求,将样品与标准样品进行比对,判断样品的外观质量是否合格。
3. 检验功能性能根据产品的功能性要求,对样品进行相关的功能性能测试。
这可能涉及到各种物理测试、化学测试、机械测试等,以确保产品在使用过程中的各项功能正常运行。
4. 检验可靠性和耐久性可靠性和耐久性是一些产品的重要指标,特别是对于耐用消费品或工业设备。
通过使用特定的测试方法和装置,对样品进行可靠性和耐久性测试,以评估产品在实际使用中的寿命和稳定性。
5. 检验安全性对于一些安全相关的产品,如电子产品、医疗器械等,安全性是产成品检验的重点。
通过对样品的电气性能、辐射安全、化学安全等方面进行检测,以保障产品在使用过程中的安全性。
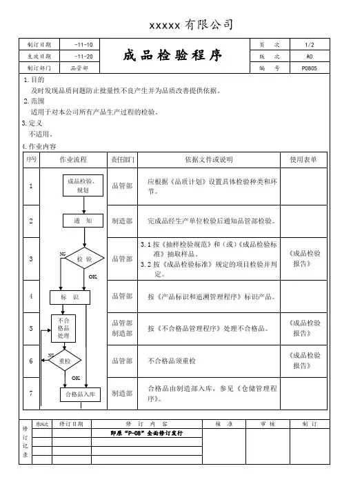
1、目的对成品的质量特性进行检验,以验证产品要求得到满足。
2、适用范围适用于对公司生产的产品的检验和化验过程进行控制。
3、职责3.1技术质检部负责确定成品检验的适用标准和技术要求,确定产品的检验操作规程,组织检验工作的具体实施。
4、工作程序4.1检验管理4.1.1技术质检部根据产品标准,确定产品质量保证检查方式及检验项目。
4.1.1.1 检查方式1)出厂检验项目为感官指标、包装完好状况、净含量(如有净含量要求时)、过氧化值、菌落总数及大肠菌群。
2)出厂检验按生产日期组批,开工投料后,没有中断生产,直至停机时,同一条生产线的产品为一批次。
对每批出厂产品进行检验,检验合格准于出厂,检验不合格严禁出厂。
3)对同一批次的产品抽样检查的方法和数量按SB/T10017标准规定进行。
4 )定期送样至质量技术监督部门进行监督检验和带“ *”项目的委托检验。
4.2检验规则4.2.1检验依据出厂检验执行SB/T 10379《速冻调制食品》及相关标准规定。
4.2.2抽样方法技术质检部按照标准规定的出厂检验抽样要求进行抽样,其中包装净含量的测定按《定量包装商品计量监督规定》进行抽样和测定,感官指标采用随机抽样的方式随机抽取一定数量的件数检验,最小件数不能少于12件。
423判定原则1)合格品:检验项目都符合产品标准规定的。
2)不合格品:除微生物指标外,检验项目中有1项不符合产品标准规定的,允许对该项指标加倍抽样进行复验,若仍不合格,则判该批产品为不合格批,不得出厂。
微生物指标如不合格则该批产品不合格,不得复检。
4.3检验实施4.3.1技术质检部负责对每批出厂的产品按自检检验项目进行检验,检验原始数据记录于“细菌检验原始记录表”中,检验结果记录于“成品检验报告”中,并注明合格与否的检验结论。
检验员及审核员应在记录上签字确认,作为产品放行的依据。
4.3.2技术质检部负责对合格的产品签发“产品合格证”后准予放行。
4.3.3经检验不合格的产品,严禁出厂,须按《不合格管理程序》来进行处置。
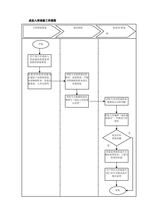
入库检验准备成品检验检验结果处
理
开始
生产部门在成品入
库前通知质量管理
部做好检验准备
质量管理部接到通知后做好产品检验准备,包括抽取样本、设备仪器准备、人员安排等
质检专员依照规定的
程序、质量要求,严格
对所抽取的样本进行
质量检验
质检专员根据检验结
果填写“成品入库检验
记录表”
质检专员对质量检验
数据进行分析判断
是否存在
质量问题
质量管理部形成不合
格品处理意见,上报主
管领导审批
生产单位及其他相关
部门对不合格品进行
相应处理
质检专员编制“成品检
验报告”,并报送主管
领导
是
否
第一次样品检验二次样品检验批量投产开始
生产部门依据相关规
定及要求,将生产的样
品提交质量管理部
质检专员依据规定的
操作程序与质量要求
对样件进行检验
质检专员出具“样品检
验报告”并上报领导
是否符合
质量要求
生产部门返工重新生
产样品是
否
生产部门进行小批量
试产并送检
质检专员对样品的特
性等方面进行检验
质检专员出具“样品检
验报告”并上报领导
是否符
合质量
要求
是
否
生产部门调整工艺后,
重新生产
生产单位根据质量管
理部的建议,大批量投
入生产
质量管理部应定期对
产品进行质量检验,填
写“产品检验记录表”
质量管理部定期汇总
相关质量记录,并存档
备查或做研究之用。
成品检验作业指导书【成品检验作业指导书】一、引言成品检验是保证产品质量的重要环节,本作业指导书旨在提供详细的操作流程和要求,以确保成品检验工作的准确性和一致性。
本指导书适用于公司的成品检验工作,所有相关人员必须按照本指导书的要求进行操作。
二、检验项目及标准1. 外观检验- 外观缺陷:成品外观应无明显划痕、凹陷、气泡等缺陷。
- 颜色一致性:成品颜色应与标准样品一致。
- 尺寸精度:成品尺寸应符合产品设计要求。
2. 功能性检验- 功能测试:根据产品功能要求,进行相应的功能性测试。
- 电气性能:对电子产品进行电气性能测试,确保符合相关标准。
3. 包装检验- 包装完整性:检查成品包装是否完好无损。
- 标签准确性:检查包装上的标签是否准确无误。
三、检验设备和工具1. 外观检验仪器:放大镜、显微镜、测量尺等。
2. 功能性检验仪器:测试设备、电压表、电流表等。
3. 包装检验工具:刀具、尺子、称重设备等。
四、操作流程1. 准备工作- 确认检验项目和标准。
- 准备所需的检验设备和工具。
- 清理检验工作区域,确保整洁。
2. 外观检验- 使用放大镜或显微镜检查成品外观,记录任何可见的缺陷。
- 使用测量尺等工具,测量成品尺寸,与产品设计要求进行比对。
3. 功能性检验- 根据产品功能要求,使用相应的测试设备进行功能性测试。
- 对电子产品进行电气性能测试,记录测试结果。
4. 包装检验- 检查成品包装是否完好无损,如有破损情况记录并报告。
- 检查包装上的标签是否准确无误,如有错误情况记录并报告。
五、记录和报告1. 记录检验结果:将检验结果记录在检验报告中,包括外观缺陷、尺寸精度、功能测试结果等。
2. 报告异常情况:如发现异常情况或不合格项,及时向上级主管报告,并采取相应的措施进行处理。
3. 存档和追踪:将检验报告存档,并建立追踪系统,确保问题得到及时解决和改进。
六、安全注意事项1. 操作人员必须穿戴相关的个人防护装备,如手套、护目镜等。
产品检验管理工作流程图及标准(一)产成品检验管理工作流程图部门名称 层次部门 节点厂长 A生产技术部 3 主管厂长 B流程名称 概要 中心化验室C产成品检验管理工作流程产成品检验生产技术部生产单位DE1开始2自检3检验检验报中心化验室检验4检验结果编制报表5发现问题分析处理配合处理并记录6审批7 8 910审批 审批是否降价销售 是通知销售处降价销售 否返回流程重大问题召开会议组织生产 参加11审批12审批原因措施 结束原因措施(二)产成品检验工作流程标准任务名称 检验过程问题判定降价销售需返回流 程重大问题 处理节点E2 E3 D3 C3C4 D4 C5 D5 E5D6 D7D8 E8D9 B9 D10 E10 D11 E11任务程序、重点、标准 程序 ☆ 生产单位对产品进行自检 ☆ 中心化验室按要求对成品进行检验 ☆ 生产技术部对成品质量进行监督检验 重点 ☆ 产品的检验 标准 ☆ 做到及时、准确 程序 ☆ 中心化验室检对产品进行检验,并将检验结果报生产技术部 ☆ 检验结果出现问题由生产技术部分析处理,生产单位配合处理 重点 ☆ 分析处理问题 标准 ☆ 及时、准确提出处理意见 程序 ☆ 判断产成品是否可以降价销售,写出处理意见 ☆ 可以降价销售的产品,经领导审批后,交销售处进行降价销售 重点 ☆ 判断是否进行降价处理 标准 ☆ 及时、准确的提出处理方案 程序 ☆ 不能降价处理的,采取返回流程处理 ☆ 生产技术部提出下发返回流程处理方案,生产单位组织实施 重点 ☆ 返回流程处理方案 标准 ☆ 做到及时、准确、可行 程序 ☆ 产品出现重大质量问题时,报主管厂长审批后,由生产技术部 组织召开会议,分析原因,提出整改措施。
☆ 生产技术部、生产单位有关人员参加会议,提出意见 ☆ 生产技术部起草会议报告,报主管厂长、厂长审核通过 重点 ☆ 产品重大问题的处理 标准 ☆ 及时、有效地解决产品重大问题时限 按规定 按规定依情况 即时1 个工作日内 即时依情况 1 个工作日内相关资料 《生产管理制度》 ISO9001 质量管理体系文件《生产管理制度》 ISO9001 质量管理体系文件《生产管理制度》《生产管理制度》生产管理制度 ISO9001 质量管理体系文件。
1. 目的
规范成品出货检验流程,防止不合格出货,及时发现、纠正产品质量隐患,保证产品质量。
2. 适用范围
适用于本厂加工、制造的各类产品的成品出货前的检验。
3. QA检验流程/职责和工作要求
我特别喜欢董卿说的一段话,她说无论我们最后生疏成什么样子,曾经对你的好都是真的,就算终有一散,也别辜负相遇,希望你从来都不后悔认识我,也是真的快乐过,但是,如果能回到过去的话,我一定会选择从来不认识你,不是因为我后悔了,而是因为我不能面对现在这样的结局。
可能离别就是人成长的一课,就像至尊宝,如果他戴上紧箍的话,他就不能够再爱紫霞,但是如果他不戴上,他就不能救自己最爱的人,所以才会发现,人生其实很多事情都没到选,成长的第一课就是让你接受,没得选这件事是人生常态,有幸能够牵手走一段路的人,其实已经很幸运了。
成品(出厂)检验制度一、目的和适用范围为了确保公司生产的成品质量,提高产品的合格率,保障客户满意度,制定本制度。
本制度适用于公司所有生产的成品,涵盖了从成品(产品)检验的流程、标准和考核措施等内容。
二、定义1.成品:指公司生产的成品,即最终交付给客户的产品。
三、成品(出厂)检验的流程1.检验环节:–收货检验:对原材料及包装材料的质量进行检验,确保其符合质量要求。
–在制品检验:对生产过程中的半成品进行检验,确保其符合质量标准。
–成品检验:对最终生产出来的成品进行全面的检验,确保其质量完备,符合客户需求。
2.检验标准:–收货检验标准:遵循国家相关标准和公司内部要求,对原材料及包装材料的外观、尺寸、物理性能等进行检验。
–在制品检验标准:根据产品工艺和生产要求,对半成品的质量进行检验,包括外观、尺寸、结构、功能等方面。
–成品检验标准:根据产品规格和客户要求,对成品的外观、尺寸、性能、可靠性等进行全面检验。
3.检验手段:–收货检验手段:使用各种检验仪器和设备,如观察仪器、测量工具等。
–在制品检验手段:通过抽样、检测、试验等方法进行检验。
–成品检验手段:采用专业的检测设备和检验方法进行全面检验。
4.检验记录:–收货检验记录:记录原材料及包装材料的批次、检验结果等信息。
–在制品检验记录:记录检验过程中的抽样方法、抽样结果、检验结果等信息。
–成品检验记录:记录检验人员、检验时间、检验结果、不合格项目等详细信息。
四、成品(出厂)检验的管理标准1.管理要求:–配置专职检验员或检验团队,负责成品检验工作。
–制定和完善检验标准和检验流程。
–负责监督和管理检验工作的执行情况。
–对符合要求的成品进行相应的标识,确保产品可追溯性。
–监督供应商的质量管理体系,确保原材料和包装材料的质量符合要求。
2.工作流程:–检验员根据产品规格和客户要求,制定成品检验计划。
–在成品生产完成后,进行成品检验。
–检验员根据成品检验结果,进行判定并记录。
成品检验作业指导书一、引言成品检验是产品质量控制的重要环节,通过对成品的检验,可以确保产品的质量符合预期要求,保证产品的合格率和客户满意度。
本作业指导书旨在为成品检验工作提供详细的操作指导,确保检验工作的准确性和可靠性。
二、检验范围本次成品检验的范围包括但不限于以下方面:1. 外观检验:检查成品的外观是否符合要求,包括表面平整度、颜色、图案等。
2. 尺寸检验:测量成品的尺寸,确保尺寸符合设计要求。
3. 功能检验:测试成品的功能是否正常,包括电气性能、机械性能等。
4. 包装检验:检查成品的包装是否完好,防止在运输过程中受损。
三、检验设备和工具1. 外观检验:使用显微镜、放大镜等设备进行外观检查。
2. 尺寸检验:使用卡尺、游标卡尺、测量仪等工具进行尺寸测量。
3. 功能检验:根据产品的不同特性,使用相应的测试设备和工具进行功能测试。
4. 包装检验:使用刀具、剪刀等工具检查包装的完好性。
四、检验方法1. 外观检验:(1)使用显微镜或者放大镜对成品进行子细观察,检查表面平整度、颜色、图案等是否符合要求。
(2)记录外观检验结果,并按照规定的标准进行评定。
2. 尺寸检验:(1)根据产品的设计图纸,确定需要测量的尺寸。
(2)使用卡尺、游标卡尺等工具进行尺寸测量,确保测量的准确性。
(3)记录尺寸测量结果,并与设计要求进行比较,评定尺寸是否合格。
3. 功能检验:(1)根据产品的功能要求,确定相应的测试方法和设备。
(2)进行功能测试,记录测试结果,并按照规定的标准进行评定。
4. 包装检验:(1)检查成品的包装是否完好,无破损、变形等情况。
(2)使用刀具、剪刀等工具检查包装的密封性。
(3)记录包装检验结果,并按照规定的标准进行评定。
五、检验记录和报告1. 检验记录:(1)对每一个成品进行检验时,记录检验的日期、时间、检验员等基本信息。
(2)详细记录每一个检验项的检验结果,包括外观、尺寸、功能、包装等。
(3)如有不合格项,记录不合格的具体原因和情况。
1.目的规范成品出货检验流程,防止不合格出货,及时发现、纠正产品质量隐患,保证产品质量。
2.适用范围适用于本厂加工、制造的各类产品的成品出货前的检验。
3.QA检验流程/职责和工作要求流程职责工作要求相关文件/记录流程职责开始工作要求相关文件/记录投产首件检验检查结果确认生产✍生产✍每一订单生产的第一台机送OQC检验《首件检查检验员按订单、样机、检验标准或规范、说明书、ECN、表》OQC组长料表、设计文件作首件检验填写《首件检查表》(外观、功能)✍QE✍QE对首件及《首件检查表》确认,并签署合格与否意见首件不合格处理✍PIE/OQC组✍OQC、PQC和PIE对机确认,《OQC检验报长/PQC组长告》OQC不合格发出《OQC检验报告》,注明首件检查《坏机分析PIE工程PIE分析原因,发出《坏机分析报告》报告》生产部已投产机返工,生产再重送首件首件合格处理✍OQC组长✍首件检验合格,OQC通知生产线组长在《首件确认表》上签字确认后,生产部批量生产批量检验✍检验员✍首件检验合格,OQC批量抽检根据产品检验标准、规范,《产品检验抽样规定》,设计文件,批量抽检记录抽检的每台机流水号首批检验合格机抽一箱做整箱落地试验首批检验合格机(配有电源的产品)抽一箱做24小时煲机试验根据抽检结果填写OQC检验报告抽检不合格处理✍OQC组长/PQC组长/PIE✍批量抽检不合格PQC、OQC、PIE对机确认OQC主管OQC主管在OQC检验报告上签字确认检验员OQC在生产部产成品送检单上填写REJ,注明不良项目,发出《OQC检验报告》,PIE工程PIE发出《坏机分析报告》,在线指导生产线返工,返工后重新送检流程职责工作要求相关文件/记录✍OQC组长✍批量抽检合格,组长在《OQC检验报告》签字确抽检合格处理认检验员作业员合格话机在生产部产成品送检单上盖蓝色QA PASS章,外箱贴绿色QA合格证贴纸,客户产品盖蓝色QA PASS章,记录每一订单箱号范围、流水号范围、物流码范围客户产品送客户抽检✍OQC领班组长/生产线封箱,OQC监督,外箱底部贴白色封箱签✍客户产品批量合格后,OQC填写送检单通知客户验货送检单客户验货不合格处理客户验货合格入成品仓✍QE/PIEOQCPIE✍客户、QE、PIE对机,客户验货报OQC转发客户验货报告告工程发出《坏机分析报告》和《返工报告》《坏机分析计划安排返工,返工后再重新送检报告》《返工报告》✍客户验货合格,OQC检验员核对卡板数量在生产部产成品送检单上注明客户检验合格✍生产线将合格产品入成品仓结束。
成品出货检验程序摘要本文将介绍一个关于成品出货检验程序的实施方案。
该程序通过检验成品的物理与化学性质,以确定产品是否达到规定标准,从而保证出厂产品的质量与稳定性。
在本文中,我们将探讨所需的设备、实施步骤、相关标准和建议,并介绍常见的问题及其解决方案。
设备和工具准备为了实现成品出货检验程序,我们需要以下设备和工具:1. 氯离子检测设备氯离子检测设备用于检测产品中的氯离子含量。
一般来说,这种设备通常是便携式的,可以很方便地进行检测。
检测过程中,需要将产品放入检测器中,按照设备说明书中的指示进行操作。
2. 温度计温度计用于检测产品的温度。
在测量温度时,需要将温度计浸入产品中,然后将读数记录在检验表格中。
3. 称重设备称重设备用于测量产品的重量。
在测量重量时,需要将产品放置在称重设备上,然后记录读数并将其输入检验表格中。
4. 其他设备和工具根据不同产品的需求,可能需要其他的设备和工具。
例如,如果检验的产品是液体,我们需要使用比重计测量液体的比重。
如果产品颜色较深,我们需要使用光谱仪来测量其吸光度。
实施步骤实施成品出货检验程序需要遵循以下步骤:1. 确定检验标准在开始检验之前,必须确定检验产品的标准。
这些标准应该符合国家规定的质量标准和客户要求。
在标准确定之后,我们需要根据标准制定检验方案。
2. 准备检验设备和工具在进行检验之前,需要将检验设备和工具全部准备好,确保它们的运作正常。
3. 取样取样是检验的关键步骤。
在取样之前,应严格按照相关标准操作。
通常,我们需要对产品进行充分的搅拌或振荡,以确保样品的均匀性。
然后,我们需要取出足够的样品,进行适当的样品分装以保证准确性。
4. 检测氯离子含量使用氯离子检测设备检测产品中的氯离子含量。
在检测时,需要按照设备说明书中的指示进行操作。
通常情况下,我们需要将样品放入检测仪器中,将其与标准溶液进行比较,从而得出氯离子含量。
5. 检测温度测量产品的温度。
在测量时,我们需要将产品中的温度计浸入样品中,然后记录测得的温度值。