物料收货及验收流程文件版)
- 格式:doc
- 大小:51.50 KB
- 文档页数:4
物料管理流程验收规范
一、目的
本规范旨在规范物料管理流程,确保物料管理工作有序、高效运行,为公司生产经营提供有力支持。
二、范围
本规范适用于公司所有物料管理相关部门及岗位。
三、职责
1.物料管理部门负责制定和优化物料管理流程,组织实施和监督。
2.相关部门和岗位人员按照规定的流程执行物料管理工作。
四、流程
1.物料需求计划
根据生产计划、库存情况等编制物料需求计划,做好物料采购准备。
2.物料采购
按照采购管理制度完成物料采购,确保物料质量和供应及时。
3.物料收货和入库
对收货物料进行数量、质量检验,合格后办理入库手续,准确记录库存。
4.物料领用和发放
按照生产需求计划,审核物料领用单,经批准后安排物料发放。
5.物料库存管理
定期盘点,核对账实相符,监控库存状况,及时处理超期滞留物料。
6.绩效考核
制定物料管理绩效指标,定期考核,持续改进管理流程。
五、要求
1.严格执行物料管理制度,规范操作流程。
2.准确计划物料需求,控制库存合理水平。
3.确保物料质量符合要求,保障生产供应。
4.加强信息化管理,提高工作效率。
5.定期审核流程,持续优化完善。
六、验收
1.物料管理部门组织对相关部门和岗位开展流程执行情况的检查验收。
2.发现问题及时整改,对违规行为进行通报批评。
3.建立绩效考核激励机制,确保流程持续改进。
七、附则
1.本规范由物料管理部门负责解释。
2.本规范自发布之日起施行。
物资验收、保管、领用制度范本一、目的与依据本制度的目的是为了规范物资的验收、保管和领用流程,确保物资的安全、有效管理。
本制度的依据为《物资管理办法》等相关法规和文件。
二、适用范围本制度适用于本单位所有的物资验收、保管和领用工作。
三、主要内容(一) 物资验收的程序1. 接收a. 检查物资的数量和质量,确保与货物清单一致,并将验收结果记录在验收单上。
b. 如发现物资有缺损或数量不符的情况,应立即向采购单位或供应商提出异议,并要求解决问题。
2. 检查a. 根据物资的特点,对其外观、尺寸、标识等进行检查。
b. 对于质量有特殊要求的物资,应进行相应的质量检测,并将结果记录在相应的检测报告上。
3. 双方签字确认a. 物资接收方应与供应单位或采购单位共同签字确认验收结果。
b. 验收结果应同时传达给有关部门,以备后续管理参考。
(二) 物资保管的原则1. 安全性原则a. 物资的保管地点应符合相应的安全标准,防止物资被损坏或盗窃。
b. 物资的存放应按照不同性质、用途分类,防止混淆和交叉污染。
2. 审计性原则a. 对物资的保管过程应进行严格的记录,包括物资出入库的时间、数量、用途等,并及时更新物资台账。
b. 物资的使用需经过相应审批程序,且应有明确的使用记录,避免滥用或浪费。
3. 定期盘点原则a. 对物资进行定期盘点,确保库存数量与记录一致。
b. 盘点结果应与存货台账核对,并进行相应的调整,及时发现并纠正错误。
(三) 物资领用的程序1. 提交申请a. 领用人应填写物资领用申请表,明确所需物资的名称、规格、数量等信息。
b. 领用申请应经相关部门主管审批,并加盖公章后提交到物资管理部门。
2. 验证a. 物资管理部门应核对申请表上的信息与实际库存情况,确保可供领用物资的充足性。
b. 如有问题或不满足领用条件的情况,物资管理部门应及时与申请人沟通,并提供合理解释。
3. 领用确认a. 物资管理部门收到审批后的领用申请,应发放物资,并记录相应的领用信息。
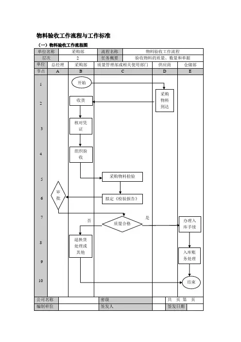
采购物料验收管理制度1. 目的为保证所有采购物料质量合格、达到公司的技术和管理要求,制定本制度。
2. 适用范围本制度适用于公司所有采购物料的验收。
3. 基本原则•适当的机构、人员、物料、设备保证验收工作的实施。
•必须质量、数量、及时验收。
•按照相关标准验收,符合标准的物料方可验收。
•质量部定期对验收现场进行检查,对发现的问题及时处理。
•对于未按照验收标准验收的物料必须处理并追究责任。
4. 验收程序4.1 预验收•采购员收到供应商送来的样品,并由供应商提供质量检测报告。
•采购员根据物料编码查询系统,提前了解所采购物料的要求,并进行初步的审核。
4.2 到货•收到采购物料后及时通知验收人员,验收人员到现场进行验货。
•对于每件采购物料,验收人员都必须认真地进行外观检查、尺寸、密度等指标测试,并记录检查结果。
4.3 验收标准•外观检查:物料的表面应该平整、无明显的划痕、斑点、缺陷等问题。
颜色应该一致,没有色差等质量问题。
•尺寸检查:物料的长度、宽度、厚度等应该符合标准规格。
•密度检查:物料的密度应该符合国家或者行业的相关标准。
•其他检查:根据不同物料的特点,进行相应的质量检测和验收。
4.4 验收精度•对于产品数量少的采购物料,验收精度最好达到百分之百, 对于数量大的采购物料,建议采用抽检的方法进行检测。
4.5 验收记录•验收人员应该把每种物料的质量检测数据记录在验收表格中,同时做好验收报告,并签字确认。
5. 质量保证•对于质量问题的采购物料,应该及时通知供货商,要求对问题进行处理。
•对于验收不合格的物料,应该尽快进行处理,不应使用或者存放在不合适的条件下。
6. 附则•如有疑问,应及时咨询质量部门,以确定双方的责任和承担的费用;•若本制度与合同条款不能统一,应以合同为准。
以上是本公司的采购物料验收管理制度,上述流程和细节以及标准请在验收时严格执行,以保证本公司的思想质量和技术提升。
仓库物资管理制度一、物资的验收入库流程1、物资到库后仓库管理员依据申购清单上所列的品种、数量进行核对、盘点,经使用部门或请购人员及检验员对质量检验合格后,方可入库。
如物资出现损坏,可依据损坏状况决定是否退货,不能确定的联系领导,确定必需要退货的,写清退货原因、品种、规格、数量、日期等,一式两份,一份交与送货人。
2、对入库物资核对、盘点后,仓库管理员及时填写入库单,经使用人、仓库管理员、送货员签字后,仓库、财务部各持一联做账,采购人员持一联做请款报销凭证。
3、库管要严格把关,有以下状况时可拒绝验收或入库:①.未通过总经理级或部门主管批准的采购;②.与合同计划或请购单不相符的采购物资;③.与要求不符合的采购物资;4、因生产急必需或其他原因不能形成入库的物资,仓库管理员要到现场核对验收,并及时补填“入库单〞。
二、物资保管规范1、物资入库后,登记物资台账,同时必需按不同类别、性能、特点和用途分类分区域码放,做到“二齐、三清、四号定位〞。
①.二齐:物资摆放整齐、库容干净整齐;②.三清:材料清、数量清、规格标识清;③.四号定位:按区、按排、按架、按位定位。
2、仓库管理员对常用或每日有变动的物资要随时盘点,假设发现数量有误差须及时找出原因并更正。
3、库存信息及时呈报。
须对数量、文字、表格仔细核对,保证报表数据的准确性和可靠性。
三、物资的领发出库流程1、仓库管理员凭领料人的领料单如实领发,假设领料单上主管或总经理级未签字、字据不清或涂改的,仓库管理员有权拒绝发放物资。
2、仓库管理员依据进货时间必需遵守“先进先出〞的仓库管理制度原则。
3、领料人员所必需物资无库存,仓库管理员应及时通知使用部门,使用部门按要求填写请购单,经总经理级批准后交采购人员及时采购。
4、任何人不办理领料手续不得以任何名义从库内拿走物资,不得在货架或货位中乱翻乱动,仓库管理员有权制止和改正其行为。
5、以旧换新的物资一律交旧领新。
领用的各种工具均要上工具卡,并由领用人和总经理级签字。
物料收货作业程序一.目的加强公司对物料收货进行有效控制,确保满足生产需要。
二.适用范围适用于本公司对外采购的物料、外发加工的半成品。
三.职责采购员:负责下物料采购单,与供应商沟通。
仓库:负责物料的初步确认与清点、入库工作。
品管部:负责物料的品质检验。
四.作业程序1.供应商(外协加工厂)送货到厂区后,应及时将《送货单》交仓管员,仓管员收到《送货单》后找出采购员下发的相应的《采购单》就物料名称、型号规格、数量(重量)、颜色进行核对,核对无误后安排供应商(外发加工厂)卸货到指定的待检区域。
2.卸完货后,仓管员就来料和《送货单》所列的物料名称、型号规格、数量(重量)、颜色是否一致进行核对,核对无误后仓管员挂上待检标识,并及时填写《进仓单》交品管部检验员进行检验。
如有误应及时通知采购员处理,具体按《采购控制程序》执行。
3.品管部检验员接到仓管员的《进仓单》后,应及时对《进仓单》所列的物料进行检验,没有其它特殊情况时必须在接到通知1小时内检验完毕。
3.1若检验合格在物料的相应位置标识“合格”字样,并在《进仓单》上填写“合格”字样后交仓管员办理入仓手续,做好帐、卡的处理。
3.2若检验不合格,检验员应填写《外协产品检验报告单》,如果检验员对这种不合格有把握进行处理,那么检验员根据实际情况在《外协产品检验报告单》上注明“返工”或“让步接收”或“报废”字样。
3.2.1当判断为“让步接收”或“报废”的以检验员的意见为最终意见,检验员在《进仓单》、物料的相应位置标识“让步接收”或“报废”字样后把《进仓单》交仓管员,并将《外协产品检验报告单》第二联交采购员,仓管员按此办理入仓手续,采购员结合《外协加工合同》折算扣罚加工费填在《外协产品检验报告单》上后交仓管员。
3.2.2当判断为“返工”的检验员应将《外协产品检验报告单》交厂长审批,并在物料的相应位置标识“待处理”。
厂长经过综评后提出最终处理意见交检验员,检验员按厂长的意见将处理结果填写在《进仓单》、物料的相应位置上,并将《进仓单》交仓管员,《外协产品检验报告单》交采购员,仓管员按《进仓单》上意见办理相关手续,采购员按外协加工合同计算扣罚金额后交仓管员。
物料接收规程物料接收是库房管理工作的关键所在,是放置伪劣物品入库,保证物料质量不可忽视的环节。
物料在入库时为保证物料质量和数量,必须进行严格的验收检查,按批进行核查。
本章从物料来料检查开始,介绍了物料从入库、取样、检验、放行的全过程,着重介绍物料接收的步骤、检查内容和注意事项。
5.1来料检查企业来料包括原辅料、包装材料、非生产物料(设备配件、工具、成产消耗品等)。
通过来料检查,对进入仓储区域的物料进行检查,尽可能防止伪劣物料进入企业物料流转链。
物料管理员在接收时对物料的外包装进行目检可以有效地把好防止被污染物进入企业的第一关。
对于到货物料的来料检查,大致分以下几个方面:●包装容器的外观检查,主要包括包装容器的完整性、密封性。
●包装容器的标识信息核对,核对的内容主要包括批号、物料名称和数量等。
●相关文件检查和核对。
下面根据物料类型,对来料检查做具体介绍。
原料:包括原料、辅料及包装材料●原辅料进厂到库后,库房管理人员首先核实装箱单和/或送货单是否与采购订单一致,核实的基本信息通常包括物料名称、规格、数量、供应商。
特别注意,库房人员依照批准的供应商清单核实物料是否来自批准的供应商。
●对于到货物料,还应检查核对装箱单和送货单以外的其他文件,如检验报告、发票等。
除中药材外的原辅料、包装材料、每批到货的物料都要有厂家的检验报告。
对于一些特定的物料,如已经有质量协议,那么其他相关证明也可以被接收。
●清点到货数量是否与采购订单相符,如果到货数量和订单不符,核实数量是否在合理偏差范围内。
●对到货的每个或每组包装容器进行包装容器的外观检查,仔细检查是否有污染、破损、渗漏、受潮、水渍、霉变、虫蛀、虫咬等。
同时检查物料包装标识,内容清晰完整,至少包括物料名称、规格、批号、数量生产厂家,需要强调的是,为了确认包装容器的完整性,原辅料的外包装容器应检查封签是否完整,是否有认为的破坏、损坏等。
●必要时,要对容器外包装材料及桶、箱等容器外部进行清洁,除去灰尘及污物。
正确的收货验收流程 Document number:NOCG-YUNOO-BUYTT-UU986-1986UT
任务名称操作步骤作业规范及注意要点工具与表单
收货验收1.大包装件数的确认与
外包装检查
收货时,应在货物运输
单位(人)在场时先检查外包
装有无损坏现象
如件数不符或发现外包
装有损坏现象应立即与货物运
输单位(人)进行交涉:
原因查明,并在送货人
还在的情况下进行点货,确认
无误后方可在送货单上签收,
同时在公司的《物品中转签收
单》中进行签收,并通过MSN
或电话告知储运部收到的商品
件数
若出现异常情况,应让
送货单位开少货证明并立即上
报公司并追究责任方的责任和
确定赔偿方案
1.《物品中转签收单》
2.《转仓单》
3.《调配单》
2.对货号、颜色、尺码
的数量进行验收
点货人员要认真核对各
个商品货号、颜色、尺码的数
量是否与单据相符:
确定无误后在《转仓
单》或《调配单》上签收并注
明日期
如发现与单据不符,应
交由收银员及时与发货单位
(公司总仓或调配门店)联
系,双方进行确认并确定解决
方案。
收银员同时在《转仓
单》或《调配单》注明所发生。
收货和验收程序合同书甲方:(收货方)地址:联系电话:乙方:(供货方)地址:联系电话:鉴于甲方需要购买乙方提供的货物,并对其进行验收,双方经友好协商达成以下协议:一、货物名称及数量1. 甲方要求购买的货物名称为:2. 货物数量为:- 甲方可分次购买,每次购买数量为:- 订单总数量为:- 货物交付期限为(自签署本合同之日起计算):二、货物交付地点及方式1. 货物交付地点为:2. 货物交付方式为:- 乙方负责将货物送至指定地点;- 甲方自行负责提取货物。
三、验收标准及程序1. 乙方应确保交付的货物品质符合以下标准:- (描述货物的质量要求,例如:完好无损、无瑕疵等)- 甲方在签署合同时已收到对应的货物样品,货物的质量应与样品一致。
2. 甲方有权对交付的货物进行验收,确保货物的质量符合合同约定。
3. 验收程序如下:- 甲方收到货物后,应立即进行验收;- 甲方应根据合同约定的标准对货物进行检查,如发现质量问题应及时通知乙方。
四、索赔与退换货1. 如货物不符合合同约定的质量标准,甲方有权要求乙方承担责任。
乙方应承担以下责任:- 对不合格货物进行及时修复;- 如不能修复,乙方应承担退款责任。
2. 在索赔与退换货期间,乙方应提供必要的技术支持和协助。
五、合同变更1. 如对本合同内容有任何修改或补充,应经双方书面协商并签署补充协议。
2. 修改或补充的协议应作为合同的组成部分,具有同等法律效力。
六、争议解决1. 本合同的解释与争议解决适用中华人民共和国法律。
2. 如双方就本合同内容发生争议,应通过友好协商解决;协商不成的,可向有管辖权的人民法院提起诉讼。
本合同自双方签署之日起生效,并持续有效,直至完成交易或由双方协商确定终止。
合同的签署代表双方对合同的内容达成共识并接受全部条款。
甲方(盖章):乙方(盖章):签署日期:签署日期:。
仓库宗旨:物帐相符,确保安全一、仓库收货流程(一)当货物从厂商运抵至仓库时,仓库收货人员:1.必须对照厂商的《送货单》严格认真检查货物的品种及数量是否与送货单一致,核实一致后方可签收。
若发现货物与送货单不一致及时让送货人员和厂商联系确认,按实际品种和数量签收。
2.将货物放到待检区域待检。
3.填写《入库单》相应的内容(供货商名称,件号,首次入库数量,签名,日期)并及交由检验员通知其验货。
4.将《入库单》传真至公司,相关人员确认是否是采购订单内的货物,如果出现问题及时处理。
5.检验员检验合格后填写《入库单》相应的内容(检验合格数量,签名,日期)交由仓库办理正式入库。
6.将检验合格的货物整齐有序的堆放到指定的区域。
对于不合格产品不能及时退还给厂家的检验员要开具《不合格品入库单》,并放到不合格品堆放区域用特殊颜色注明厂商名称,送货日期,件号,数量。
7.原则上厂商送货时要将上次没有及时拖走的不合格品拖走并办理不合格品出库手续在《出库单》上签收。
并要备注是不合格品。
8.将最终的《入库单》和《不合格品入库单》传真至公司。
(二)对于产成品的入库1.当车间生产完一批货物应先填写《入库单》应的内容(件号,首次入库数量,签名,日期)并及交由检验员通知其验货。
2. 检验员检验合格后填写《入库单》相应的内容(检验合格数量,签名,日期)交由仓库办理正式入库。
3.将检验合格的货物整齐有序的堆放到指定的区域。
对于不合格产品又不能及时返工的检验员要开具《不合格品入库单》,并放到不合格品堆放区域用特殊颜色注明生产责任人,生产日期,件号,数量。
4.将最终的《入库单》和《不合格品入库单》传真至公司(三)按收货流程进行单据流转时,每个环节不得超出一个工作日。
二、仓库发货装箱流程1.接到公司的装箱清单后,负责该批货物装箱的人员就按照装箱计划凭装箱清单到仓库主管那开具当天要装箱货物的《出库单》。
2.装箱人员和仓库主管按《出库单》到仓库提取货物,清点件号,数量无误后双方签字确认。
仓库收发货及物资验收流程Standardization of sany group #QS8QHH-HHGX8Q8-GNHHJ8-HHMHGN#仓库收、发货及验收流程一、收货程序1.仓管员根据供应商送来的物品及打印好的验收单核对物品数量、质量、规格、保质期限无误后,在验收单上签字确认并收取其中一联,其余交供货商带回收货处。
2.仓管员应及时将物品分类、分批次摆放,以便发货时将先收到的物品先发出。
凡经验收后的物资,除直拨的外,一律要入库管理。
凡进仓库的物品一律按物品的种类、品名、型号、规格等几种按固定的位置存放。
堆放要有条理,注意整齐美观。
不能挤压的物品必须要用层架平放。
所有鲜活的食品以及申购部门紧急申购的物资可以直拨给该部门,但必须经库管员验收后,同时办理入、出库手续。
3.仓管员须将验收单与系统上一一核对,无误后,在电脑中将单据审核。
4.每月结束后,将当月的收货单装订整理成册,并妥善保管。
二、发货程序1.各部门需领料时应按物品、食品、饮料、香烟等物品性质分开填写领料单,填写时字迹清晰工整,不可涂改,物品均按最小单位填写,并由部门负责人签字。
2.领料单在部门主管签字后,应于领料时间前一天送财务经理审批。
3.财务经理对领料单审批后,由文员转至总仓,总仓人员须提前准备好领料单上的物品。
4.领料部门在规定的时间至总仓领取物品,点清数量,并在领料单上签名,保管员在领料单上应注明实发数量,而后发生的短缺,总仓不负责。
5.如无特殊情况,总仓在规定时间外,不办理发货手续。
6.仓管员须在当天领料时间结束后,将新有领料单据输入电脑软件系统,并将领料单整理交给成控员。
7.成控员应将领料单与系统上一一核对,核对无误后在电脑中将单据审核。
三、验收流程1.验收员根据已审核好的采购申购单,补仓单等相关单据来验收物品。
2.供应商(厂家)需在指定的时间送至酒店的验收区域供酒店验收。
3.物品必须开箱(包、袋)验收,如是冰鲜品须解冻,水产品需沥水,按《收货管理条例》执行。
物料接收、发放、退货管理流程拟制人:批准人:文件 编号:版本: 生效日期:2021-4-22目的:规范仓库收发料过程,理顺仓库、品质、采购、车间(计划)的物流在公司内部流转过程的责任和义务,做到来料一票一结,物流(料)与信息流(单据)一致,并及时有效地解决异常问题,避免问题拖延,事后再花费大量精力处理。
范围:仓库、内勤采购、品质、车间(计划)仓库品质采购车间相关说明1/2供应商送料到厂 仓库接收物料并根据送货单仓点库收办/放理置物待料 不合格不合格品质检 验退检货区通知仓库退货 全检后不合格品代 用入(整票或挑出库1、采购办理退 2、采购 3货办、手理采续代购 办用理单代的不良)(仓库 合格入库 仓库办理入 需跟催采购务 合格入库 库手续(包括 材料出库 必在一周内退 全检或返工运) 仓后库判定对合经格品质判品定),采购品质检 验 通知仓库退货供应商责任品质判用单/供应商全检采(购或签车字间确全认不合格检,收签字确认的定责任供应商物料做退货 仓库换料/补 处理(并且需领料 跟催采购务 (供应商责 必 在 结一束周 内 任系统需做 退运) 退货)归属 工时 供应商责任/内部物流过程责任:先开补领单增补,再根 据责任作不良退料;车间生产责任:开补领料 费,不 良品退 供应 商)车间全 检开点 工(需 车采间购领向 料供生应产商 生索产赔过) 程中发 现品质 异常物 料(品 质需在 1 小时 候内处理)1、到料手续齐全,仓库 在点收物料 2 个工作小时 内需通知 IQC 进料检验, IQC 需根据物料需求紧急 程度及时处理并将检验 结果及时通知采购/仓 库,常规物料 IQC 需在到 料 24 小时内完成检验工 作,检验时间较长的物 料,采购部和质管部沟通 确认是否需要增加固定 提前期,列出明细,经质 管部、采购部、厂长办公 室签字后生效,IQC 检验 合格后 3 个小时内仓库需 办完所有入库手续;物料 到库超过 3 天仍无法办理 入库手续的,仓库有义务 督促采购/品质立即处 理,并跟踪完成进度; 2、车间领料只能直接与 仓库交接,供应商来料非 特殊原因不得直接送往 车间; 3、车间如因特殊原因需 向仓库借料的,务必开具 借用单并经仓库主管同 意,并且需在 2 个工作日 内补齐相关领料手续,否 则仓库有权拒绝借料; 4、对于生产过程中发现 的物料不良,如是供应商 不良,经品质判定后,开 出补领单向仓库增补料 以满足生产,后经相关部 门签字确认后,不良品再 作退料给仓库,如是生产 过程导致不良,只能通过 补领料方式补足订单所 需物料。
- 1 - 一、 采购收货入库流程。
《送货单》 仓库 核对《采购单》 签收 《采购入库单》 品质鉴定合格 仓库入帐 单据分发不合格 《物料异常报告》 退供应商1. 供应商送货到厂,将《送货单》交仓库进行数量清点。
2. 仓库核对《送货单》与《采购单》,并按采购要求签收。
3. 仓库开《采购入库单》,附物料交于品管部抽检。
4. 检测合格。
IQC 贴合格标签;并在《采购入库单》上签名确认 。
5. 检验不合格。
IQC 贴不合格标签,并填写《物料异常报告》交仓库,仓库通知采购安排退货。
二、 生产领用出仓流程。
《领料单》 仓库 核对 《生产通知单》 物料交接 扣帐 表单分发1、生产部填写《领料单》并由部门负责人签名确认,交于仓库。
2、仓库接到《领料单》与《生产通知单》核对无误后,仓库执行发料。
3、领料人员和仓库做好物料交接手续。
4、仓库按生产部《领料单》做好对应帐目的扣帐。
三、 生产退料入库流程。
《退料单》 品质鉴定 良品 仓库 入帐 表单分发不良品、报废品1. 生产部门汇总需退库物料,并填写《退料单》,交品管部鉴定。
2. 严格区分良品、不良品、报废品。
不良品分制程不良和来料不良,并分开填单入库四、 客户退货入仓流程。
良品《 退货单》 仓库 《客户退货入库单》 品质鉴定不良品1、 送货单:供应商将《送货单》呈交相关货仓进料数量验收。
2、 入库单:仓库根据《送货单》开出《入库单》并交于品管部IQC 进货品质验收。
3、 品质鉴定:品质OK 贴上合格标签,将《入库单》返给仓库。
品质NG 贴上不合格标签,仓库对应《入库单》将不合格品退回供应商。
4、 物料在库管理表:仓库管理员安排合格品搬到指定库区存放,挂上《物料在库管理表》做好记录。
5、 入帐:仓库文员对应《入库单》按实际入数量入好帐。
6、 次日表单分发。
B :1、 入库单:生产部开出《入库单》,物料员将半成品同与之对应的单据一同交于仓库。
2、 半成品交接:货仓管理员收到《入库单》,对相对应的物料数量验收。
仓库物料接收及出库的流程和标准。
*1.目的建立仓库物料接收及出库的流程和标准。
*2.范围适用于公司仓库物料接收和出库作业。
3.参考文件附件:来料抽检数量对照表。
*4.职责仓库执行此程序,检验课及采购部配合及协助,财务部执行必要监督。
5.物料接收标准5.1外购原材料到货抽样与点收程序和标准:仓库人员执行以下操作:5.1.1原材料到厂后,先将整车过地磅之后,仓管人员卸下原材料,然后再对空车进行过磅,两次的重量相减得出重量的毛估值。
5.1.2再在毛估值的基础上减去底托等包装的重量,得出原材料的净重。
5.1.3对比订单和交货单,要求交货的实际净重必须大于或等于交货单所写数量。
5.1.4如果交货的净重小于交货单所写,按过磅后的实际净重填写交货单,并通知采购部。
5.2外购零件到货抽样与点收程序和标准:仓库人员执行以下操作:5.2.1外购零件到场后,仓库收料员先按标准包装清点包装总数是否正确。
5.2.2对每种品号的零件进行抽样点数,抽样根据物料的类别,按照附件中的来料抽检数量对照表,随机抽取相应数量的包装,然后对所有被抽中的包装进行拆包装全检,记录下所有被抽检的物料的差异情况。
5.2.3要求物料的实际送货量不得少于交货单所写数量。
5.2.4来料因数量不符被拒绝后,由采购联系厂商,请供应商在一天内来进行全点,或支付全检费用。
否则,我方将所有包装量按抽样抽得的负差异最大值来进行接受。
5.3委外零件到货抽样与点收程序和标准:仓库人员执行以下操作:5.3.1委外厂商的零件到货后,由收料员对每种品号进行随机抽检。
抽检的包装数量依然按附件中的来料抽检数量对照表。
5.3.2接受标准:按抽样检验出的数量不得少于交货单所写数量。
5.3.3经抽检判定物料符合接受标准,收料员在交货单上签字。
5.3.4经抽检判定物料不符合接受标准的,通知采购,请采购会同供应商对该物料进行全检,全数过磅后符合接收标准的则接受;不符合标准的,按实际重量接收物料,并请采购在供应商评审时对其进行相应地减分。