开设营业性射击场申请审批表.doc
- 格式:doc
- 大小:41.50 KB
- 文档页数:4
开办射击场申请报告书
**公安厅:
我单位:,
地址:,法定代表人:,
身份证号:,联系电话:,
现在向贵厅申请行政许可,
并提交以下申请材料:
序号材料名称(以下填写具体材料名称)
1、申请报告书
2、开设营业性射击场申请审批表
3、……………………
我单位承诺:以上提交材料真是合法有效。
请依法审查并予以批准。
申请单位:(盖章)
年月日
注:附件资料应包含
1、申请单位名称、开办理由、占地面积、区域功能布局、申请配置枪支种类、型号、数量,枪弹库设置情况、射击活动方式等,以及相关证明材料;
2、射击场的方位图、平面布局示意图、枪支弹药库平面布局示意图;
3、安全组织机构材料(安全保卫组织机构、从业人员名单及职责,申请单位负责人与所在地公安机关签订治安安全责任书,申请单位负责人与从业人员签订治安安全责任书。
);
4、安全管理制度;
5、其他证明(包括涉枪人员政审材料、培训证明,场地产权、租赁证明等);。
陇南营业性射击场的设⽴审批受理条件有哪些
想要设⽴营业性射击场的举办⼈,不但要符合国家规定的⼀定条件,⽽且必须是经相关的主管部门进⾏批准以后,才可依法设⽴的,所以设⽴营业性射击场的举办⼈,必须要依法办理审批⼿续的,在陇南办理该业务,需要符合哪些受理条件呢?店铺⼩编带⼤家来了解下。
⼀、陇南营业性射击场的设⽴审批受理条件有哪些
申请开办营业性射击场的,必须是已经登记注册的企业。
申请⼈应当向所在地的县级公安机关提交下列材料:
1.设⽴申请,内容包括项⽬单位名称、项⽬地点、射击⽅式与规模、设计布局、安全管理⽅案等;
2.企业营业执照;
3.射击场的设计图,内容包括射击区、枪⽀弹药库(室)、接待区、周边环境。
⼆、陇南营业性射击场的设⽴审批法定依据
《中华⼈民共和国枪⽀管理法》
第六条:经省级⼈民政府体育⾏政主管部门批准专门从事射击竞技体育运动的单位、经省级⼈民政府公安机关批准的营业性射击场,可以配置射击运动枪⽀。
三、陇南营业性射击场的设⽴审批办理地点
⽢肃省陇南市康县城关镇西街91号,康县公安局治安⼤队
四、陇南营业性射击场的设⽴审批办理时间
星期⼀⾄星期五:上午08:30-12:00,下午14:30-18:00,法定节假⽇不对外受理业务。
五、陇南营业性射击场的设⽴审批办理期限
承诺时限 20⼯作⽇法定时限 20⼯作⽇
在陇南申请办理营业性射击场的设⽴审批业务的法定依据的是,《中华⼈民共和国枪⽀管理法》第六条的相关法律规定,该业务的办理地点在,⽢肃省陇南市康县城关镇西街91号,康县公安局治安⼤队。
该业务的办理时间是,星期⼀⾄星期五的上午⼋点半到⼗⼆点和下午的两点半到六点。
如有其他疑问,欢迎到店铺进⾏咨询。
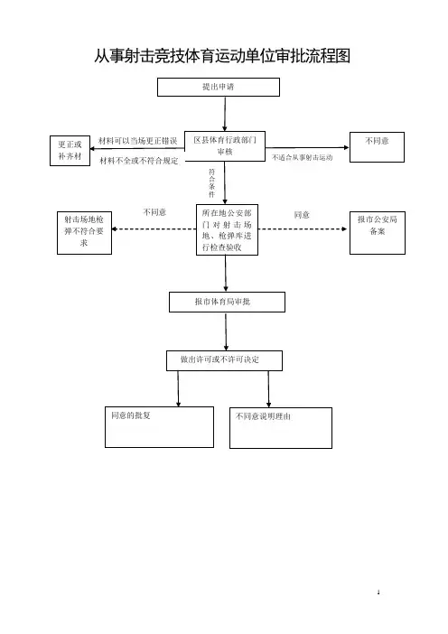
湖南省体育局行政权力运行流程湖南省体育局二○一五年十二月从事射击竞技体育运动单位审批一、权力事项名称从事射击竞技体育运动单位审批二、事项类型行政许可三、责任部门湖南省体育局竞技体育与科技处四、审批对象事业单位、企业、社会组织、公民个人五、审批依据《中华人民共和国枪支管理法》(中华人民共和国主席令第72号)第六条第一款下列单位可能配置民用枪支:(一)经省级人民政府体育行政主管部门批准专门从事射击竞技体育运动的单位、经省级人民政府公安机关批准的营业性射击场,可以配置射击运动枪支。
六、承诺期限受理申请之日起14个工作日内。
七、审批条件申请从事射击竞技体育运动的单位,应当符合下列条件:(一)具有法人资格;(二)具有相应资质的教练及相关从业人员;(三)拥有符合国家有关规定的射击场所;(四)拥有符合国家有关规定的运动枪支安全保管设施;(五)具备运动枪支安全管理制度;(六)符合法律、法规规定的其他条件。
八、申报材料申请从事射击竞技体育运动的单位,应当向省级体育行政部门提交以下材料:(一)申请报告,内容包括申请单位名称和性质、开展射击运动枪弹的目的及拟开展项目、经费来源、场地情况(含靶场和枪弹库)、从业人员情况;(二)业务主管单位审核意见;(三)法人登记书和法定代表人身份证明及复印件;(四)枪弹使用安全管理规定、枪弹库安全管理规定和枪弹安全管理责任制等;(五)教练员资格证明及其复印件;(六)射击场地所有权或者使用权证明及其复印件;(七)所在地县级以上体育主管部门出具的射击场地合格证明;(八)所在地县级以上公安机关出具的运动枪支保管设施验收合格证明;(九)法律、法规规定需要提交的其他证明文件。
九、事项受理审核和决定(一)项目单位将申报材料报湖南省体育局办公室登记,办公室转送竞技体育与科技处承办。
(二)承办人在确认项目单位申请材料齐全后签收。
申报材料不齐全或者不符合有关要求的,应当在收到项目申请时或者自收到项目申请之日起3日内一次性告知项目单位进行补正。
运动射击资质申请书尊敬的审批部门:您好!我单位(以下简称“申请人”)拟申请开展运动射击项目,特此提交运动射击资质申请书,请您予以审批。
一、申请人基本情况申请人:×××(单位名称)统一社会信用代码:×××××××××××单位类型:×××(如企业、事业单位等)经营地址:×××(详细地址)联系电话:×××××××××××联系人:×××(姓名)二、项目概述项目名称:运动射击项目项目地点:×××(详细地址)项目规模:×××(如占地面积、床位数量等)项目类型:×××(如步枪射击、手枪射击等)经营性质:×××(如营业性、非营业性等)三、项目可行性分析1.政策依据:根据国家相关法律法规,申请人有资格申请开展运动射击项目。
2.市场需求:运动射击作为一项体育休闲活动,市场需求日益增长,具有广阔的发展前景。
3.场地条件:申请人拥有符合条件的射击场地,设施齐全,满足开展运动射击项目的需求。
4.技术力量:申请人拥有一支专业的技术团队,具备丰富的射击技术和安全管理经验。
5.安全保障:申请人已制定完善的安全管理制度和应急预案,确保射击活动安全有序进行。
四、申请材料1.运动射击项目申请报告;2.申请人营业执照副本复印件;3.射击场地布局平面图及四邻方位图;4.射击设备及器材清单;5.从业人员身份证复印件及简历;6.安全管理制度和应急预案;7.其他相关材料。
五、申请事项1.请您审批同意申请人开展运动射击项目;2.请您核发运动射击项目经营许可证;3.请您对申请人进行现场检查和指导。
营业性射击场审批程序第一篇:营业性射击场审批程序营业性射击场审批程序1、申请单位持申请材料报当地县级公安机关审查后,上报市公安局审批,申请材料包括:(1)填写《营业性(彩弹枪)射击场审批登记表》;(2)射击运动场四邻图、平面图;(3)申请单位枪弹管理制度及书面请示;(4)枪弹库结构图及说明;(5)枪弹管理人员培训合格证明及无违法犯罪情况证明;(6)与当地公安机关签订枪弹安全管理责任书;(7)县级以上公安机关的申请文件;(8)射击活动方式以及配置枪支种类、型号和数量说明,靶位数量、设置情况。
2、经审批同意的,由申请单位按照图纸进行施工建设。
建设完成后,由当地县级公安机关逐级上报并验收,经市公安局验收同意后,向公安部申请办理枪弹调拨手续。
3、公安部批准后,市公安局办理有关枪支证件。
第二篇:广东省营业性射击场管理规定广东省营业性射击场管理规定第一条为了加强营业性射击场的管理,根据《中华人民共和国枪支管理法》等有关法律法规,结合广东省实际,制定本规定。
第二条广东省行政区域内营业性射击场的审批程序、场地设计标准、枪支弹药管理等,适用本规定。
本规定所称营业性射击场是指向公众提供民用枪支弹药,在封闭区域内进行射击娱乐活动的经营性场所。
第三条县级以上人民政府公安机关负责本行政区域内营业性射击场的管理工作。
县级以上人民政府体育、城乡规划、工商等行政部门按照各自职责,协同做好营业性射击场的管理工作。
第四条申请开办营业性射击场的,必须是已经登记注册的企业。
申请人应当向所在地的县级公安机关提交下列材料:(一)立项申请书,内容包括项目单位名称、项目地点、射击方式与规模、设计布局、安全管理方案等;(二)企业营业执照;(三)射击场的设计图,内容包括射击区、枪支弹药库(室)、接待区、周边环境。
第五条受理申请的公安机关应当自收到申请材料之日起十日内提出审查意见,报地级以上市公安机关;地级以上市公安机关应当自收到审查意见之日起十日内提出审核意见,报省公安机关;省公安机关应当自收到审核意见之日起二十日内作出批准或者不批准的决定。
吉安市营业性射击场设⽴许可在哪办理射击是⼀项很好的体育运动,我国的射击运动员在国际上的⽐赛中经常会取得优异的成绩。
开设营业性射击场所,可以丰富射击训练活动。
吉安市营业性射击场设⽴许可在哪办理,下⾯随店铺⼩编⼀起来了解下相关的内容吧。
⼀、吉安市营业性射击场设⽴许可办理的地点江西省南昌市红⾕滩赣江南⼤道1366号省公安厅⾏政服务⼤厅2号窗⼝⼆、吉安市营业性射击场设⽴许可的办理材料1、《设⽴营业性射击场的许可申请表》(含申请报告书)2、申请单位营业执照复印件3、射击场的⽤地产权或者使⽤权的证明材料4、射击场的⽅位图、平⾯布局图,射击区和枪弹库的设计图纸和现场照⽚,枪弹库与外部居民区等四邻距离图5、射技术防范设施安装及检测报告6、射击活动安全防护、急救等设施和器材清单7、涉枪从业⼈员资格证明(部门核查),及⾝份证复印件8、安全管理制度和岗位安全责任制度汇编9、经办⼈⾝份证及复印件10、申请单位介绍信三、吉安市营业性射击场设⽴许可办理的法律依据《中华⼈民共和国枪⽀管理法》(⾃1996年10⽉1⽇起施⾏)第六条:下列单位可以配置民⽤枪⽀:(⼀)经省级⼈民政府体育⾏政主管部门批准专门从事射击竞技体育运动的单位、经省级⼈民政府公安机关批准的营业性射击场,可以配置射击运动枪⽀;(⼆)经省级以上⼈民政府林业⾏政主管部门批准的狩猎场,可以配置猎枪;(三)野⽣动物保护、饲养、科研单位因业务需要,可以配置猎枪、⿇醉注射枪。
猎民在猎区、牧民在牧区,可以申请配置猎枪。
猎区和牧区的区域由省级⼈民政府划定。
配置民⽤枪⽀的具体办法,由国务院公安部门按照严格控制的原则制定,报国务院批准后施⾏。
吉安市营业性射击场是不可以随意设⽴的,要设⽴营业性射击场所,需要得到公安机关的许可,要到江西省南昌市红⾕滩赣江南⼤道1366号省公安厅⾏政服务⼤厅2号窗⼝办理审批⼿续。
⼤家遇到任何法律上的问题都可以来店铺进⾏法律咨询。
编号:娱乐场所设立申请审批表拟设娱乐场所名称:拟定法定代表人:敬告1. 在签署文件和填表前,申请人应当认真阅读《娱乐场所管理条例》、相关文化市场管理法规和本申请审批表,并确知其享有的权利和应承担的义务。
2. 申请人对其所提交的文件、证件的真实性、有效性和合法性承担责任。
3. 申请人提交的文件、证件应当是原件,并附属复印件,确有特殊情况不能提交原件的,应当提交加盖公章并经法定代表人签字的文件、证件复印件。
4. 申请人提交的文件、证件应当使用A4纸。
5. 申请人应当使用碳素墨水钢笔、毛笔或签字笔工整地填写申请表或签字。
6. 申请人提交的文件、证件应当规整、洁净,不得涂改。
本人在申请表格中所填事项及提供的相关文件和证件符合国家有关法律法规规定,不含任何虚假成份,谨此确认,否则愿意承担一切法律责任。
申办单位:(盖章)法定代表人:(签章)申请日期:年月日吉首市文广新局一、申请立项应提交的文件资料目录序号文件名称说明页数备注1 《企业名称预先核准通知书》2 投资人、拟任法定代表人、主要负责人的身份证明3 投资人、拟任法定代表人、主要负责人的书面声明4 经营场所平面图、地理位置图5 产权证明文件678 场所合法使用证明文件(任选一项)□租赁意向书□房屋租赁管理部门登记或备案的租赁合同□房屋所有权人直接参与经营活动的声明9101112提交材料人签字:联系电话:年月日(本栏由受理机关填写)以上共收到____份文件,其中原件____份受理人签字:年月日注:1、“说明”栏应注明提交的资料是原件还是复印件,其它问题在“备注”栏填写。
2、“产权证明文件”、“场所合法使用证明文件”栏在“□”打“√”。
3、本表没有标明的文件,可在后面空格栏填写,不够填时,可另备纸张续填附后。
二、申请发证应提交的文件资料目录序号文件名称说明页数备注1 立项批复2 环保验收合格文件3 主要设备清单4 安全工作方案5 应急疏散预案6 经房屋租赁管理部门登记或备案的租赁合同789101112131415提交材料人签字:联系电话:年月日(以上由申请人填写)(本栏由受理机关填写)以上共收到____份文件,其中原件____份受理人签字:年月日注:1.“说明”栏应注明提交的资料是原件还是复印件,其它问题在“备注”栏填写。
抚州市营业性射击场设⽴许可流程怎么⾛
众所周知,枪⽀属于违禁品,运动枪⽀也不例外,所以在运动训练和参加⽐赛的同时,枪⽀的保管和使⽤其安全因素是要应该格外的注意,那么,⼤家对“抚州市营业性射击场设⽴许可流程怎么⾛”是否有所了解?店铺⼩编整理了以下内容供⼤家参考。
⼀、抚州市营业性射击场设⽴许可流程怎么⾛
1、申请⼈提出申请;
2、服务窗⼝⾸问责任⼈对申请当场审查作出处理,申请材料齐全,符合法定形式,当场决定受理;申请材料不齐全、不符合法定形式当场⼀次性告知申请⼈补正的全部内容;
3、审批办具体承办⼈或窗⼝⾸问责任⼈审查;
4、审批办负责⼈审批,作出许可决定;
5、制作证件并由服务窗⼝⾸问责任⼈通知申请⼈领取。
⼆、抚州市营业性射击场设⽴许可需要什么材料
1、《设⽴营业性射击场的许可申请表》(含申请报告书);
2、申请单位营业执照复印件;
3、射击场的⽤地产权或者使⽤权的证明材料;
4、射击场的⽅位图、平⾯布局图,射击区和枪弹库的设计图纸和现场照⽚,枪弹库与外部居民区等四邻距离图;
5、射技术防范设施安装及检测报告;
6、射击活动安全防护、急救等设施和器材清单;
7、涉枪从业⼈员资格证明(部门核查),及⾝份证复印件;
8、安全管理制度和岗位安全责任制度汇编;
9、经办⼈⾝份证及复印件;
10、申请单位介绍信。
以上就是对“抚州市营业性射击场设⽴许可流程怎么⾛”的回答,抚州市营业性射击场设⽴许可流程包括申请、审核、审批等五个步骤,需要携带《设⽴营业性射击场的许可申请表》、射击场的⽤地产权或者使⽤权的证明材料等等资料。
您还有任何疑问或者法律问题,欢迎到店铺进⾏咨询。
兰州营业性射击场的设⽴审批受理条件有哪些
以前,成⽴营业性射击场是不被允许的,如今政策越来越被放开,由公安机关的⼯作⼈员配置相关的设计运动枪⽀后可以成⽴,那么,⼤家对“兰州营业性射击场的设⽴审批受理条件有哪些”是否有所了解?店铺⼩编整理了以下内容供⼤家参考。
⼀、兰州营业性射击场的设⽴审批受理条件有哪些
(⼀)具有独⽴的法⼈资格;
(⼆)具备封闭、独⽴、安全、合法的营业场所,场地内设有布局合理、便于管理的接待区、射击区和枪⽀弹药保管区等基本区块,并有明显的区块隔离标志;
(三)能严格执⾏《企业事业单位内部治安保卫条例》等有关治安保卫⼯作规定,建⽴完善的枪⽀管理规章制度和岗位责任制度;
(四)管理、使⽤枪⽀⼈员熟悉枪⽀(弹药)管理使⽤规定,熟练掌握枪⽀(弹药)性能,没有因违法犯罪受过限制⼈⾝⾃由的处理以及违反枪⽀管理使⽤纪律或者处分记录;
(五)枪⽀(弹药)保管设施符合《枪⽀(弹药)库室风险等级划分与安全防范要求》(GA1016-2012)等安全管理要求;
(六)申请配置的枪⽀(弹药)、种类、数量及来源符合有关规定。
⼆、兰州营业性射击场的设⽴办理需要什么材料
1、射击场设计图纸;
2、营业执照;
3、法⼈资格证明材料;
4、管理⽅案、预案;
5、安全管理制度;
6、场地使⽤证明材料;
7、⽴项申请审批表。
以上就是对“兰州营业性射击场的设⽴审批受理条件有哪些”的回答,兰州营业性射击场的设⽴审批受理条件有六个,必须全部满⾜,重要的是申请配置的枪⽀(弹药)、种类、数量及来源符合有关规定。
如果您还有任何疑问或者法律问题,欢迎到店铺进⾏咨询。
兰州市营业性射击场的设⽴审批流程怎么⾛兰州市的射击爱好者为数众多,为了给射击爱好者训练提供场所,我国允许设⽴营业性射击场,为射击爱好者射击训练提供相应的服务。
兰州市营业性射击场的设⽴审批流程怎么⾛,店铺⼩编整理了相关内容⼤家⼀起来了解下吧。
⼀、兰州市营业性射击场的设⽴审批的流程怎么⾛1、提交申请2、受理、审查3、作出审批决定4、现场送达⼆、兰州市营业性射击场的设⽴审批的办理条件(⼀)具有独⽴的法⼈资格;(⼆)具备封闭、独⽴、安全、合法的营业场所,场地内设有布局合理、便于管理的接待区、射击区和枪⽀弹药保管区等基本区块,并有明显的区块隔离标志;(三)能严格执⾏《企业事业单位内部治安保卫条例》等有关治安保卫⼯作规定,建⽴完善的枪⽀管理规章制度和岗位责任制度;(四)管理、使⽤枪⽀⼈员熟悉枪⽀(弹药)管理使⽤规定,熟练掌握枪⽀(弹药)性能,没有因违法犯罪受过限制⼈⾝⾃由的处理以及违反枪⽀管理使⽤纪律或者处分记录;(五)枪⽀(弹药)保管设施符合《枪⽀(弹药)库室风险等级划分与安全防范要求》(GA1016-2012)等安全管理要求;(六)申请配置的枪⽀(弹药)、种类、数量及来源符合有关规定。
三、兰州市营业性射击场的设⽴审批办理的法律依据《中华⼈民共和国枪⽀管理法》(⾃1996年10⽉1⽇起施⾏)第六条:下列单位可以配置民⽤枪⽀:(⼀)经省级⼈民政府体育⾏政主管部门批准专门从事射击竞技体育运动的单位、经省级⼈民政府公安机关批准的营业性射击场,可以配置射击运动枪⽀;(⼆)经省级以上⼈民政府林业⾏政主管部门批准的狩猎场,可以配置猎枪;(三)野⽣动物保护、饲养、科研单位因业务需要,可以配置猎枪、⿇醉注射枪。
猎民在猎区、牧民在牧区,可以申请配置猎枪。
猎区和牧区的区域由省级⼈民政府划定。
配置民⽤枪⽀的具体办法,由国务院公安部门按照严格控制的原则制定,报国务院批准后施⾏。
兰州市营业性射击场设⽴办理审批可以了解上⾯所介绍的办理程序,射击场需要配备射击⽤的枪枝与弹药,这是射击场要特别注意的地⽅,要建⽴射击枪枝与弹药的管理制度,防范可能出现的安全问题。
鹤岗营业性射击场的设⽴审批受理条件有哪些现在在⼀些⼤型城市都是有射击场存在,依据规定营业性的射击场是需要办理审批⼿续,场地等都是需要符合很多条件才可以,⼀些市民也是询问关于鹤岗营业性射击场的设⽴审批受理条件有哪些,下⾯店铺⼩编整理资料来给各位解答。
⼀、鹤岗营业性射击场的设⽴审批受理条件有哪些1、具备符合规定的营业场所;2、有完善的保卫组织机构,落实安全保卫责任制;3、配有⾜够的安全管理⼈员;4、具备可靠的枪⽀弹药储存条件,并落实⼈防、物防、技防监控等安全措施;5、有完善的枪⽀管理制度;6、具有其他可靠的安全设施和器材。
⼆、鹤岗营业性射击场的设⽴审批办理材料1. 射击场设计图纸2. 营业执照3. 法⼈资格证明材料4. 管理⽅案、预案5. 安全管理制度6. 场地使⽤证明材料7. ⽴项申请审批表三、鹤岗营业性射击场的设⽴审批办理流程1.申请。
申请⼈向市⾏政服务中⼼提交申请材料。
2.受理。
接收受理⼈员核验申请材料,申请⼈符合申请资格,并材料齐全、格式规范、符合法定形式的,予以受理,出具《受理通知书》;申请⼈不符合申请资格的,出具《不予受理通知书》;材料不齐全、不符合法定形式的,接收受理⼈员不予受理,出具《申请材料补正告知书》。
申请⼈材料不符合要求但可以当场更正的,退回当场更正后予以受理。
3.审查。
受理后,审查⼈员对材料进⾏审查,符合审批条件的,出具决定书;不予通过的,出具《不予许可决定书》。
4.领取结果。
申请⼈可到市⾏政服务窗⼝⾃取或以邮寄的⽅式领取。
通过以上详细的回答,⼤家应该可以了解有关营业性射击场审批相关的知识,需要符合很多条件才⾏,提交的资料必须是齐全在⿊龙江省公安厅受理,在15⽇以内审核完成,同意的才能开始建设。
⼤家对于射击场有其他⼀些问题要了解可以来店铺。